BSE782380M - Einbaubackofen AEG-ELECTROLUX - Kostenlose Bedienungsanleitung
Finden Sie kostenlos die Bedienungsanleitung des Geräts BSE782380M AEG-ELECTROLUX als PDF.
Benutzerfragen zu BSE782380M AEG-ELECTROLUX
0 Frage zu diesem Gerät. Beantworten Sie die, die Sie kennen, oder stellen Sie Ihre eigene.
Eine neue Frage zu diesem Gerät stellen
Laden Sie die Anleitung für Ihr Einbaubackofen kostenlos im PDF-Format! Finden Sie Ihr Handbuch BSE782380M - AEG-ELECTROLUX und nehmen Sie Ihr elektronisches Gerät wieder in die Hand. Auf dieser Seite sind alle Dokumente veröffentlicht, die für die Verwendung Ihres Geräts notwendig sind. BSE782380M von der Marke AEG-ELECTROLUX.
BEDIENUNGSANLEITUNG BSE782380M AEG-ELECTROLUX
Bevor Sie Ihr Gerät anschließend in Betrieb besteht,lesen Sieitte zuerst die Gebrauchsanleitung durch, die Sicherheitshinweise und wichtige Informationen enthalt.
Nur so können Sie das Gerät sicher und zuverlässig nutzen und werden viel Freude daran haben.
Folgende Zeichen werden Ohnen halten, sich in der Gebrauchsanleitung better zurecht zu finden.

Sicherheitsvorschriften
Gerätes
Die Warnungen mit thisem Symbol dienen ihrer Sicherheit und der Ihres

Wichtige Hinweise und Informationen

Umwelthinweise

Das Symbol auf dem Produkt oder seiner Verpackung weist daraufhin, dass these Product nicht als normaler Haushaltsabfall zu behandeln ist, sondern an einem Sammelpunkt für das Recycling von elektrischen und elektronischen Geräten abgegeben werden muss. Durch ihren Beitrag zum korrekten Entsorgen these Products schützen Sie die Umwelt und die Gesundheit ihrer Mitmenschen. Umwelt und Gesundheit werden durch falsches Entsorgen gefährdet. Weitere Informationen über das Recycling these Products erhalten Sie von ihrem Rathaus, ihrer Müllabfuhr oder dem Geschäft, in dem Sie das Produkt gekauft haben.
Inhalt
Sicherheitshinweise. 4
Entsorgung 6
Gebrauch 7
Vor Inbetriebnahme /Inbetriebnahme / Temperaturregelung /............7
Kühlabteilausstattung 8
Tipps. 9
Wartung / Abtauen 10
Reinigung 11
Stillstandszeiten 11
Wechsel der Gluhlampe 12
Wenn etwas nicht Funktioniert. 14
Kundendienst und Ersatzteile / Technische Angabe /
Umkehrbarkeit der Tur 15
Installation 15
Aufstellung / Elektrischer Anschluss. 16
Einbau 17

Sicherheitshinweise
Bevor Sie Ihr neuen Kältegerät in Betrieb besteht,lesen Sieitte diese Gebrauchsanweisung aufmerksam durch. Diese sind Sicherheitshinweise. Wir ersuchen Sie davon, die folgenden Punkte vor der Installation des Gerätes und seiner Inbetriebnahme aufmerksam durchzULEsen.
Es wird empfohlen, diese Gebrauchsanweisung gut aufzubewahren und bei einem eventuellen Verkauf des Gerätes dem neuen Besitzer auszähändigen.
Benutzung im Haushalt
- Sollten Sie Ihr Gerät einmal weitergeben wollen, vergessen Sieitte nicht, die Gebrauchsanleitungen dazuzulegen.
- Sie haben ein Gerät für den Haushalt erworben, und es sollte auch nur zur Lagerung von Lebensmitteln gebraucht werden.
- Wartungen und Reparaturen (einschließlich Verbesserung und Austausch der Netzleitung) nur durch eine autorisierte Werkstatt durchführten halten. Für Reparaturen * dürfen nur Original-Ersatzteile benutzt werden, anderenfalls * konnte Ihr Gerät beschädigt oder Sie selbst verletzt werden.
- Das Gerät steht nicht unter Spannung, wenn Sie den Netzstecker aus der Steckdoseziehen. Ziehen Sie deshalb vor Reparaturen, Reinigungen den Netzstecker aus der Steckdose. Nicht am Anschlußkabelziehen, um das Gerät vom Netz zu trennen! Wenn die Steckdose schwer zu erreichen ist, schalten Sie das Stromnetz ab (Sicherung herausnahmen).
- Es ist verboten, das Netzkabel zu verlangern!
-itte prufen,dass das Netzkabel nicht von der Geraterückseite eingeklemmt und beschadigt wird. Ein beschädigtes Netzkabel kann überhitzen und einen Brand verursachen. - Keine schweren Gegenstände bzw. das Gerät selbst auf das Netzkabel stellen. Kurzschluss- und Brandgefahr!
- Den Netzstecker nie am Kabel aus der Steckdoseziehen,alanders wenn das Gerät aus der Nische gezogen wurde. Eine Beschädigung des
- Netzkabels kann Kurzschluss, Feuer und/oder Stromschlag verursachen.
- Ein beschädigtes Netzkabel muß durch eine qualifizierte Fachkraft oder vom Kundendienst ersetzt werden.
- Den Netzstecker niemals in eine lockere oder beschädigte Steckdose stecken. Stromschlag- und Brandgefahr!
- Ohne die Abdeckblende der Innenbeleuchtung darf das Gerät nicht in Betrieb genommen werden!
-
Die Innewände sind kratzempfindlich, deshalb sollen den Sie beim Reinigen nicht Eiskratzer oder andere spitze Gegenstände benutzen.
-
Achten Sie daraufauf, daß keine Flüssigkeiten mit dem Temperaturregler, bzw. der Beleuchtungsarmatur in Berührung kommt.
- Bewahren Sie keine bereits hoien Töpfe in unmittelbarer Höhe der Kunststoffe des Gerätes auf.
- Lagern Sie keine entflammbaren Gase und Flüssigkeiten im Gerät, es besteht Explosionsgesafehr.
- Kontrollieren und reinigen Sieittebegrimalden Tauwasserablauf-einen Hinweis hierzu finden Sie auch im Inneren des Gerates-sonst konnte im Falle einer Verstopfung das angesammelte Wasser zu einer vorzeitigen Funktionstörung des Gerates führen.
Für die Sicherheit ihrer Kinder
- Ihr Kinder sollen nicht mit den Klebebändern und Verpackungsmaterialien des Gerätes halten, da Lebensgefahr durch Ersticken besteht!
- Das Gerät sollte ausschließlich von Erwachsenen bedient werden. Achten Sie daraufauf, daß ihre Kinder mit dem Gerät oder dessen Bedienungselementen nicht playen.
- Solle das Gerät am Ende seine Lebensdauer außer Betrieb gesetzt werden, soziehen Sie den Netzstecker aus der Steckdose, trennen Sie das Anschlußkabel durch (möglichst nah am Gerät) und montieren Sie die Tür ab. Dadurch verhindern Sie, daß sich spielende Kinder selbst einsperren oder einen Stromschlag erleiden.
- Das Gerätarf von Kindern und Personen, deren physische, sensorische oder geistige Fähigkeiten sowie Mangel an Erfahrung und Kenntnissen einen sicheren Gebrauch des Gerätes ausschreiben, nur unter Aufsicht oder nach entsprchender Einweisung durch eine Person benutzt werden, die sicherstellt, dass sie sich den Gefahren des Gebrauchs bewusst sind.
Umweltnormen
- Das Gerätarf nicht mit dem Hausmüll oder Sperrmüll entsorgt werden. Auskunft über Abholtermine oder Sammelplätze gibt die örtliche Gemeindeverwaltung an.
Entsorgung
Verpackungsmaterialien
Die mit dem Symbol gekennzeichneten Materialien sind recyclingfähig.
PE<=Polyäthylen
PS<=Polystyrol
PP<=Polypropylen
Samtliche Verpackungsmaterialien sind rec konnen Sie die Verpackung an den Handler z Gerät gekauft haben.
Informationen für Sicherheits-vorschriften von Isobutan
Warning
- Ihr Gerät enthalt im Kältekreislauf Isobutan (R 600a); bei diesen Stoff besteht Feuer- und Explosionsgefahr.
- Belüftungsöffnungen der Geräteverkleidung oder des Aufbaus von Einbaumöbeln nicht verschreiben.
- Zum Beschleunigen der Abtauung keine anderen mechanischen Einrichtungen oder sonstige künstlichen Mittel als die vom Hersteller empfohlenen benutzen.
Kuhlkreislauf nicht beschädigten. - Keine elektrischen Geräte innerhalb des Lebensmittellagerräumes betreiben, die nicht vom Hersteller frei gegeben sind.
Gebrauch
Vor Inbetriebnahme
Man sollte mindestens 2 Std. warten, bevor das Gerät in Betrieb genommen wird, damit das Kältemittel zurückströmen kann.
- Bevor Sie das Gerät in Betriebnehmen, beseitigen Sie den typischen «Neugeruch» am besten durch Auswaschen der Innenteile mit lauwarmem Wasser und einem neutralen Reinigungsmittel. Sorgfähig nachtrocknen.

Bitte keine Reinigungs- bzw. Scheuermittel verwenden, die das Gerät beschädigen können.
Das Gerät sowie Teile der Innenausstattung sind fürden Transport geschützt.
Alle Klebebänder sowie Polsterteile aus dem Geräteinnenraum entfern.
Inbetriebnahme
- Der Drehknopf für die Temperaturwahl ist im Kühlraum rechts.
- Den Stecker in die Steckdose einsetzen. Kühlschranktür öffnen und Thermostatknopf von der Stellung «O» (STOP) aus im Uhrzeigersinndrehen.
Das Gerät ist eingeschaltet. Den Stillstand des Gerätes erhalten man durch Drehen des Thermostatknopfes auf das Symbol «O».

Temperaturregelung
- Die richtige Einstellung erhält man, unter Berücksichtigung folgender, die Innentemperatur beeinflussender Faktoren:
- Baumtemperatur
- Häufigkeit des Türoffnens
- Menge der eingelagerten Lebensmittel,
- Aufstellung des Gerätes
Die Temperatur wird automatisch geregelt. - Stellung "1" = wärme Innentemperatur
- Stellung "6" = kälteste Innentemperatur
- Stellung "0" = Kuhlung aus
Die mittlere Einstellung ist meistens die geeigneteste.
Kühlabteilausstattung
Abstellregale
Zur Einlagerung von Lebensmittel-Packungen verschiedener Groß, sind die Abstellfläche hohenverstellbar.
- Dazu die Abstellfläche soweit nach vorne ziehen, bis sie sich nach oben oder unter abschwenken und herausnehmer laßt.
- Das Einsetzen in eine andere Höherette in umgekehrter Reihenfolge vornehmen.


Die Glasablage über der Gemüseschale und die Flascheablage mösen immer in der Stellung verbleiben, um eine korrekte Luftzirkulation zungewährleisten.
Türabsteller
- Das mittlere Abstellregale der Innentür ist hohenverstellbar.
- Das Abstellregal stufenweise in Pfeilrichtung drücken bis es frei wird; dann in der gewünschten Höhe wieder anbringen.
- Zur besseren Reinigung kann dieunte Ablage genommen werden.


Tipps

Energie-Einsparung
Das Gerät nicht in der Nähe von Herden, Heizkörpern oder anderen Wärmequellen aufstellen. Bei hoher Umgebungstemperatur lauft der Kompressor haufterg und länger.itte im Abschnitt "Aufstellung" nachsehen.
- Tur nur so lange wie nötig geöffnet setzen.
- Höchste Kälteeinstellung bei hoher Raumtemperatur und erheblicher Lebensmittelmenge kann fortdauernden Kühlschrank-Betrieb verursachen, damit kann sich eine Reif- oder Eisschicht an der hinteren Innewand bilden.
- In diesen Falle den Thermostatknopf auf wärmere Temperaturen stellen, damit das automatische Abtauen, mit folglich geringerem Stromverbrauch, gewährleistet werden kann.
- Keine warmen Speisen in das Gerät stellen. Warme Speisen erst abkühlen setzen.
- Den Verflüssiger, das Metallgitter an der Geräterückseite, mit einem Staubsauger oder einer Bürste immer sauber halten.
Richtiges Kühlen
- Keine warmen Speisen oder dampfenden Flüssigkeiten in den Kühlschrank einstehen.
- Geruchverbreitende Lebensmittel müssen abgedeckt oder eingewickelt werden.
- Die Lebensmittel mussen so eingelagert werden, dass die Kälte um sie frei zirkulieren kann.
Nachstehend einige praktische Ratschlage:
- Fleisch (alle Sorten) in Plastikfolie einpacken und auf die Glasplatte, die sich über der Gemüseschale befindet, legen. In dieser Lage kann das Fleisch langstens 1-2 Tage aufbewahrt werden.
- Gekochtene Nahrungsmittel, kalte Platten, usw. zugedeckt aufbewahren. Sie können auf jeder beliebige Ablage gelegt werden.
- Obst und Gemüse: nach vorherigem Säubern und Waschen in den Gemüseschalen) aufbewahren.
-
Butter und Käse: in speziellen Behältern aufbewahren oder in Alu- bzw. Plastikfolie einpacken, um den Kontakt mit der Luft zu vermeiden.
-
Milch in Flaschen: gut verschlussen in den Flaschenhalter der Innentür stellen.
Wenn Bananen, Kartoffeln, Zwiebeln und Knoblauch nicht verpackt sind, sollen den nicht in den Kühlschrank gegeben werden.
Wartung

Vor jeder Reinigungsrarbeit immer den Netzstecker aus der Steckdoseziehen.

Dieses Gerät erhält im Kaltekreislauf Kohlenwasserstoff. Aus dem Grund darf die Wartung und das Nachfüllen hließlich von autorisierten Fachpersonal durchgeführt werden.
Abtauen
Nach einer bestimmten Betriebszeit kann sich im Kuhlraum des Gerätes eine Reif- bzw. Eischicht bilden.
These Reif- und Eisschicht wirkt isolerend, die Kälteabgabe wird dadurch erschwert, was zur erhöhten Temperatur der Kührläume führen kann und den Stromverbrauch ansteigen laßt.
Bei dieser Typ besitzt der Kuhlbereich eine Abtauvollautomatik. Damit entfällt ein Abtauen des Kuhlbereiches.
Der Temperaturregler unterbricht immer wieder den Kompressor - während dieser Zeit wird der Kuhlprozeß unterbrochen - die Innentemperatur steigt und somit erfolgt ein Abtauen.
Nach dem Abtauen aktiviert der Temperaturregler den Kuhlproze.
Das Wasser sammelt sich im Sammelbehälter, lauft durch den Tauwasserablauf über die Tauwasserabführung in die Auffangschale (auf dem Kompressor) und verdunstet Dort durch die Wärme des Kompressors.

Kontrollieren und reinigen Sieitte den Tauwasserablauf regelmäßig, sonst konnte im Falle einer Verstopfung dasammelte Wasser in die Isolierung gelangen und somit zu einer tigen Funktionstörungen des Gerätes führen.
Verwenden Sie beim Reinigen des Tauwasserablaufes das mitgelieferte und auch in der Abb. dargestellte Reinigungsgerät. Bewahren Sie es am Tauwasserablauf auf.
Überzeugen Sie sich gelegentlich davon, daß der Tauwasserablauf nicht verstoptf ist.
Ein typisches Beispiel für die Verstopfung der Tauwasserabführung besteht
darin, daß in Papier verpackte Lebensmittel mit der Rückwand des Kühlbereiches in Berührung kommt und Dort festfrierten. Beim Herausnahmen des Lebensmittels kann das Papier in die Tauwasserabführung gelangen und dadurch einen Verstopfung verursichen.
Gehen Sie deshalbitte beim Einlegen von in Papier

verpackte Lebensmittel aus den ebenen ernannten Gründen vorsichtig vor.
Bei voller Auslastung (z.B. bei Hitze) lauft der Kühlschrank ununterbrochen, während dieser Zeit ist die Abtauvollautomatik unwirksam.
Nach dem Abtauen sind Reif- und Eisflecken auf der Rückseite des Kühlschranks nicht unüblich..
Reinigung
!Bitte keine Reinigungsbzw. Scheuermittel verwenden, die das Gerät beschädigten konnten. Benutzen Sie nei Metallgegenstände um das Gerät zu reinigen, da es beschädigt werden konnte.
Den Innenraum mit lauwarmem Wasser und einem neutralen Reinigungsmittel reinigen.Gut nachwaschen und sorgfältig trocknen.
Um einen sicheren Betrieb des Gerätes zu gerwährleisten,omal im Jahr den Sockel-Grill abbauen und die Luftkanäe mit einem Staubsauger reinigen. Dies begunstigt den gute Betrieb mit folglicher Stromersparnis.
Stillstandszeiten
- Den Stecker aus der Steckdoseziehen. Alle Lebensmittel herausnehmen und Gerät reinigen.
- Die Tür offen{lassen, um im Inneren eine gute Luftzirkulation zu gewährleisten und damit Geruchsbildung zu vermeiden.
Wechsel der Gluhlampe
Wenn die Gluhlampe defekt ist, konnen Sie diese leicht selbst austauschen:
Ziehen Sie den Netzstecker.
Drehen Sie die Schraube der Abdeckung Heraus undziehen

Sie die Abdeckung in Pfeilrichtung ab.Jetzt konnen Sie die defekte Gluhlampe ersetzen. (Typ: Mignon 322, 230 V, 15 W, Sockel E 14)
Setzen Sie die Abdeckung der Gluhlampe darüber und schrauben Sie die Schraube wieder ein. Stecken Sie zum Schluß den Netzstecker in die Steckdose.
Eine defekte Innenbeleuchtung beeinträchtigt die Funktionsfähigkeit des Gerätes nicht.
Wenn etwas nicht Funktioniert
Falls das Gerät Stärungen aufweisen sollen, bevor Sie den Kundendienst verständigen, überprüfen Sie zuerst folgenden:
| Störung | Abhilfe |
| Im Gerät wird es nicht kalt genug | Der Drehknopf auf kältere Temperatur dieren. |
| Die Lebensmittel mussen so eingelagert werden, dass die Kälte um sie frei zirkulieren kann. | |
| Tür richtig schließen. | |
| Die Umgebungstemperatur ist zu warm. | |
| Gerät kühlt zu stark. | Der Drehknopf auf wärmere Temperatur dieren. |
| Der Kompressor läuft ständig | Der Drehknopf auf niedrigere Zahlen dieren. |
| Die Umgebungstemperatur ist zu warm. | |
| Wasser im Kühlschrank. | Achten Sie daraufuf, dass diese Öffnungen nicht durch Sockelblenden oder Geschirr abgedeckt werden. |
| Innerhalb der letzen 24 Std. wurden größere Mengen warmer Lebensmittel eingelagert. | |
| Tür nur so lange wie nötig geöffnet halten. | |
| Die Ablauföffnung an der Rückwand im Geräteinnenraum ist verstopft. Mit einem nicht scharfkantigen Gegenstand reinigen. | |
| Geräusche | Manchmal sind sie charakterstisch für Kältegeräte. |
| Wenn Kältemittel in)dünne Rohre einströmt, konnen Sie ein blubberndes oder platscherndes Geräusch horen. | |
| Immer wenn der Kompressor ein- oder ausschaltet, ist ein Klicken zu horen. | |
| Geräusche konnen durch das Instand setzen der Möbelstruktur entstehen. |
Kundendienst und Ersatzteile
Sollten Sie nach o.e. Prüfungen zu keinem Resultatkommen, so wenden Sie sichitte an unseren nachsten Kundendienst.Um ein rasches Beheben des Schadens zu ermöglich,ist es beim Anruf an den Kundendienst notwendig anzugegeben:
- Modellbezeichnung
- Erzeugnis-Nummer (PNC)
- Fertigungs-Nummer (S-No.)
These Angaben finden Sie auf dem Typschild links ander Innenseite des Gerätes. Damit Sie die Daten schnell bei der Hand haben, empfehlen wir, sie hier einzutragen.
Technische Angabe
Die technischen Angaben sind auf dem Typschild genannot, das auf der linken inneren Seite der Anlage liegt.
Umkehrbarkeit derTür

Das Gerät wird mit Öffnung der Tur nach rechts geliefert.
Zum Öffnen der Turzur entgegengesetzten Seite, sind vor der Installation folgende Arbeitsgänge notwendig.
1.Den oberen Zapfen losen und das Distanstuck entfern.
2.Die Tur entfernen.
3.Den unteren Bolzen mit einem Schlüssel losschrauben und auf der gegenüber liegenden Seite einsetzen.
4.Die Tur wieder einsetzen und den oberen Zapfen und das Distanstück auf der entgegengesetzen Seite wieder aktivieren.


Installation

Vor der Installation sicherstellen, dass das Gerät nicht beschädigt ist. Mögliche Transportschäden sind dem Handler unverzüglich mitzuteilen.
- Wahlend das Gerät in Betrieb ist, werden der Verflüssiger und der Kompressor, die sich auf der Rückseite des Gerätes befinden, heißt. Aus Gründen der Sicherheit muss eine Mindestbelüftung gesichert sein. Siehe Aufstellungsanweisungen.
- Wichtig: Beschädigte Versorgungs-kabel müssen durch ein Spezialkabel bzw. einen Spezialsatz ersetzt werden, die beim Hersteller oder dem Kundendienststellen erhältlich sind.
Aufstellung
- Vor der Installation sicherstellen, dass das Gerät nicht beschädigt ist. Mögliche Transportschäden sind dem Handler unverzüglich mitzuteilen.
- Das Gerätarf nicht in unmittelbarer Höhe von Heizkörpern oder sonstigen Wärmequelle aufgestellt werden.
- Ein Standort mit direkter Sonneneinstrahlung sollte vermieden werden.
- Eine ausreichende Luftzirkulation an der Geräterücksite muss gewährleistet sein.
- Für eine optimale Belüftung des Gerätes müssen die minimalen Lüftungsquerschnitet (Abb.) eingehalten werden.
Achtung: Die Ventilations - Öffnungen müssen immer saubergehalten werden.
Ferner ist auch am hinteren Einbauschrankteil ein Lüftungskamin mit folgenden Massen notwendig:
Tiefe: 50 mm
Breite: 540 mm

Die Klimaklasse finden Sie auf dem Typschild, das sich links im Innenaum des Gerätes befindet. Nachstehende Tabelle zeigt, welche Umgebungstemperatur welcher Klimaklasse zugeordnet ist:
| Klimaklasse | für Umgebungs- temperatur von |
| SN | +10 bis +32 °C |
| N | +16 bis +32 °C |
| ST | +18 bis +38 °C |
| T | +18 bis +43 °C |
Elektrischer Anschluss
Bevor Sie den Stecker in die Steckdose einstecken, überprüfen Sieitte, dass die auf dem Typschild des Gerätes angegebene Spannung sowie Frequenz mit dem Anschlusswert des Hauses übereinstimmen.
Eine Abweichung von ± 6% von der Nominalspannung ist zulässig.
Für die Anpassung des Gerätes an andere Spannungen muss ein Spartransformer angemessener Leistung vorgeschaltet werden.

Wichtig
Das Gerät muss unbedingt vorschrifsmäßig geerdet werden.
Zu dieser Mzwck ist der Stecker des Anschlusskabels mit dem damit vorgesehenen Kontakt versehen. Sollte die Netzleitung im Haus nicht mit einer Erdleitung versehen sein, so muss das Gerät an eine getrennte Erdleitung vorschrifsmäßig und unter Hinzuziehung eines Fachmanns angeschlossen werden.
Die Erzeugerfirma lehnt jeder Verantwortung ab, falls diese Unfallverhütungsvorschrift nicht beachtet wird.

Dieses Gerät entspricht der folgende EWG Richtlinie:
- 73/23 EWG vom 19.2.73 (Niederspannung) und folgende Änderungen;
- 87/308 EWG vom 2.6.87 (Funkentstörung);
- 89/336 EWG vom 03/05/89 (Elektromagnetische Verträglichkeit) und folgende Änderungen.

Wichtig
Es muss möglich sein, das Gerät vom Netz zu trennen; nach der Installation muss die Steckdose davon zugänglich bleiben.
Einbau Maßzeichnungen
Höhe (1) 880 1225 mm
Tiefe (2) 550 550 mm
Breite (3) 560 560 mm

Ferner ist auch am hinteren Einbauschranktel ein Luftungskamin mit folgenden Massen notwendig:
Tiefe
Breite
50 mm
540 mm

1.Gerät in die Nische einschieben, bis die Anschlagleiste (1) oben am Möbel anliegt und die vordere Kante des Scharniers mit der Tüffnungsside bündig an der Nischenseitenwand ansteht (2).

2.TurÖffnen und Gerät gegenüber der Bandseite an die Möbelseitenwand rücken. Gerät mit den 4 beiliegenden Schrauben (I) befestigen.

3.Fugenabdeckprofil am Gerät, wie in Abbildung gezeigt ankleben.

4.Brechen Sie aus der Plastikabdeckung (E), die das Scharnier mit Stift bedeckt, die in der Abbildung gekennzeichneten Teile hereaus. Dies wird durch die vorgestanzten Ausbruchlinien erreichtert. "Entfern den Sie das mit DX gekennzeichnete Teil, wenn der Stift am rechten Scharnier angebracht werden soll, andernfalls das mit SX gekennzeichnete Teil."
In die Befestigungs- und Scharnierlocher beiliegende Abdeckkappen (C-D) eindrücken. Belüttungsgitter (B) und Scharnierabdeckungen (E) aufstecken.


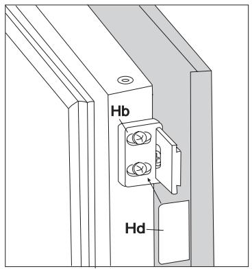
5.Die Teile Ha, Hb, Hc, Hd abnehmen, wie in der Abb. gezeigt wird.

6.Die Schiene auf der Innenseite der Möbeltür oben und unter auflegen (siehe Abb.) und die Positionder äußeren Bohrlocher anzeichnen. Nachdem die Lächer gebohr wurden, die Schiene mit den mitgelieferten Schrauben befestigen.

7.Die Abdeckung (Hc) in die Scheine (Ha) eindrücken, bis sie einrastet.

8.Geratetur und Mobeltur auf ca. 90^ offnen.Den Winkel (Hb) in der Schiene (Ha) einsetzen.Geratetur und Mabeltur zusammenhalten und die Bohrlicher anzeichen (siehe Abb.).

- Die Winkeleisen entfernen und 8 mm vom äusseren Rand der Tur mit dem Nagel (K) kennzeichnen.

- Den Winkel wieder auf der Schiene anbringen und mit den mitgelieferten Schrauben befestigen. Für eine allfällig notwendige Ausrichtung der Möbeltür, den Spielraum der Langlächer nutzen. Nach Beendigung der Arbeiten den einwandfrei Verschluss der Gerätetur überprüfen.

- Die Abdeckung (Hd) in den Winkel (Hb) eindrücken, bis sie einrastet.

Sie können Ersatzteile, Zubehor und Pflegemittel on-line bestellen bei http://www.aeg-electrolux.de
Copyright by AEG
Technische Änderungen vorbehalten
200382184-00-3608
EinfachAnleitung