VIVA - VIVA PLUS - Mobile Phone OLYMPIA - Free user manual and instructions
Find the device manual for free VIVA - VIVA PLUS OLYMPIA in PDF.
User questions about VIVA - VIVA PLUS OLYMPIA
0 question about this device. Answer the ones you know or ask your own.
Ask a new question about this device
Download the instructions for your Mobile Phone in PDF format for free! Find your manual VIVA - VIVA PLUS - OLYMPIA and take your electronic device back in hand. On this page are published all the documents necessary for the use of your device. VIVA - VIVA PLUS by OLYMPIA.
USER MANUAL VIVA - VIVA PLUS OLYMPIA
General Safety Information 5
Intended Use 7
Unintended Use (Foreseeable Misuse) 7
General Overview 8
Scope of Delivery 8
Keys and Operating Elements 8
Description of Operating Sequences in the Manual 10
DisplayIcons 10
Start Screen 11
Putting the Mobile Phone into Operation 13
Inserting the SIM Card 13
Inserting a MicroSD Memory Card 14
Inserting the Battery 14
Charging the Battery 15
Switching the Mobile Phone On and Off 16
Using the Mobile Phone 17
Information on Navigation 17
Methods of Entering Text 17
Making and Taking Calls 19
Menu Options Available During a Call 20
Text Messages (SMS) 21
Mobile Phone Menu 22
Call Lists 22
Phone Book 24
Speed Dialling 26
Text Messages 27
Settings 32
Phone Settings 32
Call Settings 34
Security Settings 36
Bluetooth 38
Restore Factory Settings 39
Emergency Call Function (SOS Key) 39
Reminder, Discharged Battery 41
Calendar 42
Organiser 42
Alarm Clock 43
Camera 44
Radio 47
User Profiles 48
Picture Dialling 52
Shortcut 53
Torch 54
File Manager 54
Other Important Information 55
Troubleshooting 55
Technical Data 56
Declaration of Conformity 56
SAR Information 57
Disposal 58
Maintenance 59
Index 60
For Your Safety
Throughout this document, highlighted texts indicate potential dangers and risks. The danger levels are aligned to the conventions defined in ANSI Z535.6-2011.
Significance of the Signal Words
WARNING!
Risk of fatal and serious personal injury!
Probability of occurrence: possible
CAUTION!
Risk of moderate to minor personal injury!
Probability of occurrence: possible
ATTENTION!
Risk of property damage!
Probability of occurrence: possible
General Safety Information
Observe the following safety instructions in order to protect yourself from the possibility of personal injury and the product from damage.
WARNING!
Pay attention to the information to prevent any personal injuries!
- Risk of electric shock! Never attempt to open and repair the device or accessories yourself. Never touch bare contacts with metallic objects. Never plug-in or unplug the charging adapter when your hands are wet.
- Risk of suffocation! Keep out of reach of children! Keep packaging materials and protective foils as well as batteries out of reach of children. Keep the device and any accessories out of reach of children. Small children can swallow small parts or batteries. If a battery is swallowed, contact medical assistance immediately.
- Prevent life-threatening interference to heart pacemakers! Maintain a safety distance of at least 15~cm ! Never carry the mobile phone in a breast pocket when switched on. Always hold the mobile phone to the ear furthest away from the pacemaker during calls. Switch the mobile phone off immediately if you notice or suspect any adverse effects.
CAUTION!
- Risk of explosion through improper replacement or removal of the lithium battery! Only replace the lithium battery by a type approved by the manufacturer.
- Risk of hearing damage! The ringing tone is issued via the loudspeaker. Take an incoming call first and then hold the mobile phone to your ear. This prevents any possible hearing damage.
- Do not use the phone in prohibited areas! Prohibited areas could include hospitals, petrol stations, aeroplanes, etc. Please observe local regulations!
- Reduce exposure to radio waves! Use an appropriate headset in the case of longer calls. Do not keep the mobile phone near your head.
- With regard to emergencies, do not rely on the mobile phone alone! For technical reasons, it is not possible to guarantee a reliable connection in every situation.
ATTENTION!
Avoid the risk of property damage to your device and observe the information!
- Protect the device from moisture, dust, liquids, chemicals, vapours, heat and direct sunlight. The phone is not waterproof; therefore, keep it dry.
- Only use original accessories. Only connect accessories approved by the manufacturer.
- Repairs to this device may only be completed by properly qualified service personnel.
- When using mobile communication equipment, interference can cause disturbances.
- Telephoning while driving is only permitted when observing the applicable legal regulations.
Tips concerning the battery
Only use batteries and power adapters approved by the manufacturer, otherwise the battery could be damaged.
Do not short circuit the battery. Always leave the battery in the mobile phone to avoid accidentally short circuiting the battery contacts.
Keep the battery contacts clean and free of dirt.
The battery can be charged/discharged hundreds of times but its service life is limited. Replace the battery when the battery power has decreased noticeably.
To prevent unnecessary power consumption via the power adapter plug, disconnect the power adapter plug from the power socket when the battery is not being charged.
Intended Use
This mobile phone is designed for telephoning when connected to a mobile phone network. Any other use is considered unintended use. Unauthorized modification or reconstruction is not permitted. Under no circumstances open the device or complete any repair work yourself.
Unintended Use (Foreseeable Misuse)
Any use of the device other than for that described in the Section "Intended Use" is considered unintended use. Unauthorized modification or reconstruction is not permitted.
General Overview
This chapter provides information on the individual elements of the mobile phone.
Scope of Delivery
1 mobile phone
1 USB connection cable
1 lithium ion battery
1 charging cradle
1 quick reference manual
1 charging adapter
1 headache
Keys and Operating Elements

1 | Earpiece
2 Display
3 Left-hand softkey
4 Call key
5 Keypad
6 Star key
7 Navigation keys, up / down
8 Right-hand softkey
9 Middle softkey
10 | On-hook key
11 | Hash key



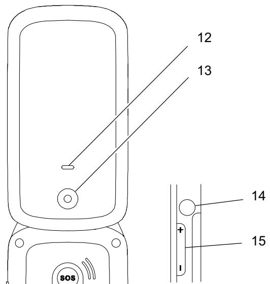
| 12 | LED (for missed events) |
| 13 | Camera |
| 14 | Headphone connection port |
| 15 | Volume key, increase / decrease |
| 16 | SOS (emergency call) key |
| 17 | Battery compartment cover |
| 18 | Charge contacts |
| 19 | USB connection port |
| 20 | Torch (LED) |
| 21 | Torch switch |
Description of Operating Sequences in the Manual
| I | Represents the keys |
| Activate | Represents text in the display |
| Indicates icons in the display |
- This indicates the first step in a set of instructions.
- This indicates the next step in a set of instructions.
NOTE
This indicates important, additional information regarding the task currently being completed on the mobile phone.

This indicates helpful information intended to simplify using the mobile phone.
Display Icons
The table below indicates a series of display icons which frequently appear and indicate a specific status of the mobile phone.
| Symbol | Significance |
| Battery charge | |
| Network availability | |
| SIM not inserted | |
| Bluetooth is switched on | |
| Headphone is connected | |
| Silent mode |
Start Screen
The start screen is the standard display which appears when the mobile phone is switched on. Flip the mobile phone open to deactivate the key lock function and activate the start screen in the mobile phone display.
The start screen contains various useful indicators. In addition to the time and date, icons indicating the battery charge and network availability are also displayed.
Display of the network availability
The current network availability is displayed graphically at the top left of the mobile phone screen:




The more bars in the display icon the better the reception quality. Some mobile phone networks offer better coverage than others in different areas.
Display of the mobile phone network
The name of the mobile phone network appears in the center of the screen above the time display.

If you use the dual SIM function offered by the mobile phone, the network availability and name of each mobile phone network used is displayed.
Display of the battery charge
The current battery charge status is indicated in the mobile phone screen as follows:




When the battery charge is low, a corresponding warning message appears in the display.
NOTE
In cases where the battery charge is extremely low, it is possible that the back-lighting for the screen no longer works and certain functions are no longer available. Charge the battery in the mobile phone.
NOTE
When the battery charge drops below a minimum status, the mobile phone switches off automatically.
Display of the time
The time is displayed in the center of the mobile phone screen.
Set the time before using the phone for the first time.
NOTE
If you reset the mobile phone settings to their factory settings, the current time must be set again.
Display of the date
The current date is displayed in the center of the mobile phone screen.
Set the date before using the phone for the first time.
NOTE
If you reset the mobile phone settings to their factory settings, the current date must be set again.
Putting the Mobile Phone into Operation
This chapter provides information on preparing the mobile phone for use.
NOTE
Before you start, please read the safety information.
Inserting the SIM Card
Before you can start to use the mobile phone, you must insert your SIM card (not included in the equipment supplied) in the phone.

At certain points of this operating manual, reference is made to "SIM1". Since this device supports the use of 2 SIM cards (dual SIM), the settings are also applicable for SIM2 at the respective points.

The emergency call (SOS) function of the phone is completed by SIM card 1. If you only use one SIM card, it must be inserted in the slot for SIM 1!
- Remove the battery compartment cover (1).
- Insert the SIM card (2) as illustrated.


The battery compartment contains a useful diagram which indicates how to position and align the SIM card correctly in the compartment.
Inserting a MicroSD Memory Card
A microSD memory card (not included in the equipment supplied) can be inserted, as an option, in the mobile phone. This increases the quantity of data which can be stored on the mobile phone.
- Slide the microSD memory card with the contacts facing down in the open compartment as illustrated.

The shape of the compartment ensures the card cannot be inserted incorrectly.

Inserting the Battery
Before you can use the mobile phone, you must insert the battery in the mobile phone.
- Insert the battery (2) as illustrated.

The shape of the compartment ensures the battery cannot be inserted incorrectly.
- Replace the battery compartment cover (1).

Charging the Battery
When charging the battery for the first time, it should be charged for at least 4 hours. Some batteries only reach their full capacity after several complete charge/discharge cycles. If the battery is fully discharged, it may take some time for the charging process to be indicated.
NOTE
Before starting to charge the battery, check that it has been installed properly. Do not remove the battery while the mobile phone is being charged. This could damage the phone.
Charging the battery with the charging adapter
- Connect the power plug (1) to a properly installed power socket.
- Connect the microUSB plug (3) to the USB connection port (2) on the mobile phone.
NOTE
Make sure that the microUSB plug (3) is connected to the microUSB connection port (2) the right way round.


The charging process is indicated in the display by means of a charging battery icon.
Charging the battery with the charging cradle
- Connect the power plug (1) to a properly installed power socket.
- Connect the microUSB plug (2) to the USB connection port (3) on the charging cradle.
- Place the mobile phone in the charging cradle as illustrated.


The charging process is indicated in the display by means of a charging battery icon.
Switching the Mobile Phone On and Off
- Press the key for 3 seconds.
NOTE Some SIM cards will require you to enter a PIN code. Follow the instructions on the screen.
Using the Mobile Phone
This chapter provides information on the ways to operate the mobile phone.
Information on Navigation
Press the navigation keys (up and down) to navigate through the menus and submenus provided by the mobile phone and the softkeys 一 一 / 一 一 / 一 一 (left, middle and right) to start functions.
NOTE
Different functions are assigned to the left, middle and right-hand softkeys 一/二/三 according to the various menus. The left-hand and middle softkeys are normally assigned the "Confirm/ Save/Option" function and the right-hand softkey is normally assigned the "Back/Cancel" function.
i
You will find display texts (Activate) illustrated in many sections of this operating manual. These display texts correspond to the texts which appear on the display of your mobile phone. If several display texts appear in succession, these can be displayed in the mobile phone display in the corresponding order by pressing the left-hand softkey l .
Key lock
The key lock function is intended to prevent functions being activated inadvertently. If no key on the mobile phone is pressed for approx. 30 seconds, the key lock function is automatically activated.
- Close the mobile phone cover to activate the key lock.
- Flip the mobile phone open to deactivate the key lock.
NOTE
Calls can be received and taken on the phone as normal even when the key lock is activated.
Methods of Entering Text
You can change the text input method to enter other characters.
Multi-tap, capital letters
Multi-tap, small letters
Digits 123
Multi-tap
In order to enter text in multi-tap mode, press the key labelled with the corresponding letter/character. If the first character of the group is required, press the key once. If the second character is required, press it twice, and so on.
To enter two characters assigned to the same key, press the key the respective number of times to enter the first character. Wait until the cursor skips to the next position and then enter the letter.
Punctuation and special characters
Check that you are in Edit mode and the press key. Punctuation marks and special characters are displayed. Use the navigation keys (up and down) to move to the required character and press the middle navigation key to insert the character.
Repeatedly pressing I in Edit mode scrolls through a list of frequently used punctuation and special characters.
Other entries and functions
Press the 0 - key to enter a space.
Press the right-hand softkey to delete characters.
Press the right-hand softkey for 2 seconds to delete all the characters.
Making and Taking Calls
The following descriptions of functions assume that the start screen is displayed as the starting point.
Making calls
- Enter the necessary phone number.
Press the right-hand softkey to delete entries.
2. Press the Call key . The number is dialled.
Select the SIM card used when requested to do so.
Taking a call
Incoming calls are indicated differently, according to the settings defined in the mobile phone. The mobile phone can signal an incoming call by ringing and/or vibrating.
Taking calls by pressing a key
Press the Call key to take an incoming call.
Taking calls by flipping open
Flip the mobile phone open to take an incoming call.
Rejecting a call
You can reject incoming calls in different ways.
Rejecting calls using a key
Press the On-hook key ~一~ to reject an incoming call.
Rejecting calls by closing the cover
Close the mobile phone cover to reject an incoming call.
Ending a call
You can end calls in progress in various ways.
Ending calls using a key
Press the On-hook key to end a call in progress.
Rejecting calls by closing the cover
Close the mobile phone cover while a call is in progress to end the call.
Setting the receiver volume
Adjust the receiver volume of the mobile phone while a call is in progress:
- Press the + / - keys at the side of the mobile phone to raise or lower the receiver volume.

Exposure to the receiver earpiece at full volume for a long period could cause ear damage.
Menu Options Available During a Call
You can change some settings while a call is in progress.
Handsfree
You can select whether to hear the caller via the loudspeaker.
- Select the H-Free option while a call is in progress. The caller can then be heard over the loudspeaker.
- Select H-Held to deactivate the loudspeaker again.
Muting the microphone
You can switch the microphone off while the call is in progress.

Muting means that the call continues to be connected but the caller can no longer hear you.
- While a call is in progress, navigate to Options Silent On. The microphone is switched off.
- Navigate to Options Silent Off to deactivate the muting function.
Putting a call on hold
You can select whether to put the call in progress on hold.

Putting a call on hold basically means keeping the caller connected but having no direct communication. The caller is put on hold enabling you to call someone else. The first caller cannot hear this call.
- While a call is in progress, navigate to Options Hold single call. The caller is put on hold.
- Navigate to Options Retrieve to resume the call.
Text Messages (SMS)
You can use the mobile phone to send and receive text messages (SMS).
NOTE
It is possible that not all functions described are supported by every mobile service provider. Therefore, please contact your local mobile service provider for details.
Writing text messages
Use the function to write short text messages:
- Navigate to Menu Messaging Write message
- Enter your text.
- Select Options Send to
- Select Add from Phonebook and then the required phone book contact.

Select the SIM card to be used when requested to do so.
Alternatively, enter the required phone number manually.
- Select Options Send. The text message is sent.
NOTE
More detailed information on text messages is provided from Page 27.
Mobile Phone Menu
The main mobile phone menu is divided into topically organised groups (submenus). All the most important functions are explained below.
NOTE
At certain points of this operating manual, reference is made to "SIM1". Since this device supports the use of 2 SIM cards (dual SIM), the settings are also applicable for SIM2 at the respective points.
i
Some texts in the menu appear as scrolling text. Wait a moment for the respective selection in order to be able to read the scrolling text completely.
Call Lists
Your mobile phone stores the last numbers dialled, calls received and calls missed in call lists.
NOTE
If one of the phone numbers received matches an entry in the phone book, the associated name appears.
Call list options
The same options are available for all of the call lists.
View
This option provides more detailed information (e.g. time and date of the call and number of calls) regarding the entry selected.
- Navigate to Menu Call center Call history.
- Select the required call list (Missed calls, Dialled calls or Received calls).
- Select the required entry.
- Select Options View. An overview of more detailed information on the selected entry is displayed.
Call
You can call an entry.
- Navigate to Menu Call center Call history.
- Select the required call list (Missed calls, Dialled calls or Received calls).
- Select the required entry.
- Press the button. The entry selected is dialled.
Send text message
Write and send a text message to the selected entry.
- Navigate to Menu Call center Call history.
- Select the required call list (Missed calls, Dialled calls or Received calls).
- Select the required entry.
- Select Options Send text message.
- Enter your text.
- Select Options Send to.
- Select the required contact.
i
Alternatively, enter the required phone number manually.
8. Select Options Send. The text message is sent.
Save in the phone book
You can store entries in the call list in your phone book.
- Navigate to Menu Call center Call history.
- Select the required call list (Missed calls, Dialled calls or Received calls).
- Select the required entry.
- Select Options Save to Phonebook
- Select the storage location for the new phone book entry (To SIM1 or To Phone).
- Enter a name for the phone book contact.
- Select Options Save. The setting is saved.
Delete
You can delete an entry from the call lists.
- Navigate to Menu Call center Call history.
- Select the required call list (Missed calls, Dialled calls or Received calls).
- Select the required entry.
- Select Options Delete and confirm the prompt. The contact is deleted.
i
Alternatively, you can delete all the call lists in one operation.
Navigate to Menu Call center Call history Delete call logs All calls.
Confirm the prompt.
Text message counter
This menu enables you to see how many text messages you have sent and received.

If you use two SIM cards, you can view the text messages sent and received arranged according to the respective SIM card.
- Navigate to Menu Call center Call history Text msg. counter
Phone Book
The phone book in the phone can store up to 300 entries. You can store other entries on the SIM card.
- Always enter phone numbers with the country and area codes.
- When the memory capacity is used up, the corresponding message appears when an attempt is made to store another contact. Before new entries can be stored, old contacts must be deleted.
- The phone book entries are arranged alphabetically. To skip directly to a required phone book contact, press the corresponding first letter.
Adding a contact
Save your contacts in the phone book in order to be able to access important phone numbers quickly.
- Navigate to Menu Phonebook Add new contact OK and select the storage location To SIM1 / To Phone.
- Enter the name and phone number.
- Select Options Save and confirm the prompt. The setting is saved.

You can also assign a speed dialling number or picture to the contacts saved.
Calling a contact
You can call contacts stored in the phone book as follows:
- Navigate to Menu Phonebook.
- Select the required contact.
- Press the Call key . The number is dialled.
NOTE
To skip directly to an entry, use the keypad to enter the first letters of the name stored. It may be necessary to press a button several times.

To enter a name starting with the letter "L", press the 5_KL key three times.
Deleting a contact
You can delete a contact from the phone book as follows:
- Navigate to Menu Phonebook.
- Select the required contact.
- Select Options Delete and confirm the prompt. The contact is deleted.
Deleting all contacts
Proceed as follows to delete all the contacts stored on the SIM card and/or the mobile phone:
- Navigate to Menu Phonebook Phonebook settings
Delete all contacts and select the storage location From SIM 1
From Phone on which the contacts to be deleted are stored. - Confirm the prompt. All the contacts selected are deleted.
Viewing a contact
You can display all the details regarding a contact.
- Navigate to Menu Phonebook.
- Select the required contact.
- Select Options View. The name and number of the contact are displayed.
Editing a contact
You can edit a contact stored in the phone book.
- Navigate to Menu Phonebook.
- Select the required contact.
- Select Options Edit
- Edit the contact details.
- Select Options Save and confirm the prompt. The setting is saved.
Copying a contact
You can copy contacts stored in the phone book.
- Navigate to Menu Phonebook.
- Select the required contact.
- Select Options Copy
- Select whether the contact is to be copied from the SIM card to the mobile phone (To Phone) or from the mobile phone to the SIM card (To SIM1).

The advantage of storage on the mobile phone is that it has a larger capacity than that of the SIM card. However, if you insert the SIM card in a different mobile phone, the contacts stored on the
original mobile phone are no longer available. The advantage of the SIM card as storage location is that you save the contacts independently of the phone, the disadvantage being there is less memory capacity available.
- Confirm the prompt. The contacts are copied.
Phone book settings
Advanced settings can be defined in the phone book settings.
Preferred storage location
You can define your preferred storage location for phone book entries. Depending on the setting defined, phone book entries are saved on the SIM card or in the mobile phone memory without any further confirmation requests.
- Navigate to Menu | Phonebook | Phonebook settings | Preferred storage.
- Select the storage location, SIM1 / Phone.
Memory status
Information appears regarding the number of contacts stored and storage locations available:
- Navigate to Menu Phonebook Phonebook settings Memory status. The storage locations still available are displayed.
Speed Dialling
You can assign speed dialling for up to 8 phone book entries to the keys 2_ABC - 9_WZ .
Activating the speed dialling function
Firstly, the speed dialling function must be switched on.
- Navigate to Menu Phonebook Phonebook settings Speed dial Status.
- Select On. The speed dialling function is switched on.
NOTE
You can only assign speed dialling numbers to contacts who are already stored in the phone book.
Adding contacts to the speed dialling list
Add contacts to the speed dialling function in order to be able to dial them via the keys 2_ABC - 9_WZ .
- Navigate to Menu Phonebook Phonebook settings Speed dial Set numbers.
- Select a speed dialling storage location not yet assigned (< Empty >)
- Select the required contact. The setting is saved.
Calling contacts via speed dialling
You can use the speed dialling function from the start screen.
- Press the respective key 2_ABC - 9_XYZ^WZ for 3 seconds. The number is dialled.
Text Messages
You can use the mobile phone to send and receive text messages (SMS).
NOTE
It is possible that not all functions described are supported by every mobile service provider. Therefore, please contact your local mobile service provider for details.
Writing text messages
Use the function to write short text messages:
- Navigate to Menu Messaging Write message
- Enter your text.
- Select Options Send to
- Select [Add from Phonebook] and then the required phone book contact.
i
Alternatively, enter the required phone number manually.
5. Select Options Send. The text message is sent.
NOTE
A standard text message contains 160 characters. Extra costs may be incurred for texts in excess of 160 characters.
Inbox
The text messages received are stored in the inbox.
View
Open the text message to read the content.
- Navigate to Menu Messaging Inbox.
- Select the required text message.
- Select Options View. The text message is opened.
Reply
Send a reply to the sender of the text message received.
- Navigate to Menu Messaging Inbox.
- Select the required text message.
- Select Options Reply
- Enter your text.
-
Select Options Send to
-
Select the sender of the text message received.
- Select Options Send. The text message is sent.
Call sender
Call the sender of the text message received.
- Navigate to Menu Messaging Inbox.
- Select the required text message.
- Select Options Call sender. The sender of the message received is called.
Forward
You can forward a text message received to another contact.
- Navigate to Menu Messaging Inbox.
- Select the required text message.
- Select Options Forward
- Edit the selected text message, if necessary.
- Select Options Send to.
- Select Add from Phonebook and then the required phone book contact.
i
Alternatively, enter the required phone number manually.
7. Select Options Send. The text message is sent.
Delete
You can delete a text message you have received.
- Navigate to Menu Messaging Inbox.
- Select the required contact.
- Select Options Delete and confirm the prompt. The text message is deleted
Delete all
You can delete all the text messages saved in the Inbox folder.
- Navigate to Menu Messaging Inbox Delete all
- Confirm the prompt. All the text messages in the inbox are deleted.
Save to phonebook
You can save a phone number, from which you have received a text message, in your phone book.
- Navigate to Menu Messaging Inbox.
- Select the required text message.
- Select Options Save to Phonebook.
- Select the storage location, [To SIM1] / [To Phone].
- Enter a name for the phone book contact.
- Select Options Save. The phone number from which the text message was received is stored as a phone book entry.
Drafts
You can save a text message as a draft in the Drafts folder. This provides you access to frequently used texts.
Save to drafts
Write a text which you want to save as a draft.
- Navigate to Menu Messaging Write message
- Enter your text.
- Select Options Save to Drafts. The text message is saved as a draft.
View
Open the text message saved as a draft message to display the content.
- Navigate to Menu Messaging Drafts.
- Select the required draft message.
- Select Options View. The text message is opened.
Send
Send the text, saved as a draft, to a recipient.
- Navigate to Menu Messaging Drafts.
- Select the required draft message.
- Select Options Send
- Select Add from Phonebook and then the required phone book contact.

Alternatively, enter the required phone number manually.
- Select OK Options Send. The text message is sent.
Edit
You can edit a text which you have already saved as a draft.
- Navigate to Menu Messaging Drafts.
- Select the required draft message.
- Select Options Edit
- Edit the draft text according to your requirements.
- Select Options Save to Drafts. The modifications are saved.
Delete
You can delete a text message saved as a draft.
- Navigate to Menu Messaging Drafts.
- Select the required draft message.
- Select Options Delete
- Confirm the prompt. The draft message is deleted.
Sent messages
The text messages sent from your mobile phone are stored.
View
Open the text message to read the content.
- Navigate to Menu Messaging Sent messages.
- Select the required text message.
- Select Options View. The text message is opened.
Forward
You can forward a text message already sent to another contact.
- Navigate to Menu Messaging Sent messages
- Select the required text message.
- Select Options Forward
- Edit the selected text message as necessary.
- Select Options Send to.
- Select Add from Phonebook and then the required phone book contact.
i
Alternatively, enter the required phone number manually.
7. Select Options Send. The text message is sent.
Delete
You can delete a text message you have sent.
- Navigate to Menu Messaging Sent messages.
- Select the required text message.
- Select Options Delete
- Confirm the prompt. The draft message is deleted.
Delete all
You can delete all the text messages you previously sent.
- Navigate to Menu Messaging Sent messages Delete all
- Confirm the prompt. All the text messages previously sent are deleted.
Transmission reports
You can define whether you want to receive a transmission report for text messages sent.
- Navigate to Menu Messaging SMS settings SIM1 Delivery report
Change the On or Off status using the Hash or Star key.
When the default factory settings are set, the Delivery report function is deactivated.
Preferred storage
This defines whether the text messages are stored on the mobile phone or SIM card.
The advantage of storage on the mobile phone is that it has a larger capacity than that of the SIM card. If you insert the SIM card in another phone, the text messages from the phone are no longer available. The advantage of the SIM card as storage location is that you save the text messages independently of the phone, the disadvantage being there is less memory capacity available.
- Navigate to Menu Messaging SMS settings Preferred storage
Change the SIM1 or Phone storage location using the Hash or Star key.
Memory status
You can check how much memory space is available for your text messages.
- Navigate to Menu Messaging SMS settings Memory status. The memory capacity of the SIM card and mobile phone is displayed.



Settings
The Settings menu is used to change the basic settings such as time, language, call settings, telephone settings, network and security settings etc.
Dual SIM settings
You must insert two SIM cards in the mobile phone in order to use this function. Otherwise, SIM1 is automatically activated.
You can define whether the mobile phone should access one or both SIM cards inserted.
- Navigate to Menu Settings Dual SIM settings
- Select the required setting. The setting is saved.
Phone Settings
You can define the basic settings for the mobile phone, such as language, time, date, back-lighting etc.
Time and date
Set the time and date before using the mobile phone for the first time.
- Navigate to Menu Settings Phone settings Time and date Set time/date.
- Enter the current time and date using the keypad.
- Select Save. The setting is saved.
i
Adapt the settings for time zone and home city as well as the time and date format according to your needs.
Language
The mobile phone can be operated in four different languages (German, English, French and Dutch).
- Navigate to Menu Settings Phone settings Language
- Select the required setting.
- Select OK. The setting is saved.
Switching on/off automatically
The mobile phone can be switched on or off automatically at a time you define.
- Navigate to Menu Settings Phone settings Schedule power on/off Power on.
i
Alternatively, select Power off.
- Select a time.
- Select Status Activate to activate the function.
- Enter the required time using the keypad.
- Select Save. The settings are saved.
Preferred input method
You can define the method by which you enter text.
i
This setting affects all the operating modes in which text can be entered (creating phone book contacts, writing text messages etc.).
- Navigate to Menu Settings Phone settings Preferred input method.
- Select the required setting.
- Select OK. The setting is saved and affects all the relevant menus.
Display
Define which background image (wallpaper) you want on the start screen, whether the time should be displayed on the start screen and which animation should appear after switching the mobile phone on and off.
Wallpaper (background image)
- Navigate to Menu Settings Phone settings Display Wallpaper.
- Then define which image you want to be displayed on the start screen.
i
If you have stored private pictures on the mobile phone, you can also use one of them as the wallpaper.
3. Select OK. The settings are saved.
Displaying the date and time
- Navigate to Menu Settings Phone settings Display Show date and time On or Off.
Animation after switching on and off
- Navigate to Menu Settings Phone settings Display Power on display or Power off display and define the relevant settings.
- Select OK. The settings are saved.
Back-lighting
You can define how bright the back-lighting of the screen display should be and how long it should be active.
- Navigate to Menu Settings Phone settings Misc. settings LCD backlight
- Select the required settings.
i
Change the settings using the Star or Hash key.
3. Select OK. The settings are saved.
Network settings
The mobile phone searches for and automatically selects the mobile network assigned to the SIM card or mobile phone provider (network operator).

The presettings in this menu are set-up by the SIM card or network operator. We recommend that you do not alter the settings in this menu.
Call Settings
You can define various settings in order to specify certain telephone reactions and features for your mobile phone.
Send own phone number
You can define whether you send your own phone number to the person called with each outgoing call (Send ID), not to send it (Hide ID) or have this setting defined by your mobile phone provider (Set by network).
- Navigate to Menu Call center Call settings SIM1 call settings Caller ID.
- Select the required setting. The setting is saved.
Call waiting
You can define whether a new, incoming call should be indicated by means of the call waiting signal while a call is already in progress.
- Navigate to Menu Call center Call settings SIM1 call settings Call waiting Activate.

This service may need to be enabled by your mobile phone provider. You can check whether the service is available in Query status.
Call divert
You can define whether and, if so, under what situations incoming calls to the mobile phone should be diverted to another specified phone number:
(Divert all voice calls, Divert if unreachable, Divert if no answer, Divert if busy, Divert all data calls).
- Navigate to Menu Call center Call settings SIM1 call settings Call divert.
- Select the required call divert setting.
- Select Activate To new number and enter the phone number to which the calls should be diverted.

Alternatively, select Activate To new number Options From phonebook and select a contact from the phone book.
4. Select Options Done. The setting is saved.
NOTE
If necessary, deactivate all the call diversions you have set-up. Navigate to Menu Call center Call settings SIM1 call settings Call divert Cancel all diverts.
Automatic redialling
You can define whether your mobile phone should automatically try and redial a number previously dialled but which was engaged or could not be reached at the time as soon as the mobile detects the line to the person called is no longer busy.
- Navigate to Menu Call center Call settings Advanced settings Auto radial.
- Select the required setting.
- Select OK. The setting is saved.
Call time reminder
You can define whether an acoustic signal should be issued to remind you of the call time which has elapsed until that moment while a call is in progress. You can define a single period or a repeated interval for the acoustic signal.
- Navigate to Menu Call center Call settings Advanced settings Call time reminder.
- Define whether you want to be reminded by an acoustic signal of the call time elapsed after a single period (Single) or a repeated interval (Periodic).
i
You can also define when or at what intervals the acoustic signal should be issued.
3. Select OK. The setting is saved.
Answer mode
You can define the way and means by which you take phone calls.
- Navigate to Menu Call center Call settings Advanced settings Answer mode.
- Select the required setting.
- Select OK. The setting is saved.
Security Settings
Define a your own individual PIN code and phone lock password.
i
You can deactivate the request for your PIN from the SIM card if so required. The risk here is, should you lose your mobile phone, the data could be misused by third-parties and subsequent costs could be charged to you.
i
When you change your PIN code or phone lock password, we urgently recommend that you note down the new PIN code or phone lock password and keep it where it cannot be accessed by third-parties.
Switching the PIN code prompt on/off
- Navigate to Menu Settings Security settings SIM1 security PIN lock.
- Enter the PIN code. The setting is saved.
i
The standard PIN code is contained with the documents provided with the SIM card.
3. The PIN code request is switched on or off.
Changing the PIN code
- Navigate to Menu Settings Security settings SIM1 security Change PIN.
- Enter your PIN code.
i
The standard PIN code is contained with the documents provided with the SIM card.
- Enter the new PIN code.
- Enter the new PIN code again.
- Confirm the prompt. The setting is saved.
i
The PIN code is stored on the SIM card. If you give your SIM card to someone else or insert it in another mobile phone, the newly entered PIN code is valid.
i
If you forget your PIN code, you can reset the SIM card to its default settings after entering the PUK. More detailed information on this is available from your mobile phone provider.
Switching the phone lock on/off
- Navigate to Menu Settings Security settings Phone security Phone lock.
- Enter the phone lock password. The setting is saved.
i
In its default setting, the phone lock password is 0000.
i
The phone lock is also active when there is no SIM card inserted in the mobile phone.
Changing the phone lock password
- Navigate to Menu Settings Security settings Phone security Change password.
- Enter the phone lock password.
- Enter the new phone lock password.
- Enter the new phone lock password again. The setting is saved.
Bluetooth
The Bluetooth function, a standard for wireless data transfer, can be used to exchange data with other Bluetooth-capable devices free of charge.
Switching on/off
- Navigate to Menu Settings Bluetooth Power
- Select On or Off. The Bluetooth function is switched on or off, respectively.
Visibility
You can define whether your mobile phone should be visible for other Bluetooth-capable devices in the environment.
- Navigate to Menu Settings Bluetooth Visibility
- Select On. The mobile phone is visible for other Bluetooth-capable devices.
- Select Off. The mobile phone is not visible for other Bluetooth-capable devices.
My device
Search for other Bluetooth-capable devices in your environment with which you want to connect your mobile phone.
- Navigate to Menu Settings Bluetooth My device Search new device.
- Follow the instructions on the screen. Your mobile phone is connected to the device selected.
Search for audio devices
Search for other Bluetooth-capable audio devices in your environment with which you want to connect your mobile phone.
- Navigate to Menu Settings Bluetooth Search audio device.
- Follow the instructions on the screen. Your mobile phone is connected to the device selected.
Device name
You can assign your mobile phone a name via which it can be identified and located under other Bluetooth-capable devices.
The default setting for the mobile phone is the name "Olympia BT".
- Navigate to Menu Settings Bluetooth My name.
The name of the mobile phone is limited to 18 characters. - Enter a name for the mobile phone.
- Select Options Done. The setting is saved.
You should reset the phone settings to their default factory settings before transferring the device to third parties, e.g. for repair or sale.
i
Make a copy of the personal data stored on your SIM card or microSD memory card prior to initiating a reset to the factory settings.
- Navigate to Menu Settings Restore settings.
- Enter the phone lock password.
i
In its default setting, the phone lock password is 0000.
3. Confirm the prompt. The mobile phone is reset to its factory settings.
Emergency Call Function (SOS Key)

The acoustic alarm signal is very loud and could cause hearing damage if held close to the ear. Therefore, keep the mobile phone away from your head when pressing the SOS key.
The SOS key activates the emergency call function. Press and hold the SOS key for approx. 3 sec. to trigger an emergency call. An acoustic alarm signal is sounded and the emergency text is sent to the phone numbers stored for the purpose. After that, the respective phone numbers stored are dialled in succession in Handsfree mode. You can assign up to 4 phone numbers to the SOS key.
Switching the emergency call function on/off
Before using the emergency call function, it must be activated.
- Navigate to Menu Settings Emergency Settings Switch
- Select the required setting.
- Select OK. The setting is saved.
Call chain
Set whether the emergency call numbers should be called once or repeatedly.
- Navigate to Menu Settings Emergency Settings SOS Chain
- Select the required setting.
- Select OK. The setting is saved.
NOTE
If the telephone chain setting is activated, all the phone numbers stored are dialled in succession a total of 3 times. This ensures that the emergency call function is not interrupted by answering machines or mailboxes.
Emergency call numbers
You can save up to 4 phone numbers to which an emergency call and emergency text are sent after the function has been triggered by pressing the SOS key.
NOTE
Do not assign any official emergency call service numbers. A false alarm can lead to considerable costs which could be charged to you.
- Navigate to Menu Settings Emergency Settings Number List.
- Select an empty storage location (< Empty >)
- Enter the required phone numbers.
- Select OK. The setting is saved.
Emergency text message
Enter a text from which it is clearly evident to the recipient that you are in an emergency situation and require help.
- Navigate to Menu Settings Emergency Settings Content
i
When in its default setting, the text for the emergency text message is SOS Hilfe!.
- Edit the emergency text message.
i
The content of the emergency text messages in this case is limited to 139 characters.
3. Select Done. The setting is saved.
Female / Male contact
You can assign a specific phone number to each key, * and # , which is then called by simply pressing that key.
- Navigate to Menu Settings Emergency Settings Female Number.
i
The setting must be made in the same way for the Male Number.
-
Enter the necessary phone number.
-
Select OK. The setting is saved.
i
Press and hold the corresponding key for approx. 2 seconds in Standby mode. The number assigned is dialled.
Reminder, Discharged Battery
The reminder function in the case of a discharged battery can be used to initiate the dispatch of a text message to any phone numbers informing you that the battery in your mobile phone is almost empty and must be recharged.
Status
Switch the function on or off.
- Navigate to Menu Settings Charge remind Switch
- Select the required setting.
- Select OK. The setting is saved.
Content of the text message
Define the content of the text message which should be sent when the battery in the mobile phone is almost empty and must be recharged.
- Navigate to Menu Settings Charge remind Content
- Enter the required text using the keypad.
The content of the text messages in this case is limited to 127 characters.
i i
When in its default setting, the text for the reminder function is Charge remind.
3. Select Done. The setting is saved.
Number list
Set-up a list not exceeding five phone numbers to which the text message should be sent.
- Navigate to Menu Settings Charge remind Number List.
- Select an empty storage location (<Empty>)
- Enter the required phone numbers.
- Select OK. The setting is saved.
Automatic handsfree function
You can select whether to hear the caller via the loudspeaker automatically.
- Navigate to Menu Settings Hand free setting
- Select On. The function is activated.
You can deactivate the function while a call is in progress.
i
Calendar
The calendar provides an overview of the days, weeks and months of the year.
- Navigate to Menu Organizer Calendar. An overview of the current month with the weekdays appears.
- Use the 4_GH and 6_NO keys to navigate sideways and the / keys to navigate vertically.
View
You can switch between a week and a month overview.
- Navigate to Menu Organizer Calendar Options
- Select Go to weekly view or Go to monthly view.
- The view selected is displayed.
Jump to date
You can skip directly to a date in the future or past as necessary.

This may be useful, for example, if you want to know on which weekday a birthday, marriage or other important events fall in the following year.
- Navigate to Menu Organizer Calendar Options Jump to date.
- Enter the required date using the keypad.
- Select OK. The date entered appears on a coloured background.
Organiser
You can arrange the most important tasks in the organiser provided on the mobile phone. You can enter the various tasks of which you want to be reminded.
- Navigate to Menu Organizer Tasks Add.
Subject
You can enter a key word describing the subject of the task.
- Select Subject.
- Enter the required text using the keypad.
Priority
You can define the importance of the task.
- Select .
- Select between Low, Medium and High.
Due time
Enter the date on which the task is to be completed.
- Select Due time.
- Enter the relevant time and date using the keypad.
Alarm
You can define if and when you want to be reminded of the due time of the task (Off, On, 5 min before, 10 min before, 15 min before or 30 min before).
- Select Alarm Select.
- Select the alarm type required.
Repeat
This function is used to define when and how often you want to be reminded of the respective task (Customize, Single, Everyday, Weekly, Monthly or Yearly).
- Select Repeat Select
- Select the required entry.
Details
Enter further details regarding the task, if necessary.
- Navigate to Details.
- Enter the required text using the keypad.
- Select Options Done. The task is saved.
Alarm Clock
You can use the mobile phone as an alarm clock.
- Navigate to Menu Organizer Alarm
You can set up to five different alarms. - Select the required alarm.
- Select Edit
- Change the On or Off status of the alarm clock using the Hash or Star key.
- Enter the wake-up time.
- Select Save. The alarm is saved.
You can define more settings to adapt the alarm clock.
Snoopze function
You can define the duration (minutes) of the snooze function.
- Select Snooze (min).
- Select the required period.
i
Change the setting using the Hash or Star key.
Repeat
You can define whether and, if so, how often the alarm should be repeated (Single, Everyday or Custom).
- Select Repeat
- Select the required entry.
i
Define other settings to the weekdays according to the selection or set the days on which the alarm should wake you.
Alarm tone
You can define the tone with which you want to be woken.
- Select Alarm tone.
- Select Tone or FM Radio.
i1
Change the setting using the Hash or Star key.
Select either from the 20 various ringing tones or a radio station stored in the channel list.
Alert type
You can define how the mobile phone should provide its alert signals [Vib. and ring], [Ring only] or [Vib. only].
- Select Alert type.
- Select the required alert type.
i
Change the settings using the Star or Hash key.
3. Select Save. The alert type set is saved.
Camera
Use the camera to take photos at any time and any place.
NOTE
Observe local regulations and respect other peoples' rights of privacy.
i
In order to use the camera and save the photos taken, a microSD memory card must be inserted in the mobile phone and set-up as the storage location for the photos.
- Flip the mobile phone open.
- Navigate to Menu Multimedia Camera
The subject in front of the camera lens appears on the mobile phone screen.
- Press the key. The camera integrated in the mobile phone stores the photo.
You can adjust the quality of the photos taken, activate various effects on the camera, change the white balance and define a variety of other settings.
Some settings assume an in-depth knowledge of photography. Test the most convenient way of presenting photos for yourself.
Preferred storage
Before starting to take photos with the mobile phone, you must define the microSD memory card inserted as the storage location for the photos.
- Navigate to Menu Multimedia Camera Choose storage.
- Select Phone or Memory card.
- Select OK. The setting is saved.
Image viewer
- Navigate to Menu Multimedia Camera Photos.
- Select the storage location of your photos.
- Select Options Browse style

Select Options to view the photos in full screen mode and display other photo information. You can also change the presentation of the collection of photos, define photos as background images, transfer them via Bluetooth, rename, delete or sort them.
Camera settings
Define the settings for shutter tone, exposure value, contrast, self-timer and serial exposure.
- Navigate to Menu Multimedia Camera Camera settings.
Adjust and define the settings as required.
Image settings
Define the settings for image size and image quality.
- Navigate to Menu Multimedia Camera Image settings.
Adjust and define the settings as required.
White balance
Define the settings for the white balance.
- Navigate to Menu Multimedia Camera White balance.
Adjust and define the settings as required.
Scene mode
- Navigate to Menu Multimedia Camera Scene mode.
Adjust and define the settings as required.
Effects
Complete any adjustments to the effects settings.
- Navigate to Menu Multimedia Camera Effect settings.
Adjust and define the settings as required.
Resetting the camera
You can reset the camera settings to their default factory values.
- Navigate to Menu Multimedia Camera Restore default.
- Confirm the prompt. The camera settings are reset to their default factory values.
Radio
The mobile phone is equipped with an integrated radio with which you can receive radio stations in the FM frequency range.

The headphone serves as the antenna. The radio only works when the headphone is connected.
- Connect the headphone to the headphone socket on the mobile phone.
- Navigate to Menu Multimedia FM radio.
Channel list
Save your radio stations in the channel list.
- Navigate to Menu Multimedia FM radio Options Channel list.
- Select an empty storage location (< Empty >)
- Select Options Edit
- Enter the name of a channel and the transmission frequencies of the channel.
- Select OK. The radio station is saved in the channel list.
Manual input
Enter the transmission frequency manually to access a radio station directly.
- Navigate to Menu Multimedia FM radio Options Manual input.
- Enter the transmission frequency of the radio station.
- Select OK. You will hear the manually entered radio station.
Automatic station search
The mobile phone can search for all the locally available radio stations over the entire frequency band automatically and save those found in the channel list.
- Navigate to Menu Multimedia FM radio Options Auto search
- Confirm the prompt. All the locally available radio stations are saved in the channel list.

Change the channel names in the channel list.
Settings
Make any necessary adjustments to the background playback of the radio and the telephone loudspeaker.
Background playback
You can set whether the radio should remain on in the background (meaning that you can continue to listen to the radio although the FM radio menu is not selected and the mobile phone flap is closed).
- Navigate to Menu Multimedia FM radio Options Settings Background play.

Change the On or Off status using the Hash or Star key.
2. Select Save. The setting is saved.
Loudspeaker
You can set the radio up so that it can be played via the telephone loudspeaker as well as the headset.
- Navigate to Menu Multimedia FM radio Options Settings Loudspeaker.

Change the On or Off status using the Hash or Star key.
2. Select Save. The setting is saved.
NOTE
The radio only works when the headphone is connected. The headset must also be connected in order to play the radio via the mobile phone loudspeaker.

Exposure to the receiver earpiece at full volume for a long period could cause ear damage.
Volume control
You can increase or reduce the volume of the radio station being played to various levels.
- Press the + / - keys on the side of the mobile phone. The volume is raised or lowered.

A change in the volume level affects the volume being played on both the loudspeaker and the headset.
User Profiles
A user profile compiles diverse settings, such as ringing tone, ringing volume, vibration alert, text message tones, volume, switching on/off tones and other acoustic signals, together in a personalised menu.
You have the choice of selecting a preinstalled user profile (General, Silent, Meeting, Outdoor and My style) and adapting it to your own needs.
Activating a user profile
- Navigate to profiles .
- Select the user profile required.
- Select Options Activate. The user profile selected is activated.
Customising a user profile
Adapt your user profile according to your needs.
i
You can customise all user profiles. However, we recommend entering your personalised settings in the user profile My style.
- Navigate to Menu User profiles.
- Select the user profile required.
- Select Options Customize
Alert type
You can define which type of alert signal (Ring only, Vib. only, Vib. and ring or Vib. then ring) should be issued by the mobile phone when calls and text messages are received.
- Navigate to Alert type.
- Select the required setting.
i
Change the settings using the Star or Hash key.
Ringing type
You can also define whether the mobile phone should issue the acoustic signal selected once (Beep once), an acoustic signal which slowly becomes louder (Ascending) or the set tone should be repeatedly issued (Repeat).
- Navigate to Ring type.
- Select the required setting.
i
Change the settings using the Star or Hash key.
Ringing tone for incoming call
You can select one of the 20 different ringing tones available.
- Navigate to Incoming call.
- Select the required setting.
i
You can select a ringing tone and a short time later the selected tone is played briefly.
Volume for incoming calls
You can set the volume of the ringing tone for incoming calls.
- Navigate to Ringtone volume.
- Select the required setting.
i
Change the settings using the Star or Hash key.
Ringing tone for incoming text messages
You can select one of the 10 different ringing tones available.
- Navigate to Messaging.
- Select the required setting.
i
You can select a ringing tone and a short time later the selected tone is played briefly.
Volume for incoming text messages
You can set the volume of the ringing tone for incoming text messages.
- Navigate to [Message volume].
- Select the required setting.
i
Change the settings using the Star or Hash key.
Key tone
You can define whether your mobile phone should issue an acoustic signal when the keys on the keypad are pressed.
- Navigate to Keypad.
- Select the required setting.
i
Change the settings using the Star or Hash key.
Key tone volume
You can adjust the volume of the key tone.
- Navigate to Keytone volume.
- Select the required setting.
i
Change the settings using the Star or Hash key.
Power on tone
You can select one of the 10 different power on tones available.
- Navigate to Power on.
- Select the required setting.
i
You can select a ringing tone and a short time later the selected tone is played briefly.
Power off tone
You can select one of the 10 different ringing tones available.
- Navigate to Power off.
- Select the required setting.
i
You can select a ringing tone and a short time later the selected tone is played briefly.
Tone on flipping the mobile phone open
You can define whether the mobile phone should issue an acoustic signal when the mobile phone is flipped opened.
- Navigate to cover open.
- Select the required setting.
i
You can select a ringing tone and a short time later the selected tone is played briefly.
Tone on closing the mobile phone
You can define whether the mobile phone should issue an acoustic signal when the mobile phone is closed.
- Navigate to cover close.
- Select the required setting.
i
You can select a ringing tone and a short time later the selected tone is played briefly.
System alert
You can define whether the mobile phone should issue an acoustic signal when system alerts are issued.
- Navigate to System alert.
- Select the required setting.
Picture Dialling
Assign pictures to your favourite contacts. These pictures are displayed in the picture menu. On selecting a picture, the phone number of the contact assigned to the picture is dialled.
You can transfer your own pictures from a computer to the mobile phone or the memory card and set them up for picture dialling.
NOTE
To ensure optimal display quality of the pictures, only use photos with a resolution of 80 × 80 pixels. Otherwise, pictures could be blurred or not shown at all. Only pictures in ".jpeg" format can be displayed.
i
In order to adapt your pictures, use the image converter provided on our homepage at www.olympia-vertrieb.de.
Transferring photos from computer
- Connect the mobile phone to a computer using the USB cable.
- Select Mass storage
- Transfer the pictures required to the mobile phone.
Adding a contact for picture dialling
- Select Pic.
- Press and hold the key of a storage location not yet assigned.
i
An unused storage location can be recognised by the fact that the image appears as a grey silhouette.
- Select Add
- Select the required phone book entry and confirm the prompt. The phone book entry is saved as a picture dialling contact.
Adding a picture for picture dialling
You can use pictures which you have transferred from your computer onto the mobile phone.
- Select Pic.
- Press and hold the key to which the required picture selection contact is assigned.
- Select Edit and then the third menu option.
- Select the required picture. The picture is added to the picture dialling contact selected and can be viewed in the Pic. menu.
Dialling via pictures
You can call the phone book entry by selecting the corresponding picture. You can then see the person to be called on the screen before actually making the call.
- Select Pic.
- Press the key assigned to the required picture dialling contact. The picture dialling contact is dialled.
Sending a text message to a picture dialling contact
- Select Pic.
- Press and hold the key to which the required picture selection contact is assigned.
- Select Write message.
- Enter your text.
- Select Options Send to.
- Select the required picture contact.
- Select Options Send. The text message is sent.
- Select No SIM. The modifications are saved.
Deleting a picture dialling contact
- Select Pic.
- Press and hold the key to which the required picture selection contact is assigned.
- Select Options Delete
- Confirm the prompt. The picture dialling contact is deleted.
Shortcut
The mobile phone is equipped with a so called Shortcut ("quick access") key. The Camera and Phone Book functions can be started simply by pressing the key.
- When the mobile phone is in Standby mode, press the navigation key (up). The camera is activated and the subject in front of the camera lens appears in the display.
- When the mobile phone is in Standby mode, press the navigation key (down). The phone book is opened.
Torch
You can use the mobile phone as a torch. An LED is provided at the top of the mobile phone which can be switched on.
- Slide the switch on the side of the mobile phone upwards. The LED lights up.
- Slide the ID switch on the side of the mobile phone downwards. The LED goes out.
File Manager
The file manager enables you to manage the memory of the mobile phone and memory of a microSD card if inserted.
- Navigate to Menu File manager.
- You can manage the files according to your needs.
i
You can create, rename and delete folders, sort existing files or format the entire memory.
Other Important Information
Troubleshooting
| Problems | Solutions |
| The mobile phone cannot be switched on. | - No battery inserted. - Battery is not charged. |
| No signal quality is displayed. | - No network connection. The mobile phone is in a location where there is no network service. Move to a different location or contact your mobile service provider. |
| Keypad does not function or only functions very slowly. | - The operating speed of the display is reduced in the case of low temperatures. This is normal. Use the phone in a warmer location. |
| A message appears in the display for some functions, indicating execution/use is not possible. | - Many functions can only be used after the respective service has been applied for. Therefore, please contact your mobile service provider locally for more details. |
| Screen frozen or no response when pressing keys. | - Remove the battery for 3 minutes and try again. |
| No connection to the mobile telecommunication network. | - Contact your mobile phone provider. - Check that the SIM card is inserted correctly. |
| The battery cannot be charged or is empty within a short time. | - Battery is defect. - Place the mobile phone correctly in the charging unit or connect the power adapter properly. Clean the contact surfaces on the mobile phone and power adapter with a soft, dry cloth. - Charge the mobile phone for at least 4 hours. |
Technical Data
| Feature | Value |
| Standard | GSM¹ 850 / 900 / 1800 / 1900 MHz quad band |
| Dimensions (H x W x D) | 103.7 x 52 x 17 [mm] |
| Weight | Approx. 87 g incl. battery |
| Power supply | Input: 100-240 V, 50-60 Hz, 0.40 A Output: 5 V, 500 mA |
| Battery | 3.7 V, 600 mAh Charging time: approx. 4 hours |
| Standby time | Up to 135 hours |
| Max. talk time | Up to 4 hours |
| Display | 2.4" LCD with back-lighting |
| Operating conditions | -10 °C to 40 °C at 30% to 75% rel. humidity |
NOTE
Subject to change without notice!
Declaration of Conformity
This device fulfils the requirements stipulated in the EC directive:
1999/5/EC directive on radio equipment and telecommunications terminal equipment and the mutual recognition of their conformity. Conformity with the above mentioned directive is confirmed by the CE mark on the device.
To view the complete Declaration of Conformity, please refer to the free download available on our website www.olympia-vertrieb.de.
SAR Information
Information on radio frequency emissions and specific absorption rates ( SAR = Specific Absorption Rate ).
All the applicable safety standards related to radio frequency emissions were implemented during the development of this mobile phone.
The limit values are based on scientific directives and contain a safety margin in order to guarantee the safety of all persons regardless of age and state of health. The values specified in the directive concerning radio frequency emissions are based on a unit called SAR. SAR values are established using standard methods in which the mobile phone is operated in all possible frequency bands with the highest power output. Although the SAR values of various phone models can differ, all the models were developed to maintain the relevant directives on radio frequency emissions.
The following information applies to countries such as the EU member states which accept the SAR limit value of 2 W/Kg (average value from 10 g fabric) recommended by ICNIRP (International Commission on Non-Ionizing Radiation Protection): The highest measured SAR value using 10 g fabric with this mobile phone was 0.59 W/kg with measurements taken at the ear.
Disposal

In order to dispose of your device, take it to a collection point provided by your local public waste authorities (e.g. recycling centre). According to laws on the disposal of electronic and electrical devices, owners are obliged to dispose of old electronic and electrical devices in a separate waste container. The symbol indicates that the device must not be disposed of in normal domestic waste!

Risks to health and the environment from batteries!
Never open, damage or swallow batteries or allow them to pollute the environment. They may contain toxic, ecologically hazardous heavy metals. You are legally obliged to dispose of batteries and power packs at a battery retailer or in the corresponding containers provided at collection points by local public waste authorities. Disposal is free of charge. The symbol indicates that the batteries must not be disposed of in normal domestic waste and that they must be brought to collection points provided by local public waste authorities.

Packaging materials must be disposed of according to local regulations.
Maintenance
Dear Customer,
we are pleased that you have chosen this equipment.
In the case of a defect, please return the device together with the receipt and original packing material to the point-of-sale.
Index
A
Alarm clock, 43
B
Battery
Battery charge, 11
Charging, 15
Inserting, 14
Bluetooth, 38
C
Calendar, 42
Call lists, 22
Calling an entry, 22
Deleting an entry, 23
Saving phone numbers, 23
Send text message, 23
Call settings, 34
Automatic redialling, 35
Calldivert,35
Callwaiting,34
Calls, 19
Ending, 19
Handsfree function, 20
Making, 19
Muting the microphone, 20
Putting a call on hold, 20
Receiver volume, 20
Rejecting, 19
Taking, 19
Camera, 44
Contacts. See Phone book
D
Date. See Settings
Declaration of conformity, 56
Display icons, 10
Disposal, 58
E
Emergency call function, 39
Emergency call numbers, 40
Emergency text message, 40
On/Off, 39
F
Factory settings, 39
File manager, 54
G
Getting started
Inserting a microSD memory card, 14
Inserting the battery, 14
Inserting the SIM card, 13
Switching the mobile phone on, 16
1
Intended use, 7
L
Language. See Settings
M
Maintenance, 59
Methods of entering text, 17
0
Operating elements, 8
Operation, 17
Key lock, 17
Menu, 22
Navigation, 17
Organiser, 42
BECCO Plus
P
Phonebook,24
Adding contacts, 24
Calling a contact, 24
Copying a contact, 25
Deleting a contact, 25
Editing a contact, 25
Viewing a contact, 25
Phone book settings, 26
Memorystatus,26
Preferred storage location, 26
Picture dialling, 52
Adding a contact, 52
Adding a picture, 52
Calling a contact, 53
Deleting a contact, 53
Writing a text message, 53
R
Radio, 47
s
Safety Information, 5
SAR information, 57
Scope of delivery, 8
Security settings, 36
Phone lock, 37
PIN code, 36
Settings, 32
Display, 33
Dual SIM, 32
Language, 32
Network settings, 34
Reminder, Discharged Battery, 41
Time and date, 32
SMS. See Text messages
SOS key. See Emergency call function
Speed dialling, 26
Activating, 26
Adding contacts, 26
Calling contacts, 27
Startscreen,11
Starting up, 13
Switching the mobile phone off.
See Getting started
Switching the mobile phone on.
See Getting started
T
Technical Data, 56
Telephoning. See Calls
Text messages, 27
Call the phone number, 28
Deleting, 28
Drafts, 29
Forwarding, 28
Inbox, 27
Saving phone numbers, 29
Sent messages, 30
Time. See Settings
Torch, 54
Troubleshooting, 55
U
User profiles, 48
Activating, 48
Customising, 49
Keytone,50,51
Ringing tone volume, 49
Ringing tones, 49
LEERSEITE
LEERSEITE

Please note that the copyright for this operating instruction manual lies with Olympia and, therefore, may not be copied or sold. The data and information in the operating instruction manual is only intended for personal use.

Subject to technical modifications and changes to the content.
EasyManual