PX4B - Bass Multi-effects KORG - Free user manual and instructions
Find the device manual for free PX4B KORG in PDF.
User questions about PX4B KORG
0 question about this device. Answer the ones you know or ask your own.
Ask a new question about this device
Download the instructions for your Bass Multi-effects in PDF format for free! Find your manual PX4B - KORG and take your electronic device back in hand. On this page are published all the documents necessary for the use of your device. PX4B by KORG.
USER MANUAL PX4B KORG
Using the unit in the following locations can result in a malfunction.
In direct sunlight
- Locations of extreme temperature or humidity
- Excessively dusty or dirty locations
- Locations of excessive vibration
- Close to magnetic fields
Power supply
Please connect the designated AC adaptor to an AC outlet of the correct voltage.
Do not connect it to an AC outlet of voltage other than that for which your unit is intended.
Interference with other electrical devices
This product contains a microcomputer. Radios and televisions placed nearby may experi
ence reception interference. Operate this unit at a suitable distance from radios and televi sions.
Handling
To avoid breakage, do not apply excessive force to the switches or controls.
Care
If the exterior becomes dirty, wipe it with a clean, dry cloth. Do not use liquid cleaners such as benzene or thinner, or cleaning compounds or flammable polishes.
Keep this manual
After reading this manual, please keep it for later reference.
Keeping foreign matter out of your equipment
Never set any container with liquid in it near this equipment. If liquid gets into the equipment,
it could cause a breakdown, fire, or electrical shock.
Be careful not to let metal objects get into the equipment. If something does slip into the equipment, unplug the AC adaptor from the wall outlet. Then contact your nearest Korg dealer or the store where the equipment was purchased.
CE mark for European Harmonized Standards
CE mark which is attached to our company's products of AC mains operated apparatus until December 31, 1996 means it conforms to EMC Directive (89/336/ EEC) and CE mark Directive (93/68/EEC). And, CE mark which is attached after January 1, 1997 means it conforms to EMC Directive (89/336/EEC), CE mark Directive (93/68/EEC) and Low Voltage Directive (73/23/ EEC).
Also, CE mark which is attached to our company's products of Battery operated apparatus means it conforms to EMC Directive (89/336/EEC) and CE mark Directive (93/68/EEC).
THE FCC REGULATION WARNING (for U.S.A)
This equipment has been tested and found to comply with the limits for a Class B digital device, pursuant to Part 15 of the FCC Rules. These limits are designed to provide reasonable protection against harmful interference in a residential installation. This equipment generates, uses, and can radiate radio frequency energy and, if not installed and used in accordance with the instructions, may cause harmful interference to radio communications. However, there is no guarantee that interference will not occur in a particular installation. If this equipment does cause harmful interference to radio or television reception, which can be determined by turning the equipment off and on, the user is encouraged to try to correct the interference by one or more of the following measures:
- Reorient or relocate the receiving antenna.
- Increase the separation between the equipment and receiver.
- Connect the equipment into an outlet on a circuit different from that to which the receiver is connected.
- Consult the dealer or an experienced radio/TV technician for help.
Unauthorized changes or modification to this system can void the user's authority to operate this equipment.
Contents
Introduction 6
Main features 6
Turning on the power 8
Battery Low display 8
Controls and connectors 8
LCD screen 10
Making connections 11
Initial Settings 12
Quick Edit 12
Play mode 13
- Selecting a program 13
2.Master level 13
3.Bypass/Mute 14
4.Tuner 14
5.Specifying the function of the Value Dial 15
6.Key Lock function 16
Rhythm mode 17
1.Rhythm Pattern 17
2.Tempo 18
3.Rhythm Reverb Level 18
4.Rhythm Level 18
Chain Pattern settings 19
- Select the effect that you wish to edit 24
2.Editing each effect 24
1) DYNA (Dynamics &
Preamp Modeling) 24
2)AMP (Amp Modeling) 24
3) CAB (Cabinet Modeling) ---- 25
4) MOD (Modulation &
Filter Effect Modeling) 25
5) DLY (Delay Effect Modeling) - 25
6) REV
(Reverb Effect Modeling) ---- 26
7) NR (noise reduction) 26
8) TX (Infrared transmitter) 26
9) RENAME 27
10)WRITE 27
3.Reloading the factory programs - 28
Troubleshooting 28
Effect Parameter 30
DYNA (Dynamics &
Preamp modeling) 30
AMP (Amp Modeling) 31
CAB (Cabinet modeling) 34
MOD (Modulation &
Filter Effect Modeling) 34
About the
Intelligent Pitch Shifter 37
DLY (Delay Effect Modeling) 38
REV (Reverb Effect Modeling) 38
Preset Program Name 39
Rhythm Pattern List 40
Specifications 41
Introduction
Thank you for purchasing the TONEWORKS PANDORA PX4B Bass Personal Multi Effect Processor. In order to enjoy your PANDORA PX4B, please read this owner's manual carefully and retain it for future reference.
Main features
The PX4B is a highly versatile multi-effect device in a compact package. It makes it easy to use Korg's proprietary "REMS" modeling technology to create detailed and powerful modeling sounds.
122 types of effect variations
A maximum of seven effects can be used simultaneously.
IPE (Integrated Parameter Edit) system
Easy to adjust effect settings.
50 user and 50 preset programs
Amp modeling selector and control knobs
You can quickly and easily select ten types of amp models and bass synths.
Infrared transmitter built-in
Infrared wireless headphones can be used for remote wireless monitoring.
Backlit LCD
The LCD screen can be easily viewed even in dark locations.
Auto Tuner function
This feature makes tuning fast and easy. You can also tune without being heard (i.e., while muted).
AUX pitch function
You can transpose an audio source from a CD player or other device connected to the AUX jack, and erases the bass from a song for play along purposes (Bass Cancel function) --- a great way to practice!
Rhythm function
The PX4B can play 100 rhythm patterns (including metronome). Multiple patterns can also be connected for successive playback.
Phrase Trainer function
Sound from a CD player or bass can be recorded (maximum of 31.7 seconds), and played back as a loop. The playback speed can then be slowed down without affecting the pitch of the sound. The rhythm selected in Rhythm mode and the bass output can also be recorded simultaneously.
TAP button
You can easily set the Delay Time or the tempo of the Rhythm function to match the tempo of the song.
Value dial
This lets you rapidly select programs or edit the effects.
What is REmIs?
Items (Resonant structure and Electronic circuit Modeling System) is KORG's proprietary sound modeling technology which precisely reproduces the complex character and nature of both acoustic and electric instruments as well as electronic circuits in real world environments. Items emulates a wide variety of sound generation characteristics including instrument bodies, speakers & cabinets, acoustic fields, microphones, vacuum tubes, transistors, etc.
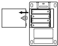
Turning on the power
Remove the battery cover located on the bottom of the PX4B by sliding it in the direction of the
arrow. Insert four AAA alkaline batteries as shown in the illustration. Be sure to insert the batteries observing the correct polarity.

Battery Low display
When the battery begins to run down, the Low Battery icon will light. When this icon lights, replace the batteries as soon as possible.
Programs and other data (except for the data being edited) will not be lost even if the battery is removed and changed.

Batteries that have run down must be removed from the PX4B. If you leave dead batteries in the unit, malfunctions (battery leakage, etc.) may occur. You should also remove the batteries when you do not expect to use the PX4B for an extended period of time.

An AC adapter is not included with this product. It must be purchased separately.
Controls and connectors

① Control knobs
These knobs control the tone, and volume of the amp modeling.
② Liquid Crystal Display (LCD)
③TUNE/BYPASS button
④EXIT button
This button returns you back to Play mode from any mode.
⑤ENTER/REC button
This button is used to switch an effect on/off, or to start recording in Phrase Trainer mode.
⑥ Input level switch
Use this to adjust the input level (appropriate for the output level of your bass).
⑦ Amp Modeling selector
Select the type of amp modeling.
⑧ ▲▼buttons
Use these buttons to select programs and edit effects.
⑨ OUTPUT jack
Connect this jack to your bass amp or headphones etc.
10 INPUT jack
Connect your bass to this jack.
11AUX jack (stereo)
Connect this jack to a CD player or other audio source.
DC 4.5V
The separately sold AC adapter (DC 4.5V should be connected here.
13 buttons
Use these buttons to select the parameter that you wish to edit, and to operate the Phrase Trainer function.
⑭ Power switch/Backlight switch
This switch turns the power On/Off, and also turns the backlight On/Off.

Using the backlight and/or infra-red wireless headphone transmitter, significantly shortens the lifespan of the batteries.
⑤ Value dial
Use this to adjust the master level, edit effects, and select programs.
16 TAP button
You can set the Delay Time by pressing this button twice at the desired tempo of delay. In Rhythm mode, you can set the tempo of the rhythm in the same way.
⑦ Mode buttons
Use these buttons to enter the Rhythm, Phrase Trainer, or AUX Pitch modes.

LCD screen
① Effect chain
This area indicates the on/off status of the DYNA, AMP, CAB, MOD, DLY, and REV effects
② Program name/Effect type display
This area shows the program name or effect type. When the PX4B is bypassed or muted, this will display as the tuner.
③ Low Battery icon
This icon will light when the batteries run down.
④ Mode icons
These icons will light when you are in the AUX Pitch, Phrase Trainer, or Rhythm modes.
⑤ Infrared transmitter icon
This icon will light when the infrared transmitter is on.
⑥Edit/Original icons
The EDIT icon will light when you enter Edit mode. If the parameter or value being edited matches the value that is written in the program, the ORIG icon will light.
⑦ Program number/value display
This displays the program number.
When you change the Master Level, its value will be displayed here for several seconds. During editing, this displays the parameter values.
⑧Master/Value icons, bar graph
When MASTER is lit, the master level of the program is indicated graphically. When VAL-UE is lit, the value of the parameter is indicated graphically.
Making connections
When connecting an external device (ie-bass amp, stereo, ac adapter, etc) be sure to turn the unit off.

1 Do not block the transmission window when using the infrared transmitter function.
2 Be sure to use only the specified AC adapter (DC 4.5V- - - - ).
3 If a CD player or other audio source is connected to AUX jack, you can play along on your bass with a tape, etc. However the volume must be adjusted on the connected device.
4 Connecting cables are sold separately.
5 PX4B's output jack is stereo. If you use a standard mono cable to connect it to a bass amp etc., only the L (left) output will be heard.
6 PX4B's output level and sound quality will vary depending on which headphones are used. We recommend using good quality low impedance headphones, 32 Ohms or less with a sensitivity rating near 100dB/mW or above. Many headphones sold for use with portable CD or cassette players will work just fine.
Initial Settings
- When you finish making connections, set the power switch in the "ON" position. (This setting is referred to as Play mode.)
Use the buttons to select a program.
- Set the input level switch to a position appropriate for the output level of your bass.
Hi: Basses with a high output level (Active)
Lo: Basses with a low output level (Passive)
- Set the volume control of the bass to its usual position. Use the Value dial to adjust the master level.
If you want to use the infrared transmitter function, refer to p.26 of Edit mode, "8) TX (Infrared transmitter).
Quick Edit
In each mode (except when Mute/Bypass or Key Lock are active), you can use the Amp Modeling selector to quickly change the amp modeling type, or use the control knobs to adjust the tone, or volume of amp modeling. When you move a control knob, the parameter name and value will appear for several seconds in the value display. If the setting matches the original setting, the ORIG icon will light.
The Delay Time of Delay Modeling can also be set by pressing the TAP button twice at the desired interval (except when in Rhythm mode). To check the Delay Time that was specified, press and hold the TAP button for two seconds or longer.

When you use the Amp modeling selector to choose an amp, the PX4B will automatically select the most suitable cabinet model and turn it on.

Settings that you make using Quick Edit will return to the original settings of the program if you change programs or turn off the power before Writing (see p.26).

Play mode
Play mode is the mode in which you will normally use the PX4B.
1. Selecting a program
You can choose from 50 user programs (U01...U50) and 50 preset programs (P01...P50). Use the buttons to select a program. Programs can be selected even when you are in Rhythm mode, AUX Pitch mode, or Phrase Trainer mode (except while recording).
2. Master level
When the MASTER icon is lit, the value graph will indicate the master level.
When you turn the Value dial to adjust the master level, the master level value will be shown in the program number / value display for several seconds. The master level is remembered even when the power is turned off.

You can also adjust the settings so that the / buttons will adjust the master level. (See p.15)
3.Bypass/Mute
When you press the TUNE/BYPASS button, the PX4B will be bypassed, and the original sound will not be processed by any effect.
The effect chain will blink, and the display will indicate "BYPASS" for approximately one second.
If you press and hold the TUNE/BYPASS button for longer than one second, the output signal will be muted.
The effect chain will blink rapidly, and the display will indicate "MUTE" for approximately one second.
Bypass/mute will be turned off when you press the TUNE/BYPASS button once again.
You can also return to Play mode by pressing the EXIT button.
Bypass or Mute can also be entered from modes other than Play mode.
4.Tuner
The tuner will operate when you bypass or mute.

Play a single string on your bass. The LCD will show the note name and the calibration. If the pitch is more than a semitone higher than the note name, a sharp symbol will appear at the upper right of the note name.
The display area will act as a meter to show the pitch.
Tune the string of your bass so that the indicator above the center mark is lit.
The tuner (bypass/mute) will be turned off when you press either the TUNE/BYPASS button.
You can also return to Play mode by pressing the EXIT button.
Calibration
(frequency of the standard A = 440 pitch)
You can use the Value dial to adjust calibration in the range of A = 438Hz 445Hz
The calibration setting you make will be valid until the power is turned off. Once the power is turned off, calibration will be reset to A = 440Hz .
- Specifying the function of the Value Dial You can specify the function that the Value dial will perform in Play mode. In Play mode, hold down the EXIT button and press either the button or the button to assign the following functions.
Hold down the EXIT button and press the button.
The LCD will indicate "MASTER" for approximately one second.
The Value dial will adjust the master level, and the / buttons will select programs. You can use the Value dial to adjust the master level quickly. Each time the power is turned on, this setting will be in effect.

Hold down the EXIT button and press the button.
The LCD will indicate "PROGRAM" for approximately one second.
The Value dial will select programs, and the / buttons will adjust the master level.
You can use the Value dial to select programs quickly.

If you want to change the function of the Value dial so that it will adjust the master level, hold down the EXIT button once again and press the button, or turn on the power once again.
6.Key Lock function
By activating the Key Lock function, you can disable all operations except for selecting programs. This is a convenient way to prevent accidental operation during a live performance.
Hold down the EXIT button and press the TUNE/ BYPASS button. The LCD will indicate "KEY-LOCK" for approximately one second.
The / buttons will select programs, and other buttons and the Value dial will not function.

The Key Lock function will be cancelled when the power is turned off. You can also cancel the Key Lock function by performing "5.Specifying the function of the Value Dial"(p.15).
Rhythm mode
To enter Rhythm mode, press the RHYTHM button once when in Play mode (except for mute/ bypass or key lock), AUX Pitch mode, or Phrase Trainer mode.
When you enter this mode, the Rhythm Pattern selection screen will appear, the selected rhythm will start, and the Rhythm mode icon will light. The indication of the value graph will change according to the pattern or tempo.
This mode contains the following four parameters. Use to select parameters, and use the Value dial and the TAP button to set the value of each parameter.
If you select "CHAIN" as the rhythm pattern, there will be more chain pattern settings. (Refer to p.18, "Chain pattern settings")

If you select "JAM" as the recording mode in Phrase Trainer mode, the rhythm will sound with the pattern and tempo that you specify here.
The settings you select here are remembered even when the power is turned off.
1.Rhythm Pattern
Use the Value dial to select a rhythm pattern (p.40).

2.Tempo
Set the tempo in the range of 40-208 bpm.
You can also set the tempo by pressing the TAP button twice at the desired rhythm.
For a 6/8 time signature, the tempo can be set in a range of = 40 - 208

3.Rhythm Reverb Level
Use the Value dial to set the amount of Rhythm sound that will be sent to reverb modeling.


The same effect as for the bass is used for revert. This parameter has no effect if you have selected a program that does not use revert modeling, or if the revert effect level is "0."
4.Rhythm Level
Use the Value dial to set the level of Rhythm sound. The bass note will be affected only if bass is turned on.

Chain Pattern settings
These parameters are added only if you select "CHAIN" as the rhythm pattern. Press the ENTER/REC button to access the Chain Parameter Select screen. Use the buttons to select the location (1--8) for which you want to change the pattern, and use the value dial to select the pattern (p.40) that will play at that location. Use the buttons to specify the number of times (1--8) that the selected pattern will repeat.

Up to 8 patterns can be connected. If you want to create a chain of 7 or fewer patterns, select "PTN END" for the last pattern.
Press the ENTER/REC button to exit the Chain Pattern Select screen.
PhraseTrainermode
An audio source from the AUX jack or a phrase you play on your bass can be recorded, and played back repeatedly as a loop.
This provides a convenient way to practice by playing along with the repeating phrase.
You can slow down the playback speed without affecting the pitch, which can help you to learn difficult phrases.
If you select "JAM" as the recording mode, the rhythm you specified in Rhythm mode will be recorded simultaneously with the bass input, and looped.
1. Select the recording mode
In Play mode (except during bypass/mute or key lock), Rhythm mode, or AUX Pitch mode, press the PHRASE TRAINER button to enter Phrase Trainer mode.
When you enter this mode, the recording mode and time select screen will appear, and the Phrase Trainer icon will blink.
In this screen, the PX4B will be ready to record.

The recording mode will cycle through the following choices each time you press the PHRASE TRAINER button.
AUX Records only the AUX input
BASS Records only the bass sound
AUX+BAS Records both the AUX input and bass
JAM Records the bass together with the rhythm that was last selected in Rhythm mode
Use the value dial to select the recording time (for "JAM," the number of measures).
8 Approximately 7.9 seconds
16 Approximately 15.8 seconds
32 Approximately 31.7 seconds
1, 2, 3... Number of measures
If the recording mode is set to "JAM," the maximum number of recordable measures will be automatically calculated from the tempo. Also, the audio quality will be automatically set according to the tempo and the specified number of measures.
If you select a long recording time (16 or 32), the audio quality of the recording will be lower.
If the tempo of the rhythm is extremely slow, it will not be possible to record a large number of measures. Please re-specify the tempo in Rhythm mode (maximum length is approximately 31.7 seconds)
Start playback on your CD or other audio source, and at the point where you wish to begin recording, press the ENTER/REC button. Recording will begin.
If the recording mode is "JAM," recording will begin after one measure of playback.
If, after recording, you want to change the recording mode or recording time, press the PHRASE TRAINER button while playback is paused.

The recorded content will be lost when the power is turned off.
2.Recording
When you begin recording, the recording time will be indicated as a numerical value and by a value graph.

If the recording mode is set to "JAM," the recording time will not be displayed.

When you want to stop recording, press the EN-TER/REC button or the [▶ II]. Recording will stop, and loop playback will begin automatically.
If you do not stop recording, recording will continue until the selected recording time has elapsed, and loop playback will begin automatically.
If the recording mode is "JAM," recording will end automatically at the specified number of measures, and will switch to loop playback.

The phrase will be recorded and played back in mono.
3.Playback
The recording phrase will playback as a loop. During playback or while paused, you can use the / buttons to select programs.

Rotating the Value dial toward the left will slow down the playback speed without affecting the pitch. You can choose from six levels of playback speed: 100% , 90% , 80% , 75% , 66% , and 50% . During playback, you can press the [ ] button to rewind.
By pressing the PHRASE TRAINER button, you can hold the sound that was being played at the moment you pressed the button (the Hold function). This is convenient when you need to hear individual notes in a phrase.
4.Pause
When you press the [▶][] button, the playback will pause. Press the [▶][] button once again, and playback will resume. Pressing the [▲][] button while playback is paused will return you to the beginning of the recorded phrase.

If you wish to re-record
To re-record the phrase, press the [▶II] button to pause the playback. Start the CD or other audio source, and press the ENTER/REC button at the beginning of the desired phrase.
If you want to change the recording mode or time, press the PHRASE TRAINER button while paused.
AUX Pitch mode
In this mode you can transpose the key (pitch) of the sound from a CD or MD connected to the AUX jack. You can also apply the Bass Cancel effect to eliminate the low-frequency range.
Press the AUX PITCH button to enter AUX Pitch mode. The AUX Pitch icon will light when you are in this mode.
Each time you press the AUX PITCH button, you will alternate between Key Transpose Only and Key Transpose + Bass Cancel.

By setting the Key Transpose setting to 0 and selecting Key Transpose + Bass Cancel, you can turn on only the Bass Cancel function.
Press the EXIT button to return to Play mode.

The output will be mono in AUX Pitch mode.

The AUX Pitch setting is remembered even when the power is turned off.

For some input sources, Bass Cancel may not be as effective as you would like.
Use the Value dial to specify the amount of key transposition. The key can be transposed in a range of +/-1 octave.

The value can be adjusted upward and downward for 3 semitones in 10 cent steps, and in semitone steps (100 cents) for the remainder of the range.
Edit mode
In this mode you can turn each effect On/Off, and edit the effect type, parameter values, and program name.
In Play mode, press the (or ) button to access the DYNA effect edit (or WRITE) screen, entering Edit mode.
In any screen of Edit mode, you can use the control knobs to edit Amp modeling, or use the TAP button to set the delay time of Delay modeling.
Press the EXIT button to return
to Play mode.
If a program was not written after it was edited, the decimal point of the program number will light.


The edited settings will return to the settings of the original program if you switch programs or turn off the power without performing the "WRITE" function (see p.27).
1. Select the effect that you wish to edit
Each time you press an buttons, you will cycle through the effects in the order shown below. When an effect is selected, its icon will blink.

2.Editing each effect
For each effect, you can select the effect type and set its parameter values.
Effects that are turned "FX OFF" will automatically be turned on if you press the ENTER/REC button or use the / buttons to select the effect type.
For details "On" the effect types and parameters, refer to Effect Parameters (p.30). Renaming the program, infrared transmitter settings, and writing the program are also performed here.
1) DYNA (Dynamics & Preamp Modeling) This provides dynamic-type effects such as compressor, and pre-amp modeling.


2) AMP (Amp Modeling)
This produces sounds that models a bass amp.



*Operation will be different if SYNTH is selected as the type.
The VOLUME control knob can be used to adjust the VOLUME even when the amp modeling effect is "FX OFF."
The amp type selected by the Amp Modeling selector can be selected and edited even without entering Edit mode.
When you use the Amp Modeling selector to select an amp, the PX4B will automatically select the most appropriate cabinet model and turn it on.
3) CAB (Cabinet Modeling)
This simulates the acoustic characteristics of the bass amp's cabinet.
This is especially effective when you are not using an amp (e.g., when using headphones, or when connecting to a mixer, hard-disk recorder, or audio device).


4) MOD
(Modulation & Filter Effect Modeling)
These are modulation and filter-type effects such as chorus, flanger, phaser, and pitch shifter.


5) DLY (Delay Effect Modeling)
These are spatial-type effects for which you can set the delay time by the interval at which you press the TAP button.

6) REV (Reverb Effect Modeling)
These are spatial-type effects that add spaciousness to the sound.


7) NR (noise reduction)
Use the Value dial to adjust the depth of the noise reduction that is applied. Increasing this value will produce more noise reduction. Normally you will adjust this so that you do not hear obtrusive noise when the strings are lightly muted.


Adjust the depth of noise reduction

Adjust the NR level as suitable for your bass or pickup.

If the NR value is raised excessively, the sound may be cut off prematurely, depending on the device that is connected. If this occurs, reduce the value.
8) TX (Infrared transmitter)
Use the ENTER/REC button to turn the infrared transmitter On/Off.

The infrared transmitter setting is common to all programs, and is remembered even when the power is turned off.

If the infrared transmitter is left on, the battery life will be shorter. If you are not using the infrared transmitter, you should turn it off.
9) RENAME
Here you can specify a name for each program. The following characters can be used: space, 0-9, A-Z, ", , , -, I.


10)WRITE
Here you can write (store) a program that you created.
Use the Value dial to select the writing destination (User programs only). When you do so, the name of the program that currently occupies the writing destination will be displayed briefly. If you decide not to write, press the (or ) button to select a different screen.
When you press the ENTER/REC button, the edited program will be written into memory.
When the program has been written, the LCD will indicate "COMPLT" for approximately one second.


Before writing an edited program into a different program number, be sure that you do not mind overwriting the data that is currently in that program number. The program data that is overwritten will be lost.

It is not possible to write to a preset program.
3.Reloading the factory programs
While holding down the RHYTHM button and the button, turn on the power. The LCD will ask "RELOAD?"
If you press the ENTER/REC button, the factory-set programs will be re-loaded into the user program area. The display will indicate "RELOAD", "VERIFY", "COMPLT" for a short time, and then the power-on screen will appear.

Never turn off the power during the reload operation.

If you decide not to reload the factory programs, press the EXIT button. The factory programs will not be reloaded; the normal power-on screen will appear, and the PX4B will be in Play mode.

Be aware that if you reload the factory-set programs, the user programs and any settings that are remembered when the power is turned off (master level, infrared transmitter, etc.) will all be rewritten.
Troubleshooting
If the PX4B does not operate as you expect, please check the following points first. If this does not resolve the problem, contact your dealer.
1.Power does not turn on.
- Are batteries installed? Alternatively, is the correct AC adapter connected to an AC outlet?
2.No sound.
- Are your bass, amp and headphones connected to the correct jacks?
- Is your amp turned on and set correctly?
- Are any cables broken?
Is the master level of the PX4B set to "0" or to a low level? - The VOLUME control knob may have been turned down.
Is the PX4B muted?
Be aware that if all effects are off, the chain display will disappear, and it will not be possible to distinguish Bypass or Mute from the LCD display.
Is the volume of your bass turned down?
3.When using the infrared transmitter, there is no sound or the sound is distorted.
Is the infrared transmitter turned on?
- Is the power of your infrared wireless headphones turned on?
In some cases, the output sound may be distorted because of the settings of the program. (Adjust the master level and/or program level.)
- Is there an obstructing object between the PX4B and the headphones?
- The PX4B's transmitter may be obstructed.
4. The volume from the device connected to the AUX jack is too loud or too soft, or cannot be heard.
- Adjust the output level of the connected device.
Make connections to the headphone jack of the device, instead of to its line output.
- Are you in Phrase Trainer mode?
Exit Phrase Trainer mode.
- Are you using a connection cable with a built-in resistor?
5. Effects do not apply.
- Is the PX4B bypassed? (the effect chain will be blinking)
- Are the effects used in the program turned on?
6.Tuner does not work.
- Is the PX4B bypassed or muted?
Effect Parameter
DYNA (Dynamics & Preamp modeling)
| TYPE (▲/▼ button) | VALUE (Value Dial) | |
| COMP1 | This compressor produces consistent levels and sustain. | Adjusts sensitivity. (1.0...10.0) |
| COMP2 | A compressor with an emphasized attack. | |
| LIMITER | A limiter that makes the level more consistent. | Specify the compression ratio. (0...10.0) |
| DYNAEXC | This effect dynamically applies an exciter according to your picking strength. (This is especially effective when you want to give more sparkle to clean sounds.) | Adjusts sensitivity. (0...10.0) |
| OVERDRY | Overdrive tuned for bass. | Amount of distortion. (1.0...10.0) |
| DIST | Distortion tuned for bass. | |
| FUZZ | Fuzz tuned for bass. | |
| PREAMP1 | Preamp set to a clear tone. | Adjusts tone. (0...10.0) |
| PREAMP2 | Preamp set to a muted tone. | |
| BALANCE | Creates the sound of blending the output of two pickups. | |
| LOWCUT | Filter that cuts the unwanted low-frequency range. Effective for recording. | Adjusts frequency. (0...10.0) |
| FRETLES | Simulates a fretless bass. | Adjusts tone.(0...10.0) |
| SLOWATK | Smoothes the attack of a bass to create a violin-like effect. | Specify the attack speed. (1.0...10.0) |
| TYPE (▲▼ button) | VALUE (Value Dial) | |
| OCTAVE | This generates a pitch one octave lower than the original sound, and mixes it with the original sound to add a sense of depth and low end. This effect may not operate correctly if two or more strings are played simultaneously, or when low-pitched strings are played. | Adjusts effect level. (0...10.0) |
| RING | An effect that produces bell-like sounds. | Specify the frequency. (1.0...10.0) |
| RINGUP | A ring modulator in which the effect changes dynamically depending on your picking strength. | Adjusts sensitivity. (0...10.0) |
| RINGDWN | ||
AMP (Amp Modeling)
The control knobs (BASS, MIDDLE, TREBLE, VOLUME) will be active when you use amp modeling. If amp modeling is "FX OFF," only the VOLUME knob will be active.
We recommend that you use this in conjunction with Cabinet modeling if you are using headphones, or if you are outputting to a direct line (such as when recording).
When you use the Amp Modeling selector to select an amp, the PX4B will automatically select the most appropriate cabinet modeling and turn it on.
The recommended cabinet printed in bold type in the following table will be the cabinet modeling type that will be turned on.
When you use the bass synth (SYNTH), these control knobs will function as OSCILLATOR, FILTER, DIRECT LEVEL, and SYNTH LEVEL.
| TYPE (▲▼ button or Amp modeling selector) | VALUE (Value Dial & Control Knobs) | |
| VALUE | A vacuum tube amp with the ULTRA LO switch turned ON. (recommended CAB: CLS8X10) | BASS-------- low range MIDDLE-------- mid range TREBLE-------- high range VOLUME-------- output volume Value dial-------- mid-range frequency (1...5) |
| VALUE2 | A vacuum tube amp ideal for rock. (recommended CAB: CLS8X10) | |
| CLASSIC | A vacuum tube amp whose basic character changes according to the setting of the value dial. (recommended CAB: COMBI) | |
| SCOOPED | An amp that is typical of 80's sounds. (recommended CAB: MTL4X10) | |
| LA STUD | An amp that is typical of the LA sound. (recommended CAB: LA 4X10, LA 1X18) | |
| GOLDPNL | An amp distinctive for its eye-catching gold panel and clean sound. (recommended CAB: MDN4X10) | |
| JAZZ | A combo amp favored by jazz bassists. (recommended CAB: JAZ1X15) | |
| STUDIO | A vacuum tube combo amp ideal for the Motown sound. (recommended CAB: STU1X15) | BASS-------- low range MIDDLE-------- mid range TREBLE-------- high range VOLUME-------- output volume Value dial-------- gain setting (0...10.0) |
| AC100 | A 100W vacuum tube amp made by Vox. (recommended CAB: AC 2X15) | |
| UKMAJOR | A 200W vacuum tube amp made in the UK. (recommended CAB: UK 4X15, UK 4X12) | |
| SYNTH | A chromatic bass synth model. (recommended CAB: UK 4X15) | Refer to the following bass synth parameter table. |
Bass Synth parameters
| Oscillator selection: 0...15 (BASS knob) S.T. = Sawtooth | 0: S.T. wave, 1 octaves down. 2: S.T. wave. 4: S.T. wave, 1 octave up. 6: S.T. wave, 2 octaves up. Oscillators 8...15 are oscillators 0...7 with portamento turned on. | 1: S.T. wave with resonance, 1 octave down. 3: S.T. wave with resonance. 5: S.T. wave with resonance, 1 octave up. 7: S.T. wave with resonance, 2 octaves up. |
| VCF setting: 0...10.0 (MIDDLE knob) | Voltage Controlled Filter sensitivity adjustment. 0...4.7 is sensitivity adjustment in the positive (+) direction, and 5.0...10.0 is sensitivity adjustment in the negative (-) direction. | |
| Direct level: 0...10.0 (TREBLE knob) | Adjusts the volume of the bass. | |
| Synth level: 0...10.0 (VOLUME knob) | Adjusts the volume of the synth. | |
| Threshold adjustment: 1.0...10.0 (Value dial) | Adjusts the sensitivity of the synth in response to the volume of the bass Adjust this as appropriate for your bass or pickup. | |

The Bass Synth is effective only when single notes are played. The desired effect will not be obtained if chords are played.

If your instrument is not tuned correctly, the results may not be as you expect. In this case, re-tune your instrument.
CAB (Cabinet modeling)
| TYPE(▲/▼ button) | VALUE (Value Dial) | |
| LA 4X10 | Four 10-inch speakers / LA sound cabinet model. | PRESENCE: Adjusts tone of the high-frequency range. (0...10.0) |
| MDN4X10 | Four 10-inch speakers / modern-type cabinet model. | |
| MTL4X10 | Four 10-inch aluminum-cone speakers / modern cabinet model. | |
| CLS8X10 | Eight 10-inch speakers / classic-type cabinet model. | |
| UK 4X12 | Four 12-inch speakers / UK-manufactured cabinet model. | |
| STU1X15 | One 15-inch speaker studio combo cabinet model. | |
| JAZ1X15 | One 15-inch speaker jazz combo cabinet model. | |
| AC 2X15 | Two 15-inch speakers / cabinet model for AC100. | |
| US 2X15 | Two 15-inch speakers / US-manufactured cabinet model. | |
| UK 4X15 | Four 15-inch speakers / UK-manufactured cabinet model. | |
| LA 1X18 | One 18-inch speaker LA sound cabinet model. | |
| COMBI | One 12-inch and one 18-inch speaker combination cabinet model. | |
MOD (Modulation & Filter Effect Modeling)
| TYPE (▲/▼ button) | VALUE (Value Dial) | |
| CHORUS1 | Vintage chorus in which the effect sound is output to the left and the direct sound to the right. | Adjusts modulation speed. (0.1...10.0 [Hz]) |
| CHORUS2 | A vintage stereo chorus tuned for bass that inverts the phase of the effect sound between left and right, adding spaciousness to the sound. | |
| FLANG1, 2, 3 | Vintage flangers tuned for bass that add a "swishing" character. (1, 2, and 3 have feedback settings of 0%, 22%, and 60% respectively.) | Adjusts modulation speed. (0.1...10.0 [Hz]) |
| FLANG4 | A vintage flanger tuned for bass that inverts the phase of the feedback. | |
| PHASER1 | A popular four-stage vintage phaser. | |
| PHASER2 | A four-stage vintage phaser with a thick mid-range. | |
| PHASER3 | A ten-stage vintage phaser with a mild effect. | |
| U-VIBE1 | Simulation of a pedal vibe set to chorus mode. | Adjusts modulation speed. (1.0...10.0 [Hz]) |
| U-VIBE2 | Simulation of a pedal vibe set to vibrato mode. | |
| TREM1 | Smooth tremolo. | |
| TREM2 | Tremolo built into an amp. | |
| TREM3 | Strong and deep tremolo. | |
| AT PAN1 | Auto Pan. (LFO:square wave ☑) | Adjusts modulation speed. (0.1...10.0 [Hz]) |
| AT PAN2 | Auto Pan. (LFO:sine wave ☑) | |
| ROTARY1 | Rotary speaker simulation. | Adjusts modulation speed. (1.0...10.0 [Hz]) |
| ROTARY2, 3 | Rotary speaker simulation in which your playing dynamics switch rotor speeds. 2 switches from slow to fast when you play strongly. 3 switches from slow to fast when you play softly. | Specify the level at which the speed is switched. (1.0...10.0) |
| PITCH1, 2, 3 | Pitch shifter (PITCH1, 2, 3 differ in the level of effect sound). | Amount of pitch shift. (-24, -17, -12... -1, -d, d, 1...12, 19, 24) (d = detune) |
| MAJ3UP | Intelligent pitch shifter; a 3rd up in a major key. | Specify the key. (C, C#...A#, B) |
| MAJ3DWN | Intelligent pitch shifter; a 3rd down in a major key. | |
| MIN3UP | Intelligent pitch shifter; a 3rd up in a minor key. | |
| MIN3DWN | Intelligent pitch shifter; a 3rd down in a minor key. | |
| PER4TH | Intelligent pitch shifter; a 4th up in a major key. | |
| PER5TH | Intelligent pitch shifter; a 5th up in a major key. | |
| MAJ6TH | Intelligent pitch shifter; a 6th up in a major key. | |
| FEEDBK1, 2 | An effect that artificially generates feedback, and operates when a note is held for an extended time. 2 generates feedback one octave higher. | Adjusts effect level. (0...4.7) Adjusts vibrato depth. (5.0...10.0) |
| FEEDBK3, 4 | An effect that artificially generates feedback, and operates constantly when sustained. 4 generates feedback one octave higher. | |
| FILTER | Low pass filter. | Adjusts frequency. (1.0...10.0 [Hz]) |
| FILTUP1 | Positive-polarity low-pass filter type auto-wah. | Adjusts sensitivity. (0...10.0) |
| FILTUP2 | Low-pass filter auto-wah with positive polarity and a strong peak. | |
| FILTDN1 | Negative-polarity low-pass filter type auto-wah. | |
| FILTDN2 | Low-pass filter auto-wah with negative polarity and fast response. | |
| TALK 1, 2, 3, 4 | An effect that simulates a "talking bass." 1: YAH-YAH, 2: U-WAH, 3: YOI-YOI, 4: YEAH | |
| RANDOM 1, 2, 3, 4 | Random step filter that moves a filter randomly. 1, 2, 3, and 4 change the frequency band affected by the filter. | Adjusts modulation speed. (1.0...10.0 [Hz]) |
About the Intelligent Pitch Shifter
The Intelligent Pitch Shifter creates musically useful harmonies by varying the amount of pitch shift according to the note you play and the key in which you are playing. For example if you select a pitch shift of a 3rd upward in a major key (MAJ3UP), the amount of pitch shift will vary automatically between three semitones (a minor third) and four semitones (a major third).
- When MAJ3UP is used with a key setting of C

The pitch created by the intelligent pitch shifter is shown in parenthesis ( ).
The PX4B provides seven types of intelligent pitch shifting, with intervals of a 3rd, 4th, 5th, and 6th. (For the 3rd, you can select either the upper or lower part, and a major or minor key.)

If your instrument is not tuned correctly, the results may not be as you expect. In this case, re-tune your instrument.

The intelligent pitch shifter will function when you play individual notes. It cannot produce the effect for chords.
DLY (Delay Effect Modeling)
For each type, 1, 2, 3, 4 and 5 have different amounts of feedback.
The delay time is set by the interval at which you press the TAP button twice. The specified delay time can be a maximum of 500 ms for SLAP or a maximum of 2 sec for MULTI, and can be checked by holding down the TAP button.
| TYPE (▲/▼ button) | VALUE (Value Dial) | |
| SLAP1, 2, 3, 4, 5 | Slap-type delay whose delay time is 1/4 of the interval at which you press TAP. | Adjusts effect level. (0...10.0) |
| DELAY1, 2, 3, 4, 5 | Stereo delay. | |
| PPDLY1, 2, 3, 4, 5 | Dual-tapped ping-pong delay that pans the sound to left and right. | |
| ECHO1, 2, 3, 4, 5 | Tape echo simulation with a warm tone. | |
| MULTI1, 2, 3, 4, 5 | Dual-head tape echo simulation with special stereo design. (creates a spacious reverberation.) | |
REV (Reverb Effect Modeling)
| TYPE (▲/▼ button) | VALUE (Value Dial) | |
| DRYAIR | Reverb that produces a sensation of dry air. | Adjusts effect level. (0...10.0) |
| WETAIR | Reverb that produces a sensation of wet air. | |
| ROOM1 | Bright-sounding room reverb. | |
| ROOM2 | Mellow-sounding room reverb. | |
| PLATE1 | Tight-sounding plate reverb. | |
| PLATE2 | Bright-sounding plate reverb. | |
| HALL1 | Reverberation of a mid-sized hall. | Adjusts effect level. (0...10.0) |
| HALL2 | Reverberation of a large hall. | |
| SPRING1 | Spring reverb of an amp. | |
| SPRING2 | Dense spring reverb. | |
Preset Program Name
| No. | Name | No. | Name | No. | Name | No. | Name | No. | Name |
| 1 | STUFUNK | 11 | 7 PITCH | 21 | FUZZY | 31 | JAZZ | 41 | ECHORUS |
| 2 | STUFING | 12 | ROTARY | 22 | KLEEN | 32 | SCI-FI | 42 | THUMPER |
| 3 | STUCORD | 13 | FLANJET | 23 | BLUES | 33 | MOTOWN | 43 | CLEANX |
| 4 | STUHARM | 14 | FILTERD | 24 | FRETLES | 34 | BUBBLEs | 44 | SOLO |
| 5 | STUSOLO | 15 | PHASOLO | 25 | REPEAT | 35 | METAL | 45 | DISFLANG |
| 6 | BONEHED | 16 | OCTOREV | 26 | SYNTHEE | 36 | COUNTRY | 46 | OCTOWAH |
| 7 | TAPROOM | 17 | SLAPIT | 27 | TALKER | 37 | RNB | 47 | BLUEZY |
| 8 | OCTBASS | 18 | CITYDLY | 28 | CHORUS | 38 | PANSOLO | 48 | SNARL |
| 9 | OVERDRV | 19 | DISTORT | 29 | PICKER | 39 | VALVERY | 49 | CANYON |
| 10 | STUWAVE | 20 | DRIVEN | 30 | SWIRLEY | 40 | FAXMAN | 50 | THUMB |
b: Beat
m: Number of measures
Rhythm Pattern List
| No. | Name | b | m | No. | Name | b | m | No. | Name | b | m | No. | Name | b | m | ||||
| 1 | METRO1 | 2/4 | 1 | 21 | 8SHFL3* | 4/4 | 2 | 41 | 7/4 2 | 7/4 | 1 | 61 | MOTOWN | 4/4 | 1 | 81 | 8FILL7 | 4/4 | 1 |
| 2 | METRO2 | 2/4 | 1 | 22 | 16BT1 | 4/4 | 1 | 42 | 6/8 1* | 6/8 | 2 | 62 | REGG1* | 4/4 | 2 | 82 | 8FILL8 | 4/4 | 1 |
| 3 | METRO3 | 3/4 | 1 | 23 | 16BT2 | 4/4 | 1 | 43 | 6/8 2* | 6/8 | 2 | 63 | REGG2 | 4/4 | 1 | 83 | BLUEFIL | 4/4 | 1 |
| 4 | METRO4 | 4/4 | 1 | 24 | 16BT3 | 4/4 | 1 | 44 | BALLAD | 4/4 | 1 | 64 | REGG3* | 4/4 | 2 | 84 | MTLFILL | 4/4 | 1 |
| 5 | METRO5 | 5/4 | 1 | 25 | 16BT4 | 4/4 | 1 | 45 | BLUES | 4/4 | 1 | 65 | COUNTRY | 4/4 | 1 | 85 | 8BRK1 | 4/4 | 1 |
| 6 | METRO6 | 6/4 | 1 | 26 | 16BT5 | 4/4 | 1 | 46 | OLDIES | 4/4 | 1 | 66 | BOSSA* | 4/4 | 2 | 86 | 8BRK2 | 4/4 | 1 |
| 7 | METRO7 | 7/4 | 1 | 27 | 16BT6 | 4/4 | 1 | 47 | 70ROCK | 4/4 | 1 | 67 | SAMBA1 | 4/4 | 1 | 87 | 8BRK3 | 4/4 | 1 |
| 8 | 2-3CLV | 4/4 | 1 | 28 | 16BT7 | 4/4 | 1 | 48 | METAL1 | 4/4 | 1 | 68 | SAMBA2 | 4/4 | 1 | 88 | 16FILL1 | 4/4 | 1 |
| 9 | AFRICAN | 4/4 | 1 | 29 | 16BT8 | 4/4 | 1 | 49 | METAL2 | 4/4 | 1 | 69 | SONGO | 4/4 | 1 | 89 | 16FILL2 | 4/4 | 1 |
| 10 | 8BEAT1 | 4/4 | 1 | 30 | 16BT9 | 4/4 | 1 | 50 | DANCE1* | 4/4 | 2 | 70 | LATIN1 | 4/4 | 1 | 90 | 16FILL3 | 4/4 | 1 |
| 11 | 8BEAT2 | 4/4 | 1 | 31 | 16SHF1 | 4/4 | 1 | 51 | DANCE2 | 4/4 | 1 | 71 | LATIN2 | 4/4 | 1 | 91 | 16FILL4 | 4/4 | 1 |
| 12 | 8BEAT3 | 4/4 | 1 | 32 | 16SHF2* | 4/4 | 2 | 52 | DISCO1 | 4/4 | 1 | 72 | TANGO | 4/4 | 1 | 92 | 16FILL5 | 4/4 | 1 |
| 13 | 8BEAT4* | 4/4 | 2 | 33 | 16SHF3 | 4/4 | 1 | 53 | DISCO2 | 4/4 | 1 | 73 | POLY | 4/4 | 1 | 93 | 16FILL6 | 4/4 | 1 |
| 14 | 8BEAT5* | 4/4 | 2 | 34 | 16SHF4* | 4/4 | 2 | 54 | EURO | 4/4 | 1 | 74 | NEWRNB* | 4/4 | 2 | 94 | 16FILL7 | 4/4 | 1 |
| 15 | 8BEAT6 | 4/4 | 1 | 35 | 16SHF5 | 4/4 | 1 | 55 | FUNK1* | 4/4 | 2 | 75 | 8FILL1 | 4/4 | 1 | 95 | 16FILL8 | 4/4 | 1 |
| 16 | 8BEAT7 | 4/4 | 1 | 36 | 3/4* | 3/4 | 2 | 56 | FUNK2* | 4/4 | 2 | 76 | 8FILL2 | 4/4 | 1 | 96 | LINEAR | 4/4 | 1 |
| 17 | 8BEAT8 | 4/4 | 1 | 37 | 3/4 SHF* | 3/4 | 2 | 57 | FUNK3 | 4/4 | 1 | 77 | 8FILL3 | 4/4 | 1 | 97 | SHUFILL | 4/4 | 1 |
| 18 | 8BEAT9* | 4/4 | 2 | 38 | 5/4 | 5/4 | 1 | 58 | JAZZ1* | 4/4 | 2 | 78 | 8FILL4 | 4/4 | 1 | 98 | 16BRK1 | 4/4 | 1 |
| 19 | 8SHFL1 | 4/4 | 1 | 39 | 6/4 | 6/4 | 1 | 59 | JAZZ2 | 4/4 | 1 | 79 | 8FILL5 | 4/4 | 1 | 99 | 16BRK2 | 4/4 | 1 |
| 20 | 8SHFL2 | 4/4 | 1 | 40 | 7/4 1 | 7/4 | 1 | 60 | AFRO | 4/4 | 1 | 80 | 8FILL6 | 4/4 | 1 | 100 | 16BRK3 | 4/4 | 1 |
Specifications
-
Effects: 122 types (Maximum number of effects available simultaneously: 7)
Number of programs: User: 50 Preset: 50 -
Inputs: bass input (1/4" jack) AUX (mini stereo jack)
Output: line/headphone dual-purpose output (stereo phone jack)
Tuner section: detection range: 27.5 Hz-2,093 Hz (A0-C7)
calibration: A = 438 Hz - 445 Hz
Rhythm section: 40-208 bpm
Infrared transmitter:
Frequency modulation type, carrier frequency (right/left) 2.8 MHz / 2.3 MHz
- Power supply: four AAA alkaline batteries:
Allows 10 hours of continuous use (infrared transmitter OFF, backlight OFF)
Allows 5 hours of continuous use (infrared transmitter ON, backlight OFF) separately sold AC adapter (DC 4.5V:
- Dimensions (W x D x H): 76 mm x 112 mm x 27 mm
Weight (not including batteries):138g - Included items: Owner's manual, four AAA alkaline batteries, StrapHolder
- Option: AC adapter
Appearance and specifications are subject to change without notice for product improvement.
Precautions
Emplacement
Quick Edit (Schnellzugriff) 92
Play-Modus 93
DLY (Delay Modeling) 118
REV (Reverb Modeling) 118
Parameterliste der
Preset-Programme 119
Auflistung der
Rhythmus-Patterns 120
Quick Edit (Schnellzugriff)
6. Key Lock-Function
(Modulation & Filter Effect Modeling)
6) REV (Reverb Modeling)
CAB (Cabinet Modeling)
MOD (Modulation&Filter Effect Modeling)
DLY (Delay Modeling)
REV (Reverb Modeling)
This product has been manufactured according to strict specifications and voltage requirements that are applicable in the country in which it is intended that this product should be used. If you have purchased this product via the internet, through mail order, and/or via a telephone sale, you must verify that this product is intended to be used in the country in which you reside.
WARNING: Use of this product in any country other than that for which it is intended could be dangerous and could invalidate the manufacturer's or distributor's warranty. Please also retain your receipt as proof of purchase otherwise your product may be disqualified from the manufacturer's or distributor's warranty.
REMARQUE IMPORTANTE POUR LES CLIENTS
Using the strap holder
- Pass your guitar strap through the strap holder.
- Slide the protrusion (A) of the strap holder into the attachment slot (B) on the rear of the PX4/px4B.
- Press in the direction of the arrow (a) until locking tab (C) clicks into place.
- Shake the PX4/PX4B lightly to verify that it does not fall off.
- Press the strap holder locking tab (C) in the direction of arrow (b) to release the lock.
- With the lock released, slide the PX4/PX4B in the opposite direction from when attaching it, and remove it from the holder.
EasyManual