PX4B - Multi-Effekte für Bass KORG - Kostenlose Bedienungsanleitung
Finden Sie kostenlos die Bedienungsanleitung des Geräts PX4B KORG als PDF.
Benutzerfragen zu PX4B KORG
0 Frage zu diesem Gerät. Beantworten Sie die, die Sie kennen, oder stellen Sie Ihre eigene.
Eine neue Frage zu diesem Gerät stellen
Laden Sie die Anleitung für Ihr Multi-Effekte für Bass kostenlos im PDF-Format! Finden Sie Ihr Handbuch PX4B - KORG und nehmen Sie Ihr elektronisches Gerät wieder in die Hand. Auf dieser Seite sind alle Dokumente veröffentlicht, die für die Verwendung Ihres Geräts notwendig sind. PX4B von der Marke KORG.
BEDIENUNGSANLEITUNG PX4B KORG
BEDIENUNGSCANLEITUNG
TONEWORKS
KORG
取拔説明書
EFGJ 2
Precautions
Location
Phrase Trainer mode 19
- Select the recording mode 19
2.Recording 21
3.Playback 21
4.Pause 22
AUX Pitch mode 22
Edit mode 23
Vermeiden Sie das Aufstellen des Geräts an Orten, an denen
- es direkter Sonneneinstrahlung ausgesetzt ist;
- hohe Feuchigkeit oder Extremtemperatureen auftreten können:
- Staub oder Schmutz in große Mengen vorhanden sind;
- das Gerät Erschütterungen ausgesetzt sein kann.
- in der Nähe eines Magnetfeldes.
Stromversorgung
Schlieben Sie das beiliegende Netzeil nur eine geeignete Steckdose an. Verbinden Sie es nimals mit einer Steckdose einer anderen Spannung.
Störeinfüsse auf andere Elektrogeräte
Dieser kann bei in der Höhe aufgestalten Rundfunkempfängern oder Fernsehgeräten Empfangsstörungen hervorrufen. Betreiben Sie solche Geräte nur in einem geeigneten Abstand von dieser Emzeugnis.
Bedienung
Vermeiden Sie bei der Bedienung von Schaltern und Reglern unangemessenen Kraftaufwand.
Reinigung
Bei auftretender Verschmutzung konnen Sie das Gehäuse mit einem trockenen, sauberen Tuch abwischen. Verwendten Sie keinerlei Flüssigreiniger wie beispelsweise Reinigungsbenzin, Verdünngs-oder Spülmittel. Verwendten Sie niemals brennbare Reiniger.
Bedienungsanleitung
Bewahren Sie diese Bedienungsanleitung gut auf, falls Sie sie später noch einzeln bestehtig.
Flüssigkeiten und Fremdkörper
Stellen Sie niemals Behältnisse mit Flüssigkeiten in der Höhe des Geräts auf. Wenn Flüssigkeit in das Gerät gelangt, können Beschädigung des Geräts, Feuer oder ein elektrischer Schlag die Folge sein. Beachten Sie, daß keinerlei Fremdkörper in das Gerät gelangen. Sollte ein Fremdkörper in das Gerät gelangt sein, so trennen Sie essofar vom Netz. Wenden Sie sich dann an ihren KORG-Fachhändler.
Das CE-Zeichen
Vor dem 31.12.1996 vergebene CE-Zeichen auf unseren netzgegensten Geräten zeigen an, daß diese Geräte gemäß der EMC-Richtlinie (89/336/EWG) und der CE-Richtlinie (93/68/EWG) der EU arbeiten.
Nach dem 01.01.1997 vergebene CE-Zeichen auf unseren netzgespeiten Geräten zeigen an, daß diese Geräte gemäß der EMC-Richtlinie (89/336/EWG), der CE-Richtlinie (93/68/EWG) und der Niederspannungssstromrichtlinie (73/23/EWG) der EU arbeiten.
Die CE-Zeichen auf unseren battergigespeiten Geräten zeigen an, daß diese Geräte gemäß der EMC-Richtlinie (89/336/ EWG) und der CE-Richtlinie (93/68/EWG) der EU arbeiten.
Inhalt
Einleitung 86
Hauptmerkmale 86
Einschalten 88
Batterianzeige 88
Bedienelemente und Anschlüsse 88
LCD-Display 90
Herstellen der Anschlüsse 91
Ausprobieren 92
- Programmauswahl 93
- Master-Pegel 93
3.Bypass/Mute 94
4.Tuner 94 -
Festlegen der Funktion des Endlosreglers 95
-
Key Lock-Funktion 96
Der Rhythm-Modus 97
- Rhythmus-Pattern 97
- Tempo 98
- Hallanteil Rhythm 98
- Rhythm Level 98
CHAIN-Pattern 98
PhraseTrainer-Modus 99
- Auswahldes Aufzeichnungsmodus 99
- Aufzeichnung 101
3.Wiedergabe 101
4.Pausenfunktion 102
AUX Pitch-Modus 102
Edit-Modus 103
- Auswahlen des zu bearbeitenden Effekts 104
2.Effektbearbeitung 104
1) DYNA (Dynamikeffekte &
Preamp-Modeling) 104
2)AMP (Amp Modeling) 104
3) CAB (Cabinet Modeling) ---- 105
4) MOD (Modulation &
Filter Effect Modeling) ---- 105
5) DLY (Delay Modeling) 105
6) REV (Reverb Modeling) ---- 106
7) NR (Noise Reduction/
Rauschunterrückung) 106
8) TX (Infrarot-Sender) 106
9) RENAME (Umbenennung)-- 107
10)WRITE(Speichern) 107
3. Wiederherstellen
der Werksprogramme 108
Fehlersuche 108
Effektparameterliste 110
DYNA (Dynamikeffekte &
Preamp-Modeling) 110
AMP (Amp Modeling) 111
CAB (Cabinet Modeling) 114
MOD (Modulation&
Filter Effect Modeling) 114
Der „Intelligente Pitchshifter“ -- 117
Technische Daten 121
Einleitung
Für den Kauf des KORG TONEWORKS PANDORA PX4B Bass Personal Multi Effect Processor möchten wir uns bedanken. Um einen langjährigen problemlosen Betrieb des Gerätes sicherzustellen, sollenn Sie thesebs Bedienungshandbuch setzen und das Produkt korrekt verwenden. Bewahren Sie das Handbuch für den späteren Gebrauch sichere auf.
Hauptmerkmale
PANDORA PX4B ist ein kompaktes Multifunktions-Effektgerat. Dieses Gerät enthalt Kords „HEMS“-Modelliertechnologie, mit der transparente und druckvolle Klänge erzielt werden konnen.
122 Effektvariationstypen
Maximal sieben Effekte halten sich gleichzeitig nutzen.
50 User- und 50 Preset-Programme
IPE-System (integrierte Parametereditierung)
einfach vorzunehmende Effekteinstellungen.
Amp Modeling und -Regler
Sie konnen schnell und einach zwischen zehn verschiedenen Veränderkermodellen und einem Bass-Synthesizer ausgehalten.
Integrierter Infrarot-Sender
Der integrierte Infrarot-Sender bietet die Mochlichkeit, für das Monitoring drahtlose Infrarot-Kopfhörer einzusetzen.
LCD-Anzeige mit LED-Hintergrundbeleuchung
Die Anzeige ist selbst in dunkler Umgebung lesbar.
Auto Tuner-Funktion
These Funktion erlaubt einfaches und schmelles Stimmen der Baß. Das Stimmen kann auch bei stummgeschalteter Audioausgabe (also unhörbar) vorgenommen werden.
Rhythmusfunktion
Das PX4B kann 100 Rhythmen abspielern (einschließlich des Metronoms). Es konnen auch mehrere Rhythmen zu einer Kette zusammengeführt werden, so dass diese aufeinander folgende ablaufen.
AUX-Transposition und Bassunterstützung
Sie konnen das Audiosignal eines an der AUX-Buch-ase angeschlossenen CD-Spieler oder anderer Geräte transponieren („AUX Pitch“-Funktion), und Sie konnen den Bassfrequenzbereich unterträcken („Bass Cancel“-Funktion) - eine hervorragende Art, das Bassspiel zu über!
Phrase-Trainer-Funktion
Das Signal eines CD-Spieler oder Its Riskspiel kann aufgenommen und als Loop (Schleife) abgespielt werden (maximal 31,7 Sekunden). Das Wiedergabetempo kann verlangsamter werden, ohne dass sich die Tonhöhe verändert. Der im Rhythm-Modus ausgewählte Rhythmus und das Bassignal können ebenfalls gleichzeit aufgenommen werden.
Tap-Taster
Mit dem Tap-Taster passen Sie die Delay-Zeit und das Tempo für die Rhythmus-Begleitung an das Tempo des aktuellen Stück's an.
Endosregler
Mit thisem Regler können Sie Programme direkt aufrufen und Effekte zügig editieren.
WasistItems?
Items (Resonant Structure and Electronic Circuit Modeling System) ist eine von Korg entwickelte Klangformungstechnologie, die den komplexen Charakter und das Verhalten von akustischen und elektrischen Instrumenten wie auch elektronischen Schaltungen in realen Umgebungen zusige nach-bildet.
Items simuliert eine Vielzahl von Klingerzeugungscharakteristiken: Instrumentenkörper/-gehause, Lautsprecher und Boxen, akustische Umgebungen, Vakuumrohren, Transistoren, usw.
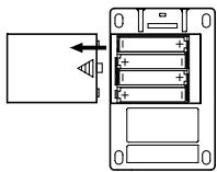
Einschalten
Batteriedeckel an der Unterseite der Bodenplatte entfern, indem Sie hin in Pfeilrichtung schieben. Legen Sie entsprechend der Abbildung vier Alkali-Mi

gnonzellen ein. Achten Sie auf die korrekte Polung der Batterien.
Batterianzeige
Wenn die Batterie nahezu erschöpf ist, leuchtet die Battery Low-Anzeige ( ). Ersätzen Sie in thisem Falle die Batterie möglichst umgehend. Programme und andere Daten (außer den fremde editierten Daten) gehen im Falle eines Batterieausstausches nicht verloren.

Leere Batterien dürfen nicht im PX4B verbleiben. Wenn Sie eine solche Batterie länger ezeim Gerat lessen, konnen Fehlfunktionen (z. B. aufgrund einer ausgelaufen Batterie) auftreten. Sie sollenn Batterien auch entnahmen, wenn Sie den PX4B fur länger Zeit nicht benuten.

Das Netzteil ist nicht im Lieferumfang这点es Produktushalten, sondern separates erhältlich.
Bedienelemente und Anschlüsse

① Regler
Mit diesen Reglern stellen Sie Klang (Tone) und Lautstärke (Volume) der Amp-Modeling-Sektion ein.
② LC-Display (LCD)
③ TUNE/BYPAS-Taste
④ EXIT-Taste
Wenn Sie diese Taste betätigten, gelangen Sie aus jeder beliebigen Modus zurrück in den Play-Modus.
⑤ ENTER/REC-Taste
Mit dieser Taste aktivieren bzw. deaktivieren Sie einen selektierten Effekt; im Phrase Trainer-Modus starten Sie hier die Aufnahme.
⑥ Regler für den Eingangspiegel
Stellen Sie diesen Regler entsprechend der Ausgangslautstärke Ihr basses ein.
⑦ Amp Modeling-Wahlschalter
Wahlen Sie hier den gewünschten Amp Modeling-Typ aus.
⑧ ▲/▼-Tasten
Mit diesen Tasten können Sie Programme selektieren, Effekte bearbeiten und die Ausgangslaufstände einstehen.
⑨ OUTPUT-Buchse
Schlieben Sie hier ihren Baßverträger, einen Kopfhöher usw. an.
10 INPUT-Buchse
SchlieBen Sie hier ihre BaBgiarre an.
① AUX-Buchse (stereo)
Hier konnen Sie einen CD-Player o. ä. anschließen.
⑫ DC4.5V-Buchse
Schlieben Sie hier den optional erhältlichen Netzeil-adapter (DC4.5V 一 + ) an.
13 / -Tasten
Mit diesen Tasten konnen Sie die Parameter selektieren, die Sie editieren wollen, und die Phrase Trainer-Funktion bedieten.
⑭ Netzschalter/Hintergrundbeleuchtingsschalter
Mit thisem Schalter Konnen Sie das Gerät als auch die Hintergrundbeleuchung ein-/ausschalten.

Im Batteriebetrieb lösst sich die Betriebsdauer durch Abschalten des Infrarot-Senders und der Hintergrundbeleuchting betrachtlich verlängern.
⑤ Endosregler
Mit diesen Regler stellen Sie den Ausgangspegel und die Effekte ein und wahlen die Programme aus.
⑥ Tap-Taster
Die Delay-Zeit („Delay Time“) bestimmen Sie durch zweimaliges Betätigten des Tap-Tasters im gewündten Tempo. Auf die gleiche Weise geben Sie im Rhythm -Modus auch das Tempo für die Rhythmus-bzw.
⑦ Mode-Tasten
Über diese Tasten wahlen Sie die verschiedene Modi Rhythm, Phrase Trainer und AUX Pitch an.
LCD-Display

① Die Effektkette
Hier werden Sie über den jeweiligen Effektstatus informiert (DYNA, AMP, CAB, MOD, DLY, REV aktiviert/deaktiviert).
② Programm Name / Effekt Typ Anzeige
Dieser Bereich zeigt Ihnen den Programm Namen oder den Effekt Typ an. Im Bypass oder Mute Modus wird these Feld zur Anzeige des integrierten Stimmgerätes benutzt.
③ Batteriezustandsanzeige
Dieses Symbol leuchtet auf, wenn die Batteriespannung abfällt.
④ Mode-Icons
Befinden Sie sich im AUX Pitch-, Phrase Trainer- oder
Rhythm -Modus, leuchtet im Display das zugehörige Symbol („Icon“).
⑤ Infrarot-Icon
Dieses Symbol leuchtet, wenn der Infrarot-Sender aktiviert ist.
⑥ Edit/Original-Icons
Das EDIT-Symbol zeigt an, dass Sie sich im Edit-Modus (Bearbeitungsmodus) befinden. Bei Übereinstimmung mit der ursprünglichen, vordefinierten Einstellung eines Parameters bzw. Werts leuchtet zusätzlich das ORIG-Symbol auf.
⑦ Program/Value-Anzeige
An dieser Stelle wird die aktuelle Programm-Nummer angezeigt. Verändern Sie den Master-Volume-Pegel (.Master Level**, erscheidt hier für eine Sekunden der geänderte Wert; während der Parameteingabe wird der Wert des entsprechenden Parameters angezeigt.
⑧ Master/Value-Icons (mit grafischer Anzeige)
Leuchtet das MASTER-Symbol, zeigt die darunter befindliche Grafik den Master-Pegel des jeweiligen Programms an. Leuchtet das VALUE-Symbol, zeigt die Grafik den aktuellen Parameterwert an.
Herstellen der Anschlüsse
Schalten Sie alle anzuschliebenden Geräte aus, und stellen Sie die Lautstärke auf das Minimum ein.

1 Versperren Sie bei aktivierter Infrarot-Funktion auf keinen Fall den Infrarot-Sensor.
2 Verwenden Sie nur den empfohlenen Wechselstrom-adapter. (DC4.5V ② ⑥ ⑧).
3 Wenn Sie einen Cassettenrecorder oder CD-Player an die AUX IN-Buchse anschließen, können Sie zu der Musik vom Band usw. Baß speiten. Die Lautstärke muß jeder am angeschlossenen Gerät geregelt werden.
4 Die Anschlußkabel sind separat erhältlich.
5 LDie OUTPUT-Buchse ist ein Stereo-Ausgang. Wenn Sie den PX4B über ein Mono-Klinkenkabel an einen Baßverträger anschließen, wird nur der Klang des linken Kanals (L) ausgegeben.
6 Ausgangspiegel und Klangverhalten des PX4B konnen von der Qualität des verwendenten Kopfhörpers abhängen. Wir empfehlen hochwertige niederohmige Kopfhörer (32 Ohm) mit einer Empf indlichkeit von 100 dB/mW oder besser. Mit trabären CD-Playern oder Kassettenrekordern mit religieferte Kopfhörer sind oftmales schon ausreichend.
Ausprobieren
- Nachdem Sie alle Anschlüsse hergestellt haben, stellen Sie den Netzschalter auf „ON“. (Dies wird als Play-Modus bezeichnet.) Wahlen Sie mit der / Tasten ein relativ unverzerrt klingendes Programm.
- Stellen Sie den Eingangspegel-Schalter auf eine für den Ausgangspegel ihrer Baß geeignetePosition.
Hi: Hohem Baß-Ausgangspegel.
Lo: Niedriger Baß-Ausgangspegel.
- Stellen Sie die Lautstärke an der Baß wie gewöhnt ein. Stellen Sie die Gesamtlautstärke mit dem Endlosregler ein.
Naheres zur Verwendung der Infrarot-Funktion finden Sie auf Seite 106 im Kapitel „Edit-Modus“, Abschnitt 8 „TX (Infrarot-Sender)“.
In allen Betriebsarten (außer bei aktivierter Mute/Bypass- bzw. Key Lock-Funktion) konnen Sie via Amp Modeling-Wahlschalter den gewünschten Modeling-Typ und über die zugehörigen Regler „Tone" und „Volume“ Verstärkungsgrad, Klang und Laustärke der Amp Modeling-Funktion einstellen. Sobald Sie die Reglerstellung verändern, erscheinen im Display eineugebrennungen lang Parametername und-wert. Bei Übereinstimmung mit der Ursprünglichen, vordefinierten Einstellung leuchtet zusätzlich das ORIG-Symbol. Die Delay-Zeit der Delay-Algorithmen geben Sie durch zweimaliges Betätigten des Tap-Tasters im gewünschten Tempo ein (gilt nicht für den Rhythm-Mode). Zur Überprüfung der aktuellen Delay-Zeit halten Sie den Tap-Taster mindestens zwei Sekunden lang gedrückt.

Wenn Sie mit dem Amp-Modeling-Wahlschalter einen Verstarkertype einstehen, wählt der PX4B automatisch die am Besten passende Lautsprecherbox aus und aktiviert diese.

Nicht abgespeicherte Einstellungen bleiben im Quick Edit-Modus nur so lange erhalten, bis Sie das Pro
gramm wechseln oder den Strom abschalten, und werden dann auf die Original-Werte zurück gesetzt (siehe auch S. 107).

Eingangspegel-Regler
Play-Modus
Der Play-Modus ist die Betriebsart, in der Sie den PX4B normalerweise verwenden.
1. Programmauswahl
Der PX4B bietet 50 Preset- und 50 User-Programme (P01...P50 bzw. U01...U50).
Die Programmauswahl erfolgt über die Pfeiltasten
und ist unabhängig vom jeweils aktivierten Modus Rhythm, AUX Pitch oder Phrase Trainer (funktioniert nicht während der Aufnahme).
2. Master-Pegel
Leuchtet das MASTER-Symbol im Display, zeit die zugehörige Balkendarstellung den Master-Pegel an. Verändern Sie diesen durch Drehen des Endlosreg- lers, erscheint der aktuelle Wert einige Sekunden lang im Display-Bereich für Programm-Nummer/Paramer-wert. Der eingestellte Master-Pegel bleibt auch nach Abschalten des Stroms erhalten.

Sie konnen das Gerät auch so programmieren, dass Sie den Master-Pegel über die Pfeillasten regeln (siehe S. 95).
3. Bypass/Mute
Wenn Sie die TUNE/BYPASS-Taste betätigten, wird das PX4B in den Bypass-Modus versetzt, und das anliegenden Eingangssignal wird nicht durch die Effekte bearbeitet. Die Effekt-LEDs blinken, und im Display erscheidt für etwa eine Sekunde die Aufschrift „BYPASS".
Wenn Sie die TUNE/BYPASS-Taste für länger als eine Sekunde gedrücktelten, wird das Ausgangssignat stummsgeschaltet. Die Effektkette blinkt schnell, und im Display wird für etwa eine Sekunde die Meldung „MUTE" angezeigt.
Durch erneutes Betätigten des TUNE/BYPASS- bzw. des EXIT-Tasters verseten Sie das Gerät wieder in den Play-Modus. Bypass- und Mute-Funktion halten sich jedoch aus allen Betriebsarten Heraus aktivieren.
4.Tuner
Den Tuner aktivieren Sie, indem Sie das Gerät in den Bypass-Betrieb bzw. stumm schalten (.Mute").

Sobald Sie eine einzelnige Saite Ihr Baß anspielen, sehen Sie im Display den Notennamen und die Käbrierung. Liegt der angespiefte Ton mehr als ein Halb-ton zu hoch, wird dies durch ein Kreuzchen oben rechts...,...,...,...,...,...,..., ...
Das Display stellt die Tonhohenabweichung dar. Stimmen Sie die Saite so, daß die Anzeige über der Mittelmarkierung leuchtet.
Durch Betätigten des TUNE/BYPASS- bzw. des EXIT-Tasters schalten Sie den Tuner ab und kehren wieder in den Play-Modus zurrück.
Kalibrierung (Frequenz des Referenztons A)
Sie konnen mit dem Endlosregler die Freqenz für den Referenzton A (Kalibrierung) in einem Bereiche zwischen A = 438Hz - 445Hz einstehen. Die Kalibrierungseinstellung wird gespeichert, bis das Gerät abgeschellt wird. Beim nachsten Einschalten wird die Kalibrierung auf A = 440Hz zurückgesetzt.
-
Festlegen der Funktion des Endlosreglers Sie können die Funktion einstellen, die der Endlosregler im Play-Modus hat. Halten Sie im Play-Modus die EXIT-Taste gedrückt und betätigten Sie wahlweise die Tasten , um eine der nachfolgend beschriebenen Funktionen zuzuweisen.
-
Halten Sie die EXIT-Taste gedrückt und betäti-gen Sie die -Taste.
Im Display erscheint für etwa eine Sekunde die Anzeige „MASTER".
Nun können Sie mit dem Endosregler die Gesamtlautstärke einstehen und mit den V Tasten die Programme aufrufen. Auf diese Weise haben Sie über den Endosregler direkten Zugriff auf die Lautstärke.
These Einstellung bleibt nach dem Ausschalten erhalten.

- Halten Sie die EXIT-Taste gedrückt und betätigkeiten Sie die -Taste.
Im Display erscheint für etwa eine Sekunde die Anzeige „PROGRAM".
Nun können Sie mit dem Endosregler die Programme aufrufen und mit den / -Tasten die Gesamtlautstärke einstellen. Auf diese Weise haben Sie über den Endosregler direkten Zugriff auf die Programme.

Möchten Sie die Funktion des Endosreglers und der Pfeiltasten ▲/▼- tauschen, so dass Sie über den Endosregler den Master-Pegel einstellen konnen, betätigen Sie bei gedrückter EXIT-Taste die -Taste oder schalten das Gerät aus und wieder ein.
Mittels der Key Lock-Funktion deaktivieren Sie s amtliche Engabemoglichkeiten bis auf die Programmauswahl. Auf diese Weise verhindern Sie insbesondere im Live-Betrieb ein versehentliches Betätigten der Tasten. Halten Sie die EXIT-Taste gedruckt und betätigten Sie die TUNE/BYPASS-Taste. Im Display erscheidt für etwa eine Sekunde die Anzeige „KEY-LOCK". Nun konnen Sie mit den / -Tasten die Programme aufrufen. Der Endlosregler und alle anderen Funktionen sind deaktiviert. In thisem Modus konnen Sie ausschließlich Programme selektieren.

Mit Abschalten des Stroms wird auch die Key Lock-Funktion deaktiviert. Eine weitere Möglichkeit zur Deaktivierung der Key Lock-Funktion finden Sie unter „5. Festlegen der Funktion des Endlosreglers" (S. 95).
Der Rhythm-Modus
Betätigten Sie im Play-Modus (außer bei Stummschaltung/Bypass oder im Keylock-Modus), im AUX Pitchoder im Phrase Trainer-Modus die RHYTHM-Taste, um den Rhythm-Modus aufzurufen.
Sobald Sie den Rhythm-Modus aktivieren, wird die Rhythm Pattern-Ausbau angezeigt, und im Display leuchtet das entsprechende Icon auf. Gleichzeitig startet die Wiedergabe mit dem aktuell angewählten Pattern. Rhythmus bzw. Tempo des selektierten Patterns entnahmen Sie der Balkengrafik.
Der Modus umfaßt die folgenden vier Parameter:
Betätigten Sie die Tasten , um Parameter zu selektieren, und den Endosregler oder die TAP-Taste, um den gewünschen Wort einzustellen.
Wahlen Sie das Rhythmus-Pattern „CHAIN“, stehen Ihnen anschließend weitere Einstellmöglichkeiten zur Verfugung (siehe auch S. 98, „CHAIN-Pattern“)

Haben Sie im Phrase Trainer-Modus den Aufnahmenodus „JAM" angewählt, hare Sie stets das hierselektierte Pattern und Tempo.
Samtliche hier vorgenommenen Einstellungen bleiben auch nach Ausschalten des Geräts erhalten.
1. Rhythmus-Pattern
Das Rhythmus-Pattern wahlen Sie mittels des Endlosreglers aus (siehe S. 120).

2. Tempo
Das Tempo kann in einem Bereich zwischen 40-208 BPM eingestellt werden. Das Tempo konnen Sie auch durch zweimaliges Drücken des Tap-Tasters im gewünschten Rhythmus einstehen. Beim 6/8-Takt lässt sich das Tempo beispieleweise zwischen 40 und 208 bpm (Viertelnote) einstehen.

3. Hallanteil Rhythm
Mittels des Endlosreglers bestimmen Sie den Anteil des Rhythm-Signals, den Sie mit Hall („Reverb“) verstehen möhen.

Der Reverb-Effectt im Rhythm-Modus ist identisch mit dem Baßeffekt. Wenn Sie allerdings ein Programm ohne Reverb-Modeling anwahlen oder der Hallpegel, Q^ beträgt, zeigt der hier eingestellte Hallanteil hat keinerlei Auswirkung.
4. Rhythm Level
Verwenden Sie den Wert-Regler zum Einstellen des Rhythm Klangs.

CHAIN-Pattern
Thesezusätzlichen Parametersthenurndanz zur Verfugung,wenSiedesRhythmus-Pattern,CHAIN" selektiert haben.DurchDrucken derENTER/REC-Taste rufen Sie das CHAIN-Pattern-Ausbahlfenster auf.
Benutzen Sie die Tasten1 um die Taktposition (1-8) auszuwahlen, an der Sie den Rhythmusändern
mochten, und benutzten Sie den Endlosregler, um den Rhythmus auszuwahlen (siehe Seite 120), der ab dieser Stelle gespielt werden soll. Benutzten Sie die Ta-sten zur Angabe der Anzahl der Wiederholungen des neuen Rhythmus' (1-8).

Insgesamt lassen sich bis zu 8 Patterns miteinander verketten. Bei Kombinationen von weniger als 8 Patterns selektieren Sie zum Abschluss „PTN END".
Durch Drücken der ENTER/REC-Taste verlassen Sie das CHAIN-Pattern-Ausbahlfenster wieder.
Phrase Trainer-Modus
Zeichen Sie ein beliebiges, via AUX-Buchse eingehendes Signal oder eine selbstgeschriebte Phrase auf und halten Sie sie als Loop (Endlosschleife) wiedergeben. Dies ist ein praktischer Weg, zu der sich wiederholenden Phrase eine schwierige Stelle zu übern. Die Wiedergabegeschwindigkeit laßt sich ohne Beinflussung der Tonhöhe vermindern, umalanders komplizierte Stücke langsam einüber zu konnen. Haben Sie als Aufnahme-Modus „JAM" ausgewählt, wird die unter Rhythm & Bass definierte Begleitung automatisch parallel zum Baßsignal aufgezeichnet und latent sich anschließend ebenfalls als Loop wiedergeben.
1. Auswahldes Aufzeichnungsmodus
EBetätigten Sie im Play-Modus (außer bei Stummschaltung/Bypass oder im Keylock-Modus), im AUX Pitch- oder im Rhythm-Modus die PHRASE TRAI-NER-Taste, um den Phrase Trainer-Modus aufzurufen. Wenn Sie den Modus aufrufen, wird die Auswahrscheinite für den Aufzechnungsmodus angezeigt, und das Phrase Trainer-Symbol blinkt.
Bei Anzeige dieser Displayseite ist das PX4B aufnahmebereit.

Haben Sie durch Drücken der PHRASE TRAINER-Taste den Phrase Trainer-Modus angewählt, stehen folgende Aufnahme-Optionen zur Verfügung:
AUX Aufzeichnung des AUX-Eingangssignals.
BASS Aufzeichnung des Baßsignals.
AUX+BAS Parallele Aufzeichnung von AUX- und Bausignal.
JAM Parallele Aufzeinung des Bafsignals mit dem zuletzt unter Rhythm selektien Rhythmus.
Via Endlosregler bestimmen Sie die Aufnahmezeit (im „JAM“-Modus die Anzahl der Takte).
8 ca. 7,9 Sekunden.
16 ca. 15,8 Sekunden.
32 ca. 31,7 Sekunden.
1,2,3... Anzahl der Takte.
Wenn der Aufnahmehodes auf „JAM“ eingestellt ist,
wird die maximal möglichte Taktanzahl automatisch aus dem Tempo errechnet. Auch die Audio-Signalqualität wird automatisch entsprechend dem Tempo und der angegebenen Taktanzahl ermittelt.
Je länger die Aufnahmezeit (16 oder 32 Takte), desto niedriger die Audioqualität.
Haben Sie für die rhythmische Begleitung ein sehr niedriges Tempo gewählt, lassen sich entsprechend weniger Takte aufzeichnen. In thisem Fall sollenn Sie in den Rhythm-Modus wechseln und das Tempo neu definieren (max. Länge ca. 31,7 Sekunden).
Starten Sie die Wiedergabe am angeschlossenen CD-Player (oder einer anderen Audiouelle) und betäti-gen Sie die ENTER/REC-Taste, wenn die Stelle erreicht wird, an der die Aufnahme beginnen soll. Die Aufzeinigung startet nun.
Im Aufnahmemodus "JAM" beginn't die Aufnahme nach einem wiedergegebenen Takt.
Möchten Sie im Anschluss an eine Aufnahme den Aufnahme-Modus wechseln oder die -zeit verändern, drücken Sie nach Beendigung der Wiedergabe die PHRASE TRAINER-Taste.
Aufnahmen werden nach Abschalten des Stroms nicht gespeichert.
2. Aufzeichnung
Zu Beginn einer Aufnahme wird die mögliche Aufnahmezeit sowohl numerisch als auch grafisch im Display angezeigt.

Wenn der Aufnahmehodium auf „JAM“ eingesellt ist, wird die Aufnahmeweit nicht angezeigt.

Möhlen Sie die Aufnahme beenden, drücken Sie entweder die ENTER/REC- oder die [▶][]-Taste. Die Aufnahme stoppt und Goes automatisch in die Loop-Wiedergabe über. Beenden Sie eine Aufnahme nicht auf oben beschriebene Weise, endet diese mit Ablauf der zuvor eingestellen Aufnahmezeit. Auch in this dem Fall startet die Loop-Wiedergabe automatisch. Im Aufnahme-Modus „JAM" endet die Aufzeichnung nach der vordefinierten Taktanzahl und Goes ebenfals in die Loop-Wiedergabe über.

Aufnahme und Wiedergabe einer solchen Phrase erfolgen stets in mono.
3. Wiedergabe
Die aufgezeichnete Phrase wird in einer Endlosschleife wiedergegeben. Während der Wiedergabe (oder auch bei activierter Pausenfunktion) konnen Sie mit den Tasten andere Programme aufrufen.

Wenn Sie den Endosregler nach links drehen, wird die Wiedergabegeschwindigkeit langsamer, ohne daß die Tonhöhre der Phrase geändert wird.
Wenn Sie den Endlosregler nach links drehen, wird die Wiedergabegeschwindigkeit langsamer, ohne dass sich die Tonhöhe der Phrase ändert. Zur Auswah stehen sechs Wiedergabegeschwindigkeiten: 100, 90, 80, 75, 66 und 50% . Mochtien Sie bei laufender Wiedergabe zürück spulen, drucken Sie die Taste [▶].
Durch Drücken der Phrase Trainer-Taste wird der aktuell geschpiefte Ton gehalten (.Hold"-Funktion). Dies bietet sich insbesondere an, wenn Sie einzelne Noten einer Phrase ,heraus horen" möhen.
4. Pausenfunktion
Wenn Sie während der Wiedergabe die [ II] -Taste betätigten, wird die Wiedergabe unterbrochen. Eine erneute Betätigung der [ II] -Taste setzen die Wiedergabe fort.
Eine Betätigung der [Taste während unterbrochener Wiedergabe bringt Sie zurück an den Anfang der aufgezeichneten Phrase.

Neuaufzeichnen einer Phrase
Wenn Sie eine Phrase erneut aufzeichnen wollen, beträtgten Sie die [▶II]-Taste, um die Wiedergabe zu unterbrenchen.
Starten Sie den CD-Player (bzw. die angeschlossene Audioquelle) und betätigten Sie die ENTER/REC-Ta ste am Anfang der gewünschente Phrase.
Möhlen Sie Aufnahmezeit oder Modus verändern, stoppen Sie die Wiedergabe und drücken anschließend die PHRASE TRAINER-Taste.
AUX Pitch-Modus
In this modus konnen Sie die Tonart (Tonhöhe) von Audiosignalen von CD oder MD transponieren, die an der AUX-Buchse angeschlossen sind. Sie konnen außerdem die Bassunterstützung einschalten, um den Bassfrequenzbereich zu unterträcken. Drücken Sie die Taste AUX PITCH, um den „AUX Pitch“ Modus. Das AUX-Pitch-Symbol leuchtet auf, sobald Sie sich in this modus befinden.
Bei jedem Druck auf die Taste AUX PITCH schalten Sie um zwischen „Nur Transposition“ und „Transposition + Bassunterrückung“ um.

Indem Sie den Transpositionswert auf ,0^ einstellen und „Transposition + Bassunterrückung“ wahlen, erreichen Sie eine Bassunterrückung ohne Transposition.
Drücken Sie die EXIT-Taste zur Rückkehr in den Spielmodus.

Im AUX Pitch-Modus ist das Ausgangssignal stets ein Monosignal.

Die AUX Pitch-Einstellungen bleiben auch nach Abschalten des Stroms erhalten.

Für bestimmte Signale hat die Bassunterdriuckung eventuell nicht den gewünschten Effekt.
Via Endlosregler bestimmen Sie nun das Transpositionsmaβ (max. +/- 1 Oktave).

Für die ersten drei Haltböne, aufwarts und abwarts, kann der Wert in Schritten à 10 Cent, für den Rest in Haltbonschriften (100 Cent) angepasst werden.
Edit-Modus
Der Edit-Modus bietet die Möglichkeit, jeder Effekt separat ein- und auszuschalten sowie Effekttyp, -Parameter und Programm-Namen zu bearbeiten.
Drucken Sie im Spielmodus die Taste (oder ), um die Seite zur DYNA-Effektbearbeitung (oder WRITE) aufzurufen.
Im Edit-Modus haben Sie jeder Zeit die Möglichkeit, auf Amp Modeling-Regler und Tap-Taster zuzugreifen, um z.B. das Amp-Modeling oder die Delay-Zeit eines Delay Modeling-Algorithmus' zu verändern. Durch Drucken der EXIT-Taste wechseln Sie wieder in den Play-Modus.
Haben Sie ein bearbeitetes Programm beim Verlassen des Edit-Moduses nicht gespeichert, erkennen Sie die am Dezimalpunkt in der Programm-Nummern-Anzeige.


Wenn Sie den Edit-Modus ohne Abspeichern der veränderten Einstellungen verlassen bzw. das Gerät ausschalten,finden Sie beim nachsten Aufrufen wieder die ursprünglichen Einstellungen vor.
1. Auswahlen des zu bearbeitenden Effekts
Jedesmal, wenn Sie eine der Tasten / betätigten, werden die Effekte nacheinander in der nachfolgend aufgeführten Reihenfolge selektiert. Wenn ein Effekt selektiert ist, blinkt das zugehörige Symbol.

2. Effektbearbeitung
Für jeder Effekt setzen sich der Effekttyp auswahlen und die Parameter entsprechend einstehen.
Abgeschaltete Effekte (,FXOFF^*) werden automatisch wieder aktiviert, sobald Sie über die ENTER/REC-Taste bzw. die Pfeiltasten / einen Effekttyp auswahlen. Eine detailierte Auflistung der Effekttypen und Parameter finden Sie in der,Effektparameterliste" (ab S. 110).
Darüber hinaus haben Sie hier auch Zugriff auf Funktion wie Umbenennen und Speichern eines Programms sowie die Infrarot-Einstellungen.
1) DYNA
(Dynamikeffekte & Preamp-Modeling)
Hier können Sie Dynamikeffekte (z. B. einen Kompressor) und das „Preamp Modeling" einstellen.

2)AMP (Amp Modeling)
Hiermit wird Klangverhalten eines Baßveränderer simuliert.


* Die Bediunung ist etwas anders,
* wenn als Typ „SYNTH“ gewährt ist.
Die via Amp Modeling-Wahlschalter selektierbaren Verstarkertypeen (.Amp-Type")让他们得以使用。
Wechsel in den Edit-Modus anwahlen und bearbeiten. Der Lautstarkeregler greift selbst bei deaktivierter Amp Modeling-Funktion.
Wenn Sie mit dem Amp-Modeling-Wahlschalter einen Verständkertype einstehen, wählt der PX4B automaticis die am Besten passende Lautsprecherbox aus und aktiviert diese.
3) CAB (Cabinet Modeling)
In thisem Bereich finden Sie Emulationen diverser Lautsprecherboxen mit ihren entsprechenden akustischen Charakteristiken.
Die Cabinet Modeling-Funktion bietet sich insbesondere dann an, wenn Sie keinen Verstärker angeschlossen haben (z.B. im Kopflörerbetrieb oder wenn das Signal direkt an ein Mischpult, einen Hardisk-Recorder oder ein anderes Audiogerät überführwt).


4) MOD
In thisem Bereich finden Sie Modulations- und Filtereffekte wie Chorus, Flanger, Phaser und Pitch Shifter.


5) DLY (Delay Modeling)
In dieser Bereich finden Sie Delay-Effecte mit räumlicher Wirkung, die Sie über die Delay-Zeit beeinflussen. Die Einstellung erfolgt durch zweimaliges Betätigten des Tap-Tasters im gewünschten Interval.

In thisem Bereich finden Sie Halleffekte, die Ihrem Sound zusätzlich räumliche Tiefe verleihen.


7) NR
(Noise Reduction/Rauschunterrückung) Via Drehregler stellen Sie das Maß der Rauschunterrückung ein.


Je hóher der Wert,esto stärker die Rauschunterdruk kung. Normalerweise sollen Sie eine Einstellung wahlen, bei der Sie bei leicht abgedämpften Saiten kein störendes Rauschen hören.

Wahlen Sie einen Ihrer Baß bzw. Tonabnehmer(n) entsprechenden NR-Wert.
Wenn Sie diesen Wert übermögig hoch einstellen, wird der Klang - abhängig vom angeschlossenen Gerät - möglicherweise vorzeitig abgeschritten. In dieser Fall sollenn Sie den Wert verringern.
8) TX (Infrarot-Sender)
Durch Druicken der ENTER/REC-Taste schalten Sie den Infrarot-Sender ein bzw. aus. Die Einstellungen des Infrarot-Senders gelten stets für alle Programme und bleiben auch nach Abschalten des Stroms erhalten.

Daueraktivierung des Infrarot-Senders bewirkt eine kürzere Lebensdauer der Batterien. Sollen Sie den SenderGPCADE nicht nutzen,empfehlen wir, die Funktion abzuschalten.
9) RENAME (Umbenennung)
Hier können Sie für jeder Programm einen Namefestlegen.
Die folgenden Zeichen können verwendet werden: Leerstelle, 0-9, A-Z, ", *, -I.


10) WRITE (Speichern)
Hier können Sie ein editiertes oder neu erstelltes Programm speichern. Wähln Sie mit dem Endlosregler den gewünschten Speicherplatz aus (nur User-Programme). Der Name des Programms, welches zur Zeit auf dem selektierten Speicherplatz vorhanden ist, wird kurz im Display angezeigt. Wenn Sie den Speichervorgung abbrechen wollen, betätigten Sie die -Taste, um eine andere Displayseite aufzurufen.
Wenn Sie die ENTER/REC-Taste betätigten, wird das editierte Programm gespeichert. Nach Ende des Spei
chervorgangs erscheint im Display für etwa eine Sekunde die Meldung „COMPLT“.

Bevor Sie ein editiertes Programm speichern, vergewissem Sie sich, daß Sie nicht versehentlich ein wichtiges Programm überschreiben, welches unter der selektierten Speichernummer vorhanden ist, da die vorhandenen Programmdaten überschieben werden und verloren gehen.
Esistnichtmoglich,alsSpeicherplatzein PresetProgramm zu selektieren.
3. Wiederherstellen der Werksprogramme
Halten Sie beim Einschalten des Geräts die RHYTHM-Taste und die -Taste gedrückt. Im Display erscheint die Meldung „RELOAD?".
SWenn Sie staat dessen die ENTER/REC-Taste betätigten, werden die Werksprogramme wieder in den User-Programmbereich geladen. Im Display wird kurz „RELOAD“, „VERIFY“, „COMPLT“ angezeigt. Danach erscheidt die Begrußungsanzeige.

Wenn Sie den Vorgang abbrechen wollen, betätigten Sie eine der EXIT-Tasten. In thisem Fall werden die Werksprogramme nicht wiederhergestellt. Der normale Einschaltbildschirm wird angezeigt, und das PX4B befindet sich im Play-Modus.

Schalten Ste während des Reload-Vorgangs (Wiederherstellen der Werksprogramme) niemals den Strom ab.

Beachten Sie, dass durch den Reload-Vorgang tatsächliche User-Programme und Einstellungen - auch die dauerhaft gespeicherten wie Master-Pegel, Infrarot-Einstellungen etc. - überschieden werden.
Fehlersuche
Wenn das PX4B nicht wie erwartet Funktioniert, überprüften Sie bereits zuerst die folgenden Punkte. Falls sich damit das Problem nicht lösen laßt, setzen Sie sich mit ihrer Fachhändler oder einem Korg Kundendienst in Verbindung.
1.Das Gerätläßt sich nicht einschalten.
- Sind Batterien eingelegt? Oder ist der Wechselstromadapter mit einer Netzsteckdose verbunden?
2.Keine Klänge hörbar
- Sind Ihr Baß, Ihr Versteller und/oder ihre Kopfhörer an die richtigen Buchsen angeschlossen?
- Ist Ihr Veränderer eingeschaltet und richtig eingestellt?
- Ist ein Kabel defekt?
- Ist Master Level des PX4B auf „0" oder einen niedrigen Pegel eingestellt?
-
Vergewissem Sie sich, ob der Lautstärkeregler auf die gewünsche Lautstärke eingestellt ist.
-
Ist das PX4B stummsgeschaltet? Wenn alle Effekte ausgeschalte sind, verschwindet die Effektketten-Anzeige und die Bypass- und Stummschaltung ist auf dem LCD-Display nicht mehr erkennbar.
- Ist die Lautstärke Ihres Instruments zusückgedreht?
3.Bei Einsatz des Infrarot-Senders ist kein bzw. nur ein verzerrtes Signal zu horen.
- Ist der Infrarot-Sender aktiviert?
- Haben Sie den Strom an Ihr dem drahtlosen Infrarot-Kopfhörer eingescheltet? Von Fall zu Fall kann ein verzerrter Klang auch auf individuelle Programmeinstellungen zurück zu führen sein. (Passen Sie den Master-Pegel und/oder den Pegel des jeweiligen Programms entsprechend an.)
- Befindet sich ein Hindernis zwischen dem PX4B und den Kopfhörorn?
- Ist der Sensor möglicherweise versPERT?
4.Die Lautstürke des an den AUX-Eingangen angeschlossenen Geräts ist zu hoch oder niedrig, oder das Signal ist überhaupt nicht zu hören.
- Stellen Sie die Ausgangslaufstärke am angeschlossenen Gerät ein. Verbinden Sie das Gerät über den Kopfhörerausgang (statt über die Summenausgänge) mit dem PX4B.
- EIst der Phrase Trainer-Modus aktiviert? Verlassen Sie den Phrase Trainer-Modus.
5.Das Signal scheint nicht mit Effekten bearerbeitet zu werden.
- Befindet sich das PX4B im Bypass-Modus (in this sem Fall blinken die Effekt-LEDs)?
- Werden die gewünschten Effekte im selektierten Programm verwendet?
6.Der Tuner Funktioniert nicht.
- Ist im Play-Modus die Bypass- oder Stummschaltung aktiviert?
Effektparameterliste
DYNA (Dynamikeffekte & Preamp-Modeling)
| TYP (▲/▼-Tasten) | VALUE (Endlosregler) | |
| COMP1 | Spezieller Compressor-Typ für einen konstanten Pegel und Sustain. | Empfindlichkeit. (1.0...10.0) |
| COMP2 | Ein Kompressor mit betontem Attack. | |
| LIMITER | Ein Kompressor/Limiter, der den Pegel begrenzt und dadurch eine höhere Lautstärkeeinstellung erhögblich. | Gibt das Kompression-sverhältnis an. (0...10.0) |
| DYNAEXC | Dynamischer Exciter-Effekt zur Beeinflussung der Anschlagstärke. (besonders geeignet, um Clean-Sounds höhereicher klingen zu halten) | Empfindlichkeit. (0...10.0) |
| OVERDRV | Overdrive-Effekt (Übersteuerung) für Bassgitarre. | Verzerrungsgrad. (1.0...10.0) |
| DIST | Distortion-Effekt (Verzerrung) für Bassgitarre. | Einstellung der Empfindlichkeit. (0...10.0) |
| FUZZ | Fuzz-Effekt (Verzerrung) für Bassgitarre. | |
| PREAMP1 | Vorverstärker, eingestellt für einen klaren Sound. | Klang-Regler. (0...10.0) |
| PREAMP2 | Vorverstärker, eingestellt für einen gedämpften Sound. | |
| BALANCE | Erzeugt den Klang der gemischten Ausgangssignale zweier Tonabnehmer. | |
| LOWCUT | Filter, das unerwänschte Bassfrequenzen ausfiltert. | Einstellung der Frequenz. (0...10.0) |
| Wirksam bei der Aufnahme. | ||
| FRETLES | Wirksam bei der Aufnahme. | Klang-Regler. (0...10.0) |
| SLOWATK | Simuliert einen bundlosen Bass. | Einstellung der Anschlaggeschwindigkeit. (1.0...10.0) |
| OCTAVE | Dieser Effekt erzeut ein Signal, welches um eine Oktave niedriger liegt als das Ursprungssignal. Beide Signale werden miteinander gemischt, wodurch der Sound runder und baßlastiger wird. Werden zwei oder mehr Saiten gleichzeitig angeschlagen, so arbeitet der Effekt möglicherweise nicht wie erwartet. Gleiches gilt beim Anschlagen von tiefen Saiten. | Effektpegel. (0...10.0) |
| RING | Erzeugt glockenantrige Klänge (Für einen möglichst klaren Ton verwenden Sie den Hals-Tonabnehmer, drehen den Klangregler ihrer Baß zurrück und schlagen die Saiten in der Höhe des 12. Bundes an.) | Einstellung der Freqenz. (1.0...10.0) |
| RINGUP | Ringmodulator mit dynamisch wechselnder Modulation entsprechend der Anschlagstärke. | Empfindlichkeit. (0...10.0) |
| RINGDWN | ||
AMP (Amp Modeling)
These Regler (BASS, MIDDLE, TREBLE, VOLUME) sind aktiv, wenn Sie die Verstärkersimulation (Amp Modeling) benutzen. Wenn Amp Modeling ausgeschelt ist „FX OFF“, ist nur der VOLUME-Regler wirsam. Wir empfehlen, die Amp-Simulation in Verbindung mit der Laufsprechersimulation (Cabinet Modeling) einzusetzen, wenn Sie über Kopflörer speilen, oder wenn Sie das Ausgangssignal direkt in ein Mischpult führen bzw. direkt aufnehmen möhen. Wenn Sie mit dem Amp-Modeling-Wahlschalter einen Verstärkotyp einstellen, währt der PX4B automatisch die am Besten passende Laufsprecherbox aus und aktiviert diese.
Die empfohlene Laufsprecherbox (in der folgenden Tabelle fett gedruckt) ist diejenige, die bei Auswahl des Verstärkers aktiviert wird.
Wenn Sie den Bass-Synthesizer (SYNTH) benutzen, Funktionieren diese Regler als OSCILLATOR-, FILTER-, DIRECT LEVEL- und SYNTH LEVEL-Regler.
| TYP(Pfeltasten ▲▼ oder Amp Modeling-Wahlschalter) | VALUE(Endlos- u.a. Regler) | |
| VALVE | Ein Röhrenverträger mit eingeschalteten ULTRA LO-Schalter.(empfohlenes CAB: CLS8X10) | BASS - TiefenMIDDLE - MittenTREBLE - HöhenVOLUME - AusgangslautstärkeEndlosregler - Mittenfrequenz (1...5) |
| VALVE2 | Ein Röhrenverträger, der sich ideal für Rockmusik eignet.(empfohlenes CAB: CLS8X10) | |
| CLASSIC | Ein Röhrenverträger, dessen Grundcharakter je nach Einstellungdes Endlosreglers verschiedene ist. (empfohlenes CAB: COMBI) | |
| SCOOPED | Ein Verträger, der sich für die typischen 80er-Sounds eignet.(empfohlenes CAB: MTL4X10) | |
| LA STUD | Ein Verträger, der sich für den typischen LA-Sound eignet.(empfohlenes CAB: LA 4X10, LA 1X18) | |
| GOLDPNL | Ein Verträger, der an seinem goldenen Bedienfeld und demcleanen Sound zu erkennen ist. (empfohlenes CAB: MDN4X10) | |
| JAZZ | Ein Combo-Verträger, der von Jazz-Bassisten bevorzug wird.(empfohlenes CAB: JAZ1X15) | |
| STUDIO | Ein ideal für den Motown-Sound geeigneterCombo-Röhrenverträger. (empfohlenes CAB: STU1X15) | BASS - TiefenMIDDLE - MittenTREBLE - HöhenVOLUME - AusgangslautstärkeEndlosregler - Pegeleinstellung (0...10.0) |
| AC100 | Ein 100-W-Röhrenverträger von Vox.(empfohlenes CAB: AC 2X15) | |
| UKMAJOR | Ein aus England stammender 200-W-Röhrenverträger.(empfohlenes CAB: UK 4X15, UK 4X12) | |
| SYNTH | Ein chromatischer Bass-Synthesizer. (empfohlenes CAB: UK 4X15) | Beachten Sieitte die folgende -Tabelle der Bass-Synth-Parameter |
Bass-Synth-Parameter
| Ossillator-Ausbahl:0...15 (BASS-Regler) | 0: S.w.f., 1 Oktaven tiefer.2: S.w.f. (Sagezahlwellenform)4: S.w.f., 1 Oktaven hoher.6: S.w.f., 2 Oktave hoher. Die Ossillatoren 8...15 entsprechen den Ossillatoren 0...7 mit Portamento. | 1: S.w.f. mit Resonanz, 1 Oktave tiefer.3: S.w.f. mit Resonanz.5: S.w.f. mit Resonanz, 1 Oktave hoher.7: S.w.f. mit Resonanz, 2 Oktaven hoher. |
| VCF-Steuerung: 0...10.0(MIDDLE-Regler) | Einstellung VCF-Ansprache (VCF = Voltage Controlled Filter)0...4.7 = positiv (+); 5.0...10.0 = negativ (-); | |
| "Direct"-Pegel: 0...10.0(TREBLE-Regler) | Lautstärkeeinstellung Baßsignal. | |
| Synth-Pegel: 0...10.0(VOLUME-Regler) | Lautstärkeeinstellung Synth-Signal. | |
| Threshold-Einstellung:1.0...10.0 (Endlosregler) | Einstellung der Synth-Empfindlichkeit in Abhängigkeit von der Lautstärke des Baßsignals (entsprechend Baß - und Tonabnehmertyp). | |

Der Bass-Synth-Modus eignet sich ausschließlich für einzeln gespielte Noten, nicht für das Akkordspiel.

Wenn Ihr Instrument nicht korrekt gestimmt ist, können die Ergebnisse these Effektus unsauber klingen. Stimmen Sie in thisem Fall Ihr Instrument neu.
| TYP (▲/▼-Tasten) | VALUE(Endlosregler) | |
| LA 4X10 | Lautsprecherbox mit vier 10-Zoll-Chassis (LA-Sound). | PRESENCE: Höhenregelung (0...10.0) |
| MDN4X10 | Moderne Lautsprecherbox mit vier 10-Zoll-Chassis. | |
| MTL4X10 | Lautsprecherbox mit vier 10-Zoll-Aluminiumchassis. | |
| CLS8X10 | Klassische Lautsprecherbox mit acht 10-Zoll-Chassis. | |
| UK 4X12 | In England hergestellte Lautsprecherbox mit vier 12-Zoll-Chassis. | |
| STU1X15 | Studio-Combo-Gehäuse mit einem 15-Zoll-Chassis. | |
| JAZ1X15 | Jazz-Combo-Gehäuse mit einem 15-Zoll-Chassis. | |
| AC 2X15 | Lautsprecherbox mit zwei 15-Zoll-Chassis für den Vox AC100. | |
| US 2X15 | In den USA hergestellte Lautsprecherbox mit zwei 15-Zoll-Chassis. | |
| UK 4X15 | In England hergestellte Lautsprecherbox mit vier 15-Zoll-Chassis. | |
| LA 1X18 | Lautsprecherbox mit einem 18-Zoll-Chassis (LA-Sound). | |
| COMBI | Lautsprecherbox mit einem 12-Zoll-Chassis und einem 18-Zoll-Chassis. | |
| TYP (▲/▼-Tasten) | VALUE (Endlosregler) | |
| CHORUS1 | Vintage-Chorus mit Ausgabe des Effektsignals über den linken und des Direktsignals über den rechten Kanal. | Einstellung der Modulationsgeschwindigkeit. (0.1...10.0 [Hz]) |
| CHORUS2 | Ein klassischer Stereo-Chorus für Bassgitarre, der die Phase des Effektklanges zwischen linkem und rechtem Kanal vertauscht und dem Sound so mehr Raumfülle verleht. | |
| TYP (▲▼-Tasten) | VALUE (Endlosregler) | |
| FLANG1, 2, 3 | Klassische Flanger für Bassgitarre, die dem Sound „Zischklänge“ hinzufügen. (1, 2 und 3 haben Feedback-Einstellungen von jeweils 0%, 22% und 60%). | Einstellung der Modulationsgeschwindigkeit. (0.1...10.0 [Hz]) |
| FLANG4 | „Auto-Wah“ (automatisch geregelter Tiefpassfilter) mit positiver Polarität und deutlicher Frenzspitze. | |
| PHASER1 | Bekannter vierstufiger Vintage-Flanger. | |
| PHASER2 | Vierstufiger Vintage-Flanger mit extra fetten Mitten. | |
| PHASER3 | Zehnstufiger,dezenter Vintage-Flanger. | |
| U-VIBE1 | Pedal Vibe-Emulation. (Chorus) | Einstellung der Modulationsgeschwindigkeit. (1.0...10.0 [Hz]) |
| U-VIBE2 | Pedal Vibe-Emulation. (Vibrato) | |
| TREM1 | Dezenter Tremolo-Effekt. | |
| TREM2 | Typischer Tremolo-Sound von verstärkern. | |
| TREM3 | Intensiver Tremolo-Effekt. | |
| AT PAN1 | Auto-Pan (LFO: Rechteckwelle ☑) | Modulationsgeschwindigkeit (0.1...10.0 [Hz]) |
| AT PAN2 | Auto-Pan (LFO: Sinuswelle ☑) | |
| ROTARY1 | Leslie-Simulation ("Rotary Speaker") | Modulationsgeschwindigkeit (1.0...10.0 [Hz]) |
| ROTARY2, 3 | Leslie-Simulation mit dynamischer Steuerung der Rotorsgeschwindigkeit. Typ 2: schaltet bei steigender Spieldynamik von langsam nach Schnell. Typ 3: schaltet bei sinkender Spieldynamik von langsam nach Schnell. | Einstellung des Umschaltpegels für die Rotorsgeschwindigkeit. (1.0...10.0) |
| PITCH1, 2, 3 | Pitch shifter. (PITCH1, 2, 3 entsprechenden sich im Pegel des Effektklangs.) | Stärke der Tonohöhenverschiebung. (-24, -17, -12...-1, -d, d, 1...12, 19, 24) (d = Verstimmung) |
| TYP (▲/▼-Tasten) | VALUE (Endlosregler) | |
| MAJ3UP | Intelligenter Pitchshifter; (große Terz höher). | Die Grundtonart muß spezifiziert werden. (Do, Do#...La#, Si) |
| MAJ3DWN | Intelligenter Pitchshifter; (große Terz tiefer). | |
| MIN3UP | Intelligenter Pitchshifter; (kleine Terz höher). | |
| MIN3DWN | Intelligenter Pitchshifter; (kleine Terz tiefer). | |
| PER4TH | Intelligenter Pitchshifter; (Quarte höher). | |
| PER5TH | Intelligenter Pitchshifter; (Quinte höher). | |
| MAJ6TH | Intelligenter Pitchshifter; (Sext höher). | |
| FEEDBK1, 2 | Feedback-Generierung (setzt ein, wenn eine Note über einen längeren Zeitraum gehalten wird). Typ 2: Feedback eine Oktave höher. | Einstellung des Effektpegels. (0...4.7) Einstellung der Vibratointensität. (5.0...10.0) |
| FEEDBK3, 4 | Feedback-Generierung (konstanter Verlauf bei gehaltener Note). Typ 4: Feedback eine Oktave höher. | |
| FILTER | Tiefpassfilter | Einstellung der Frequenz. (1.0...10.0) |
| FILTUP1 | Tiefpass-Auto-Wah mit positiver Polarität. | Einstellung der Empfindlichkeit. (0...10.0) |
| FILTUP2 | „Auto-Wah“(automatisch geregelter Tiefpassfilter) mit positiver Polarität und deutlicher Frequenzspitze. | |
| FILTDN1 | Tiefpass-Auto-Wah mit negativer Polarität. | |
| FILTDN2 | „Auto-Wah“ (automatisch geregelter Tiefpassfilter) mit negativer Polarität und schneller Reaktion. | |
| TALK | „Talk Box“-Effekt (.Sprechende“Baß”). 1:YAH-YAH, 2:U-WAH, 3:YOI-YOI, 4:YEAH | |
| RANDOM | Random Step-Filter mit Zufallsteuerung der Filterbewegungen Typ 1, 2, 3 und 4 mit entsprechenden Frenzbereichen. | Einstellung der Modulationsgeschwindigkeit. (1.0...10.0 [Hz]) |
| 1, 2, 3, 4 | ||
Der „Intelligente Pitchshifter“
Der intelligente Pitchshifter erzeugt musikalisch passende Harmonien durch eine Varierung der Tonhöhenverschiebung im Verhältnis zu gespielen Note und Tonart. Wenn Sie beispelsweise einen Pitchshifter selektieren, der die Harmonie „große Terz hörer" erzeugt (MAJ3UP), wird die Tonhöhenverschiebung automatisch je nach gespielter Note zwischen einer kleinen Terz (drei Haltbönen) und einer größter Terz (vier Haltbönen) variieren.
- Wenn MAJ3UP mit der Grundtonart C verwendet wird:

Die Tonhöhe wird in (Klammern) angezeigt.
Das PX4B bietet sieben verschiedene Typen des intelligenten Pitchshifters mit den Intervallen Terz (3), Quarte (4), Quinte (5) und Sext (6). Bei der Terz konnen Sie auswahlen, ob eine petite Terz (Molltonart) oder eine große Terz (Durtonart) erzeugt werden, und ob der erzeugte Ton tiefer oderHigher als der Originalton liegen soll.

Wenn Ihr Instrument nicht korrekt gestimmt ist, können die Ergebnisse these Effektus unsauber klingen. Stimmen Sie in thisem Fall Ihr Instrument neu.

Der intelligente Pitchshifter arbeitet nur korrekt, wenn Sie einzelne Noten spielen. Der Effekt ist nicht für Akkorde verfügbar.
Die einzelnen Delay-Type (1, 2, 3, 4 und 5) untersenden sich u.a. in Bezug auf ihre Feedback-Werte.
Die gewünschte Delay-Zeit bestimmten Sie durch zweimaliges Betätigen des Tap-Tasters im gewinschten Interval (SLAP max. 500 ms, MULTI max. 2 s). Um sich den jeweiligen Wert anzeigen zu halten, halten Sie den Tap-Taster gedrückt.
| TYP (▲/▼-Tasten) | VALUE (Endlosregler) | |
| SLAP1, 2, 3, 4, 5 | Slap-Delay (Delay-Zeit beträgt 1/4 des via Tap-Taster eingegebenen Intervalls). | Effektpegel(0...10.0) |
| DELAY1, 2, 3, 4, 5 | Stereo-Delay | |
| PPDLY1, 2, 3, 4, 5 | Ping-Pong-Delay („Dual-Tap-Delay“ mit zweifachem Signalabgriff;lässt den Sound zwischen links und rechts hin und her „wandern“). | |
| ECHO1, 2, 3, 4, 5 | Bandecho-Simulation füryersonders warmen Sound. | |
| MULTI1, 2, 3, 4, 5 | Spezielle Stereo-Bandecho-Simulation (zwei Tonköfe) für das Extra an räumlicher Tiefe. | |
| TYP (▲/▼-Tasten) | VALUE (Endlosregler) | |
| DRYAIR | Hall-Effekt, der ein Gefühl extrem trockener Luft erzeugt. | Effektpegel (0...10.0) |
| WETAIR | Hall-Effekt, der ein Gefühl extrem feuchter Luft erzeugt. | |
| ROOM1 | Besonders hohenreicher Room-Effekt. | |
| ROOM2 | Sanfter Room-Effekt. | |
| PLATE1 | Harter Plate-Effekt. | |
| PLATE2 | Besonders hohenreicher Plate-Effekt. | |
| HALL1 | Raumtyp: mittelgroße Halle. | Effektpegel (0...10.0) |
| HALL2 | Raumtyp: große Halle. | |
| SPRING1 | Typischer verstärker-Federhall. | |
| SPRING2 | Besonderss dichter Federhall. | |
Parameterliste der Preset-Programme
| No. | Name | No. | Name | No. | Name | No. | Name | No. | Name |
| 1 | STUFUNK | 11 | 7 PITCH | 21 | FUZZY | 31 | JAZZ | 41 | ECHORUS |
| 2 | STUFING | 12 | ROTARY | 22 | KLEEN | 32 | SCI-FI | 42 | THUMPER |
| 3 | STUCORD | 13 | FLANJET | 23 | BLUES | 33 | MOTOWN | 43 | CLEANX |
| 4 | STUHARM | 14 | FILTERD | 24 | FRETLES | 34 | BUBBLES | 44 | SOLO |
| 5 | STUSOLO | 15 | PHASOLO | 25 | REPEAT | 35 | METAL | 45 | DISFLANG |
| 6 | BONEHED | 16 | OCTOREV | 26 | SYNTHEE | 36 | COUNTRY | 46 | OCTOWAH |
| 7 | TAPROOM | 17 | SLAPIT | 27 | TALKER | 37 | RNB | 47 | BLUEZY |
| 8 | OCTBASS | 18 | CITYDLY | 28 | CHORUS | 38 | PANSOLO | 48 | SNARL |
| 9 | OVERDRV | 19 | DISTORT | 29 | PICKER | 39 | VALVERY | 49 | CANYON |
| 10 | STUWAVE | 20 | DRIVEN | 30 | SWIRLEY | 40 | FAXMAN | 50 | THUMB |
b:Takt (beat) m:Anzahl der Takte
Auflistung der Rhythmus-Patterns
| No. | Name | b | m | No. | Name | b | m | No. | Name | b | m | No. | Name | b | m | No. | Name | b | m |
| 1 | METRO1 | 2/4 | 1 | 21 | 8SHFL3* | 4/4 | 2 | 41 | 7/4 2 | 7/4 | 1 | 61 | MOTOWN | 4/4 | 1 | 81 | 8FILL7 | 4/4 | 1 |
| 2 | METRO2 | 2/4 | 1 | 22 | 16BT1 | 4/4 | 1 | 42 | 6/8 1* | 6/8 | 2 | 62 | REGG1* | 4/4 | 2 | 82 | 8FILL8 | 4/4 | 1 |
| 3 | METRO3 | 3/4 | 1 | 23 | 16BT2 | 4/4 | 1 | 43 | 6/8 2* | 6/8 | 2 | 63 | REGG2 | 4/4 | 1 | 83 | BLUEFIL | 4/4 | 1 |
| 4 | METRO4 | 4/4 | 1 | 24 | 16BT3 | 4/4 | 1 | 44 | BALLAD | 4/4 | 1 | 64 | REGG3* | 4/4 | 2 | 84 | MTLFILL | 4/4 | 1 |
| 5 | METRO5 | 5/4 | 1 | 25 | 16BT4 | 4/4 | 1 | 45 | BLUES | 4/4 | 1 | 65 | COUNTRY | 4/4 | 1 | 85 | 8BRK1 | 4/4 | 1 |
| 6 | METRO6 | 6/4 | 1 | 26 | 16BT5 | 4/4 | 1 | 46 | OLDIES | 4/4 | 1 | 66 | BOSSA* | 4/4 | 2 | 86 | 8BRK2 | 4/4 | 1 |
| 7 | METRO7 | 7/4 | 1 | 27 | 16BT6 | 4/4 | 1 | 47 | 70ROCK | 4/4 | 1 | 67 | SAMBA1 | 4/4 | 1 | 87 | 8BRK3 | 4/4 | 1 |
| 8 | 2-3CLV | 4/4 | 1 | 28 | 16BT7 | 4/4 | 1 | 48 | METAL1 | 4/4 | 1 | 68 | SAMBA2 | 4/4 | 1 | 88 | 16FILL1 | 4/4 | 1 |
| 9 | AFRICAN | 4/4 | 1 | 29 | 16BT8 | 4/4 | 1 | 49 | METAL2 | 4/4 | 1 | 69 | SONGO | 4/4 | 1 | 89 | 16FILL2 | 4/4 | 1 |
| 10 | 8BEAT1 | 4/4 | 1 | 30 | 16BT9 | 4/4 | 1 | 50 | DANCE1* | 4/4 | 2 | 70 | LATIN1 | 4/4 | 1 | 90 | 16FILL3 | 4/4 | 1 |
| 11 | 8BEAT2 | 4/4 | 1 | 31 | 16SHF1 | 4/4 | 1 | 51 | DANCE2 | 4/4 | 1 | 71 | LATIN2 | 4/4 | 1 | 91 | 16FILL4 | 4/4 | 1 |
| 12 | 8BEAT3 | 4/4 | 1 | 32 | 16SHF2* | 4/4 | 2 | 52 | DISCO1 | 4/4 | 1 | 72 | TANGO | 4/4 | 1 | 92 | 16FILL5 | 4/4 | 1 |
| 13 | 8BEAT4* | 4/4 | 2 | 33 | 16SHF3 | 4/4 | 1 | 53 | DISCO2 | 4/4 | 1 | 73 | POLY | 4/4 | 1 | 93 | 16FILL6 | 4/4 | 1 |
| 14 | 8BEAT5* | 4/4 | 2 | 34 | 16SHF4* | 4/4 | 2 | 54 | EURO | 4/4 | 1 | 74 | NEWRNB* | 4/4 | 2 | 94 | 16FILL7 | 4/4 | 1 |
| 15 | 8BEAT6 | 4/4 | 1 | 35 | 16SHF5 | 4/4 | 1 | 55 | FUNK1* | 4/4 | 2 | 75 | 8FILL1 | 4/4 | 1 | 95 | 16FILL8 | 4/4 | 1 |
| 16 | 8BEAT7 | 4/4 | 1 | 36 | 3/4* | 3/4 | 2 | 56 | FUNK2* | 4/4 | 2 | 76 | 8FILL2 | 4/4 | 1 | 96 | LINEAR | 4/4 | 1 |
| 17 | 8BEAT8 | 4/4 | 1 | 37 | 3/4 SHF* | 3/4 | 2 | 57 | FUNK3 | 4/4 | 1 | 77 | 8FILL3 | 4/4 | 1 | 97 | SHUFILL | 4/4 | 1 |
| 18 | 8BEAT9* | 4/4 | 2 | 38 | 5/4 | 5/4 | 1 | 58 | JAZZ1* | 4/4 | 2 | 78 | 8FILL4 | 4/4 | 1 | 98 | 16BRK1 | 4/4 | 1 |
| 19 | 8SHFL1 | 4/4 | 1 | 39 | 6/4 | 6/4 | 1 | 59 | JAZZ2 | 4/4 | 1 | 79 | 8FILL5 | 4/4 | 1 | 99 | 16BRK2 | 4/4 | 1 |
| 20 | 8SHFL2 | 4/4 | 1 | 40 | 7/4 1 | 7/4 | 1 | 60 | AFRO | 4/4 | 1 | 80 | 8FILL6 | 4/4 | 1 | 100 | 16BRK3 | 4/4 | 1 |
Technische Daten
- Effektvariation: 122 Effektvariationstypen (maximal 7 Effekte gleichzeitig erzeugbar)
- Programmanzahl: User-Programme: 50, Preset-Programme: 50
- Eingang: BaBeingang (1/4"-Buchse) AUX (Mini-Stereoklinkenbuchse)
Ausgang: Line/Kopflörer Mehrzweck-Ausgang (1/4" Stereo-Buchse) - STuner-Sektion: Erkennungsbereich: 27,5 Hz–2.093 Hz (A0...C7) Kalibrierung: A = 438–445 Hz
Rhythm & Bass-Sektion: 40-208 BPM - Infrarot-Sender: Modulationtyp Frequenzmodulation, Trägerfrequenz (rechts/links) 2,8 MHz / 2,3 MHz
- Stromversorgung: vier AAA-Batterien
10 Stunden Dauerbetrieb: Infrarot-Sender OFF, Hintergrundbeleuchting OFF) 5 Stunden Dauerbetrieb: Infrarot-Sender ON, Hintergrundbeleuchting OFF) optional erhältliches Netzerat (DC4.5V 一
Abmessungen (BxTxH): 76mm× 112mm× 27mm
Gewicht: 138g(ohne Batterien)
- Lieferumfang: Bedienungsanleitung, vier Batterien (Alkaline, Typ AAA/Mikrozelle 1,5 V), Gurt Halter
- Optional erhältlich: Netzeil
Änderungen, die dem technischen Fortschrift dienen, können jederzeit ohne Ankündigung vorgenommen werden.
IMPORTANT NOTICE TO CONSUMERS
WICHTIGER HINWEIS FÜR Kunden
Dieises Produkt wurde unter stronger Beschäftung von Spezifizationen und Spannungsanforderungen hergestellt, die im Bestimmungsland gelten. Wenn Sie diesen Produkt über das Internet, per Postversand und/oder mit Telefonischer Bestellung gekauft haben, müssen Sie bestätigten, dass diese Produkt für Ihr Wohngebiet ausgelegt ist.
WARNING: Verwendung dieser Produkte in einem anderen Land als dem, für das es bestimmt ist, verwendet wird, kann gefährlich sein und die Garantie des Herstellers oder Importeurs hinfällig halten werden.itte bewahren Sie diese Quittung als Kaufbeleg auf, da andernfalls das Produkt von der Garantie des Herstellers oder Importeurs ausgeschlossen werden kann.

Schieben Sie den Gitarrengurt durch die Gurthalterung.
Schieben Sie den hervorstehenden Teil (A) der Gurthalterung in die Aufnahme (B) auf der Rückseite des PX4/px4B.


Schieben Sie farther in Pfeilrichtung (a) bis die Verriegelung (C) deutlich einrastet.

Überprüfen Sie durch leichtes Rütteln des PX4/PX4B, ob der Schließmechanismus wirklich fest sitzt.
Removal / Retrait / Lösen der Gurthalterung
Zum Lösen der Gurthalterung drücken Sie die Verriegelung (C) in Pfeilrichtung (b) nieder.

Schieben Sie den PX4/PX4B anschließend in die entgegengesetzte Richtung wie unter "Befestigen der Gurthalterung" beschreiben undziehen Sieihn von der Gurthalterung ab.
EinfachAnleitung