LKG1843 - ψυγείο Leonard - Δωρεάν εγχειρίδιο χρήσης
Βρείτε δωρεάν το εγχειρίδιο της συσκευής LKG1843 Leonard σε μορφή PDF.
Κατεβάστε τις οδηγίες για το ψυγείο σε μορφή PDF δωρεάν! Βρείτε το εγχειρίδιό σας LKG1843 - Leonard και πάρτε ξανά την ηλεκτρονική σας συσκευή στα χέρια σας. Σε αυτή τη σελίδα δημοσιεύονται όλα τα έγγραφα που απαιτούνται για τη χρήση της συσκευής σας. LKG1843 της μάρκας Leonard.
ΕΓΧΕΙΡΊΔΙΟ ΧΡΉΣΗΣ LKG1843 Leonard
Φροντίδα και καθάρισμα
35
TivaKavEe av...
EykataoTaon
37
OópuβoI
38
Texvika xapaonpiotiká
41
Yπókeitai aε αλλayες χωpiς προειδποίηση.

O△HΓIEΣ ΓIA THN AΣΦΑΛΕΙA
Xapn Tns aospalaeic oac kai yia va ega-
oipaiotei n owtn xpno, piv Tnv Eyka- taotan kai Tnv Pwtn xpon tnc ou-
oekunc, diaaote TTPOOeKTikca auto to EYxepio xpoTn, ouptiaauavouevuv Twv ouubouawkaiTwv PtoEboToin-
oeuw Tou. Ia Tnv atopuyn Tepittwv Aa-
twv kai atuxnpatwv, evai onmuavtiko va
eaoqalioeTE otla Ta atotaau xpnoi-
pOTIOUUV TN OUsKEUN yywpicouv KaA Tn
AEIToupyia TNS kai Ta xapakntpiotika
aoqalieac Tns. DualeTc ig oyniecs autec
kai Bepaiowte OTI napapeovuv ME tn OUsKEUn eav metakivnTe i nnWAnthei, etoi
wote OTTOOOHNTOTE Tn xpnoiOToIOnei
kata Tn diapkeia Tns zwnc Tns va evai ow-
ta evnpewevoc ia Tn OUsKEUn kai Tnv
oopaia.
Tia Tnv aopalaia TnC ZWnc KAI TnC TEPIOU Oias, PuAaTe TIC PPOUaEic autuv Twv oyniw xpnoNc EITeIDo kataoKEuaOTnC Dev epei EuOUVyia Znmuic Tou Oa TPOKAnToov aTTOpaaEiyeiC.
Aσφαλεια παδιών και ευπαθών ατόμων
Houkeun autn dev ppoipzetai yia xpnoa nto atoa (oumupeiaaubavouevwv twv taioiv) u e uveyn oomega tkn n TVEuataikn kavotnta n EAAeun EPTIpaic kai yywnc, EKToc kai eav ETTBETovra n exouv aeoi onyiecs oxetik a eTn xpnoan ts c ouakeunc ato aToo uteuvo yia tvn aoopaia touc Ta piaia npentie va enoTTeuvtaiwotva eaaopalizetai ot i dev naiouv u e tn ouakeun.
KpatnoTe ola ta uIka Tns oukeuaiaac paKpia aTTO Ta TnaiDi. YIapxE1 KivDuvoc aoquxiac.
Eav aToppiye Tn ouokeu, yaale to 4tou nAektpiko KALWdiou aTTOV
TpiZa, KoYTe To KaIawio SuVdoOnc (Ooo TIOpeTE TIO KOTaN OoKEUn) KAI aPapEOTe TIV TIOPTA VIA VA TNV AITOPUvN NkTPOIIAnxiac N TAYIDeuONs MEOA OTN OoKEUn TAIOWV TOU TAIQouv.
Eav n ouokekun, n oTioiadeltaeI ayvntiká laoTIx a TOpTac, 0a avTKataoTnoeI mia Taaiaotepn ouokekun e avdaLo OTNV TIOPTa n TO kATAKI, mny Tapaale-psiTE va kataoTppeyETO avdaLo TpoTOU aToppipyeTe Tnv TAAIA OUKeUn. Me auto tov tpOTTOA aTTOPpeyETe Tn μetatpottou yuyeiou 0e thavaoiun TTayida yia TAIIDA.
Evikcs PAnpoopiecs yia Tny aaoaaleia

PPOEIADONIOIHsH
iatnpéite a aTó i oλa Ta avoiyuata aepioou oTo Tepiβλnμa Tns OoKEunç n Tnv EVTOIXOeVn KATAOKeun.
H ouokeu npoopiEa iia pfuaen tropipuov n/ka avauuktkwv evoc ouvnoiou voikokupoiu kai npapooiwv eapoywv, oTWC:
-oi Xwpoi KOUzivac TPOOWTIKOU Oe KaTaoTnmuata, ypaqia kai aAa εpyaσiakα TepiβaAovTa,
-oi aypoikiec kai oi TELATEC 0E EEvOxo, oTeA kai aa oIKIOKIA TEPiBaalovTa,
- Ta TEPiβáλλovTα TúTou Tavoióv (για UTTvo KαI Tpωivó),
- n ouλloyikn εσiασn kai πapóμoicε εφapμoyες μη λιανikns πωλησης.
Mx npoiotoiie tynavikc ockeu c n aaaa TeXVnta eo a y Tnv EITaxuvon Tns diakaoiaac xaywatoC.
Mx npoiopoioieite aaiies nkeptipkec ouokuecs (oTWC TAYWTOUNXavc) OTO EOWTEPIKO yUKTIKW V OUKKUW, EKTOS
av eivai yekepiuevec yi TO OKOTTO auto aTTOV kataaekuaotn.
Mny Tpokaalezeta oTo Kukawu KaKTIKO uypou.
To yuktiko 1o0boutavio (R600a) Toun TEpiexTai OTO KUKwma yuktikou Uypou Tns OUskeunc, Eivai Ev a quikoc aepio uynlo ETTe do TepiaalovtknC oubetaTotntac, to otoio, wotoo, Eivai Eupkto.
Kata tn etaopacai EykataoTaon Tns Ouakeun,betaaiwtheta otivpoka- Aitai znui aE kaveva eaptnma tou KukawatocpsiKTIOU ypou.
Eav πpokληθεί ζημίστο κύκλωμα ψι-KTIKOύ uypou:
- aTIOΦUyETE TIG YUμVεC φλOγεC KAI TIG TnγεC avαφλεξης
- ka'a to xwpo oToV oToio p i o k t a i n o u o k e u n
H oTioaOHTIOTE aAAayn TOWV TExvIKWY XapaktnpiotIKwv n TPOITTOINOn auTou Tou TPOIOVTOc Eivai ETIKIVDuvN. EAV TO KAALWDIO UTOATEI OTIOAONOTE Znmu, MTopei va TpOKAnThei BpaXukkawma, TUPKAYI / ai NkEKTPOTTANxi.
I IPOEIAOIOIH Hia TnV aTTOQUyN KIVduvWv, n avTKataoTaon Twv nAek- TPIKw EApntmuTsw (kawdo Tpofo- Dosa, qic, ouuTIEOTnc) TpeTEi va YI VETAI aTTO TIOToINmuEvo AVTTpOsw- TIO n aTTO kATaPTIOmuEvo TTPOOWTIKO ePbIc.
- To kaλωδio tpoφoδoσiας δεν πρε-πειν επιμηκύνεται.
- PooeEve a n ouvthetai n va mnu UTOOTcI Znmu To qic Tpoopodoc ag OTO TIOw epoC tns oukeunc.Eav TO qic Tpoopodoc ag ouvthetai n UTOOTcI Znmu, EvexTai va UTEp- 0epmuavthetai kai va TpokaeeiTup- kayia.
- Bεβαιωθείτε ΟΤΙ ἐχετε πρόσβαοη ΟΤΟ φις τροφοδοσίας Πής συσκεύης.
- Mny Tpaatae To Kaawdo Tpoopodooiac.
-
Eav n nλεκτρικ πρία εΙναι xαλαρή, μην εἰσάγετe to φις. Yπαρχει κύνουνος nλεκτροΠληξίας ἡ πρόκλησης πιρκαγίας.
-
H ouokeu n dev TpEe va xpnoiopoTIOeIa XwpiC To kALmu a Tou aAPTTnpa TOU eOwTePIKoU oWTIoou (av TpoBLeTetai).
H ouokueun eivai bapiia. PpTei va Tpo-oxeTE KAt a TN taoopa Tns.
Mny aqapieite kai mny ayyizte avtikei- meva oTo thalaoTnC katauusngavTa xepia oac eivai vwtna/βpEymuva, katheta i TIOpei va TPOKAnOouv EKOpec OTO epua n KpuoTaynma.
- Aποφεύγετε Νγν παρατεαμένη ἐκθεση Σις συσκεύης ΠΟ τό αμεσο ηλίακό φως.
Olaantnpes Tnou xpoiooiouvta 0e autn tn oukeun (ev npoBtovta) iVai aantnpes EIOKOu OKOTou,ETIeYmuvoia xpon movy oE oikiaKcG OsKeuEs. ivai katalnnloi yia wti- oikiakwv xwpwv.
Kaθημεριν xρήση
Mny toTIOtheTEITE ZeOTcKATOaPOAeC OTA TAAOTiKa Mepn Tns OUOKeUns.
Mny u a 0 T E EUΦAεKTa aεpia kai uypα OTn OuaKEuñ ETTEiδn μTOpéi va εKpaoyouv.
Mny toTIOtheta tpoqima aTneuOeiac oE Etnaepn m Tnv Exodo aepa OTO niowtoiXwma. (Eav n oukeun evai Frost Free.)
Ta kATEUyEva TpOPIa Ev TpETeI va KaTauXovTAl KAI TAL afou aTOUxOuv.
AIOeE Ta PPOOaKuaoEv a KaTEuvyEv a TpOPIa OUPOwVa E Tc ONYIEc Tou kataoKEuaotn Yia KATEuymuEv a TpOPIa.
Oa TpEITeIva TnpouvTai auotnpa oI ouoTaoei c aTIOhKeUoNcTwv TapaaKeua-OTwV TnC OoKEUnc. AvatpeTe OTIC OxETIKEc oDnyieC.
Mny tootheite avpakouxa nota otov katauKtn efoov oyioupyeitai TIEO n 0to doxio, to oToio uTOpEi va ekpayei, TPOkaawVtac Znmuic stn oukeun.
Ta TAYTATUINOU EULAKI YPAVITA MTOpei va TPOKALESOUV EYKAUMATA aTIO TAYO EAV KATAVALWOTUV aTTUeTHEIAc aTIO TN OUGKEUN.
Φpovtida kai kaθαρισμός
Piiv aTn Tn ouvtnpon, aTVEpyoToin-ote Tn OoKEun KAI aTIOuVDEOTe TO pIC TPOPOOiaC aTTO Nv Pici.
Mny kaapizetn ouokeuun eTAAIkaavtkeiEva.
Mn xpnoiioTOIEe aixmuavtikeieevyia va apaipeite tov npo ano tn ouokuen. XpnoiIOIEe TAAOTIKn EUGTpa.
- Eλέγχετε τακικα την αποστράγγίοι του υμύειου για εύρο απόμεξης. Eavirus έρειαστεί, καθαρίσετε την αποστράγγίοι. Eavirus αποστράγγίοι εἶναι φραγμένη, θα συσωρεύεται εύρο στο κατω μέρος της συσκεύής.
EykataoTaon
SHMANTIKO Tn ouvdoon Tou nAekptikou aokoutheta TPOOEKTiKa TIG oynieC Tousdivovtai otic avTioixe Tapaypaouc.
AIOOuOKeuaote Tn OoKEun KAI EeYTe av Exei UTOtei ZnuiEc. Mn ouvdeTe Tn OoKEun EAV Exei UTOtei ZnuiA. AvapepeTe aueowc Evexómevec ZnuiEc oTo uepoc otou ayopaoate Tn OoKEUn. Ze autn Tnv TEPiTTwo, pfalaTe Tn OoKeuia.
Eivai OKOITIOVA TEPiEvETTOAUAXIOTOVduo wpeC TPOTOUUVDeOeTn OUAKEUn, WOT EAAIO VA ETNIOTpepsiKAI PAI OTO OUMTIeOTn.
- Θα πρεπειναυπάρχει επαρκήκUKλοφοία του αέρα γύρω από τη συσκεύπ. Διαφορετικα θα προκληθειυπερθέμανση. Για τήν επίτευξη επαρκούς κukλoφοίας αέρα ακολούθόπε τις σχετικός έθηγίες τής εγκατάστασης.
OTOTE Eivai duvato, n TALATn Tns Ou- OKeunc TTpeTl va Bpioketai Kovta oToixo yia Tnv aTPOuyn ETTaPnc n TiaoimuTOG e Zeota epn (ouptieotns, ou
AEITOYPTIA
EvcpyotoiOn
Sigma to 0TnV pia.
Piopte to puOtiotn 0epoKpaia a 0e iA mtipau pUthion.
ATEVEpyoToin
Tia va aTevEpyoToine i n oukeun, Tepi- stpeTTo puOuotn Eepoukpaocac otn "O".
μTUKVwTnc) kai TnC TTiθavOTntac EykauμaTOc.
H oukeun dev pentei va tototheitai Kovt a e oomega tkaolopipep npoup-. vouc.
Bεβaiωθειe oTI uπápyεI εúkoλn προσβaση στο φις tpoφoδoσiaç μετα ην εγκατασtaση ηις συσκεύnc.
- Suvδεετη Σιοκευή μόνο σε παροχή πόσιμου vερού (εάν προβλέπεται σύνδεσην ερού).
Σερβις
Oi nEeKtpoAoYiKec Epyaoie Tou aTaitouvtai yia to oepic tsc ouokueugc tha TpeTTe i va kTeAouVTai aTIO eTTayveAuaTia nEeKtpoAoYo n ao Eioiko.
To npoiov auto a pTTEI va ETIOKeua- zetai ano ExouoiOoTnueva Kevtpa ZepBic, evw a npETEi va xpnoiopoiouovta i movo yvnoia avtaaaktik.
PpOToaia Tou TepiBaAovToC
H ouokun autn dev Tepiexiaepia ta oTioa ntopoov va Tpokaoleouv nmu aTO OTPWUa Tou OZovToC, EITE OTO Kukwma uKTIKOU uyou n Ota mowtikauuikata. H ouokun deo aTpeTTIva atoppittetai mazi me Ta oikiaac atoppipmuata. O aphioc movwns piexei uvarapkctaaepia: H ouokun tha TpETe va atoppittetai ouqwva e Touc 1oxuovtes kavovioouc Toutheta aabete aTIO TIC TOTIKEc apxcs. ATOpuyete va Tpokaolete zniia otnv uKTKIkiovada, EIOKA OTO Tiaw epoc Kovta OTov evaalaktn thepoptntac. Ta uika Toun xpnoiOtoiouvtaie autn tn ouokun kai onmeiwovtaui e To evai avakukawoiia.
Puroion 8epuokpaoia
H eepoekpaoia puthetaia autouata. Ia va xpnoiopoioeTn ouokun, kavte Ta exi:
- Περιστέψετο ρυθμίστη θερμοκρασίας στις χαμηλότερες ρυθμίσεις για τήν επι-τεύξη των μικρότερων θερμοκρασίων.
- Περιστρέψετο ρυθμίστη θερμοκρασίας Οτις υψηλότερες ρυθμίσεις γία τήν επι-τεύξη των μεγαλίτερων θερμοκρασίων.
i Mia a i a puOuio n evai oE yEvikEc ypaumecn TAnov kaTaaln.
Otoo, n akipnC puOuon PpEeI va EIIeYei exovTac uToun Oti n 0epuokpa- oia oTo eowtepiKtou yueiou xapTaai a:
- ηερμοκρασία του δωμαιό
TtOo ouxva avoiyi n TnOpTa - TNY TIOOOTNTa TWV TPOΦiμwv Tnou aTNOθκεUovTaI
- Tn θέοι nτς συοκεύns.
KAOHMEPINXPH
Katauugn ppeokwv Tpoipimwv
O aalaoosou katauuktn eivai kataalnoLoc yia tnv katauugn pekowv tropiowkai tn paKPOxPoVia attoNKeUoN kATEuymuEvwov kai baia kateyumuEvw vpoipuW. TIA Tnv katauuqn pekowv tropimuv evivai anapaitnto va aAaEET n uTpiapuoiion.
Otoo, yia aouyia TIO npnyopns Ka tauusn, TepotpeTTo puoiatn eepokpaoiaoc otuC uanotepc puoiic ia tvv ETIeUgTowv eyalutepwv eepokpaioiv.
\SHMANTIKO autn tnv TEPiTTwOn, n u o k p a o i a 0r0 thalao muEgns mTOpEi
va i i katw ato touc 0^. Eav
ouubetai katI TeTOIO, yupoiTE KAI TALI TO
puoioTn u o k p a o i a c Oe mia TIO puoio.
Atohkeuon kateyuymevwv tropipwv
Kata nV apxikn evpyoToinon n eTa aTIO mia Tepioo mN aeitoupyiac, TPOTu TOTOeTNOETa TPOIOvTA OTo 0aAapo, n OsKEUn TpETeI va aeitoupynoEY iA Toulaxi-OTov 2 wpeC oE UPNLATEPec puOIOEIC.
Hερολόγιο κατεψύμένων τροφίμων
1-3

中
\SHMANTIKO Eav n p i TepiBaalovtoc eivai uynn n n ouokevun
eivai evteawc foptwuev n kai exei
puoioatei otic xaunlotepec p i c iowc leitoupye ouvexwoc dnmuopywvtac
Tayo oTo Tioaw toixwua. Ze autn Tnv
TepiTTwo npetie va etiIayetai
uynlotepn thepuokpaoia wote va eivai
duvatn n autouatn atiouuqn K I TIOEVWC
n eiuwevn katavalwn evepyiaç.
Eav TPOKEITAI VA aTTOHKeUToUV eYALCS TIOOTNTEC TPOPIWV, aPaipeoTE oLa Ta SUPTAPIA KAI TA KAIAaATTO TNOuOKEUN KAI TOIOTHTNATE TA TPOPIA ETTAVW OTA pApiaPsiGNS YIA TNV EITIEUEN TNG βEATI- OTNG aTIDOOONC.

NPOEIAONOH Bεβαiωθειτε οTi Ta Tpóφiμa δεν utερβαivouv To opio φοptiou TTou avaypaΦεTai OTNV TTLEUPa Tou avw TMημatoc (OTOU

HMANTIKO kata aaooc
aiouus, yia npadoeiyma oe TepiTTwon
diakotnC pEupatoC, eav to peu naTav
Kouevoia TEPIOOTepo aTTOV TIm
Tou avaypafetai OTov TIVAKa TEYVIKWV
Xapaktnpiotikwv OTNV EvOTna "xpoVc
avoo", ta aTPOUyEvva TPOPIA TTpeTI
va katavaawoov ouvtota n va
muyeiputouv auooskai OTN OUVexia va
katauxoovkai nai (eTa Tnvpsi).
Ta o a avanapiotouv diaqopetikouc TUTOUc kATEyuyevwTPOIPWV.
Oi apiOoi uTOnnawovuTvocxpvouc aTTOHKeUoNG oE mVec yia Touc avalooyouc TUTouc KATEpsiuyevwv TPOPIWv. KaTIOOIOXUEI n avwTepn n kATWTepn TIm Tou EmuaviOeVou Xpvou aTTOHKeUoNG eApTataI aTNO TV TIOIOTa TWV TPOPIWv KAI TNY EETEPyaoia Touc TPIV kATAUxyoUV.
三πaywua
Ta trophiia ahiac n un katauuqns, piv tn xphon touc, mTPOUV va 5eTTaywovtai oTo thalao yuqns n 0e 0epokpaa domegaiou, avaloya to 0iaheoi xpov 5eTTaywatoC.
Ta μikpa τεμαχia μπopoúv va μayεipεuovtai akóμη Kai katεψuyéva, atεuθεiacató tov kataψuktn; σε autn tny πεpiTTωσn, to μayεipεμa diapkei πεpiσoTepo.
Nayakia
Autn n ouokun evai epodiaouevn uEvav n TepiooTepouc diokouc yia va TapaokuaZETe TAYAKIA. Emuote autouc Touc diokouc uvepo kai otn ouvexia BalaTE Touc OTOV KATAUkTN.
EHMANTIKOM npoiotoiite i avtikieva yia tnv apaipoeon Tov biokwv ano tvkatauuktn.
Metakivouéva páfia

ToTOnTnOn TwV paIwv Tns Tóptac

\SHMANTIKO n TApouoa ouokeu n Twεiαση Γaλia.
Σμφωνα με οχύοντες κανονισρούς ση χωρα αυή, η συοκεύη πρέπεινα συνόδεύειαι από εἰδικίδιαξη (βλ. εἰκόνα) ΠΟΤΟθετίαι στό τάτω τήμα Σου ψυγείου γίαν αυπόδεικυύει τη ζώνη με τήν περισότερη ψύξη.

Ta toixwmuata tou yuyeiou evai epobia- oEv a e iia oepa otnpiyuatw wote va evai duvatn n kat' ETIAOyn tnooetnon Tov paipw.
Tia va eivai duvatn n atoNkEuON ou-OKeuaoiw Tpoipimv diaopow meyeOw, ta papiia Tns TnpaTmopoov va toTOnTeouvtai odeltaopetikau.
Tia va TpaaymuatoToinoTe aute ts Tpo- aapouyec, kavte Ta Ens
Tpaβnξε Σαδiaká To páφi προς Tnv Ka-Teuθuvon Tou βélouc μéxpi va απελεuθερωθεi Kai, στη συνexia, totoθεtnte To ξavá oπwç απaiteiai.
XPHESIMEZYMBOYAE
Σιμβούλές Εξοικόνόμησης Ενέργειας
Mny avoiyete nvy npota ouxva kai mny tnv aqnyete avoiktn yia TepiooToepo aTIO eivai aTolutw cTapaiTto.
Eav n 0epuokpaoia Tepiabllovtoc evai uynn, o puthetaicns 0epuokpaoiac Bpi- OKetai OTNV uynlotepn puthetaion kai n Ouaokeun evai evtawc foptwuevn, O oumuieotnc iowc aeitoupyei ouvexwc dnoupywvtac npy o tov Eaatmuotnpa. Eav Ppokupeiauto, Tepiopte Te to puthetaiTn 0epuokpaoia c poc tic xaun- LOTEpcputhetaicis wote va evai duvatn n autoata n aTouuugn KI TPOeVWC n Egoikovounon naektpiknc evepyeiaac.
Σuβouλες ψύξης φρέσκων τροφιμων
Tia va exet ta kaIutepa aTToteAeouata:
- aTIOθηkeEte OTo yuyéio ξeOtα TpOΦIa n Uypa Tou EgatμicovtaI
- μην καλύπιτετέ ἡτυλίγετε τα τρόφιμα, έδιαίτερα εάν μυρίζουν ἐντονα
- TOTTOEETTE TA TPOΦIμε TE TOIO TPOTTO WATE O aεpας VA KUKλoφopei ελεUθερa γύρω TOUTG
Σuμβouλες ψύξης
Xpnoiuec ouuouAe:
Kpeac (oAoI OI TUToI) TUaTe OE TAAOTiKec
OakouLec KAI TOITOnTeTNOte TO OTO yuAIVo
papi ETTAVW aTTo TO uptapITwV Axavikw.
Tia loyouc aopaaieac, aTIOthkEuOte uTO Tov TpToo mvo yia ia n duo nuepcs To TOnlu.
Mayepééva Tpópiα, Kpua Tiata, K.ATT.: autá θa TTpeTεI VA KAUttovTai KAI μTtropouv va TOTTOETOUVTai OE OTIOOθntOTE pαφι.
Φpouta kai λaxaviká auta θa πeTTεi va πλévovtai kαλa kai va toTIOθETouvTai σTo(a) εIDIKó(a) ouptapia) Tou TApexE-Tai(ovTai). O xμoç λεoviou μTopei va atoxpwpatioi Ta TIAOTIKA hépn Tou yyeiou av ερθe iσ επaφn maζ touc. Suv-ETIWCS, OUVIOTATAI VA φUλAOSETE TA EOTIEPIOEOIΩ ΕSXOWIOTA DOXEA.
Bo'tupo kai tupi: auta a πpεπει va toTIOθεTOuVTai oε εIDiKa aεpoσTeyn δoxεia n va tuλiyovtai με αλouμivoxapto n σε πλa-OTIKες αakouες αφαipwVtac 00o TO duvaTov TEPiOoTepo Tov aεpa.
MTOUKaIA:auta 0a TpETeIvaEivai TaTTWueVaKai 0a TpETeIva aTIOthkEuvTAtOtn Oxapa MTOUKaIwOTnv TOpTa.
Oi a v c, OI a t c, TA Kpεμúδia KAI TO k o p o, εav δεv εivai u o k u a v a, TπeTTει va diatnpouvtai σTO u y i o
Σμβouλες κατάψιης
Tia va oac Bononoume va ekmuauuE- OTE 0TO ETTAKPO Tn diaikaoia katayuNc, aokouoov opioevc onuavtikec ouβoue:
n meyiotn TIOoTNTa TPOOIPW V IOU MTOpei va katauuxe i 24 wpc. avaypa- pTaI OTNV TIVAKID a TeXVIKWV OToIxieW;
- η δiδiKaσia katáψuξης δiapkei 24 ωpeç. Katá ηιδiapkeia autnç tns πεpió-bou δε θa πρétπει va πpοσtiθεvtai áλλa tpóφiμa yia katáψuξη;
KATAUxETE MOV TPOWNTN TIOIOTNTAC, 0eKa Ka KaA KAaAPIOEva TPOPIa;
aTTOHKeUETa TPOphiMa OE MIKpEc Mepi- 0Ec wOte va eivai duvatn n yPnyopn kai TTAnpnc katauuN tou kai TO mETayEv- OTePo EITAYwma moV TnC aTTaIToUeVnS TIOOTNTac;
Tuliyete Ta TpOphi a e alouivoxapto n Tlaotikc oakoue c kai eaoaaizTe 0TI OUOKeuaoiec evai aepooteyic;
- mynv afnve TpOa va epoxovtai oE eTAPn non kATEpsiuyEvvaTPOA, wote va aTOpE-TETaI n auEnon tnc 0epoKpaiaac twv dEUTePW;
Ta aTnaya TpOphiMa aTTOeouvTa KaLuTEpa KAI YIA eYAAUtePo diaoTma aTToa AITapa; To aLAti MEIWVEI TN duvatNdiApkeia aTTOhKeuong TwV Tpoqmuw;
oi ypavitec, ev katavaawoov aoeowc
etarntv efo touc ato tnV katayuyn,
TTOPOUV va TpOKaEsoov oTo depua
ykaumataatno ayo;
εivai OKoTNIo va ypaΦeTE Tnv nμερoμnVia katáψuξης Εκαθε σιοκεuaσίαωτε va μπορεITE va ouvayETE TO xpóvo aTIOθκεuΩης;
Sigmaoules yia nV aTOnkEuaon kATEUUYeWv TPOiMuWv
Tia va exTe Tnv kaUtepn duvatn aTIOdo- 0n Tns OoKEUnc autns:
ελέγχετε οTi Αιούνθήκες διαπήρησς Tων κατεψυμένων Tροφίμων Tου εμτό
piou nTav kaTaalnAeC oTo kataoTnaayopac Touc,
εασφαλιετην taxutepn duvatn μεα φορα των κατεψυμένων tροφιμων από TO KATAOtnμα αγοράς Touc OTOV KATAUKTη,
- avoiyete Tnv Tnpa ouxva kai mny Tnv aqnvete avoixtn yia TepiooTepo aTIO o,TI eivai aTIOAUtWc aTAPAiTnTo,
to a, Ta TpOPIa aAloiVovTai yPnyopa kai V mTropoUV va KaTaayxOouv xa,
UTEpbaiveTo xpovo aTOnkEuaC Tou UTOeIKVUEtai aTO Touc TapaaOKEUAOTc TWV TPOPIwV.
ΦPONTIδA KAI KAθΑPIΣMA
IPOOXH PIV aTó oTOIAδnTOTε εpyaia ouvtnpnOg aTIOUvδEETN OuaKEUn aTTOV TPIZα.
H oukeun autn Tepiexei uDpooyovav-0paekc otnv wuktnoovad a nsc; OI epyaoc suvtnpnoq kai eTavaopotio nC tha pEtEi ETOeVwC va npayataToIOUVTai mOvo aTTOgouoiodotneVouc TEXVIKOUc.
Taktko kaθaipouα
H ouokeu npetie va kathetai taktiká:
Kaθapiote To eowtepiok kai ta eapntn- maTa xiaapo vepo kai liyo quikoc aTTOUVI.
- Eλέγχετε TAKTIKA TA λασιχα TNG ΠΟΡΑς KAI ΟΚΟΥΙΝΙΕΤΕ TA YIA VA Εξασφαλίοετε ΘΙ ΕΙΑΙΚΑθΑρΑΚΑ Φεν φέρουν ακα-θαροίες.
- 三πλύντε και έτηγνώτε καλά.
\SHMANTIKOMnV TpaBATE, takiveite n TTPOkaleite Znmuia Oe OwAnvec n/Kai KAawbia Tou Bpiokovtai OTO EoWTEPIKO Tou oalapou.
Anópsiŋ tou yyuεiou

Not xnpoiotoiite aToppuavtiká,
KoVEc Tnou xaapacouv, KaaapiOTiKa e TIO-
Lu apwua n yuaaiotiko Kepi yia va Kaaapi-
OETe TO EOWTEPIKO, DIOTI auta Ta UAIKA
Φeipouv Tnv EITiAPAVEIA KAI aPnVouv Evto
vn Ooun.
Kaθapiotε to ouμπικvωnt (μαύρη γρίλια)
Kai to ouμπιεοτή στο πίω μέρος ης Σουσκεύνς με μία βούρτα. H διαδικασία autη
βελτιώνει ην απόδοη ης συσκεύνς κai
εξοικονοεί καταναλωση ρεύματος.
SHMANTIKO PooexeTwa mV TpokAnEi Znmu oTo yukTKo ouotna.
Ioaia 1iooKeuaOaTa Kathetaiou yia TnV Kouziva Tepixouv XnmuKa Tounu TPOpuov va TpooBalaouv/ kataoTppeouv Ta TIAOTiKa TounxpnaiIOIOUVTai oe autn Tn OuaKEun. Ia To loyo auto ouotnvTeai TO E5wTEpiKO TepiBAnma Tns OuaKEUnc va KAthetaziat Movo e XlApo Vepo aPoU TPOoOeTe KAI liyo Uypo yia Ta TIata. MetaTov Kathetaiouo, ouvdeote EaVaTov E50TIAOo OTNV KEVTPIKn TAPoxh.
O pao oioe aouo aotov eata Tnpa Tou aalauou ungns kaote opa Tou Otaata o ouptieotnc kat a n diapkeia tnc kavoviknc xponc. To vpo ato Tnv atouugn aoottpayyizetai meow iaoc otnc o eva iidiko doxio oto niow epoc TnC ouokueunc, eTavw aTO TO ouuPTIEOTn, OTou kai eatmuizetai.
Eivai oŋμavtikó va kaθapiζεtai TaktiKa n ottn aTTOOtpayyioan tsou vepou tnc aTPOUξn cTO μeov tou aywyou tou θaAauo yuΩn, pOKeIμevou va aTOTpETTetai n UTEPxεiλion kai TO tαξipo vepou Oa Tpóφiμa cTO eσwTePIKó Tou θaλμou.
Aπóψuξη tou kατaψúkTη
KáTioia TIOOOTnTa PAVou θa δημIoUpyEitai TlavTa OTo pApia Tou KATAuKTN KAI YUpω AToTov ETVAvw θaλaμo.
O katauukntn 1 npetie va aTOuyxetai otav TO Otpwma TAYOU EEXI TAXOC TEPiTou 3-5 mm.
\SHMANTIKO Περίπου 12 ωρες πριν από την απόψμεξη, στρέψτε το ριθμισή θερμοκρασίας προς ψηλότερες ριθμίσεις, για την επίτευξη επαρκούς ψύξης για τη διακοπή της λειουργίας.
Tia va aphaipoeTe Tov Tayo, akoloutheta TIC Tapaakatw oynieC:
- ATEVEpyOTIOInOTe Tn OUsKEUn.
- AφαipéOTε Ta απθηκεμένa Tpóφιμa, TUλiξTe Ta με πολλές εφημερίδες και TOTTOθετησε Ta σε δροσερό μερος.
IPOOXH Mny ayyizE T a KATEeuymu TpOphiMa E pEvmu Xepia. Ta xepia oac mTOpEi va TAYWOSOUV TAVW OTA TpOphiA.
- Aφησε Νν τύροτα αυοίχή.
i Iia va eTITayuVE tN diakkaia aTIO- uE, TOnoETnOte MIA katoapola ZeTo vepo oTo thaapo katauEg. EITIeov, aTOUAPKUVETa KOpatia TAYou Tou OTave KAI TEOTouv PIV aTTOV OLOkAnpwn Tns aTIOuEg.
4. Otav olokAnpwoEi n aTóyuEη, oKouTTIOTE KaA to EoWTEPIKO.
5. EvpyoTIOInote Tn ouKeun.
6. Meta aTio duo n Tpeic wpec, TOTIOe- Tnote kai nai oTo 0alao To tpoipia Tou eixate Byalei pponyouevwC.
TI NA KANETE AN...
I NPOEIAOIOIH Npiv aTTOV avtietwion TpoBAnmuatov, aTosuvdeote To qic Tpoqodooiac aTTOv Tpica. Havitietwion twv TpoBAnmuatov Tou dEv avaepovtaoTo Tapov yxepidio tha pETe iva diegyetai mvo
SHMANTIKO Mn xnpoiotoiite TOTe aixunpa eTaaikc epaia yia nV aTIOEoN Tou TAYou aTO TIV EOWTEPIKn ETVouon, kaOTI mTpei va TpokaAeOeTc Nmuia.
Mx npnoiopoioieTe unxavikc ockeuec n aaaa TeXvnta meoayia Tnv EITaxuvon Tns diakaiac aTouyusg EKTOC aTO auta TOU OUViToA o KATAOKEuaOTnc.
H avo0c TnC 0epuokpaoiaC Twv oukeua
oiw kateyuuevw TpoipimwkataTn
diapkeia Tnc aToueugns mTnpei va eiwos
tn diapkeia Tnc aOpaalouc aTtohNkEuaonc
TOUC.
περίδοι εκτός λειτουργίας
Otau n oukeun 8xpnoiotoiietai yia
yea xpoviKa diaotnmuata, TiaipveT E TIG
akoloutheta TPOpulaeic:
aTTOOUVoEOTe Tn OUoKEuH aTTo Tnv nAekTpIKn TpoqOoOia
- aφaipéoTe oλa Ta Tpóφiμα
KavTe aTouuEg (Ev TPOBAAETAI) KAI KAtheta Tn OoKEun KAI oLa Ta EApTna
- aφησTE TIG TIOPECS Ελαφρως αVOIKTECS YIA VA αΠΟΤΕΨΕTE TIG ΦΟΑρΕθΕTECS OΟΦΕCS. EAV O θΑλαμος εΤΡΟΚΕΙΟν VA ΠΑραμεΙνΕ ΕΥPYOΤΟΙΝΕύνΟς, ΑΤΗΝΕ ΑΤΟΚΑΤΟΙΟν VA TOV Ελέγχει AV TAKΤΑ δΙΑσΤΗμΑτΑ γΙΑν μήν χαλασουν τΑ ορόφιμΑ ΠΟ ΟΕΘωΤΕΡΙΚΟ ΠΤΗν ΠΕρίΠΤΟΙΝ έλΑΚΟΤΗς έρματΟς.
aTó επayελματία ηεκtpoλόγο ἡλλo καταλληλα καταρτισμένο ατομο.
SHMANTIKO AKouyovTai KaTIOI nXoi KAtA Tn diApkeia Tns Kavovikns XpnoNc (ouptieotns, Kukloopopa yukTKOU).
| Πρόβλημα | Πιθανή αἰτία | Αντιμετώπιση |
| H συοκεύη δεν λεῖουρ-γέι. O λαμπτήρας δεν λεῖ-τουργέι. | H συοκεύη εἶναι απενεργοποιη-μένη. | Ενεργοποίησε τη συοκεύη. |
| Δεν ἐχει συνδεθεί σωτά το φιςστην πρίζα. | Συνδέοτε σωτά το φις στην πρίζα. | |
| Πρόβλημα | Πθανή αιία | Αντιμετώπιη |
| H συοκεύη δεν τροφόθοτείαι με ρεύμα. Δεν Αντάρχεί τάη ρεύματος στην πρίζα. | Συνδέσετ μία αλλη ηλεκτρίης συ-σκεύη στην πρίζα. | |
| Επικοίνωνίσετ με πιστοῦημένο ηλεκτρολόγο. | ||
| Ο λαμπήρας δεν λει-Τουργεί. | O λαμπήρας βρίσκεται σε κα-τάσταηναμονής. | Κλείσετ και ανοίξετην πόρτα. |
| O λαμπήρας είναι ελατωματί-κός. | Ανατρέξετ στην ενότητα «Avτικa-τάσταηου λαμπήρα». | |
| Ο συμπηστής λειθουργεί συνεχώς. | Δεν ἐχει ρυθμίσει σωστάη θερμοκρασία. | Επιλέξετ υμηλότερη θερμοκρασία. |
| Δεν ἐχει κλείσει σωστάη η πόρ-τα. | Ανατρέξετ στην ενότητα «Kλείσι-μο της πόρτας». | |
| Aνοίγετ πολύ συχνά την πόρ-τα. | Μην αφήνετ ητην πόρτα ανοίχήπερισότερο από ❶,тι είναι απο-λύτως απαραίπητο. | |
| H θερμοκρασία τῆν προίοντων είναι πολύ υμηλή. | Αφήσετ η θερμοκρασία τῆν προίοντων va μειωθεί στη θερμοκρασία δμωαίου πρίν από τὴν αποθήκεύση. | |
| H θερμοκρασία δωμαίου είναι πολύ υμηλή. | Meiώσετ η ερμοκρασία δωμα-τίου. | |
| Yπάρχει ροήν ερού Στην πίσω πλάκα του υμ-νείου. | Kata τη δίρκεία της αυτόματης δίδικασίας απόμεξης, o πά-γος απούχειται στήν πίσω πλάκα. | Autó είναι φυσιολογίκό. |
| Yπάρχει ροήν ερού Στο Εσωτερικό του υμεύου. | H ἐξόδος ερού είναι φραγμένη. | Kaθαρίσετ ητήν ἐξόδονερου. |
| Yπάρχουν προίόντα του εμπο-δίζουν τη ύούν τη ύρού το συλέκτην ερού. | Βεβαιωθείτε οτή το ροίόντα δεν ερχονται Εεπαφή Με τήν πίσω πλάκα. | |
| Yπάρχει ροήν ερού Στο δάπεδο. | H ἐξόδος του ερού απόμεξης δεν ρείι στόλοκείης Τοῦ βρίσκεται επάνω απότο το συμπίσετή. | Προσαρμόσετ ητήν ἐξόδο του ενού υπαύμεξης ωστέναν υρείι μέσα στόλοκείης. |
| H θερμοκρασία στή Στο-σεύη εἰναι πολύ υμηλή/ωμηλή. | Δεν ἐχει ρυθμίσει σωστάο ρυθμίστης θερμοκρασίας. | Puθμίσετ ψυŋλότερη/χαμηλότερη θερμοκρασία. |
| H θερμοκρασία στό Στο υ-νείου είναι πολύ υμηλή. | Δεν Απάρχει κυλοφόρία κρύου αέρα στή συακεύή. | Βεβαιωθείτε οτή Απάρχει κυλo-φόρία κρύου αέρα στή συακεύή. |
| H θερμοκρασία στόν κα-ταμύκτη είναι πολύ υμηλή. | Ta προίόντα είναι τοῦθετημένα πολύ kovtá μεταξύ touς. | Attoθηκεύτετa τα προίντα εότι ωστέναν κυλοφόρία κρύου αέρα. |
| Εχει σχημαίσει πολύς πάγος. | Ta πρόφιμα δεν είναι σωτάνιλιμενα. | Tulaiξτε τα πρόφιμα σωτά. |
| Δεν ἐχει κλείσει σωστάη πόρ-τα. | Avatρέξετ στήν ενότητα «Кλείσι-μο τής πόρτας». | |
| Δεν ἐχει ρυθμίσει σωστάο ρυθμίστης θερμοκρασίας. | Επιλέξετ υμηλότερη θερμοκρασία. |
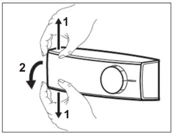
AvtikataoTaon tou aamtnnpa

NPOsOXH ATOoUvOeTe TO c aTTo Tnv Tpizc.

- Tauroxpova, TIEATE με TA dαxtuα σaç TO δiaφavες καλμμα προς TA πανω KAI προς TA KATW KAI aTAYKIOTpωOTE TO ακολουθωντaç ην KATEUθuvσn Tous δειχvouv TA toξa.
- AvtikataoTnOte To a pa evav iiac 1oxuoc kai oxnmuotc, EIOiKa oxEoiA- oEvvo yia oIKaKec ouokuec. (n meyioTn IOxuc avaypapetai OTO kalumu taou Iaumtnpa).
- ETTAVATOTTOEETNOTE TO KAUUMa TOU AAMTTnpa.
- to .
- AvoiTe Tnv TnOpta. BeBaiWtheIe oTI o a avaeI.
Σuμβouλες ψύξης
- Kaθapiotε ta οτεγavottoɪntɪká λαοɪtɪχa tns πόptac.
-
Eav xpeiaoté, TPOOAPmuoTe TnV TnpTa.AvatpeEe Otnv EvOTnTa «Eykata-otaon>.
-
Eav xpeiaotei, avtikataoTnote Ta aattwmuatikc oTeyavottointikc Aaotixa Tnc TOpTac. EtikoivwVnoTe To Kevtpo oepic
EΓΚΑΤΑΣΤΑΣH

Piv tvv EYkataoTaon TnC OuaKEUnc
diaaote TpooeKTIKA TIC
"Pi npopopiec aopaaleiaq" yia tvv
aaopaia oac kai tn owtn aeitoupyia
tns ouokunc.
ToTOnoTeTnO
EykataotnoTe Tn OoKEun autn oXwpo otou n 0epuokpaoia Tepiabaovtoc avtioxie OTny KAImuATIK katnyopia Tou UTOdeltakvuetai OTnv TIVAKIDA xapaktnpiOTIKWV Tns OoKEUnc:
| Кл甲状腺- кетаура | Θερμοκρασία περιβάλλοντος |
| SN +10°C εως + 32°C | |
| N +16°C εως + 32°C | |
| ST +16°C εως + 38°C | |
| T +16°C εως + 43°C | |
Hλεκτρικό σύνδεση
Piv aTn Tn ouvEo, EtnaIhEuote oT n Taon kai n ouxVOTnTa Tou avaypapovtai OTnv TIVAKIDA TeXVIKWv XapakTnpiOTIKWv AVIOIOXOUv OTA XapakTnpiOTIKa TnC TApoxnc.
H oukeun TpETeI va YeiwVetai. To qic Tou kaLwoiou Tpofoooiac diathei ia ETTaepnY1 auto to oKoTIO.Eav n piciA dev Eiva yieuwEvn, ouvOeTe Tn oukeun e Mi amuovwEvn yeiwan Suwpwva e Touc TpeXovTEc KAVOVIAOUC, apou oumuouLeu-0EITE evav ETTAYElambda tia nEktpoloyo.
Ze TepiTTwn n npnoNc Tov TapaTavw TPOpuAeewv aoPaeia, o kataoKEuaotns DE pepi Kaia EUthuvn. Autn n ouakeun eivai ouuwpwn e Tc akoLouOec OOnyIEc TnC. EOK.
Δuvatótnα αντισροφής της πόρτας



H TópTa TnC OuaKeuNc avoiyei TpoC Ta δεiα. Tia va avoiyete Tnv TópTa TpoC Ta apiotepa, akolouθnoTe TA Eξnc βnμata Tpiiv aTTOv EyKataoTaN TnC OuaKeuNc:
- Εεσφίξτε και αφαρεότε TOV επάνω πείρο.
AqaipeoTe Tnv Etnavw TnOpa. - AqaipeoTe Tov aTOnTaTn.
XaIapwote to eOaoio eVTeOe.
ApaipoeTe Tny KATW TIOPTa.
Xaapwote kai apaipoe TOV KATW TIEIPO.
TynavriOeTrn PEAupa:
ΣφiεTε TOV Kατω πείρο.
ToTIOeTeIe TIV KATW ITOPTa.
Σφiετε to μεσαίο μεντεσέ.
ToTNOeTnOte Tov aTNOoTAtn.
ToTIOeTInote TIV EINAVW IIOPTa.
∑φiεTeTov επανw πεípo.
Aattnoeic aepioou

EykataoTaon Tns ouokueuncs

NPOOXH Bεβαiωθειτε ΜΤΟ Kαλδιο Tροφδοσίας μΠορείνα KIVειται ελεύθερα.
Péπει va utápyει επapkns poñ aépa πi-σω απó tn σuokεun.
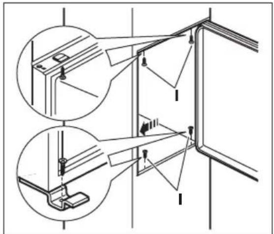
Akoouohtote Ta Tnapakatw Bnata:


Eav aataiteiai, koyte tnv autokolntn OTeyavottointikn Awipda kai epapuoTe Tnv otn oukeun, OTWc paivetai oTO oxna.
ToTNOEtnoTe Tn OuaKEun OTN Teon TnC.
TnPoEe Tn OuaKEUn TPOCS TNV KATEU
Ouvon Tou BéLouc (1) mExPI TO KAlumu
Tou avw diakevou va oTaumto
VtouaTI KOUZIVAC.
TnPoEe Tn OuaKEun TPOCS TNV KATEU
Ouvon Tou BéLouc (2) TAVW OTO VtouaTI Tnou BpioKetai OTNV aVTIeTN TIAEuPA
Tou uevTE.



PpOaapoOTe kataaAa Ta n 0eOn TnC OuaKEuNc OTNV EooXn.
Bεβαιωθείτε οτη απόσταση ανάμεσα έπη συοκεύŋ και τμπροστινό ακρο του γτολαπιού εἶνα 44 mm.
To kalumu taou katw evtse (Tapexetai otn oakoula ta eapntmuata) dia-opaiaei ot n anoataon avaesa ot n oukeun kai To vtoulambda KOUziva c evai oomega.
Bεβαιωθείτε οπη απόσταση ανάμεσα ση συοκεύŋ και τονιλάπι εἶναι 4 mm.
AvoiTe Tnv TnpTa. ToTOnoTne To Ka- Luauma Tou KAtw MeVTse Otn Θeon Tou.
Tepeewote tn ouokean otn eoan tnc 4 biEc.
Apaipote To oWOTo Tmu aTo Kaumua Tou u eVTse (E). Beaowte OTo ExTe aPaipeoi To Tu ma DX otnv TepiTTwOn Tou dEoiu u eVTse kai To Tmu SAx OTNV TepiTTwoTou apotpo.



ToTOnTeTnOte Ta kaUmuata (C,D) otic yawTTIOEcs kai TIC OTEC TOU eVTEOE.
ToTOnTeTnOte tn ypiia Eaepioou (B).
ToTOnTeTnOte Ta kaUmuata eVTEOE (E) oTO eVTEOE.
Σuvδεοτε η Σωκευή πλεύρικα στο πλεύρικό τοίχωμα τουντουλαπιόύ κουζινας:
- Xaaapwote Tc BiEcTou TmuatoG (G) kai takivnoTe to Tmua (G) XpI TO TAAupiko Toixwma Tou VtoulambdaIOU KOUzivac.
- Σφiετε Εανα TIC βiδες Tou Tmμαotos (G).
- TO Tmuα (H) OTO Tmuα (G).
AToosuvδεστε Ta Tμnμata (Ha), (Hb), (Hc) Kai (Hd).

ToTtOeTnOte To Tmua (Ha) Otnv EoWTe- pIKn PIIeupa Tnc diakoountiknc nOpTaC.

Σπρωξτε to τμήμα (Hc) στο τμήμα (Ha).

AvoiTe TnV TnpTa Tns OoKeuç Kai Tn δiaKoountikn TnpTa σγωvia 90°.
EioayayETo mikoTetpaywvo Tmua (Hb) oToV odnyo (Ha).
BáIe òIIa-àIITaa Tny TópTa TnC OU-OKeUnc KAI Tn DIAKoOμntIKN TópTa KAI OŋμaδéΨTE TIC OTÉç.



Apaipoe ta otnpiyata kai onmuéyte to onmuio oTou pTei va toTOnthei to kaP (K) 8 mm aTo EwTEPIKO akpo TnTPOtaC.
TOnoTeIeEaToMikpoTeTpaywvo TnmaOToV Onyo KAI OTEpeWOTe To ME TIC BiEc Tou PaexovTai.
Euuypaumote Tn diakoountikn Tnpa Tnv npta Tns ouokueunc Tpooapuocovtac to Tmu (Hb).
PiéoTo Tmuα (Hd) Eπavw OTO Tmuα (Hb).
Kavte eva teAiko eAeyxo yia va 8eBaiw-0eTEOTI:
Oaεσoiβδεεivασργμενε.
- H oTeyavoTioINTiKn λωpiδα εivai kaλa προσαρτημενη στο vtouλαπι.
H Tópta avoiyéi kai kλεivéi ωστá.
OOPYBOI
Akouyovtai kantoioi nxoia kata tn diapkeia tnc kavovikns leitoupyias (oumuieotns, Kukloopopia uuktkoouypu).




TEXNIKA XAPAKTHPIETIKA
| Διαστάσεις ευθής | ||
| γψος 1780 mm | ||
| Πλάτος 560 mm | ||
| Βάθος 550 mm | ||
| χρόνος ανόδου | 22 χρες | |
| Τάση 230-240 V | ||
| Συχύτητα 50 Hz |
Ta TeXVIKA OToIXeia avaypaoVai OTNV TIVAKIDA TeXVIKwv XapaktnpiOTIKWv OTNV EOWTEPIKn apiTepn TTLEUPa TnC OU-
Okeunc, kaowc kai otnv etiketa evepyia-KnC katavalwons.
ΕύκολοΕγχειρίδιο