PS-G 500 E - Säge Global - Kostenlose Bedienungsanleitung

Finden Sie kostenlos die Bedienungsanleitung des Geräts PS-G 500 E Global als PDF.

📄 46 Seiten Deutsch DE 💬 KI-Frage
Notice Global PS-G 500 E - page 3

Benutzerfragen zu PS-G 500 E Global

0 Frage zu diesem Gerät. Beantworten Sie die, die Sie kennen, oder stellen Sie Ihre eigene.

Eine neue Frage zu diesem Gerät stellen

L'email reste privé : il sert seulement à vous prévenir si quelqu'un répond à votre question.

Noch keine Fragen. Stellen Sie die erste.

Laden Sie die Anleitung für Ihr Säge kostenlos im PDF-Format! Finden Sie Ihr Handbuch PS-G 500 E - Global und nehmen Sie Ihr elektronisches Gerät wieder in die Hand. Auf dieser Seite sind alle Dokumente veröffentlicht, die für die Verwendung Ihres Geräts notwendig sind. PS-G 500 E von der Marke Global.

BEDIENUNGSANLEITUNG PS-G 500 E Global

Bedienungsanleitung Elektronic-Stichsäge

Brugsanvisning Elektronisk stiksav Art.-Nr.: 43.208.00 I.-Nr.: 015r.: Anleitung PS-G 500 E - 12 spr. 24.02.2000 16:39 Uhr Seite 12

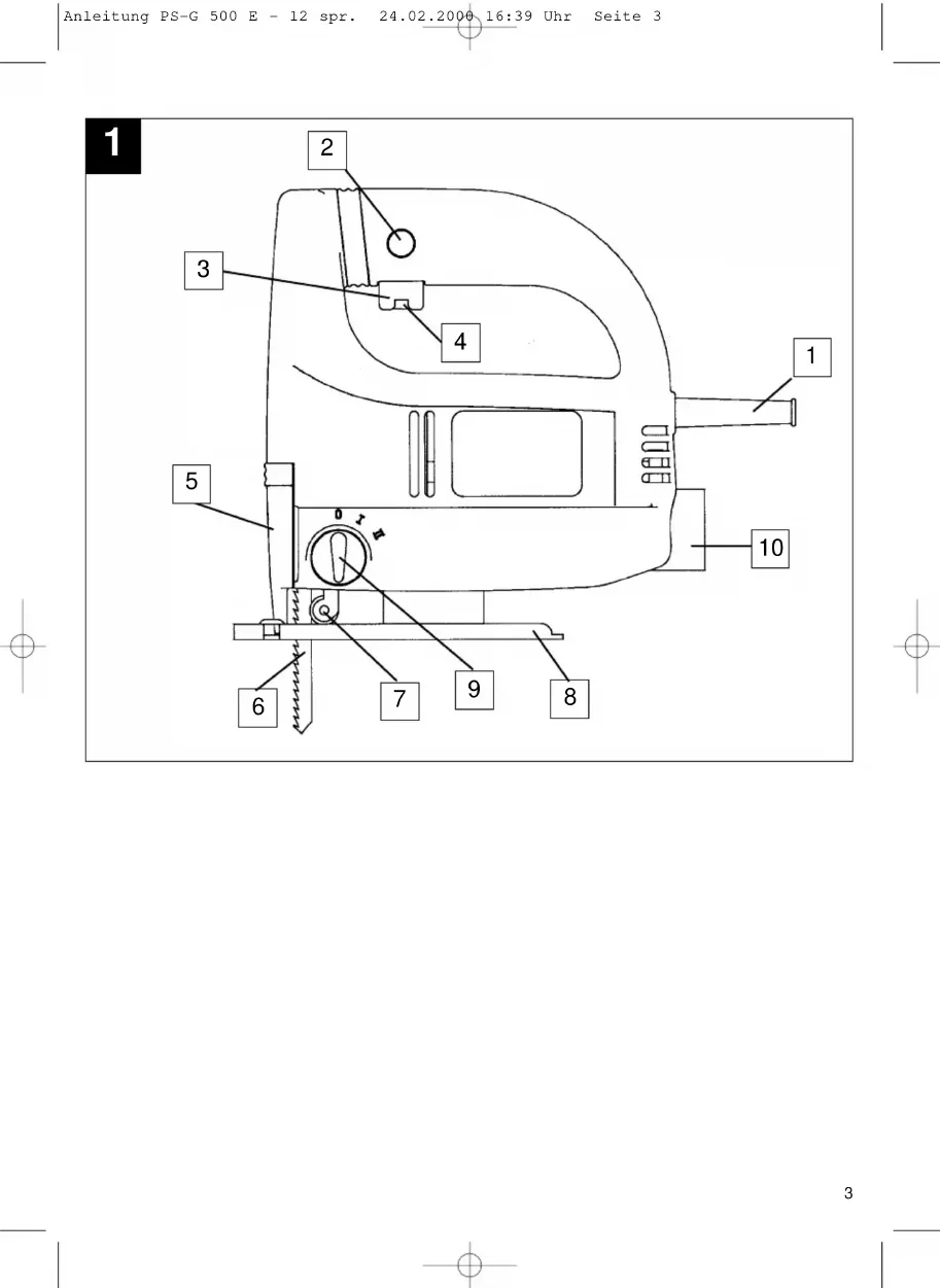
Anleitung PS-G 500 E - 12 spr. 24.02.2000 16:39 Uhr Seite 34 Beschreibung 1 Netzkabel 2 Feststellknopf 3 Ein/Ausschalter 4 Rändelschraube für Drehzahlregulierung 5 Sichtschutz 6 Sägeblatt 7 Führungsrolle 8 verstellbarer Sägeschuh 9 Umschalter für Pendelhub 10 Spanabsaugung Allgemeine Sicherheitshinweise und Unfallschutz Ein unfallfreies und gefahrloses Arbeiten mit dem Werkzeug ist nur gewährleistet, wenn Sie die Sicherheitshinweise und die Bedienungsanleitung vollständig lesen und die enthaltenen Hinweise befolgen. Kontrollieren Sie vor jedem Gebrauch das Gerät, die Anschlußleitung und den Stecker. Arbeiten Sie nur mit einem einwandfreien und unbeschädigten Gerät. Beschädigte Teile müssen sofort von einem Elektro-Fachmann erneuert werden. Vor allen Arbeiten an der Maschine, vor jedem Werkzeugwechsel und bei Nichtgebrauch den Netzstecker aus der Steckdose ziehen. Um Beschädigungen des Netzkabels zu ver- meiden, das Netzkabel immer nach hinten von der Maschine wegführen. Beim Arbeiten im Freien dürfen nur dafür zuge- lassene Verlängerungskabel verwendet werden. Die verwendeten Verlängerungskabel müssen einen Mindest-Querschnitt von 1,5 mm

auf- weisen. Die Steckverbindungen müssen Schutzkontakte aufweisen und spritzwasserge- schützt sein. Bewahren Sie die Werkzeuge sicher und für Kinder nicht erreichbar auf. Tragen Sie beim Schleifen, Bürsten und Trennen stets eine Schutzbrille, Sicherheitshandschuhe und einen Gehörschutz und bei stauber- zeugenden Arbeiten eine Atemschutzmaske. Lassen Sie keine Werkzeugschlüssel stecken. Überprüfen Sie vo rdem Einschalten, daß die Schlüssel und Einstellwerkzeuge entfernt sind. Sichern Sie das zu bearbeitende Werkstück gegen Verrutschen (festspannen). Beim Bearbeiten (Trennen und Schleifen) von Stein muß eine Staubabsaugung verwendet werden. Die Staubabsaugung muß zum Absaugen von Gesteinsstaub zugelassen sein. Asbesthaltige Materialien dürfen nicht bearbeitet werden. Entsprechende Unfallverhütungsvorschrift (VBG 119) der Berufsgenossenschaft beachten. Verwenden Sie nur Orginal-Ersatzteile. Reparaturen dürfen nur von einem Elektro- Fachmann durchgeführt werden. Die Lärmentwicklung am Arbeitsplatz kann 85 db (A) überschreiten. In diesem Fall sind Schall- und Gehörschutzmaßnahmen für den Bedienenden erforerlich. Das Geräusch dieses Elektrowerkzeuges wird nach ISO 3744, NFS 31- 031 (84/537/EWG) gemessen. Achten Sie auf einen sicheren Stand. Vermeiden Sie abnormale Körperhaltungen. Setzen Sie Ihr Elektrowerkzeug nicht dem Regen aus. Benützen Sie Elektrowerkzeuge nicht in nasser oder feuchter Umgebung und nicht in der Nähe von brennbaren Flüssigkeiten. Tragen Sie das Elektrowerkzeug nicht am Netzkabel. Schützen Sie das Netzkabel vor Be- schädigung durch Öl, Lösungsmittel und scharfen Kanten. Tragen sie das Elektrowerkzeug nicht am Kabel. Halten Sie Ihren Arbeitsbereich in Ordnung. Vergewissern Sie sich, daß der Schalter beim Anschluß an das Stromnetz ausgeschaltet ist. Tragen Sie geeignete Arbeitskleidung. Tragen Sie keine weite Kleidung und Schmuck. Tragen Sie bei langen Haaren ein Haarnetz. Verwenden Sie zu Ihrer eigenen Sicherheit nur Zubehör und Zusatzgeräte des Werkzeug-Her- stellers Verwenden Sie nur scharfe und einwandfreie Sägeblatter. Verbogene und rissige Sägeblatter sofort austauschen. Sägeblatt nach dem Ausschalten nicht durch seit liches Gegendrücken abbremsen. Achten Sie auf gleichmässigen Vorschub, daß vermindert die Unfallgefahr und verlängert die Lebensdauer des Sägeblatts und der Stichsäge. Schieben Sie vor jeder Inbetriebnahme der Stich- säge den transparenten Sichtschutz nach unten, um ein Herausschleudern von Spänen und Splittern zu verhindern. Reinigen Sie Ihr Werkzeug nur mit einem feuch- ten Lappen. Verwenden Sie zur Reinigung keine aggresiven Reinigungsmittel. Überprüfen Sie Ihr Werkzeug auf einwandfreie Funktion. Sollte die Funktion gestört sein, lassen Sie Ihr Werkzeug überprüfen. Alle Wartungs- und Inspektionsarbeiten dürfen nur von einem Elektro- Fachmann oder von der ISC GmbH durchgeführt werden. Der Wert der ausgesendeten Schwingungen wurde nach ISO 8662-8 ermittelt.

Anleitung PS-G 500 E - 12 spr. 24.02.2000 16:39 Uhr Seite 45 Betriebsanleitung für Elektronik- Stichsäge PS-G 500 E VERWENDUNG Die Stichsäge ist zum Sägen von Holz, Eisen, Bunt- metallen und Kunststoffen unter Verwendung des entsprechenden Sägeblatts bestimmt. INBETRIEBNAHME Momentschaltung (Bild 1 ) Einschalten: Ein/Ausschalter drücken Ausschalten: Ein/Ausschalter loslassen Dauerschaltung Einschalten: Ein/Ausschalter drücken und im gedrückten Zustand mit den Feststellknopf arretieren Ausschalten: Ein/Ausschalter drücken und loslassen Elektronische Drehzahlvorwahl (Bild 3) Mit dem Drehzahlregler kann die gewünschte Dreh- zahl, voreingestellt werden. Drehen Sie den Dreh- zahlregler in PLUS-Richtung, um die Drehzahl zu erhöhen, drehen Sie den Drehzahlregler in MINUS- Richtung um die Drehzahl zu verringern. Die geeig- nete Hubzahl ist vom jeweiligen Werkstoff und den Arbeitsbedingungen abhängig. Die allgemeinen Regeln für die Schnittgeschwindig- keit bei spanabhebenden Arbeiten sind auch hier gültig. Sägeblattwechsel (Bild 2) Vor allen Arbeiten und Sägeblattwechsel die Stichsäge ausschalten und den Netzstecker aus der Steckdose ziehen. Lösen Sie mit dem beiliegenden Innensechskant- schlüssel die Schrauben am Stößel (Bild 2). Schieben Sie das Sägeblatt in die Führungsnut, zwi- schen Hubstange und Haltebügel bis zum Anschlag ein. Ziehen Sie die Schraube mit dem beiliegenden Innensechskantschlüssel fest. Die Sägeblattzahnung muß in Schneidrichtung zeigen. Achten Sie darauf, daß das Sägeblatt in der Führungsnut des Stößels und der Laufrolle sitzt. Verstellen des Sägeschuh (Gehrungsschnitte und randnahes Sägen, Bild 4) Für Gehrungsschnitte und Schrägschnitte kann der Sägeschuh, nach lösen der Schraube auf der Unterseite, beidseitig um bis zu 45° geschwenkt wer- den. Die Winkel sind mit Markierungsstrichen, 15°, 30° und 45° gekennzeichnet. Eine Einstellung zwi- schen den markierten Winkelgraden ist ohne weiters möglich. Zum Verstellen des Schnittwinkels lösen Sie die Schraube (Bild 4) soweit, das der Sägeschuh gerade noch verschoben werden kann. Stellen Sie den gewünschten Winkel ein und ziehen Sie die Schraube wieder fest. Für das Sägen bis zum Rand kann der Sägeschuh nach hinten verschoben werden. Lösen Sie dazu die Schraube an der Unterseite (Bild 4) und schieben Sie den Sägeschuh nach hinten. Ziehen Sie die Schraube wieder fest. Staubabsaugung Die Stichsäge ist mit einem Staubsaugeranschluß ausgestattet. Jeder Staubsauger kann an die Absaugöffung am hinteren Ende der Stichsäge angeschlossen werden. Sollten Sie hierzu einen spe- ziellen Adapter benötigen, setzen Sie sich bitten mit dem Hersteller Ihres Staubsaugers in Verbindung. TECHNISCHE DATEN Nennspannung: 230 V ~ 50 Hz Leistungsaufnahme: 500 W Hubzahl: 600 - 2900/min. Hubhöhe: 16 mm Schnittiefe Holz: 55 mm Schnittiefe Kunststoff: 20 mm Schnittiefe Eisen: 4 mm Gehrungsschnitt: bis 45° (links und rechts) Schalldruckpegel LPA: 89 dB (A) Schalleistungspegel LWA: 96 dB (A) Vibration a

Schutzisoliert Gewicht 1,7 Kg

Anleitung PS-G 500 E - 12 spr. 24.02.2000 16:39 Uhr Seite 545° 30° 45° 15°

Durch Lösen der Schraube kann der Sägeschuh nach links und rechts oder im Winkel bis 45° verstellt werden.

Sägeblattwechsel Lösen des Sägeblatts: Schraube nach links drehen. Feststeller Ein/Ausschalter Sägeblatt bis zum Anschlag in den Stößel einsetzen und die Schrauben festziehen. Achtung: Prüfen Sie ob das Säge- blatt in der Rille der Laufrolle und des Stößels sitzt. Einschalten: Ein/Ausschalter drücken. Dauerbetrieb: Ein/Ausschalter mit Feststellknopf sichern. Ausschalten: Ein/Ausschalter drücken und loslassen Durch Drehen des Drehzahlreglers erhöht sich die Hubzahl

Anleitung PS-G 500 E - 12 spr. 24.02.2000 16:39 Uhr Seite 89

Anleitung PS-G 500 E - 12 spr. 24.02.2000 16:39 Uhr Seite 1011

Double isolation Poids 1,7 kg Anleitung PS-G 500 E - 12 spr. 24.02.2000 16:39 Uhr Seite 1112

Randgeaard Gewicht 1,7 kg

Anleitung PS-G 500 E - 12 spr. 24.02.2000 16:39 Uhr Seite 1415

Anleitung PS-G 500 E - 12 spr. 24.02.2000 16:40 Uhr Seite 1718

Anleitung PS-G 500 E - 12 spr. 24.02.2000 16:40 Uhr Seite 2021

Anleitung PS-G 500 E - 12 spr. 24.02.2000 16:40 Uhr Seite 2324

Anleitung PS-G 500 E - 12 spr. 24.02.2000 16:40 Uhr Seite 2526 PS-G 500 E - sähköpistosahan käyt- töohje

Anleitung PS-G 500 E - 12 spr. 24.02.2000 16:40 Uhr Seite 2627

Anleitung PS-G 500 E - 12 spr. 24.02.2000 16:40 Uhr Seite 2930

Anleitung PS-G 500 E - 12 spr. 24.02.2000 16:40 Uhr Seite 3233

Anleitung PS-G 500 E - 12 spr. 24.02.2000 16:41 Uhr Seite 3435

Dotata di isolamento protettivo Peso 1,7 kg Anleitung PS-G 500 E - 12 spr. 24.02.2000 16:41 Uhr Seite 3536

Anleitung PS-G 500 E - 12 spr. 24.02.2000 16:41 Uhr Seite 3839

Indstilling af pendulbevægelsen Stilling 0 Ingen pendulbevægelse Stilling 1 Let pendulbevægelse Stilling 2 Middel pendulbevægelse Anleitung PS-G 500 E - 12 spr. 24.02.2000 16:41 Uhr Seite 3940 Ersatzteilzeichnung PS-G 500 E Art.-Nr.: 43.208.00, I.-Nr.: 91018 Anleitung PS-G 500 E - 12 spr. 24.02.2000 16:41 Uhr Seite 4041 Ersatzteilliste PS-G 500 E Art.-Nr.: 43.208.00 I.-Nr.:91018 Pos. Bezeichnung Ersatzteilnr. 01 Netzleitung 43.207.00.01 02 Knickschutztülle 43.207.00.02 06 Bürstenhalter 43.208.60.01 07 Kohlebürste 43.207.00.07 08 Gehäusehälfte links 43.208.60.02 09 Kondensator 43.207.00.05 10 Elektronikschalter 43.208.60.03 12 Schaltknopf Pendelhub 43.208.60.04 13 Absaugstutzen 43.208.60.05 14 Spule 43.207.00.12 15 Stator 43.207.00.13 16 Lager 80017 44.603.00.10 17 Rotor 43.207.00.14 18 Kugellager 80018 44.642.00.05 19 Gehäuse 43.207.00.15 20 Führung 43.207.00.16 21 Schieber 43.208.60.06 22 Ausgleichsgewicht 43.208.60.07 23 Zahnrad 43.208.60.08 24 Unterlegscheibe 43.208.60.09 25 Sicherungsring 43.208.60.10 26 Rolle 43.208.60.11 27 Hubstange 43.207.00.22 28 Seegerring 43.208.60.12 29 Verbindungsstück 43.208.60.13 30 Hubstangenf¸hrung oben 43.208.60.18 31 Inbusschraube 43.208.60.14 32 Sägeblatthalterung 43.208.60.15 33 Federblatt 43.208.60.16 34 Filzdichtung 43.208.60.17 35 Hubstangenführung unten 43.208.60.19 36 Feder 43.208.60.20 Anleitung PS-G 500 E - 12 spr. 24.02.2000 16:41 Uhr Seite 4142 Ersatzteilliste PS-G 500 E Art.-Nr.: 43.208.00 I.-Nr.: 91018 Pos. Bezeichnung Ersatzteilnr. 37 Stift 43.208.60.21 38 Rückholfeder 43.208.60.22 39 Stift lang 43.208.60.23 40 Führungsrolle 43.208.60.24 41 Führungsrollenhalterung 43.208.60.25 42 Befestigungsknopf 43.208.60.26 43 Stift 43.207.00.33 44 Seegerring 43.208.60.27 45 Vierkantmutter 43.208.60.28 46 Sägeschuh 43.208.60.29 47 Klemmteil 43.208.60.30 48 Inbusschraube M5x16 41.361.00.50 49 Schraube 4,2x16 84.103.50.01 51 Schraube 4,2x35 43.207.00.28 52 Gehäusehälfte rechts 43.208.60.31 53 Sichtschutz 43.208.60.32 54 Führungsstück 43.208.60.33 55 Druckfeder 43.208.60.34 56 Mitnehmer 43.208.60.35 57 Seegerring 43.208.60.36 58 Einsatz links 43.208.60.37 59 Einsatz rechts 43.208.60.38 60 Dichtring 43.208.60.39 Anleitung PS-G 500 E - 12 spr. 24.02.2000 16:41 Uhr Seite 4243

EG KonformitätserklärungDer Unterzeichnende erklärt imNamen der FirmaAchivierung / For archives: PSG-0560-22-916-E PS-G 500 E

I periodo di garanzia inizia nel glomo dell´acquisto e dura 2 anni. La garanzia vale nel caso di confe- zione difettosa oppure di difetti del materiale e del funzionamento. Le componenti da sostituire e il lavoro necessario per la riparazione non vengono calcolati. Non c´è alcuna garanzia nel caso di danni successivi. Il vostro centro di assistenza. EINHELL GARANTIBEVIS Garantiperioden regnes fra købsdatoen og er gældende i 2 år. Garantien dækker mangelfuld udførelse eller materiale- og funktionsfejl. Nødvendige reservedele og anvendt arbejdstid ved garanti-ydelser beregnes ikke. Der hæftes ikke for følgeskader. Deres kundeservicekontakt GARANTIEURKUNDE Wir gewähren Ihnen zwei Jahre Garantie gemäß nachstehendenBedingungen. Die Garantiezeit beginnt jeweils mit dem Tag derLieferung, der durch Kaufbeleg, wie Rechnung, Lieferschein oderderen Kopie, nachzuweisen ist. Innerhalb der Garantiezeit besei-tigen wir alle Funktionsfehler am Gerät, die nachweisbar auf mangelhafte Ausführung oder Materialfehler zurückzuführen sind. Die dazu benötigten Ersatzteile und die anfallende Arbeits-zeit werden nicht berechnet. Ausschluß: Die Garantiezeit bezieht sich nicht auf natürliche Ab- nutzung oder Transportschäden, ferner nicht auf Schäden, die in- folge Nichtbeachtung der Montageanleitung und nicht norm- gemäßer Installation entstanden. Der Hersteller haftet nicht für indirekte Folge- und Vermögensschäden.Durch die Instandsetzung wird die Garantiezeit nicht erneuertoder verlängert. Bei Garantieanspruch, Störungen oder Ersatz-teilbedarf wenden Sie sich bitte an. ISC GmbH · International Service Center Eschenstraße 6 · D-94405 Landau/Isar (Germany) Ersatzteil- und Reparatur-Abt.: Telefon (0 99 51) 942 357 • Telefax (0 99 51) 26 10 und 52 50 Technische Kundenberatung: Telefon (0 99 51) 942 358 Einhell & Wieshofer Mühlgasse 1A-2353 Guntramsdorf Hans Einhell AG, UK Branch 32, Craven Court Winwick QuayWarrington, Cheshire, WA2 8QU Agence Bellut Prudent, Service Après-Vente 5, allée Joseph Cugnot, Z.I. du PhareF-33700 Merignac Einhell Nederland BV Lavalstraat 1aNL-7903 BC Hoogeveeen Einhell Benelux Abtsdreef 10B-2940 Stabroek Comercial Einhell S.A. Carretera Sanguesa E-31310 Carcastillo/Navarra Einhell Iberica SA Rua da Aldeia P-4405-017 Arcozelo Vila Nova de Gaia Antzoulatos E. E. Parakia Patron-PanayitsaGR-26517 Patras Einhell Italia s.r.l. Via Marconi, 16I-22077 Beregazzo (Co) Danish Trading Co. Silkeborg ApS Rodelundvej 11 - Rodelund DK-8653 Them Anleitung PS-G 500 E - 12 spr. 24.02.2000 16:41 Uhr Seite 46

Handbuch-Assistent
Powered by Anthropic
Warten auf Ihre Nachricht
Produktinformationen

Marke : Global

Modell : PS-G 500 E

Kategorie : Säge