LI5045 - Niveausensor IFM - Kostenlose Bedienungsanleitung
Finden Sie kostenlos die Bedienungsanleitung des Geräts LI5045 IFM als PDF.
Questions des utilisateurs sur LI5045 IFM
0 question sur cet appareil. Repondez a celles que vous connaissez ou posez la votre.
Poser une nouvelle question sur cet appareil
Laden Sie die Anleitung für Ihr Niveausensor kostenlos im PDF-Format! Finden Sie Ihr Handbuch LI5045 - IFM und nehmen Sie Ihr elektronisches Gerät wieder in die Hand. Auf dieser Seite sind alle Dokumente veröffentlicht, die für die Verwendung Ihres Geräts notwendig sind. LI5045 von der Marke IFM.
BEDIENUNGSANLEITUNG LI5045 IFM
- Bestimmungsgemäß Verwendung . . . . . . . . . . . . . . . . . . . . . . . . . . . . . . . . . . . . . . . . . . . . . . . . . . . . . . . . . . . . . . .
- Montage . 5
- Elektrischer Anschluß . . . . . . . . . . . . . . . . . . . . . . . . . . . . . . . . . . . . . . . . . . . . . . . . . . . . . . . . . . . . . . . . . . . . . . . . . . . . . . . . .
- Inbetriebnahme / Betrieb . . . . . . . . . . . . . . . . . . . . . . . . . . . . . . . . . . . . . . . . . . . . . . . . . . . . . . . . . . . . . . . . . . . . .
- Technische Daten . . . . . . . . . . . . . . . . . . . . . . . . . . . . . . . . . . . . . . . . . . . . . . . . . . . . . . . . . . . . . . . .
Contents
- im Auslieferungszustand elektronisch verriegelt on delivery electronically locked au moment de livraison verrouillélectroniquement
1. Bestimmungsgemäß Verwendung
Einsatzbereich
Dieses Gerät wurde speziell für die Bedürfnisse des Werkzeugmaschinenbaus konzipiert. Es ist insbesondere geeignet für die Überwachung von Kühlschmieremulsionen, aber auch anderen Wasserbasierten Medien. Das Gerät ist weltgehend immun gegen Anhaftungen fast aller Art auf dem Sondenstab (z.B. Metallpartikel, Schaum).
Das Gerät ist nicht geeignet für Ole, Granulate und Schüttgüter, Säuren und Laugen; es ist nicht geeignet für den Lebensmittel- und Galvanikbereich.
Stellen Sie im Zweifelsfall die ordnungsgemäße Funktion durch einen Applikationstest sicher.
Funktionsbeschreibung
- Das Gerät erfasst in direktem Kontakt mit dem Medium, ob eine gewünschte Fullhöhe erreicht ist und meldet dies durch ein Schaltsignal (Schließer oder Offner, programmierbar durch Anschlußbelegung; →Seite 6).
| Füllhöhe erreicht | Füllhöhe nicht erreicht | |
| Schließer | Ausgang = EIN Ausgang | ang = AUS |
| Öffner | Ausgang = AUS Ausgang | ang = EIN |
Die Füllhöhe wird festgelegt durch die Einbauänge (→ Seite 5, Montage).
- Das Gerät ist werkseitig voreingestellt und bei ordnungsgemäß Verwendung sofort betriebsbereit. Die Programmiertaste ist im Auslieferungszustand elektronisch verriegelt. Programmierung oder Abgleich sind nicht erforderlich!
- Einbau: senkrecht von oben.
Das Gerät arbeitet mit radialer Erfassungs-Charakteristik. Dadurch wird bei senkrechten Einbau die Erfassung von Medien unterhalb der Aktiven Zone unterrückt. Medien werden erst davon erfaßt, wenn die Aktive Zone bedeckt ist.
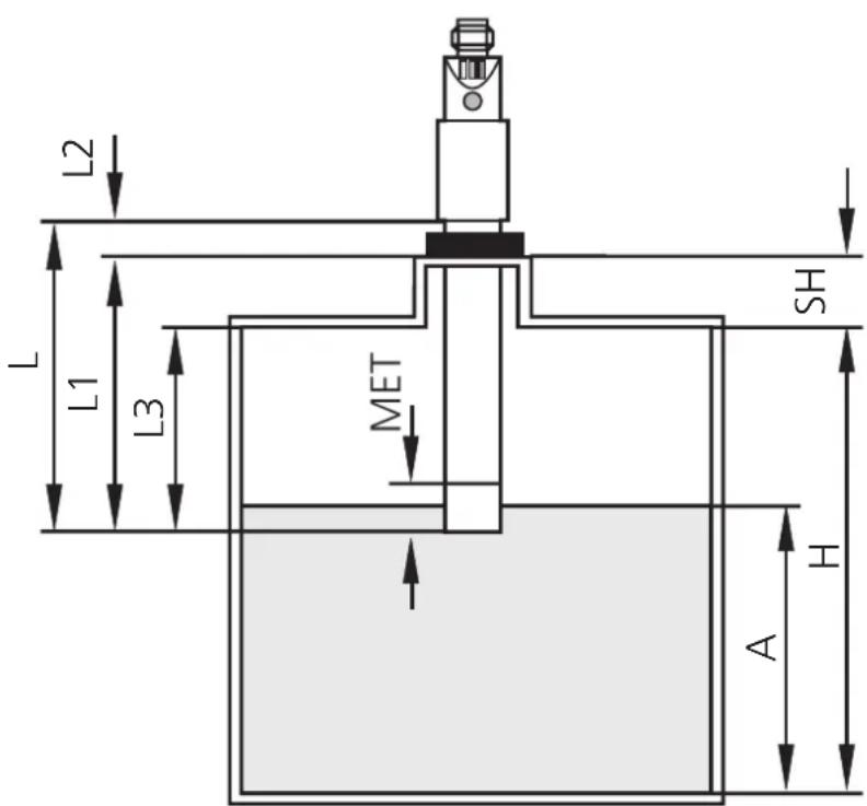
2. Montage

A = Anspruchhöhe
H = Behälterhöhe
SH = Stutzenhöhe
L = Stablänge (Sondenstab)
L1 = Einbauänge
L2 = Auszugslänge
L3 = Montagelänge
MET = maximale Eintauchtiefe (= Aktive Zone; 25mm)
Montieren Sie das Gerät senkrecht von oben in den Behälter.
Montagelänge (L3): mindestens 60mm.
Verwenden Sie für sichere und einfache Montage das ifm-Montagezubehör (Bestell-Nr. E43000 - E43007).

Maximaler Behalterdruck bei Einbau mit ifm-Montagezubehör: 0,5bar.
-
Das Gerät sollte in metallischen Behältern verwendet werden. Die Verwendung in Kunststoffbehältern wird nicht empfohlen. Hierbei kann es zu Funktionstörungen kommt, da der elektrische Kontakt des Mediums zur Anlagenasse möglicherweise unzureichend ist.
-
Der Abstand zwischen Aktiver Zone und metallischer Behalterwand/ Behalterboden muß mindestens 20 mm betragen.
- Werden mehrere Geräte LI5 in einen Behälter eingebaut, sollte ein Mindestabstände von 40mm (von Stabmitte zu Stabmitte) zwischen ihren eingehalten werden.
- Abstand zwischen LI5xxx- und LKxxxx-Geräten: min. 60mm von Stabmitte zu Stabmitte.
3. Elektrischer Anschluß

Das Gerätarf nur von einer Elektrofachkraft installiert werden. Befolgen Sie die nationalen und internationalen Vorschriften zur Errichtung elektrotechnischer Anlagen.
Schalten Sie die Anlage spannungsfrei und schlieBen Sie das Gerät folgendermaBen an ( SchlieBer / Offner):

Adernfarben bei ifm-Kabeldosen:
4. Inbetriebnahme / Betrieb
Prüfen Sie nach Einbau und Anschluß, ob das Gerät sicher funktioniert.
Entleeren und füllen Sie den Behälter und prüfen Sie damit, ob das Gerät richtig schaltet und ob die Vorgänge durch die LEDs richtig angezeigt werden.
LED-Anzeigen / Störanzeigen während des Betriebs:
| LED grün leuchtet Gerät ist im Betriebsmodus | |
| LED gelb leuchtet Ausgang ist durchgeschaltet | |
| LEDs gelb und rot blinken schnell (ca. 2Hz) | Kurzschluß im Schaltausgang |
| LED rot leuchtet Funktionskontrolle | |
| LED rot blinkt schnell (ca. 2Hz) | Interner Fehler oder Beschädigung des Geräts |
Funktionskontrolle
Die rote LED zeigt nicht eine Gerätestörung an. Sie signalisiert, daß sich das interne Sensorsignal in der Höhe der Schaltschwelle befindet. Dabei sind 2 Fälle zu unterscheiden:
- Normaler Betrieb / Sicheres Funktionieren
Die rote LED leuchtet vorübergehend auf, wenn sich der Füllstand der Ansprechhöhe nähert oder wenn er unter die Ansprechhöhe fällt.
- Warning vor möglicher Fehlfunktion
Leuchtet die rote LED konstant, sind die Arbeitsbedingungen nicht mehr optimal.
Z. B. kann sich durch Schmutzablagerungen auf dem Sondenstab das Schaltniveau innerhalb der Aktiven Zone geändert haben.
Sie können Gegenmaßnahmen erfüllen, bevors zu einer Fehlfunktion in der Anlage kommt. Überprüfen Sie z.B. die Einbauhöhe oder reinigen Sie das Gerät.
5. Technische Daten
| Betriebsspannung [V] | 10 ... 36 DC |
| Strombelastbarkeit [mA] | 250; Kurzschlußschutz, getaktet; verpolungssicher / überlastfest |
| Spannungsabfall [V] | < 2,5 |
| Stromaufnahme [mA] | < 13 (24V DC) |
| Schaltfrequenz [Hz] | 5 |
| Max. Behälterdruck [bar] | 0,5 (bei Einbau mit ifm-Montagezubehör) |
| Gehäusewerkstoffe | PP (Polypropylen); TPE/V |
| Werkstoffe in Kontakt mit dem Medium | PP (Polypropylen) |
| Umgebungstemperatur [°C] | 0 ... +80 |
| Mediumtemperatur [°C] | 0 ... +35 |
| Schutzart, Schutzklasse | IP 67, II EMV |
| IEC 1000-4-2 / EN 61000-4-2: 15kV Luftentladung / 8kV Kontaktentladung | |
| IEC 1000-4-3 / EN 61000-4-3: 10V/m, 80 ... 1000MHz | |
| IEC 1000-4-4 / EN 61000-4-4: 2kV Koppelzange | |
| IEC 1000-4-6 / EN 61000-4-6: 10V, 0,15 ... 80MHz | |
| IEC 255-5: 1kV | |
EinfachAnleitung