CFBI902ZW - Herd BORETTI - Kostenlose Bedienungsanleitung
Finden Sie kostenlos die Bedienungsanleitung des Geräts CFBI902ZW BORETTI als PDF.
Laden Sie die Anleitung für Ihr Herd kostenlos im PDF-Format! Finden Sie Ihr Handbuch CFBI902ZW - BORETTI und nehmen Sie Ihr elektronisches Gerät wieder in die Hand. Auf dieser Seite sind alle Dokumente veröffentlicht, die für die Verwendung Ihres Geräts notwendig sind. CFBI902ZW von der Marke BORETTI.
BEDIENUNGSANLEITUNG CFBI902ZW BORETTI
DIMONTAGE- UND GEBRAUCHSANWEISUNG
Nederlands
Gebrauchsanweisung Installationsanleitung
Seite 56
Der Hersteller kann nicht für Druck- oder Schreibfehler in thisem Handbuch verantwortlich gemacht werden.
Der Hersteller behält sich das Recht vor, Änderungen am Produkt vorzunehmen, ohne die grundsätzliche Funktion und die Sicherheit des Geräts zu beeinträchtigen, die er aus technischen oder amerkommener Gründen für notwendig erachtet, ohne das dies vorherbekannt gegeben wird.
François
= Kookzone OFF nicht ingeschakeld

= Kookzone ON (ingeschakeldaar nicht in werking)
Vooraan rechts 160mm110mm
Achteraan rechts 200mm145mm
Achteraan links 160mm110mm
Vooraan links 200mm145mm
GERECHTEN TEMPERATUUR
Savoiegebakjes 150^
Chocoladecake 150^
Rijst in de oven 150^
Konijnepastei 175°C
Kaassouffle 175°C
GERECHTEN TEMPERATUUR
Savoiegebakjes 150°C
Chocoladecake 150^
Rijst in de oven 150^
Konijnepastei 175°C
Kaassouffle 175°C
Als de scharnieren nicht in correcte positie
Sehr geehrte Kunden,
Wir danken Ihnen für das Vertrauen, das Sie uns mit dem Kauf eines unserer Haushaltsgeräte entgegengebracht haben.
Die im folgenden aufgerühten Hinweise und Ratschlagedienen ihrer Sicherheit und der anderer Personen undermöglichen Ihnen, alle Gebrauchsweisen des GerätesKennenzulernen.
Bewahren Sie deshalb diese Broschüre sorgfältig auf, sie wird Ohnen auch in Zukunft hilfreich sein, falls Sie hinsichtlich der Funktionseise des Gerätes irgendweiche Unklarheiten klären möchten.
Dieses Gerätarf nur für den Zweck verwendet werden, für den es ausdrücklich hergestellt wurde, d.h. für das Kochen von Speisen.
Jeder andere Verwendungszweck ist unangemessen und darauf auch gefährlich.
Für eventuelle Schäden, die durch unangemessenen, fehlerhaften oder unüberlegten Gebrauch des Gerätes entstehen, leht der Hersteller jegliche Haftung ab.
EG-KONFORMITÄTSERKLÄRUNG CE
- Dieses Gerät ist ausschließlich zum Kochen gedacht. Jeder andere Einsatz (z.B. das Heizen eines Raums) ist unsachgemäß und gefährlich.
-
Dieses Gerät ist laut nachstehenden Richtlinien entwickelt, hergestellt und vertrieben worden:
-
Anforderungen zur Sicherheit, Richtlinie “Niederspannung” 2014/35/EU und daraufuffolgende Änderungen;
-
Anforderungen zum Schutz Richtlinie "EMC" 2014/30/EU und daraufuffolgende Änderungen;
-
Anforderungen laut Richtlinie 93/68/EWG;
- Anforderungen laut Richtlinie 2011/65/UE.
WICHTIGE SICHERHEITSMASSNAHMEN UND SICHERHEITSHINWEISE
WICTIG: Dieses Gerät wurde ausschließlich zum Kochen von Nahrungsmitteln im privaten Haushalt entwickelt und angefertigt und ist nicht für die Anwendung außerhalb des Haushalts geeignet. Daherarf es nicht im gewerblichen Bereich eingesetzt werden.
Die Garantie des Geräts wird aufgehoben, wenn das Gerät außerhalb des privaten Haushalts verwendet wird, d.h. im halbwirtschaftlichen, wirtschaftlichen oder COMMUNALEN Bereich.
Lesen Sie die Anweisungen sorgfältig bevor Sie das Gerät anschließen und verwenden.
- Dieses Gerät wurde gemäß der geltenden Normen für Haushalts-Kochgeräte, einschließlich solcher für Oberflächentemperaturen, entworen und hergestellt. Manche Menschen mit empfindlicher Haut können bei einigen Komponenten eine ausgeprügtere Temperaturwahrnehmung haben, obwohl diese Teile innerhalb der durch die Normen zulässigen Grenzen liegen.
Die vollständige Sicherheit des Geräts hängt auch von der korrekten Verwendung ab. Wir empfehlen dazu, während der Verwendung des Produkts stets komplett aufmerksam zu sein, insbesondere in Anwesenheit von Kindern. - Stellen Sie nach dem Auspacken des Geräts sicher, dass these notch beschädigt ist, und dass die Ofentür richtig schliebt. Bei Zweifel, das Gerät nicht benutzen und die Verkaufsstelle oder einen fachlich qualifizierten Techniker konsultieren.
- Verpackungsmaterial (Plastiksacke, Polystyrolschaum, Nagel, Verpackungsänder, etc.)arf nicht in Reichweite von Kindern zurückgelassen werden, da diese schwere Verletzungen verursichen kann.
- Manche Geräte werden mit einer Schutzfolie auf den Stahl- und Aluminiumbestandteilen gefeliefert. Diese Folie muss vor dem Gebrauch des Geräts entfern't werden.
-
WICHTIG: Es wird empfohlen bei der Bedienung und bei der Reinigung des Geräts eine geeignete Schutzkleidung bzw. Schutzhandschuhe zu tragen.
-
Versuchen Sie nicht, die technischen Eigenschaften des Geräts zu verändern, da dadurch der Gebrauch des Geräts gefährlich werden kann. Der Hersteller übernimmt keine Verantwortung für Unannehmlichkeiten, die aus der Nichtbeachtung dieser Bedingung resultieren.
- Geräte nicht mittels einer externen Schaltuhr oder einem separaten Fernsteuerungssystem bedieten.
- Keine Instandhaltungs- und Reinigungsrarbeiten durchfuhren ohne das Gerät zuvor von der Stromversorgung zu trennen.
- ACHTUNG: Stellen Sie sicher, dass das Gerät ausgeschalten ist被害 Sie die Ofenlampe austauschen, um so einen möglichen Stromschlag zu vermeiden.
- Keinen Dampfreiniger benutzen, da die Feuchtigkeit in das Geräte indringen kann und these dadurch unsicher wird.
- Das Gerät nicht mit nassen oder feuchten Handen (oder Fußen) berühren.
- Das Gerät nicht benutzen, wenn sie barfuss sind.
- Falls Sie entscheiden sollenen, das Gerät nicht länger zu benutzen (oder es durch ein anderes Modell zu ersetzen) wird empfohlen, das Gerät vor der Entsorgung in angemessener Weise gemäß der Regelungen für Gesundheits- und Umweltschutz Funktionsentüchtig zu machen. Versichern Sie sich damit insbesondere, dass alle gefährlichen Bestandteile unschädlich gemacht werden, da Kinder mit dem ungebrauchten Gerät speilen können.
- Die diversen Bestandteile des Geräts sind recyclebar. Diese müssen gemäß der Bestimmungen des jeweiligen Landes entsorgt werden. Falls das Gerät verschrottet werden muss, Netzkabel entfernen.
- Stellen Sie nach dem Gebrauch des Geräts sicher, dass die Schalter auf AUS (OFF)-Position stehen.
-
Kinder unter acht Jahren müssen vom Gerät ferngehalten werden, außer wenn diese durchgehend beaufsichtigt werden.
-
Dieses Gerätarf von Kindern ab acht Jahren und von Personen mit eingeschrankten körperlichen, sensorischen oder geistigen Fähigkeiten oder mit Mangel an Erfahrung und Kenntnissen verwendet werden, wenn diese beaufsichtigt werden oder Anweisungen in Bezug auf den sicheren Gebrauch des Gerätsbekommen und die damit verbundenen Gefahren erkennen. Kinder dürfen nicht mit dem Gerät speilen. Reinigungsaund Instandhaltungsarbeiten dürfen von Kindern nicht ohne Beaufsichtigung durchgeführt werden.
-
Der Hersteller übernimmt keine Haftung für Personen- oder Sachschäden, die durch unsachgemäßen oder unzulässigen Gebrauch des Geräts verursacht werden.
-
ACHTUNG: Beim Gebrauch werden das Gerät und seine zugänglichen Teile heißt und verweilen nach dem Gebrauch eine Zeit in dieser Zustand.
-
Geben Sie Acht, dass Sie die Heizelemente nicht berühren (auf dem Kochfeld und im Inneren des Ofens).
Die Ofentür ist heiß, benutzen Sie den Griff. -
Zur Vermeidung von Brandwunden und Verbrühungen mussen keine Kinder vom Gerät ferngehalten werden.
-
Vergewissern Sie sich, dass elektrische Kabel anderer Geräte in Herdnähe nicht in Berührung mit dem Kochfeld kommt oder in der Ofentür eingeklemmt werden können.
- ACHTUNG: Unbeaufsichtiges Kochen auf dem Kochfeld mit Fett oder Öl kann gefährlich sein und kann Feuer zur Folge haben. NIE Feuer mit Wasserlöschen, sondern das Gerät ausschalten und die Flamme z.B. mit einem Deckel oder einer Feuerlöschdecke bedecken.
- ACHTUNG: Feuergefahr: Keine Gegenstände auf den Kochflächen abstellen.
- Keine leeren Pfaffen auf die Glaskeramikplatte stellen.
- Keine schweren oder scharfen Gegenstände auf die Glaskeramikplatte fallen halten.
-
Das Kochfeld nicht mit scharfen Gegenständen zerkratzen. Benutzen Sie das Kochfeld nicht als Arbeitsoberfläche.
-
ACHTUNG: Im Fall einer vorschriftsgemäßen Montage wird ihr Produkt allen Sicherheitsanforderungen gerecht, die für diese Art von Produktkategorie festgelegt wurden. Allerdings ist auf der Rück- oder Unterseite des Geräts besondere Vorsicht geboten, da diese Bereiche nicht zum Berühren entwickelt wurden und sich dört scharfe oder raue Teile befinden konnten, die Verletzungen verursachen können.
-
DER ERSTE GEBRAUCH DES OFENS - es wird empfohlen, die folgenden Anweisungen zu befolgen:
-Bereiten Sie das Innere des Ofens so vor, wie es im Kapitel "REINIGUNG UND INSTANDHALTUNG" beschreiben wird.
- Den leeren Ofen auf hochster Stufe einschalten, um Schmierfett von den Heizelementen zu beseitigen.
- Das Gerät von der Stromversorgung trennen, den Ofen abkühlen setzen und das Innere des Ofens mit einem in Wasser und neutralem Reinigungsmittel geträkten Tuch reinigen; den Ofen danach sorgfällig trocknen.
- ACHTUNG: Keine Scheuermittel oder scharfen metallischen Schaber für die Reinigung der Glasofentür verwenden, dadurch die Oberfläche zerkratzt werden kann, was in weiterer Folge zum Zersplittern der Glastür führen kann.
Die Offenwände keinesfalls mit Aluminiumfolie auskleiden. Keinesfalls Backbleche oder Abtropfschalen auf den Boden des Ofenraums stellen. - FEUERGEFAHR! Keinesfalls brennbare Materialien im Ofen aufbewahren oder im Unterschrank.
- Stets Topfhandschuhe beim Herausnehmen der Gitterroste oder Backbleche benutzen solange diese heiß sind.
- Keine Handtücher, Geschirrtücher oder andere Gegenstände auf das Gerät oder seinen Griff hängen, da dies eine Feuergefahr darstellt.
- Den Ofen regelmäßig reinigen und vermeiden, dass sich Fett oder Öl am Ofenboden oder auf dem Gitterrost ansammelt. Verschüttetes immer(soften entfern.
-
Nicht auf den Herd oder auf die geöffnete Ofentür steigen.
-
Beim Öffnen der Ofentür immer zusückstehen, damit Dampf und heiße Luft entweichen können bevor Sie die Speise hersausnahmen.
- SICHERER UMGANG MIT LEBENSMITTELN: Die Lebensmittel vor und nach dem Kochen so kurz wie möglich im Ofen{lassen. Dadurch kann vermieden werden, dass Lebensmittel von Organismen befallen werden, was eine Lebensmittelvergifting zur Folge haben kann. Geben Sie besonderss Acht bei warmem Wetter.
- ACHTUNG: Den Herd NIE am Turgriff hochheiten.
- Achtung: Beachten Sie immer den Kochprozess, auch bei kurzer Naturzug der Zubereitung.
- Das Gerät sollte frei stehen um eine Überhitzung zu verhindern.
- Zubehörteile wie Telescop Auszug des Ofens sollenen wie auf Seite 91 installiert werden.
- Sollten elektrische Kabel beschädigt sein, sollen den diese ausschließlich durch einen autorisierten Fachmann erneuert werden.
- INDUKTIONSHERDE
- Legen Sie keine Metallgegenstände wie Messer, Gabeln, Löffel oder Deckel auf die weiß Kochmulde, da diese weiß werden können.
- Verwenden Sie keine Kuchenutensilien aus Metall (z.B. Suppekelle). Verwenden Sie vorzugseise Kuchenutensilien aus Kunststoff oder Holz.
-itte verwenden Sie Kochtopfe und Pfannen der empfohlenen Große (siehe empfohlene Mindestdurchmesser der Kochtopfe). Verwenden Sie möglichst keine Kochtopfe oder Pfannen, deren Bodendurchmesser kleiner als der der Kochzone ist. Stellen Sie die Kochtopfe in die Mitte der Kochzone. - Verwenden Sie keine beschädigten Töpfe oder Pfannen oder solche, die einen gewölbten Boden aufweisen.
-
Verwenden Sie nur Kochgeschirr das zum Garen mit dem Induktionsherd geeignet ist.
-
Bleiben Sie von den elektromagnetischen Feldern 5-10 cm während des Kochens entfernt. Verwenden Sie wenn möglich die hinteren Kochzonen.
-
Magnetische Gegenstände (wie Kreditkarten, Disketten, Speicherkarten) und elektronische Geräte (z.B. Computer) sollen nicht in der Höhe der Induktions-Kochmulde aufbewahrt bzw. abgestellt werden.
-
Das Aufwärme von Dosen aus ferromagnetischen Material ist verboten! Geschlossene Dosenkönnendurchden übermaßigen Druck explodieren, der sich beim Erwärmen aufbaut. Wenn die Dosen geöffnet werden, besteht zudem Verbrennungsgefahr, falls die integrierte Temperaturschutzvorrichtung nicht richtig Funktionieren sollen.
WICHTIGER WARNHINWEIS: Die Induktions-Kochmulde entspricht den europäischen Normen für Haushalts-Kochgeräte. Daher dürfen sie nicht in Verbindung mit anderen elektronischen Geräten verwendetwerden. Personen miteinem Herzschrittmacher oder einem anderen elektrischen Implantat, sollen den Arzt Fragen, ob sie Induktionskochsysteme verwenden dürfen (und sicherstellen, dass keine Störungen am Implantat auftreten können).
WICHTIGER HINWEIS FÜR DIE KORREKTE ENTSORGUNG DES PRODUKTS IN ÜBEREINSTIMMUNG MIT DER EGRICHLINIE 2012/19/EG.
Am Ende seiner Nutzeitarf das Produkt NICHT zusammen mit dem Siedlungsabfall beseitigt werden. Es kann zu den eigens von den städtischen Behörden eingerichteten
Sammelstellen oder zu den Fachhändern, die einen Rücknahmeservice anbieten, gebracht werden. Die getrennte Entsorgung eines Haushaltsgerätes vermeidet mögliche negative Auswirkungen auf die Umwelt und die menschliche Gesundheit, die durch eine nicht vorschriftsmäßige Entsorgung bedingt sind. Zudem ermöglich wird die Wiederverwertung der Materialien, aus denen sich das Gerät zusammensetzt, was wiederum eine bedeutende Einsparung an Energie und Ressourcen mit sich bringt. Zur Erinnerung an die Verpflichtung, die Elektrohaushaltsgeräte getrennt zu beseitigen, ist das Produkt mit einer Mülltonne, die durchgestrichen ist, gekennzeichnet.


ENERGIEVERBRAUCHSKENNZEICHNUNG/ÖKODESIGN
- Delegierte Verordnung (EU) No 65/2014 der Kommission (zur Ergänzung der Richtlinie 2010/30/EU des Europäischen Parlaments und des Rates im Hinblick).
- Verordnung (EU) No 66/2014 der Kommission (zur Durchführung der Richtlinie 2009/125/EG des Europäischen Parlaments und des Rates im Hinblick).
Kurze Bezeichnung der bei der Überprüfung der Übereinstimmung mit den vorstehenden Anforderungen angewandten Mess- und Berechnungsmethoden oder Bezugnahme darauf:
Norm EN 60350-1 (Elektrobackofen).
- Norm EN 60350-2 (Kochmulden: Elektrische Kochzonen und/oder Kochflächen).
VERWENDUNG DES GERÄTS, ENERGIESPARTIPS
BACKÖFEN
- Prüfen Sie, dass die Backofentür stets korrekt geschlossen und die Turdichtung sauber ist.itte öffnen Sie die Backofentur beim Betrieb des Ofens nur dann, wenn es unbedingt nötig ist, um Wärmeverluste zu vermeiden (bei einigen Funktionen ist es allerdings erforderlich, die Backofentur halb offen zulassen, dies konnen Sie genau in der Bedienungsanleitung des Backofens nachlesen).
- Schalten Sie den Backofen bereits 5-10 Minuten vor dem Ende der geplanten Gardauer ab, um die Restwärme vollständig auszunutzen.
- Es wird empfohlen, nur ofenfestes Geschirr zu benutzen und die Temperatur des Backofens während des Gar- oder Backvorgangs bei Bedarf etwas einzuregeln.
KOCHMULDE
INDUKTIONS-KOCHZONEN UND/ODER KOCHFLÄCHEN
- Verwenden Sie Deckel, wann immer dies möglich ist, um Energie zu sparen.
- Sobald das Gargut in der Pfanne zu kochen beginnt, drehen Sie die Hitze auf die gewünschte Stufe herunter.
-itte verwenden Sie nur geeignete, fur Induktionskochen ausgewiesene Töppe und Pfaffen. Verschiedenes, auf dem Markt erhältliches Kochgeschirr, besitzt einen effektiven ferromagnetischen Bereich, der wesentlich kleiner ist als der Durchmesser des Kochgeschirrs.itte verwenden Sie derartiges Kochgeschirr nicht, da der Induktionsherd damit möglichereise nicht Funktioniert oder beschädigt werden kann.
-itte benutzen Sie stets Pfannen/Teekessel mit einem dicken und vollständig ebenen Boden. Benutzen Sie keine Pfannen/Kaffeekannen oder Teekessel mit konkavem oder konvexem Boden, da diese zu einer Überhitzung der Kochzone führen können.
Wichtig: Benutzen Sie keine Adapter fur Töpfe/Kaffeekannen oder Teekessel.


ACHTUNG - SEHR WICHTIG!
BRAND/ÜBERHITZUNGSGEFAHR:
- Keine Servieten, Tücher oder Sonstiges an die Schutzschiene des Geräts oder an den/die Griff/e der Ofentür hangen, während das Gerät in Betrieb ist.
UM SCHÄDEN AM GERÄT ZU VERMEIDEN:
- Das Gerät nicht an der Schutzschiene oder an dem/eden Griff/en der Ofentür haben.
- Sich nicht an die Schutzschiene oder an den/die Griff/e der Ofentür lehnen.

ARBEITSFLÄCHE

Abb. 1.1
INDUKSTIONS-KOCHMULDE
- Induktions-Kochzone 200 mm Normal Leistung: 2300 W
Booster-Leistung: 3000 W
-
Induktions-Kochzone 160 mm Normal Leistung: 1400 W
-
Display der Kochzonen
Hinweis: Die Nennleistung und die Booster-Leistung sind von der Höhe und dem Material des Kochgeschirrs abhängig, das auf die Kochzone gestellt wird.
Achtung:
Ziehen Sie den Stecker aus der Steckdose, falls die Glasskeramik gesprungen ist und rufen Sie die Kundendienstelle an. Legen Sie keine Metallgegenstände wie Messer, Gabeln, Löffel oder Deckel auf die weiß Kochmulde, da diese heißt werden konnen.

BESCHREIBUNG DER BEDIENELEMENTE
- Stellknauf Kochzone vorre rechts
- Stellknauf Kochzone hinten rechts
- Stellknauf Kochzone hinten links
- Stellknauf Kochzone vorne links
- Mehrzweck-Ofenbedienknopf (Ofen links)
- Mehrzweck- Ofenthermostatknopf (Ofen links)
- Herkömmlicher Ofenthermostatknopf (Ofen rechts)
- Herkömmlicher Ofenbedienknopf (Ofen rechts)
- Elektronische Uhr/Programmiergerät (Nur linker Hauptofen)
Kontrollampen:
- Mehrzweck- Ofentemperaturanzeigeleuche (Ofen links)
- Herkömmliche Ofentemperaturanzeigeleuchte (Ofen rechts)

GEBRAUCH DES KOCHFELDES
Die Keramikkochplatte ist mit Induktionskochfeldern ausgestattet.
Dlese Bereiche, die immer durch farbige Ringe auf der Keramikoberfläche markiert sind, werden miteparaten Knopfen auf dem Bedienfeld gesteuert.
Im vorderen mittleren Bereich des Kochfeldes geben die Bereichsanzeigen (bestehend aus 4 Leuchtfiguren - eine pro Gebiet) angezeigt:

Abb. 3.1

= Kochfeld (nicht aktiviert)

= Kochfeld On (aktiviert aber nicht heiß in Betrieb)
Wenn alle Bereiche auf Null eingestellt sind, schaltet sich das Display automatisch (Kochfelder Off) nach etwa 10 s aus.


= Leistungsstufen

= Funktion "Schnelles Wärmen"

= "Booster"- Funktion

= Anzeige der Restwärme

= Anzeige des Kochtopfsensors

= Kindsperre
Hinweis: Jede hervorgehobene Abbildung bezieht sich auf das entsprechende Kochfeld.
INDUKTIONSKOCHSYSTEM
Ist Ihr Induktionskochfeld eingeschaltet und wurde ein Kochfeld gewählt, erzeugen die elektronischen Schaltkreise Induktionssströme die sofort den Topfboden erwärmen, der wiederum die Wärme auf die Nahrungsmittel überträgt. Das Garen erfolgt beinhme ohne jeglichen
Energieverlust zwischen dem Induktionskochfeld und der Nahrung.
Ihr Induktionskochfeld Funktioniert nur, wenn ein geeigneter Topf mit den richtigen Eigenschaften auf ein Kochfeld gestellt wurde. Siehe unter TÖPFE ZUM GAREN MIT INDUKTION.
Erscheint das Symbol die Topferkennung auf dem Display ist Ihr Topf nicht geeignet und Ihr Induktionskochfeld Funktioniert nicht.
Nach 10 min ohne Erkennung eines Topfes schaltet das Kochfeld automatisch aus und kann erst wieder eingeschaltet werden, nach dem der Steuerknopf wieder auf "O" (Off) gestellt wurde.
ANZEIGDERRESTWÄRME
Wenn die Temperatur eines Kochfeldes noch hoch ist, leuchtet jeweils die Anzeige Her Restwärme auf dem Display auf, um Sie auf die weiß Oberfläche aufmerksam zu machen. Vermeiden Sie es, die weiß Oberfläche im Kochfeld zu berühren. Achten Sie damit weitere besonderss auf Kinder.
Leuchtet auf dem Display, ist es noch möglich, einen neuen Garvorgang einzuleiten. Drehen Sie dann den Steuerknopf auf die entsprechende Leistungsstufe.
TÖPFE ZUM GAREN MIT INDUCTION
Das Induktionskochsystem FUNKTIERT NUR, wenn die richtigen, zum Kochen mit Induktion geeigneten Töpfe verwendet werden.
Der Topfboden muss ferromagnetisch sein, um das erforderliche elektromagnetische Feld entstehen zu halten, das für den Aufwärmvorgang notwendig ist (d.h. ein Magnet muss am Topfboden anhaften).
Töpfe aus folgenden Materialien sind nicht geeignet:
- Glas, Holz, Porzellan, Keramik, Steingut;
- reiner Edelstahl, Aluminium oder Kupfer ohne magnetischen Boden.
Ob ein Topf geeignet ist oder nicht kann wie folgt geprüft werden:
- Testen Sie den Topfboden mit einem Magnat: haftet der Magnet an, ist der Topf verwendbar.
- steht kein Magnet zur Verfügung konnen Sie eine keine Wassermenge in den Topf geben undihn auf ein Kochfeld stellen. Schalten Sie das Kochfeld dann ein: erscheint das Symbol
(Topferkennung) auf dem Display des Kochfeldes (an Stelle der Leistungsstufe) ist der Topf ungeeignet.
Wichtiger Hinweis: die Kochfelder Funktionieren nicht, wenn der Topdfurchmesser zu Klein ist (das Symbol Topferkennung entscheidint auf dem Display des Kochfeldes). Beachten Sie zum wichtigen Gebrauch der Kochfelder die Angaben in der folgenden Tabelle.
Induktionskochfeld Empfohlener Mindestdurchmesser des Topfes
vorn rechts 160mm110mm
hinten rechts 200 mm 145 mm
hinten links 160 mm 110 mm
vorn links 200 mm 145 mm
Vorsicht: Der Topf muss immer in die Mitte des Kochfeldes gestellt werden. Es ist möglich, größere Töppe zu verwenden, aber der Topfbodenarf keine anderen Kochfelder berühren. Verwenden Sie immer Töppe mit einem dicken, vollkommen ebenen Boden.
Verwenden Sie keine Töppe mit konkavem oder konvexem Boden. Diese können eine Überhitzung des Kochfeldes hervorrufen.
Hinweis: Einige Topfarten können Gerausche hervorrufen, wenn sie auf einem Induk-tionskochfeld benutzt werden.
Dieses Gerausch ist kein Anzeichen für einen Defekt des Gerätes und beeinflusst den Kochvorgang nicht.
STEUERKNÖPFE
Jedes Kochfeld wird mit einem separaten Steuerknopf bedient, der sich auf dem Bedienfeld befindet. Der Vorgang wird durch das elektronische System gesteuert.
Wird ein Kochfeld nicht ausgeschaltet, nimmt das elektronische System die Abschaltung automatisch nach einer vorab eingerichteten Zeit vor, die von der Leistungseinstellung abhängt.


ZEITLICH BEGRENZTER KOCHZONENBETRIEB
Jede Kochzone wird automatisch nach Ablauf der voreingegebenen maximalen Zeit ausgeschaltet, wenn sie während dieser Zeit nicht verwendet wird. Die maximale voreingestelle Zeit hängt von der eingesätten Leistungsstufe ab, wie in der hier abgebildeten Übersicht aufgeführrt. Jeder Vorgang, der an der Kochmulde über einen Steuerknopf eingestellt wird, stellt die maximale Betriebszeit wieder auf den Ausgangswert zurück.
| Leistungsstufe der Kochzonen | Zeitlich begrenzter Kochzonenbetrieb |
| 8 | 360 minutes |
| 2 | 360 minutes |
| 3 | 300 minutes |
| 8 | 300 minutes |
| 5 | 240 minutes |
| 8 | 90 minutes |
| 8 | 90 minutes |
| 8 | 90 minutes |
| 8 | 90 minutes |
1÷9LEISTUNGSSTUFE
Drehen Sie den Knopf im Uhrzeigersinn, um die gewünschte Leistungsstufe zwischen 1 (Minimum) und 9 (Maximum) einzurichten.
Das Leistungsstufe kann jederzeit durch Drehen des Knopfes im Uhrzeigersinn oder entgegengesetzt zum Uhrzeigersinn in eine andere Einstellung geändert werden.
Das Display des Kochfeldes zeigt die gewählte Einstellung an.
| BEISPIELE FÜR DIE EINSTELLUNG DER GARLEISTUNG | ||
| O Kochfeld nicht aktiv | ||
| 1 bis 2 | Schmelzen Aufwärmen | Saucen, Butter, Schokolade, Gelatine Fertiggerichte |
| 2 bis 3 | Sieden Auftauen | Reis, Pudding, Zuckersirup Getrocknetes Gemüse, Fisch, tiefgefrorene Produkte |
| 3 bis 4 | Dampf Gemüse, Fisch, Fleisch | |
| 4 bis 5 | Wasser | Dampfgegarte Kartoffeln, Suppen, Nudeln Frisches Gemüse |
| 6 bis 7 | Mittleres Garen Sieden | Fleisch, Leber, Eier, Würstchen Goulasch, Roulade, Kutteln |
| 7 bis 8 | Garen Kartoffeln, Frittietes, Waffeln | |
| 9 | Frittieren, Braten Wasser kochen | Steaks, Omelett, frittierte Gerichte Wasser |
FUNKTION "SCHNELLES WÄRMEN"
Drehen Sie den Steuerknopf entgegen dem Uhrzeigersinn auf die Einstellung A und halten Sieihn los (nach dem Signalton). Das entsprechende Symbol 8 erscheint auf dem Display des Kochfeldes. Drehen Sie den Knopf innerhalb von 5 s auf die gewünschte Leistungsstufe (zwischen 1 und 9). Sobald eine Einstellung gewählt wurde blinkt 8 und die gewählte Leistungsstufe auf dem Display des Bedienfeldes.
These Funktion ermitteligt einen Betrieb des Kochfeldes bei maximaler Leistung (100%) über einen der Leistungsstufe entsprechenden Zeitraum. Nach dieser Zeit wird das Kochfeld auf der gewährten Stufe betreiben.
These Funktion steht fur alle Kochfelder zur Verfugung.
Während diese Funktion aktiv ist, kann die gewährte Leistung jederzeit erhöht werden, aber es ist nicht möglich, die Leistung zu senken. Durch Drehen des Knopfes entgegen dem Uhrzeigersinn auf eine niedrigere Leistungsstufe wird diese Funktion deaktiviert.
These Funktion wird auch durch Drehen des Knopfes in die Position 0 (Off) oder durch Auswahl der "Booster"-Funktion ausgeschaltet.
Hinweis: Wird der Kochtopf vom Kochfeld genommen, bevor das Programm beendet ist, wird die Funktion "Schnelles Wärmen" über die Restzeit fortgesetzt, wenn der Topf innerhalb von 10 min wieder auf das Kochfeld gestellt wird.
"BOOSTER"-FUNKTION
Drehen Sie den Steuerknopf im Uhrzeigersinn, um die maximale Leistungsstufe einzurichten (9). Drehen Sieihn dann erneut entgegengesetzt, auf die Einstellung P und halten Sieihn los (nach dem Signalton). Der Steuerknopf keht automatisch zur maximalen Einstellung
(9) zusück und das entsprechende Symbol leuchtet auf dem Display des Kochfeldes auf. jetzt ist das "Booster"-Programm aktiv.
These Funktion ermittelungen Betrieb des Kochfeldes bei maximaler Booster-Leistung (über der Nennleistung) über maximal 5 min. Sie kann zum Beispiel zum schellen Aufwärmen einer großen Wassermenge benutzt werden.
These Funktion ist an den vorderen linken bzw. an den hinteren rechten Zonen vorgesehen.
Drehen Sie, um diese Funktion zu deaktivieren, den Knopf entgegen dem Uhrzeigersinn auf einen niedrigere Leistungsstufe oder auf "O" (Off).
Der "Booster" wird auch durch erneutes Drehen des Knopfes auf die Einstellung P deaktiviert. In diesen Fall arbeitet das Kochfeld mit der Leistungsstufe 9.
Hinweis: Ist ein Kochfeld noch heißt kann die "Booster"-Funktion nicht benutzt werden und blinking die Anzeige, wenn Sie versuchen, sie zu aktivieren. Das Kochfeld wird automatisch auf die maximale Leistungsstufe (9) eingerichtet.
Die „Booster“-Funktion ist immer auf 5 Minuten beschränkt. Wenn diese Funktion verwendet wird, kann sie erst nach 5 Minuten wieder eingeschaltet werden.
WICHTIGE HINWEISE: Die „Booster“-Funktion ist nicht für Garvorgänge ohne Wasserzugabe geeignet.
Verwenden Sie diese Funktion nicht um Öl zu erhitzen (z.B. zum Frittieren).
MAXIMAL FÜR DIE KÖCHFELDER VERWENDBARE LEISTUNG
Das rechte und linke Kochfeld wird durch zwei separate Leistungsplatzinen gesteuert und die maximale Gesamtleistung für jeder Platine beträgt 3700 W.
Sollten die Kochfelder einer Leistungsplatine mehr als 3700 W erfordern, hat die zuletzt gewählte Leistungsstufe Vorrang und die Leistung des anderen Kochfeldes wird automatisch auf die verbleibende Restleistung reduziert.
In this fall zeit das Kochfeld fur etwa 3 s ein blinkendes Symbol an, bevor automatisch die neue Leistungsstufe angezeigt wird.

Gesteuert von 1. Leistungsplatine
Das bedeutet zum Beispiel: 2. Leistungsplatine
- Beim Einrichten eines "Booster"-Programm für den zweiten Bereich kann die Einstellung für den anderen Bereich auf die verbleibende Restleistung reduziert werden.
- Beim Einrichten ein "Booster"-Programmes für einen Bereich und dann eines anderem im zweiten Bereich, wird das "Booster"-Programm gelöscht, wenn die Gesamtleistung 3700 W überschreitet, und die Leistung auf die maximal verfügbare Leistung reduziert wird.
THERMOSCHUTZ
Das Induktionskochfeld wird mit Sicherheitsvorrichtungen ausgestattet, um das elektronische System zu schätzen und eine Überhitzung der einzelnen Kochfelder verhindert.
Bei einer Überhitzung kann eine der folgenden automatischen Funktionen mit dem elektronischen System gestartet werden:
das "Booster"-Programm wird gelöscht und die Leistung auf 9 reduziert;
- ein oder mehrere Kochfelder werden ausgeschaltet.
- der Motor des Kuhlungslufters wird ausgeschaltet.
KINDERSPERRE
Richten Sie, wenn die das Kochfeld nicht verwenden, die Kindersperre ein, um zuverhindern, dass Kinder die Kochfelder einschalten.
Prüfen Sie, ob alle Kochfelder ausgeschaltet sind, drehen Sie dann die Steuerknöpfe der hinteren Kochfelder 1 und 2 gleichzeitig nach links (Einstellung A) und halten Sie sie in dieser Position bis auf dem Display des Kochfeldes aufleucht. Lassen Sie die Knöpfedann los.
Prüfen Sie, ob alle Kochfelder ausgeschaltet sind, drehen Sie dann die Steuerknöpfe der linken Kochfelder gleichzeitig nach links (A) und halten Sie sie in dieser Position bis dem Display des Kochfeldes aufleucht. Lassen Sie die Knöpfe dann los.
Wiederholen Sie diesen Vorgang, um die Kindersperre zu deaktivieren, bis auf dem Display des Kochfeldes aufleuchtet. Lassen Sie die Knöpfe dann los.
EHLERCADES AUF DEM DISPLAY DES KOCHFELDES
Fehlercode Beispiel Maßnahmen
Erxx
oder
Ex (nicht E2 oder
EH)
oder
Display nicht
funktioniert
E2
oder
EH
E6
oder
Display nicht
funktioniert
Symbol
wiebei
Seite
Abbildung
- Schalten Sie den Herd aus und trennen Sie die Stromversorgung vom Netz.
- Warten Sie etwa 1 min ab, schreiben Sie den Herd wieder an und schalten Sie die Kochfelder ein.
- Warten Sie etwa 1 min ab. Wenn die Fehlermeldung nicht erneut erscheidt, können die Kochfelder benutzt werden.
- Verlischt die Fehlermeldung nicht, müssen die Arbeitsgänge 1 bis 3 wiederholt werden.
- Benutzen Sie das Induktionskochfeld (sondern nur den Backofen) nicht, wenn das Problem weiter auftritt, und verständigen Sie eine zugelassene Kundendienstelle.
E und 2 erscheinen abwechselnd für ein oder mehrere Kochfelder.
Dies weist auf eine Überhitzung der/s Kochfelder/Kochfeldes hin.
- Schalten Sie das/die Kochfeld/er aus und halten Sie es/sie abkühlen.
- Benutzen Sie das Induktionskochfeld (sondern nur den Backofen) nicht, wenn das Problem weiter auftritt, und verständigen Sie eine zugelassene Kundendienstelle.
Der Herd wurde falsch angeschlossen.
Das Gerät muss an eine geeignete Stromquelle durch einen Fachtechniker angeschlossen werden.
Dies weist auf eine falsche Funktionseiste eines oder mehrerer Steuerknöpfder Kochfelder hin.
- Bringen Sie die Steuerknöpfte der Kochfelder in die Position 0 (Off), schalten Sie den Herd dann aus und trennen Sieihn vom Netz.
- Warten Sie etwa 1 min ab, schreiben Sie den Herd wieder an und schalten Sie die Kochfelder ein.
- Warten Sie etwa 1 min ab. Wenn die Fehlermeldung nicht erneut erscheid, können die Kochfelder benutzt werden.
- Verlischt die Fehlermeldung nicht, müssen die Arbeitsgänge 1 bis 3 wiederholt werden.
- Benutzen Sie das Induktionskochfeld (sondern nur den Backofen) nicht, wenn das Problem weiter auftritt, und verständigen Sie eine zugelassene Kundendienstelle.
RATSCHLAGE FÜR EINENSICHEREN GEBRAUCH DER KOCHMULDE
- Vor dem Einsatzen, kontrollierten welcher Einstellknopf für die gewünschte Kochzone betätigter werden soll. Wir empfehlen den Topf vor dem Einsatzen auf die Kochzone zu stellen und ihr nach dem Ausschalten zu entfernen.
Kochgeschirr mit ebenen und flachen Boden verwenden (Achtung bei Geschirr aus GuBeisen).Durch einen unebenen Boden kann die Glaskeramikfläche zerkratzt werden.Der Boden muß sauber und trocken sein. - Bei Gebrauch von Kochgeschirr mit Aluminiumboden konnen Punkte und silbrige Streifen auf der Oberfläche zusückbleiben.
- Keine feuchten oder mit Kondenswasser versehenen Deckel auf der Kochmulde legen.
Die Glaskeramikoberfläche und das Kochgeschirr sind stets zu reinigen. Lebensmittelreste (insbesondere Speisen, die Zucker enthalten), Verschmutzungen und sonstige Rückstände sind unter Verwendung eines Reinigungsmittels sorgfältig zu entfern. - Darauf achten, daß der Topfhenkel nicht von der Kochmulde Herausragt, um zu vermeiden, daß der Topf versehentlich umgekippt werden kann. Dadurch wird der Topf auch für Kinder unzugänglicher.
- Sich nicht über dieHEYben Kochzonen neigen.
- Auf die Glaskeramik-Kochmulde keine schweren oder spitzen Gegenstände fallen halten. Falls die Fläche beschädigt werden sollen, den Stecker der Kochmulde aus der Steckdoseziehen und die Kundendienstelle anrufen.
- Keine Alufolen oder Kunststoffgegenstände auf die warmen Kochzonen legen.
Die Kochzonen bleiben nach dem Ausschalten noch relativ lang heiB (ca. 30 min.). - Falls die Fläche beschädigt werden solte, den Stecker der Kochmulde aus der Steckdoseziehen und die Kundendienstelle anrufen.








Abb. 3.3
KEINE TÖPFÉ MIT UNBEARBEITETEM, RAUEN BODEN VERWENDEN

Abb. 3.4
REINIGUNG
- Achten Sie daraufuf, daß das Kochfeld abgeschalten ist, bevor Sie es reinigen.
- Die Anweisungen zur Reinigung auf jeder Fall beachten.
- Entfernen Sie eventuelle Yerkrustungen nur mit dem Schaber.
- Entfernen Sie Staub mit einem feuchten Lappen.
- Es sind nur nicht scheuernde und nicht atzende Reinigungsmittel zu verwenden.
- Reinigungsmittelrechte müssen mit einem feuchten Lappen vollständig entfernt werden.
- Stellen Sie keinerlei Gegenstände auf das Kochfeld, die bei Hitze schmelzen können: wie z.B. Plastikgegenstände, Aluminiumfolie, Zucker oder Zuckerprodukte.
- Falls irgendein Gegenstand auf dem Kochfeld geschmolzen sein sollte, entfern den Sie ihn sofort (solange das Kochfeld noch heiß ist) und benutzen Sie dazu den mitgelieferten Schaber, um eine nicht mehr behebbare Beschädigung der Glaskeramikoberfläche zu verhindern.
- Benutzen Sie keine Messer oder spitzen Gegenstände, weil dadurch die Kochfeldoberfläche beschädigt werden können.
- Benutzen Sie auch keine Scheuerschwämme oder Topfkratzer weil diese die Glaskeramikoberfläche des Kochfeldes zerkratzen; auch diese Art der Beschädigung kann nicht mehr ausgegebessert werden.
- ACHTUNG: AUSSERST WICHTIG! Verwenden Sie zum Reinigen des Glaskeramikfeldes ein spezielles Werkzeug (z.B. Schaber) und achten Sie besonderss darauf, eine Beschädigung der Dichtung an den Kanten der Glaskeramikfläche zu vermeiden.
Die Kochmulde nicht mit scharfen oder spitzen Gegenständen zerkratzen. Die Glaskeramik-Kochmulde nicht als Auflagefläche verwerden.

4 MULTIFUNKTIONS-BACKOFENS (Ofen links)
Vorsicht: Die Backofentür wird während des Betriebs sehr heißt. Halten Sie Kinder fern.
TECHNISCHE DATEN DES MULTIFUNKTIONS-BACKOFENS
Die hier aufgeführten Elektroherde besitzen einen Multifunktions-Backofen. Wie die Definition schon sagt, handelt es sich um einen Backofen, der in Funktioneller Hinsicht beschondere Eigenscharten aufweist.
Er besitz 7 verschiedene Funktionen und erfüllt somit alle möglichen back-, Brat- und Grillwünsche.
Die 7 Funktionen mit thermostatischer Steuerung ergeben sich durch 4 Heizelemente; diese sind:
- Unterhitze
Oberhitze - Grill
Umluft
BEMERKUNG:
Wenn der Ofen erstmalig in Betrieb gesetzt wird, empfehlen wir ihn zuerst bei maximaler Temperatur (Thermostatknopf auf 250 positionieren) undzar30 Minuten auf Position und 30 Minuten auf Position und um eventuelle Spuren von Fett an den elektrischen Widerstandenzubeseitigen.
Vorsicht: Die Backofentür wird während des Betriebs sehr heißt.
Während des Gebrauches wird das Gerät heiß.
Aufpassen die bereits Elemente innerhalb des Ofens nicht zu bettreffen.
FUNKTIONSWEISEN
Das Erhitzen und Garen im Multifunktions-Backofen wird auf die wie folgt beschrieben Weisen erreicht:
a. Durch natürliche Wärnestömung
Die Hitze wird von den oberen und unteren Heizelementen erzeugt.
b. Durch gelenkte Wärmeströmung (Heißluft).
Ein Ventilator saugt die sich im Backofeninneren befindliche Luft an; die Luft stromt damit durch ein spiralformiges elektrisches Heiz element und wird dann wieder in den Garraum ausgestoBen. Die so erhitzte Luft umgibt vollständig die in den Backofen gestelltten Speisen, die auf diese Weiseschnell und rundherum gleichmäßig gegart werden. Die Luft wird vom Ventilator ständig neu angesaugt, so daß sich der beschriebene Vorgang kontinuierlich wiederholt. Es konnen verschiedene Gerichte gleichzeitig gebacken oder gebraten werden.
c. Durch halbgelenkte Wärmeströmung (Umluft).
Die von den oberen und unteren Heiz-elementen erzeugte Hitze wird vom Ventilator im Backofen gleichmäßig verteilt.
d. Durch Infrarotstrahlung
Die Hitze wird durch die Infrarot-strahlung der Grill-Resistance erzeugt.
e. Durch Infrarotstrahlung mit Umluft
Die durch die Infrarotbestrahlung der Grill-Resistance erzeugte Hitze wird von einem Ventilator gleichmäßig im Backofen verteil.
f. Durch Ventilation
Zum Auftauen wird der Ventilator ohne Heizung verwendet.


THERMOSTAT - KNOPF (Abb. 4.1)
Dient lediglich zur Einstellung der Gartemperatur, schaltet jedoch den Ofen nicht ein; wird immer in Verbindung mit dem Funktionswahlschalter bedient.
Im Uhrzeigersinn auf die Position der gewünschten Temperatur drehen.
Die Temperaturkontrollampe meldet, ob die Heizelemente ein- oder abgeschaltet sind.
FUNKTIONSWÄHLSCHALTER (Abb. 4.2)
Zur Wahl der folgenden Funktionen drehen Sie den Schalter im Uhrzeigersinn:

BACKOFENBELEUCHTUNG
In dieser Stellung schaltet sich nur die Backofenbeleuchting ein, die während aller Back- und Brativorgänge immer an bleibt.

HERKÖMMLICHES BACKEN UND BRATEN MIT OBER-UND UNDER-HITZE
In dieser Stellung werden die unteren und oberen Heizelemente eingeschalten. Die Hitze verteilt sich durch natürliche Strömung, und die Temperatur wird am Thermostat zwischen 50^ und 250^ eingestellt. Der Backofen muß vorgeheizt werden.
Empfehlung:
These Einstellung wird empfohlen für Speisen, die innern und auBen in gleicher Weise garen sollen. Zum Beispiel: Braten, Schweinerippchen, Meringen, etc.

NORMAL GRILL
Der Infrarotwiderstand schaltet ein. Die Wärme wird durch Strahlung abgegeben.
Funktionsschalter auf [ ] , stellen, Temperatur am Thermostat ist 15 Minuten lang auf 225^ und dann auf 175^ einzustellen. Dabei muss die Backofentur geschlossen sein.
Dabei muss die Backofentür geschlossen sein.
Das Kapitel "GRILLEN" informiert genauer über den richtigen Gebrauch.
Den Grill nicht länger als 30 Minuten verwenden.
Achtung: Die Backofentür ist während des Betriebs heiss. Kinder mussen ferngehalten werden!
Empfehlung:
These Einstellung wird für intensives Rösten empfohlen, z.B. zum Anbraten, Überbacken, Gratinieren, Toasten, etc.

AUFTAUEN VON GEFRORENEM
In dieser Stellung schalten Sie nur den Backofen-Ventilator ein. Dazu muß der Thermostat auf “●” gestellt werden, auch weil andere Einstellungen keine Wirkung hatten. Das Auftauen erfolgt nur durch Belüfung ohne Beheizung.
Empfehlung:
These Einstellung ermittelung das schnelle Auftauen von Gefrorenem; für 1 kg Ware wird ungebahr eine Stunde benötigt. Die benötigte Zeit ist abhängig von der Menge und der Art der aufzutauenden Lebensmittel.

BRATEN UND BACKEN MIT HEIBLUFT
In dieser Stellung schalten Sie den kreisfornigen Widerstand und den Ventilator ein. Die Hitze verteil sich durch gelenkte Liftströmung, und die Temperatur kann am Thermostat zwischen 50^ und 250^ eingestellt werden. Der Backofen muß nicht vorgeheizt werden.
Empfehlung:
These Einstellung ist geeignet für Speisen, die außen gut gebacken und innen weich und rosig bleiben sollen, z.B. Lasagne, Lamm, Roastbeef, ganze Fische, etc.

UMLUFT-INFRAROT-GRILL
In dieser Stellung schalten Sie den Infrarot-Grill und den Ventilator ein. Die Hitze breitet sich hauptsächlich durch die Strahlung aus, und der Ventilator verteil sie dann gleichmäßig im ganzen Backofen.
Wenn der Backofen benutzt wird, muss die Backofentür stets geschlossen sein und die Temperatur am Thermostat ist zwischen 50^ und 200^ einzustellen. Der Ofen muss etwa 5 Minuten lang vorgehtzt werden. Empfehlungen zur Anwendung sind dem Kapitel "GRILLEN UND GratisINIEREN" zu entnahmen.
Den Grill nicht länger als 30 Minuten verwenden.
Achtung: Die Backofentür ist während des Betriebs heiss. Kinder mussen ferngehalten werden!
Empfehlung:
These Einstellung empfeihlt sich zum Grillen, wenn ein schnelles Rösten außengewünscht wird, um den Fleischsaft im Innen zu halten, z.B. Kalbschnitzel, Koteletts, Hackbraten, etc.

WARMHALTEN NACH DER ZUBEREITUNG ODER LANGSA MESNWÄRMEN DER SPEISEN
In dieser Stellung schalten Sie die Oberhitze, denkreisformigen Widerstand und den Ventilator ein. Die Hitze verteil sich durch gelenkte Luftströmung und ist im oberen Backofenabschnitt größter.
Die Temperatur wird am Thermostat zwischen 50^ und 140^ eingestellt.
Empfehlung:
These Einstellung ist geeignet für Gerichte, die gut gar sein sollen. Mit ihr halten Sie die Speisen nach jedem möglichen Brat-, Back-oder Grillvorgang heißt, und Sie können bereits zubereitete Speisen langsam erwärmen.

BRATEN UND BACKEN MIT UMLUFT
In dieser Stellung schalten Sie Ober- und Unterhitze und den Ventilator ein.
Ober-und Unterhitze werden durch den Ventilator noch better verteil.
Die Temperatur wird am Thermostat zwischen 50^ und 250^ eingestellt.
Empfehlung:
These Einstellung eignet sich besonderss für große Stücke oder große Mengen, die innen und außen gleichermaßen gar sein sollen, z.B. Rollbraten, Truthahn, Keulen, Haxen, Kuchen, etc.
RATSCHLAGE FÜR ANDERE KOCH-, BRAT-UND BACKVORGänge
EINKOCHEN
Lebensmittel verschiedenster Art konnen in vollen und dicht verschlosten Gläsern in der nachfolgend beschriebenen Weise eingekocht werden:
a. Stellen Sie den Funktionswahlachalter auf die Position
b. Stellen Sie den Thermostat auf 185^ ein und heizen Sie den Backofen vor.
c. Füllen Sie die Fettpfanne mit heiBem Wasser.
d. Stellen Sie die Gläser so in die Fettpfanne, daß sie sich nicht gegenseitig berühren, geeßen Sie etwas Wasser auf die Deckel der Einkochgläser, schlieben Sie den Backofen und stellen Sie den Thermostat auf 135^ zurück.
Wenn petite Luftblaschen in den Glasern sightbar werden, hat der Einkochvorgang begonnen, und Sie konnen den Backofen ausschalten und abkühlen halten.
AUFWÄRMEN VON BRÖTCHEN
Stellen Sie den Funktionswahlschalter auf die Position und den Thermostat auf 150^
Die Brötchen werden wieder wohlschmeckend, wenn Sie sie mit einigen Tropfen Wasser befeuchten und zirka 10 Minuten bei Höchsttemperatur im Backofen lassen.
BRATEN
Um den traditionellen, überall gleichmäßig gegarten Braten zu erhalten, denken Sieitte daran:
- daß Sie eine Temperatur zwischen 180^ und 200^ beibehalten sollenen, und daß die Bratdauer von der Menge und Qualität des Fleisches abhängt.
GLEICHZEITIGES BACKEN UND BRATEN VERSCHIEDENER SPEISEN
Wenn Sie den Multifunktions-Backofen in die Positionen und stellen, können Sie gleichzeitig die entsprechlichsten Speisen backen und braten.
So kann man z.B. gleichzeitig Fisch oder Fleisch braten und einen Kuchen backen, ohne daß sich Aroma und Geschmack vermischen.
Dazu brauchen Sie nur einige weniger Hinweise zu beachten:
Die Temperaturen, die für das Zubereiten der einzelnen Speisen nötig sind, sollenn so nahe wie möglich beieinander liegen und einen Temperaturunterschied von 20^ bis 25^ nicht überschreiben.
- Beachten Sie beim Einschieben der Gerichte in den Backofen, daß sie verschiedene lange Garzeiten haben können. Es versteht sich von selbst, daß durch diese Backmöglichkeit Zeit und Energie gespart werden kann.
GRILLEN UND GRATINIEREN
Mit der Position, auf dem Funktionwahlschalter konnen Sie bestens ohne Spiegel grillen, weil die Heilluft die Speise vollkommen umgibt.
Der Thermostat muß auf 200^ eingestellt und der Backofen vorgeheizt werden.
Danach legen Sie das Fleisch o.a. einfach auf den Grillrost, schreiben die Backofentur, stellen den Thermostat auf die gewünschte Temperatur zwischen 50^ und 200^ ein.
Wenn Sie kurz vor Abschluß des Grillvorgangs ein paar Butterflocken über die Speisen verteilen, erhalten diese ein goldgelbes Aussehen wie beim Gratinieren.
Den Grill nicht länger als 30 Minuten verwenden.
Achtung: Die Backofentür ist während des Betriebs heiss. Kinder mussen ferngehalten werden!
HERKÖMMLICHES GRILLEN
Grill wie oben beschreiben einschalten und mit geschlossener Ofentür etwa 5 Minuten lang vorheiten.
Kochgut auflegen und den Rost so nahe wie möglich am Grill einschieben.
Fettpfanne unter den Rost schieben, um den Bratensaft aufzufangen.
Mit geschlossener Backofentür grillen.
Den Grill nicht länger als 30 Minuten verwenden.
Achtung: Die Backofentür ist während des Betriebs heiss. Kinder mussen ferngehalten werden!
BEISPIELE FÜR DIE BACK- UND BRATDAUER
Es handelt sich nur um ungebährte Temperatur- und Zeitangaben, weil diese hinsichtlich der Qualität und der Menge der Speisen variieren.
Benutzen Sie nur wirklich für das Backen und Braten im Backofen geeignete Gefäße undändern Sie falls nötig die Backtemperatur während des Garvor gangs.
GERICHE TEMPERATURE
Überbackene Lasagne 220^
Überkernele Nudeln 220°C
Pizza 225°C
Überdecke Reisgerichte 225°C
Milchkartoffeln 200°C
Gefüllte Tomaten 225^
Kase-Souffle 200°C
Uberackene Zwiebeln 200^
Kalbsbraten 200°C
Kalbskotelett am Grill 225^
Huhnerbrust in TomatensoBe 200^
Gegrilltes Hahnchen-Brathannchen 220^
Kalbshackbraten 200°C
Roastbeef 220°C
Seezungenfilets 225°C
Seehecht in KrautersoBe 220^
Beignets 200°C
Kringel 200^
Zwetschgenkuchen 180°C
Marmeladenkuchen 200°C
Bisquit 225°C
Hefekuchen 225°C
SuBe Blätterteigstückchen 200^
Kuchen mit Bisquitboden 220^
BACKEN UND BRATEN
Vor dem Einsetzen des Kochguts den Ofen zunachst auf die gewünschte Temperatur vorheizen.
Wenn der Ofen die gewünschte Temperatur erreicht hat, das Kochgut einschieben und die Backzeit kontrollieren. Den Ofen 5 Minuten vor der tatsächlichen erforderlichen Backzeit ausschalten, um die Speicherwärme zu nutzen.
5 HERKÖMMLICHER OFEN (Ofen rechts)
Vorsicht: Die Backofentür wird während des Betriebs sehr heißt. Halten Sie Kinder fern.
TECHNISCHE DATEN
Wie der Name schon sagt, besitzt dieser Ofen besondere Betriebseigenschaften.
Der herkommliche Ofen is mit 3 Heizelemente ausgestattet:
Oberhitze
Unterhitze
- Grill
Vorsicht: Die Backofentür wird während des Betriebs sehr heißt.
Während des Gebrauchs wird das Geräthieß.
Aufpassen die bereits Elemente innerhalb des Ofens nicht zu betreffen.
BEMERKUNG: Wenn der Ofen erstmalig in Betrieb gesetzt wird, empfehlen wir ihn zuerst bei maximaler Temperatur (Thermostatknopf auf 250 positionieren) 60 Minuten lang auf der Position und weitere 15 Minuten lang auf der Position einzuschalten, um eventuelle Fettruckstände an den Heizelementen zu beseitigen.
FUNKTIONSWEISEN
Mit dem HERKÖMMLICHEN Ofen können Speisen folgendermaßen erwartmt und gegart werden:
a. Durch natürliche Wärnestömung
Die Hitze wird von den oberen und unteren Heizelementen erzeugt.
b. Durch Infrarotstrahlung
Die Hitze wird durch die Infrarot-strahlung der Grill-Resistance erzeugt. (Mit geschlossener Backofentur grillen).


FUNKTISSIONSWÄHLSCHALTER (Abb. 5.1)
Zur Wahl der folgenden Funktionendrehen Sie den Schalter im Uhrzeigersinn:
THERMOSTAT (Abb. 5.2)
Der Thermostat regelt ausschließlich die Gartemperatur, schaltet aber den Ofen nicht ein.
Den Knopf in den Uhrzeigersinn drehen und auf die gewünschte Temperatur positionieren (von 50 bis 250^ ).
Die Leuchte oberhalb des Funktionswährlers leuchtet auf wenn der Ofeneingeschaltet ist und erlischt wenn die richtige Temperatur erreicht worden ist.
Die Leuche blinkt während der Garzeit je nach Ofentemperatur.

BACKOFENBELEUCHTUNG
In dieser Stellung schaltet sich nur die Backofenbeleuchtung ein, die während aller Back-und Bratzvorgänge immer an bleibt.

HERKOMMLICHES BACKEN UND BRATEN MIT OBER-UND UNDER-HITZE
In dieser Stellung werden die unteren und oberen Heizelemente eingeschalten.
Die Hitze verteilts sich durch natürliche Strömung, und die Temperatur wird am Thermostat zwischen 50^ und 250^ eingestellt.
Der Backofen muß vorgeheizt werden.
In der Position ist der Motor bereit um Speisen auf dem Spiel zu grillen.
Empfehlung:
These Einstellung wird empfohlen für Speisen, die innern und auBen in gleicher Weise garen sollen. Zum Beispiel: Braten, Schweinerippchen, Meringen, etc.


ORMAL GRILL
Der Infrarotwiderstand schaltet ein. Die Wärme wird durch Strahlung abgegeben.
Ofentür geschlossen halten und den Thermostatknauf 15 Minuten auf 225^ und dann auf 175^ stellen.
In der Position ist der Motor bereit um Speisen auf dem Spiel zu grillen.
Das Kapitel "GRILLEN" informiert genauer über den richtigen Gebrauch.
Empfehlung:
Theseinstellungwird fur intensives Rostenempfohlen,z.B.zum Anbraten, Uberbacken,Gratinieren,Toasten,etc.
Den Grill nicht länger als 30 Minuten verwenden.
Achtung: Die Backofentür ist während des Betriebs heiss. Kinder mussen ferngehalten werden!
HERKÖMMLICHES GRILLEN
Grill wie oben beschreiben einschalten und mit geschlossener Ofentür etwa 5 Minuten lang vorheiten.
Kochgut auflegen und den Rost so nahe wie möglich am Grill einschieben.
Fettpfanne unter den Rost schieben, um den Bratensaft aufzufangen.
Mit geschlossener Backofentür grillen.
Den Grill nicht länger als 30 Minuten verwenden.
Achtung: Die Backofentür ist während des Betriebs heiss. Kinder mussen ferngehalten werden!
BACKEN UND BRATEN
Vor dem Einsetzen des Kochguts den Ofen zunachst auf die gewünschte Temperatur vorheizen.
Wenn der Ofen die gewünschte Temperatur erreicht hat, das Kochgut einschieben und die Backzeit kontrollieren. Den Ofen 5 Minuten vorder tatsächlich erforderlichen Backzeitausschalten, um die Speicherwärme zunutzen.
BEISPIELE FÜR DIE BACK- UND BRATDAUER
Es handelt sich nur um ungebährte Temperatur- und Zeitangaben, weil diese hinsichtlich der Qualität und der Menge der Speisen variieren.
Benutzen Sie nur wreaklich für das Backen und Braten im Backofen geeignete Gefäße undändern Sie falls notig die Backtemperatur während des Garvorgangs.
GERICHE TEMPERATURE
Überbackene Lasagne 220°C
Uberackene Nudeln 220^
Pizza 225°C
Überbackene Reisgerichte 225^
Milchkartoffeln 200^
Gefüllte Tomaten 225^
Kase-Souffle 200°C
Uberackene Zwiebeln 200^
Kalbsbraten 200^
Kalbskotelett am Grill 225^
Hühnerbrust in Tomatensoße 200^
Gegrilltes Hahnchen-Brathahnchen 220^
Kalbshackbraten 200°C
Roastbeef 220^
Seezungenfilets 225°C
Seehecht in KrautersoBe 220^
Beignets 200°C
Kringel 200^
Zwetschgenkuchen 180^
Marmeladenkuchen 200^
Bisquit 225°C
Hefekuchen 225^
SuBe Blätterteigstückchen 200^
Kuchen mit Bisquitboden 220^
SPIESS (Abb. 5.3)
Damit konnen die Speisen am SpieB gegrillt werden.
Dieses Zubehör besteht aus:
- einem elektrischen Motor, der an der hinteren Ofenwand befestigt ist
- einem Spiegel aus rosfreiem Stahl mit einem abnehmbaren wärmebeständigen Griff und zwei einstellbaren Gabeln
- einer Spiegelalterung, die amzentralen Absatz des Ofenspositioniert wird.
GEBRAUCH DES SPIESSES (Abb.5.3)
Die Fettpfanne in die untere Stufe des Ofens schieben und die Spießhalterung positionieren.
Das Gericht das gegrillt werden soll auf den Spiel stecken und mit den Gabeln festhalten.
Das Fleisch das gegrillt werden soll auf den Spiel stecken und mit den Gabeln in der Mitte festhalten.
- Den Spiegel in die Motorenöffnung stecken und an der Halterung befestigen; dann den Handgriff nach links drehen und abnehmer.
Die Drehrichtigung des Spiebes kann entweder rechts oder links sein.
Mit geschlossener Backofentür grillen.
Den Grill nicht länger als 30 Minuten verwenden.
Achtung: Die Backofentür ist während des Betriebs heiss. Kinder mussen ferngehalten werden!


GEBRAUCH DES ELEKTRONISCHEN PROGRAMMIERERS
Die elektronische Programmiereinheit ist eine Vorrichtung, welche die folgenden Funktionen in sich vereint:
24 Stunden-Uhr mit Leuchtanzeige.
- Zeitschaltuhr (bis zu 23 Stunden und 59 Minuten).
Programm für Gar automatik im Backofen.
- Programm für halbautomatische Garung im Ofen.
Beschreibung der Tasten:

Timer

Garzeit.

Ende der Garzeit (Stunde).

Manueller Vorgang, aktuelles grammm verlassen.

höhung der Ziffern aller Funktionen.
—Senkung der Ziffern aller Funktionen.
Beschreibung der Leuchtsignale:
AUTO - blinkend - Programmierer auf Automatik geschaltet aber noch nicht programmiert (der Ofen kann nicht eingeschaltet werden)
AUTO - festes Licht - Programmierer auf Automatik geschaltet und Programm eingegeben.

Programmierer auf manuell oder vorgang durch Programmierergesteuert

Timer em

und AUTO - blinken mit Alarmsignal - Fehler des Programmierers (Garzeit länger als Garzeitende).
Bemerkung: das Programm kann\ kinderleicht eingestellt werden; die gewünschten Funktionen mit den\ entsprechenden Symbolen wahren, danach die Zeit über die Symbole + und - .\ nnerhalb von 5 Sekunden nach gedrücktem Symbol einstellen. Bei Stromausfall wird der Programmierer zurückgestellt.


ELEKTRONISCHE UHR (Abb. 6.2)
Der Programmierer ist mit einer elektronischen Uhr mit leuchtenden Ziffern ausgestattet, die Stunde und Minuten anziegt.
Wenn das Gerät angeschlossen wird oder nach einem Stromausfall,blinken drei Null am Display des Programmierers.
Um die Uhr einzustellen, Taste und danach Tasten oder drücken, bis die richtige Zeit eingestellt ist (Abb. 6.2).
Eine andere Möglichkeit besteht darin gleichzeitig die beiden Tasten und und auch die Tasteeder drucken.
Bemerkung: Das Einstellen der Uhrzeit löscht vorhergehende programmierungen.
NORMALES GAREN OHNE PROGRAMMIERER
Um das Gerät manuell zu gebrauchen, also ohne Programmierer, muß die blinkende Schrift AUTO durch drücken der Taste gelöscht werden (AUTO wird ausgeschaltet und das Symbol schaltet ein - Abb. 6.3).
Achtung: Wenn AUTO mit einem festen Licht leuchtet (bedeutet ein Garprogramm wurde eingegeben) wird das Programm durch drucken der Taste gelöscht und das Gerät schaltet auf manuell.
Wenn der Ofen eingeschaltet ist, muß er manuell ausgeschaltet werden.

ELEKTRONISCHER TIMER
Das Timer-Programm besteht aus einem Signal das auf maximal 23 Stunden und 59 Minuten eingestellt werden kann.
Wenn AUTO blinkt, Taster drucken.
Zur Zeiteingabe Taste und Taste oder drucken, bis die gewünschte Zeit am Display angezeigt wird (Abb. 6.4).
Wenn die Einstellung beendet ist, wird am Display die Uhrzeit angezeigt und das Symbol leuchtet auf.
Ab demselben Moment lauft die Zeit ab und kann jederzeit am Display angezeigt werden, wenn die Taste groduckt wird.
Nach abgelaufener Zeit, erlischt das Symbol und das intermittierende Signal ertont;这点en kann durch drucken irgend einer Taste ausgeschaltet werden.
FREQUENZ DES SIGNALS EINSTELLEN
Zur Einstellung des Signatons stehen 3 verziedene Moltigkeiten durch drucken der Taste—zur Verfugung.

AUTOMATISCHES GAREN IM BACKOFEN
Um Gerichte automatisch im Backofen zugaren, sind folgende Schritte notwendig:
- Dauer der Garzeit einstellen
- Ende des Garvorgangs einstellen
- Temperatur und Garprogramm einstellen.
These Vorgänge werden folgendermaßen vorgenommen:
- Gardauer durch drucken der Taste und der Taste +oder einstellen. (Abb. 6.5). (Taste +erhohen, Taste -verringern). AUTO und das Symbol leuchten auf.
- Ende des Garvorgangs durch drucken der Taste und der Taste + einstellen (Abb. 6.6) (die Garzeit wird der Uhrzeit hinzugeführ). Wenn die gewünschte Zeit übersritten wird, kann sie durch die Taste — zurück gestellt werden.
Nach beendeter Einstellung schaltet das Symbol aus.
Falls nach der Einstellung AUTO blinkt und ein Signal ertont, bedeutet dies, daß beim Programmieren ein Fehler gemacht worden ist, weil die Gardauer im Verhältnis zur Uhrzeit falsch eingestellt worden ist.
In thisem Fall, Ende der Garzeit oder Gardauer korrigieren; dazu die oben beschriebenen Schritte wiederholen.

- Temperatur und Garprogramm über den entsprechenden Schalter und den Thermostatknopf einstellen (siehe entsprechende Kapitel).
Nun ist der Backofen programmiert; er wird automatisch zur richtigen Zeit einund nach der eingestellen Zeit wieder ausschalten. Im Laufe des Garvorgangs leuchtet das Symbol
Durch drücken der Taste, kann man die restliche Zeit ablesen, die bis zum Ende des Garvorgangs noch übrig bleibt.
Das Garprogramm kann jederzeit durch drucken der Taste gelöscht werden.
Nach beendetem Garvorgang schaltet das Gerät und das Symbol aus und AUTO blinkt und das Signal ertont; letzteres kann durch drucken einer beliebigen Taste ausgeschaltet werden.
Den Schalter und den Thermostatknopf auf Null stellen und den Programmierer auf "manuell" durch drucken der Taste stellen.
Achtung: Bei Stromausfall schaltet die Uhr auf Null zurück und die Programmierung wird gelöscht.
Nach einem Stromausfall blinken drei Null am Display.

HALBAUTOMATISCHES GAREN
These Funktion ermittelicht es das Gerät automatisch nach der gewünschten Garzeit auszuschalten. Um das halbautomatische Garen einzustellen, gibt es zwei Möglichkeiten:
- Garzeit durch drucken der Taste und der Taste +oder einstellen (Abb. 6.8). (Taste +erhohen, Taste - verringern).
oder
- Ende des Garvorgangs durch drucken der Taste und der Taste +oder einstellen (Abb. 6.8). (Taste + erhöhen, Taste -verringern).
AUTO und das Symbol leuchten auf.
Danach die Temperatur und das Garprogramm über den entsprechenden Schalter und den Thermostat einstellen (siehe entsprechende Kapitel).
Das Gerät ist nun eingeschaltet und schaltet automatisch bei Erreichen der gewündsten Zeit aus.
Während des Garens bleibt das Symbol eingeschaltet und durch drucken der Taste kann man die restliche Zeit ablesen, die noch bis zum Ende des Garvorgangs übrig bleibt.
Das Garprogramm kann jederzeit durch drucken der Taste gelöscht werden.

Nach beendetem Garvorgang schaltet das Gerät und das Symbol aus und AUTO blinkt und das Signal eront; letzteres kann durch drucken einer beliebigen Taste ausgeschaltet werden.
Den Schalter und den Thermostatknopf auf Null stellen und den Programmierer auf "manuell" durch drucken der Taste stellen.

REINIGUNG UND WARTUNG
ALLGEMEINE RATSCHLAGE
- Vor Reinigungs- oder Wartungsarbeiten ist das Gerät durch ausschalten der Sicherung von Netz zu trennen.
- Es wird geraten, die Reinigung bei warmem Gerät vorzunehmen. Dies gilt entsprechenden für die emailierten Teile.
- Keine säurehaltigen Produkte auf dem Gerät liegen给你们 (Zitronensaat, Essig u.s.w.).
- Verwenden Sie keine chlor- oder säurehaltige Reinigungssprodukte.
Wichtig: Der Gebrauch von Schutzkleidung/ Schutzhandschuhen während Arbeits am Gerät oder der Reinigung theses Geräts wird empfohlen.
WARNING
Bei richtiger Installation entspricht ihr Produkt allen Sicherheitsanforderungen entspricht, die für diese Produkt-kategorie festgelegt wurden.
Jedoch ist besondere Vorsicht auf der Rückseite oder unter dem Gerät geboten, da dieser Bereich nicht für eine Berührung vorgesehen ist und scharfe oder raue Kanten aufweisen kann, die Verletzungen hervorrufen können.
EMAILLIERTE TEILE
Alle emailierten Teile müssen immer mit einem Schwammtuch, mit Seifenwasser oder anderen nicht scheuernden Produktengereinigt werden.
Danach sollten Sie alles mit einem weichen Lappen trocknen.
Säuren, wie sie zum Beispiel in Zitronensaat, Tomatenpüree, Essig oder ähnlichem enthalten sind, greifen das Email an und machen es matt, wenn sie nicht alsbald halten.
TEILE AUS EDELSTAHL, ALUMINIUM UND LACKIERTE FLÄCHEN
Mit einem geeigneten Produkt reinigen. Stets sorgfältig abtrocknen.
WICHTIG: These Teile sind sehr vorsichtig zu reinigen, damit sie nicht zerkratzt werden.
Am Besten einen weichen Lappen und neutrale Seite, niemals Scheuermittel verwenden.
Anmerkung: durch den ständigen Gebrauch kann sich die Farbe im Bereich der Brenner durch die hohe Temperaturändern.
GLASKERAMIK-KOCHMULDE
-Seite 75.
Wichtig: Der Hersteller ist von der Haftung für mögliche Schäden befrei, die durch den Gebrauch ungeeigneter Produkte für die Reinigung des Geräts verursacht worden.
Achtung! Wahrend dem Betrieb wird die Kochfläche der Küche sehr heißt. Kinder fernhalten.
Keine Dampfreiniger verwenden, da die Feuchtigkeit in das Gerät dringt und das Gerät dadurch gefährlich wird. Keine leicht entzündlichen Materialien im Ofen.
Bitte nutzen Sie zur Reinigung der Glasofentur keine aggressiven Reinigungsmittel oder scharfkantigen Schaber, die das Glas zerkratzen und ein Zerbrechen des Glases verursachen können.
REINIGUNG DES BACKOFENS UND DER ZUBEHÖRTEILE
Den Backofen nach jedem Gebrauch abkuhlen halten und reinigen. So wird verhindert, daß Spritzer und Verkrustungen bei erneuter Erwärung anbrennen.
Keine Scheuermittel verwenden. Bei starker Verschmutzung ein entsprechendes Reinigungsmittel aus dem Handel benutzen. Herstellerangaben bereits befolgen.
Gehäuse des Geräts mit einem weichen Schwamm und warmem Wasser reinigen. Keine Scheuermittel benutzen.
Die Glasteile der Tur und der Lampenabdeckung mit einem Spulmittel reinigen.
Die Zubehörteile im Geschirrspuler oder von Hand spulen und ein Backofen Reinigungsmittel verwenden.
Bei längerem Gebrauch schlągt sich Kondenswasserinnen an der Tur und an der Dichtung ab.itte trocknen.
EIN-UND AUSBAU DER SEITENHALTERUNGEN
-
Hangen Sie die Seitenhalterungen in die LÖcher der seitlichen Innewände des Backofens ein (Abb. 7.1).
-
Führer Sie die Fettpfanne und den Grillrost zwischen die Schienen der Seitenhalterungen ein, wie in Abb. 7.2 dargestellt.
Den Rost so montieren, dass die Sicherheitsspere, die unabsichtliches Herausziehen verhindert, ins Innere des Ofens zeigt.
Das Schutzgitter soll auf der Rückseite angebracht sein
- Der Ausbau erfolgt in umgekehrter Reihenfolge.


AUSZIEHBARE BLECHHALTERUNGEN (Abb. 7.3)
Die ausziehbaren Blechhalterungen machen es{sicherer und einfacher, die Ofenbleche einzusetzen und zu entfern.
Sie stoppen, wenn die Bleche bis zur maximal möglichen Position Herausgezogen wurden.
Wichtig! Wenn Sie die Blechhalterungen montieren, stellen Sie safer, dass:
- Sie die rechten und linken Gleichführungen an den Haltedräten befestigen (Abb. 7.4).
- Sie die rechten und linken Gleitführungen an die Haltedrahte andrücken (Abb. 7.5). Sie werden ein Klick-Geräusch vernehmen, wenn sich die Sicherheitsverriegelung über den Draht klemmt.
- Sie das Ofenblech über den Blechhalterungen anbringen (Abb. 7.6, 7.8).
- Sie die Blechhalterungen auf den Führungen in der Öfenöffnung mit dem Blech daraufhineinschieben: das Ofenblech sollte auf die Ofentüe zu hinausgezogen werden;
- verwenden Sie nicht die oberste Blechposition;
- die kurze Biegung der Drahthalterung muss zur Ofeninnenseite zeigen;
- das Ofenblech muss so angepasst werden, dass die Leitschienen zur Innenseite des Ofens zeigen
Um die linken und rechten Gleitführungen von der Drahthalterung zu entfernen:
- Finden Sie die Sicherheitsverriegelungen. Das sind die Laschen, die sich über den Befestigungsdraht klemmen (Pfeil 1 in Abb. 7.8).
Ziehen Sie die Sicherheitsverriegelungen vom Befestigungsdraht weg, um die Gleichführungenzulosen (Pfeil 2 in Abb. 7.8).
Die Blechhalterungen reinigen:
Wischen Sie die Halterungen nur mit einem feuchten Tuch und einem sanften Reinigungsmittel ab.
Spulen Sie sie nicht im Geschirrspuler, weichen Sie sie nicht in Seifenwasser ein und verwenden Sie keine anderen Reinigungsmittel.






ABTEIL TELLERWÄRMER
Das Abteil Tellerwärmer wird zugänglich wenn die Klappe (Abb. 7.9a) geöffnet wird.
Keine leicht entzündlichen Materialien im Ofen oder im Schubfach aufbewahren (dünnes Papier, Baumwolle, Seide, Nylon oder Ahnliches).

AUSTAUSCH DER BACKOFENLEUCHTE
WARNING: Prufen Sie vor dem Austauschen der Lampe, ob das Gerä ausgeschaltet ist, um die Möglichkeit eines Stromschlags zu vermeiden.
- Lassen Sie den Backofenraum und die Heizelemente abkühlen.
- Schalten Sie die Stromversorgung ab.
- Entfernen Sie die Schutzabdeckung "A" (Abb. 7.9b).
- Schrauben Sie die Birne "B" Heraus und ersetzen Sie sie durch eine neue, die für hohe Temperaturen (300^) geeignet ist und folgende Eigenschaften aufweist: 220-240 V, E14 sowie die gleiche Leistung (die auf der Birne aufgedruckte Wattleistung prufen), wie die ausgewechselte Birne.
Achtung wichtige Hinweis! Wechseln von Lampen niemals ohne Handschutz. Immer mit ein Tuch oder Handschuhe! Die Beleuchtung kann warm sein und Schneller kaputt gehen.
- Bringen Sie die Schutzabdeckung wieder an.
Hinweis: Der Austausch der Ofenbeleuchting ist nicht durch ihre Garantie gedeckt.

ENTFERNEN UND ANBRINGEN DER INNENTÜR GLASSCHEIBEN, FÜR REINIGUNG
Wenn Sie die innere Glasscheiben der Tur reinigen möchten, stellen Sie safer, dass Sie die Vorsichtsmaßnahmen und Anweisungen sehr sorgfältig folgen.
Ein falscher Wiedereinbau des Glases und der Turk können den Ofen beschädigen und die Garantie zum erlösen bringen.
WICHTIG!
- Achtung, die Ofentür ist schwer. Versuchen Sie nicht die Ofentür auszubauen, wenn Sie Zweifel haben, ob sie das Gewicht tragen können.
- Versichert Sie sich, dass der Ofen und seine Bestandteile abgekühlt sind. Hantieren Sie nicht mit Teilen des Ofens, wenn diese noch heiß sind.
- Geben Sie weitere Acht beim Hantieren mit dem Glas. Nicht mit den Ecken des Glases gegen Oberflächen oder andere Gegenstände stoffen.
- Keine Scheuermittel oder scharfe metallische Schaber für die Reinigung der Glasofentür verwenden, da dadurch die Oberfläche zerkratzt werden kann, was in weiterer Folge zum Zersplittern des Glases führen kann.
- Wenn Rillen oder Sprünge im Glas der Ofentür bemerkbar sind, den Ofen NICHT verwenden und die Kundendienstelle anrufen.
- Vergewissern Sie sich, ob das Glas der Ofentür korrekt wiedereingebaut wurde. Bei unsachgemäßem Einbau des Glases den Ofen NICTC verwenden.
- Sollten beim Wiedereinbau des Glases Probleme auftreten, NICHT mit Gewalt arbeiten, sondern den Kundendienst anrufen.
Anmerkung: Die Dienste des Kundendienstes für die Nutzung oder Wartung des Geräts sind nicht von der Garantie gedeckt.
OFENTÜR ABMONTIEREN
Die Ofentür kann leicht folgendermaßen abmontiert werden:
Die Turganz Offnen (Abb. 7.11).
Den Hebel "A" des rechten und des linken Scharniers vollkommen offen (Abb. 7.12).
Die Tur wie in der Abbildung 7.10 gezeigt, fassen.
Die Turlangsam schlieBen (Abb. 7.12) bis die Hebel "A" des rechten und des linken Scharniers aus dem Teil "B" der Turausrasten (Abb. 7.13).
Das Bajonett der Scharniere ebenfalls aus dem Sitznehmen (Abb. 7.14)
Die Tur auf eine weiche Flache legen.


WICHTIG:
Behalten Sie immer einen Sicherheitsabstand bei den Turscharniere des Backofen, insbesondere passen Sie auf ihre Hande auf. Wenn die
Turscharniere nicht
richtig befestigt sind,
konnen sich diese
einhaken und
sich plottlich
schliessen mit
einem unerwarteten Verletzungsrisiko.








DIE REINIGUNG DES OFENTÜRGLASES
Die Ofentür hat 3 Gläser:
1 auBeres Glas;
1 inneres ausbaubares Glas;
1mittleren
Für die Reinigung der Glasofentür von beiden Seiten ist es notwendig, das innere Glas wie folgt herauszunehmen.
ENTFERNEN DES INNEREN UNDMITTLEREN GLASSEGMENTS
- Die offene Tur fixieren:
Die Ofentür ganz öffnen (Abb. 7.15)
Den Hebel "A" des rechten und linken Scharniers ganz öffnen (Abb. 7.16).
Die Turvorsichtig kippen (Abb. 7.16) bis die Hebel "A" des rechten und linken Scharniers im Teil "B" der Tureinrasten (Abb. 7.17).
-
Das innere Glas herausnehmen:
-
Schieber Ben Sie die Luftleitblech "G" wieder der obere Teil der Ofentür (Abb. 7.18).
Das innere Glas vorsichtig herausziehen (Abb. 7.19) und mit geeigneten Reinigungsmitteln reinigen. Das Glas immer gründlich trocken wischen.




-
So entfernen Sie das mittlere Glassegment:
-
Entfernen Sie das mittlere Glassegment durch vorsichtiges Bewegen von den Halteklammern, siehe Abb. 7.20.
- Hebien Sie das Glassegment dann an der Unterseite an (Pfeil 1 in Abb. 7.22) undziehen Sie es vorsichtig aus den oberen Halteklammern Heraus (Pfeil 2 in Abb. 7.22).
- Reinigen Sie das Glassegment mit einem geeigneten Reinigungsmittel. Trocknen Sie es vollständig ab und legen Sie es auf eine weiche Unterlage.
Jetzt können Sie auch die Innenseite des äußeren Glassegmente reinigen.



WIEDEREINSETZEN DES INNEREN UND MITTLEREN GLASSEGMENTS
- Gewährleisten Sie, dass die Tur offen ist (siehe Abb. 7.17).
-
So entfernen Sie das mittlere Glassegment:
-
Achten Sie auf die korrekte Position der vier Abstandshalter aus Gummi ("M" in Abb. 7.23).
- Achten Sie auf die richtige Ausrichtung des Glassegmentes. Orientieren Sie sich darauf an der Aufschrift auf dem Glassegment. Sie sollen in ihrer Richtung lesbar sein.
- Fügen Sie das Glassegment vorsichtig in die oberen Halteklammern ein (Pfeil 1 in Abb. 7.24). Senken Sie dann das Glassegment ab und fugen Sie in die unteren Halteklammern ein (Pfeil 2 in Abb. 7.24). Schieben Sie dann das Glassegment in die richtige Position (Abb. 7.25).




-
Wiedereinbau des inneren Glases:
-
Überprüfen Sie, ob sich die vier Abstandhalter "D" in ihrer Position befinden (Abb. 7.26).
- Versichert Sie sich, dass das Glas mit der richtigen Seite eingebaut wird. Bei Betrachtung des Glases mussen die abgedruckten Worte lesbar sein.
Das Glas in die Schieren "E" und F" stecken (Abb. 7.27) und vorsichtig bis zum Anschlag H" hineinschieben (Abb. 7.28). - Schieben Sie die Luftleitblech "G" wieder an ihren Platz (Abb. 7.29).
- Die Ofentür ganz öffnen und den Hebel "A" des rechten und linken Scharniers schließen (Abb. 7.30).

Einbau - Anleitung
WICTIG
- Das Gerät ist unter Beachtung der örtlichen Vorschriften und der Herstellerhinweise von einem GEPRÜFTEN INSTALLATIONSFACHMANN anzuschreiben.
- Vor jeder Wartungs- oder Reparaturarbeit ist der Netzstecker des Geräts abzuziehen.
- Das Gerät muß in ein hitzebeständiges Gehäuse eingebaut werden.
- Falls die Stromanschlüsse hinter dem Herd angeordnet sind, darüber sie nicht hoher als 18 cm über dem Boden liegen.
- Schutzkarton und Plastikfolieninnen und außen am Gerät und von allen Zubehörteilen entfern.
INSTALLATION
Dieser Herd hat einen Überhitzungsschutz Klasse "2/1" und kann deshalb in Schranke eingebaut werden.
Das Gerät muss einen Abstand von mindestens 200 mm zu allen Umgebungsflächen haben, dieHigher als die Kochmulde sind (Abb. 8.1).
Die Schrankwände um den Herd müssen aus hitzebeständigem Material sein.
Synthetische Beschichtungen und Klebstoffe müssen bis 90^ hitzebestandig sein, damit sich der Schrank nicht verformt oder die Klebestellen relien.
Der Herd kann in Kuchen, Wohnkuchen oder Wohn- und Schlafräumen aufgestellt werden, nicht jedoch in Bädern oder Duschräumen.
Vorhänge dürfen nicht unmittelbar hinter dem Gerät angebracht werden. Einen Abstand von mindestens 500mm zu den Seiten einhalten.
Es ist von grundlegender Wichtigkeit, dass der Herd wie unter angegeben aufgestellt wird.
Der Herd ist von einem qualifizierten Fachtechniker und unter Einhaltung der lokalen Sicherheitsbestimmungen zu installieren.

Abb. 8.1
HINTERE SCHUTZABDECKUNG
Vor dem Aufstellen des Herds zunachst die bereits Schutzabdeckung "C" montieren (Abb. 8.2).
Bitte Folgendes beachten:
Die Schutzabdeckung "C" ist an der Rückseite des Herds verpackt.
Vor dem Zusammenbau die Schutzfolie/das Klebeband entfernen.
Die Bolzen "A" (Abb. 8.2) abnehmen; dazu die Befestigungsschrauben abschrauben.
- Schrauben "B" abschrauben.
Die Rückwand wie in der Abbildung gezeigt, anbringen und mit der zentralen Schraube "B" und den zwei Seiten Schrauben mit den dazwischen montierten Bolzen "A" befestigen.

Abb. 8.2
BEFESTIGUNG DER STELLFUSSE
Die Stellfübe sind vor dem Gebrauch am Unterveril des Herds zu befestigen.



Abb. 8.4
Abb. 8.5

Abb. 8.6
KÜCHENHERD TRANSPORTIEREN
HINWEIS
Wenn der Kuchenherd wieder aufrecht gestellt werden muss, sollen den zwei Personen für diesen Vorgang damit sein, um zu verhindern dass die Fuße und die Ofenwände aus Stahl beschädigt werden (Abb. 8.4).
HINWEIS
Achtung: Den Kuchenherd NICT am Griff der Ofentur HEBEN, um ihn zu transportieren (Abb. 8.5).
HINWEIS
Um den Kuchenherd endgültig zu positionieren, diesen NICT SCHLEPPEN (Abb. 8.6).
Die FüBe vom Boden haben (Abb. 8.4).
NIVELLIEREN DES HERDS
Der Herd kann durch EIN- oder HERAUSDREHEN der unteren Enden der Fuß be nivelliert werden (Abb. 8.7)

ANTI-KIPP-HALTERUNG
Achtung: Um unbeabsichtigtes Kippen zu vermeiden, muss diese Halterung an der Rückseite des Gerätes montiert und an der Wand befestigt werden.
Montage der Anti-kipp-halterung:
- Nachdem Sie sichergestellt haben, wo der Herd positioniert wird, markieren Sie an der Wand die Stellen, an denen die 2 Schrauben der Anti-Kipp-Halterung angebracht werden müssen.itte folgen Sie den Anweisungen der Abbildung 8.8.
- Bohren Sie zwei Löscher mit 8 mm Durchmesser in die Wand und setzen Sie die mitgelieferten Dübel ein.
Wichtig! Vor dem Bohren der Löcher stellen Sie safer, dass sich an dieser Stelle keine Leitungen oder elektrische Kabel befinden, die beschädigt werden können. - Befestigen Sie die Anti-Kipp-Halterung locker mit den 2 mitgelieferten Schrauben.
- Stellen Sie den Herd an die Wand und passen Sie die Höhe der Anti-Kipp-Halterung so an, dass sie an der Rückseite des Herds einrasten kann, siehe Abbildung 8.8.
- Schrauben festziehen und somit Anti-Kipp-Halterung befestigen.
- Den Herd gegen die Wand drücken, so dass die Anti-Kipp-Halterung vollständig an der Rückseite des Herds einrastet.
Achtung!
Beim Einbau des Herdes darf das Netzkabel nicht im Kippschutzbügel eingeklemmt werden.

Wichtig: Der Einbau und Anschluß muß kein genau nach den Anweisungen des Herstellers erfolgen. Ein fehlerhafter Anschluß kann Schäden an Personen, Tieren und Sachen verursachen, für die der Hersteller keinerlei Haftung übernimmt.
ALLGEMEINE HINWEISE
- Der Anschluß an das Stromnetz muß von einem konzessionierten Installatür nach den geltenden Vorschriften durchgeführt werden.
Vor dem Anschluß des Gerätes an das Stromnetz muß sichergestellt werden, daß die Stromspannung derjenigen auf der Datentafel des Gerätes entspricht und daß das Anschlußkabel die auf der Datentafel angegebene Stromstarke aushält. - Der Stecker muss in eine Steckdose gesteckt werden, die laut Sicherheitsvorschriften geerdet ist.
- Bei der Installation ist eine allpolige Schutzvorrichtung mit einem Kontaktabstand nicht unter 3 mm vorzusehen (Leistungsschalter, Sicherung oder Relais).
- Nach der Installation der Kochmulde muß der Netzschalter bzw. die Steckdose jederzeit leicht erreichen sein.
- Das Speisekabelarfwarme Stellen nicht berühren und muß so verlegt werden,daß es an keiner Stelle die Temperatur von 75^ überschreitet.
Das Gerät muß auf jeder Fall an die Erdleitung angeschlossen werden. Die Herstellerfirma leht jegliche Haftung für alle Schäden ab, die infolge der Nichtbeachtung dieser Vorschriften entstehen.
- Wenn das Gerät installiert ist, muß der Schalter oder die Steckdose stets erreichen sein.
N.B.: Zum Anschluß an das Netz keine Paßstücke, Reduzierstücke oder Nebenanschlüsse verwenden, da diese zu Überhitzungen und Verbrennungen führen können.
Fall zur Installation Änderungen an der elektrischen Hausanlage nötig oder falls der Gerätestecker für die Steckdose nicht geeignet sein sollte, diesen durch einen Fachmann auswechseln halten.
Dieser muß insbesondere kontrolluerten, ob der Schnitt der Steckdosenkabel für die aufgenommene Geräteleistung geeignet ist.
WICHTIG: dieser Herd ist an einen geeigneten zweipoligen Sicherheitsschalter in der Naze des Herds anzuschreiben.
WARNING!
Das Gerät muss geerdet werden.
Wichtig: Der Einbau und Anschluß muß kein genau nach den Anweisungen des Herstellers erfolgen.
Ein fehlerhafter Anschluß kann Schäden an Personen, Tieren und Sachen verursachen, für die Hersteller keinerlei Haftung übernimmt.
ANSCHLUBER NETZZULEITUNG
WARNING: Bei einer Beschädigung des Stromkabels muss diese durch einen zugelassenen Kundendienstmitarbeiter ersetzt werden, um Gefahren zu vermeiden.
Um die Anschlußleitung anzuschlieBen, ist wie folgt vorzugehen:
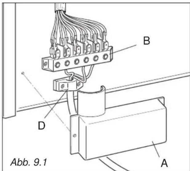
Die beiden Schrauben entfernen, mit denen die Abschirmung "A" hinter dem Herd befestigt ist.
Die Kabelklemme "D" vollständig offen.
- Brucken U and der Klemmleiste “B” (Abb. 9.1) anbringen, wie im Schema 9.2, 9.3 angegeben.
- Hauptkabel (Typ H05RR-F) in die Kabelklemme “D” stecken. Das Speisekabel muss für die elektrischen Eigenschaften des Geräts geeignet sein. Siehe Kapitel “Stärke der Anschlußleitung”.
- Phasen und Erdleiter gemäß Abb. 9.2, 9.3 an das Endstück “B” anschließen.
- Das Stromkabel strammziehen und mit der Kabelklemme "D" befestigen.
Schutzdechel "A" festschrauben.
HINWEIS: Der Erdleiter muss ca. 3cm länger als die anderen gelassen werden.
STÄRKE DER ANSCHLÜBLEITUNG "Type H05RR-F"
230Vac 3× 6mm ^2(^**)
(^**) Direktanschluβ mit Wandanschluβ-Dose.
- Simultaneitätsfaktor anwenden.
-Einer Diversity-Empfang kann zur gesamten Ladung des Gerates nur von qualifiziertem Personal angelegt warden.


230 V ac

400V3Nac

400V2Nac
Abb. 9.2



Abb. 9.3
EinfachAnleitung