CFBI902ZW - Fornuis BORETTI - Gratis gebruiksaanwijzing en handleiding
Vind de handleiding van het apparaat gratis CFBI902ZW BORETTI in PDF-formaat.
Questions des utilisateurs sur CFBI902ZW BORETTI
0 question sur cet appareil. Repondez a celles que vous connaissez ou posez la votre.
Poser une nouvelle question sur cet appareil
Download de handleiding voor uw Fornuis in PDF-formaat gratis! Vind uw handleiding CFBI902ZW - BORETTI en neem uw elektronisch apparaat weer in handen. Op deze pagina staan alle documenten die nodig zijn voor het gebruik van uw apparaat. CFBI902ZW van het merk BORETTI.
GEBRUIKSAANWIJZING CFBI902ZW BORETTI
NLIMONTAGEVOORSCHRIFTEN EN GEBRUKSAANWIJZING
F | PRESCRIPTIONS DE MONTAGE ET MODE D'EMPLOI
Gebruiks-en installmentevoorschriften
Bladzijde 3
De beschrijvenen en aanduidingen vermeld in de gebruiks-en installmentevoorschriften zijn enkel van informatieve aard. De constructeur behoudt zich hetrecht voor om zonder verwittiging en op gelijk welt ogenblick wijzigingen aan zijn Produkten aan te brengen.
Deutsch
Mevrouw, Juffrouw, Mijnheer,
U heeft onlangs een van once fornuizen aangekocht en wij danken u voor uw vertrouwen. uw fornuis werd met de grootste zorg ontworpen, vervaardigd en getest met het oog op uw volkommen tevredenheid.
Opdat u het optimaal zou+kunnen gebruiken en de gewenste resultaten zou bereiken, bevelen wij aan deze GEBRUIKSHANDLEIDING aandachtig te lezen.
De instructies en wenken in deze handleiding zullen een doeltreffende hulp zich om alle kwaliteiten van uw nieuwe toestel te ontdekken.
Dit fornuis mag enkel worden gebruikt voor het doel waartoe het werk ontworpen, met name de bereiding van eetwaren.
Alle ander gebruik dient als onjuist en gevaarlijk te worden beschouwd.
Wij wijzen elke aansprakelijkhid van de hand in geval van schade wegens onjuist, verkeerd of irrationnel gebruik van het toestel.
VERKLARING VAN OVEREENSTEMMING CE
- Dit fornuis is ontworpen om uitsluitend Dienst te doen als kooktoestel. Ieder ander gebruik (bijv. als kachel) is oneigenlijk en dientengevolge gevaarlijk.
-
Dit fornuis is ontworpen, gebouwd en op de markt gebracht in overeenstemming met: - De veiligheidsvoorschriften van "Laagspanning" Richtlijn 2014/35/EU;
-
De voorschriften van "EMC" Richtlijn 2014/30/EU;
- De voorschriften van Richtlijn 93/68/EEG;
- De voorschriften van Richtlijn 2011/65/EU.

BELANGRIJKE INFORMATIE VOOR DE CORRECTE VERWERKING VAN HET PRODUCT IN OVEREENSTEMMING MET DE EUROPESE RICHTLIJN 2012/19/EC.
Aan het einde van zichn nuttig leven mag het product Niet samen met het gewone huishoudelijkke
afval worden verwerkt. Het要去 een special centrum voor gescheden afvalinzameling van de gemeente worden gebracht, of maar een verkooppunt dat deze service verschaft. Het apart verwerken van een huishoudelijk apparaat voorkomt möglichke negatieve gevolgen voor het milieu en de gezondheid die door een ongeschikte verwerking ontstaan en zorgt ervoor dat de materialen waaruit het apparaat bestaat teruggewonnen+kunnen worden om een aanmerkelijke besparing van energia en grondstoffe te verkrijgen. Om op de verplichting tot geschelen verwerking van elektrische huishoudelijk apparatuur te wijzen, is op het product het symbol van een doorgekruiste vuilnisbak aangebracht.


BELANGRIJKE VEILIGHEIDSINSTRUCTIES EN AANBEVELINGEN
BELANGRIJK: Dit toestel is enkel ontworpen en geproduerd voor het koken van huishoudelijk voedsel en is Niet geschikt voor enige nicht-huishoudelijktoepassing. Om die reden mag het nicht gebruikt worden in een commerciele omgeving.
De garantie van het toestel verwalt wanneer het toestel worden gebruikt in een Niet-huishoudelijkke omgeving, d.w.z. in een semi-commercialie, commerciale of gemeinschappelijkke omgeving.
Lees aandachtig de instructies vooraleer u het toestel installeert en gebruikt.
- Dit apparaat is ontworpen en geprodueerd in overeenstemming met de geldende normen voor huishoudelijkke keukenapparatuur, inclusief de standaarden voor oppervlaktetemperatuur. Menschen met een gevoelige huid konnen een hoge temperatuur waarnemen, ondanks dat de maximale temperatuur binnen de norm valt. De veiligheid van het apparaat is afhankelijk van het correct gebruik hiervan. Wij raden THATAM aan om extra goed op te letten tijdens het gebruik van het apparaat, vooral in het bijzijn van kinderen.
- Haal het toestel uit de verpakking. Controller of het beschadigd is en of de ovendeur goed sluit.
Gebruik het toestel bij twijfel Niet en neem contact op met de produit of met een vakkundig opgeleid technicus. - Houd onderdelen van de verpakking (bijv. plastic zakken, polystyreneenschuim, nagels, bandjes, enz.) buiten het bereik van kinderen, aangezien deze ernstige verwondingen könnenveroorzaken.
- Op de stalen en aluminium onderdelen van sommige toestellen is een beschermende laag aangebracht. Verwijder deze laag vooraleer u het toestel gebruikt.
-
BELANGRIJK: Het is aangeradeng geschikte beschermingskleding en -handschoenen te gebruiken voor het hanteren of reinigen van dit toestel.
-
Probeer nicht om de technische eigenschappen van dit toestel te wijzigen, aangezien dat gevaar bij het gebruik kan veroorzaken. De produit is nicht aansprakelijk voor ongemak door nietnaleving van deze instructie.
- Gebruik het toestel Niet met een externe timer of een afzonderlijk afstandsbedieningssysteme
- Koppel het toestel los van de elektriciteit vooraleer u het reinigt of onderhoudt.
WAARSCHUWING: Vermijd elektrische schokken door het toestel uit te schakelen vooraleer u de ovenlamp verwangt. - Gebruik geen stoomreiniger. Het vocht kan in het toestel terechtkommen en dat onveilig make.
- Raak het toestel Niet aan met natte of bedample handen (of voeten).
- Gebruik het toestel Niet blootsvoets.
- Wanneeruhettoestelnietmeerergebruikt(of hetwenstteervangen door een ander model), is het aangeraden om het - voor u het weg doet - op een geschikte manier buiten werking te stellen, in overeenstemming met de gezondheids- en milieubepalingen, en er vooral voor te zorgen dat alle möglichk gevaarlijke onderdelen onschadelijk worden gemaaakt, vooral met het oog op kinderen die met oncegebruekte toestellen zouden hunnen spelen.
- De verschillende componenten van het toestelংn recyclebaar. Verwijder deze als afval conform de geldende bepalingen in uw land. Verwijder de elektriciteitskabel wonneer het toestel worden afgedankt.
Zorg ervoor dat de knappen na gebruik in de uit-positie staan. - Houd kinderen onder de 8JAar uit de buurt van het toestel, tenzij ze continu onder toezicht staan.
-
Dit toestel mag gebruikt worden door kinderen vanaf 8年龄段 en door personen met beperkte lichamelijke, sensorische of geestelijkke vaardigheden of met een beperkte ervaring en kennis, indien zij onder toezicht staan, na gpaste instructies over het veilige gebruik van dit toestel en indien zij de mogelijkke risico's begrijpen. Laat kinderen nicht met het toestel spelen. Kinderenogen het toestel Niet reinigen en onderhonden zonder toezicht.
-
De produit is nicht aansprakelijk voor letsels van Personen of schade aan eigendom door incorrect of ongepast gebruik van het toestel.
WAARSCHUWING: Tijdens het gebruik worden het toestel en de bereikbare onderdelen heet; ook na gebruik blijven deze nog enigeijd heet.
- Wees voorzichtig en raak geen verwarmingselementen aan (zowel aan de kookplaat als in de oven).
-
De deur is heet, gebruik de handgreep.
-Houdjonge kinderenuitdebuurtombrandwonden te vermijden. -
Zorg ervoor dat de elektriciteitskabels van andere toestellen in de buurt van het fornuis Niet in contact können met de kookplaten en Niet:tussen de ovendeur geklemd können raken.
WAARSCHUWING: Onbeheerd koken op een kookplaat met vet of olie kan gevaarlijk+zijn en brand veroorzaken. Probeer NOOIT brand te doven met water, maar schakel het toesteluit en dek het vuur af, bijv. met een deksel of een vuurdeken.
WAARSCHUWING: Brandgevaar: bewaar geen voorwerpen op het kookoppervlak. - Plaats lege pannen nicht op de glaskeramische kookplaat.
- Laat geen zware of scherpe voorwerpen op de glaskeramische kookplaat vallen.
- Kras de kookplaten nicht met scherpe voorwerpen. Gebruik de kookplaten Niet als werkoppervlak.
WAARSCHUWING: Wanneer de kookplaten gebarsten of op een andere manier beschadigd zich, bijv. door geallen voorwerpen, koppel dan het toestel los van de elektriciteit om elektrische schokken te vermijden en neem contact op met de klantenservice. -
WAARSCHUWING: Wonneer dit product correct geplaatst is, voldoet het aan alle veiligheidseisen voor deze productcategorie. Wees echter extra voorzichtig bij dechter- of onderkant van het toestel, aangezien deze zones Niet onworpen en bedoeld zichn om aan te raken en scherpe of ruwe kanten+kennen hebben, die letsels+kennen veroorzaken.
-
EERSTE GEBRUIK VAN DE OVEN - volg denen instructies:
-
Richt de binnenkant van de oven in zoals beschreiben in het hoofdstuk 'REINIGING EN ONDERHOUD'.
-Zet de lege oven op de maximumstand om vet van de verwarmingselementen te verwijderen. -
Koppel het toestel los van de elektriciteit, LAST DE OVEN afkoelen en reinig de binnenkant met een doek, water en een neutral reinigingsmiddel; droog daarna goed af.
-
OPGELET: Gebruik geen ruwe schuurmiddelen of scherpe metalen schrapers om het glas van de ovendeur te reinigen, aangezien deze krassen op het oppervlak können veroorzaken waardoor het glas kan barsten.
- Breng geen aluminiumfolie aan op de wanden van de oven.
- Plaats bakplaten of de druiplaat Niet op de bodem van de oven.
- BRANDGEVAAR! Bewaar geen ontvlambaar materiaal in de oven of in de opslagruimte.
- Gebruik algijd ovenwanten om schotels en bakplaten uit de hete oven te halen.
- Hang geen handdoeken, theedoeken of andere voorwerpen aan het toestel of aan de handgreep – dat kan brandgevaar opleveren.
- Reinig de oven regelmatig en zorg ervoor dat er zich geen vet of olie verzamelt op de bodem van de oven of van de druiplaat. Verwijder gemorste resten meteen.
- Sta Niet op het fornuis of op de geopende ovendeur.
- Ga even achechteruit wanner u de ovendeur opent, zodat stoom en hete lucht können ontsnappen vooraleer u het voedsel eruit haalt.
-
VEILIG OMGAAN MET VOEDSEL: Laat het voedsel voor en na het koken zo kort möglich in de oven. Op die manier vermijdt u verontreiniging door organismen, die voedselvergiftiging konnenveroorzaken. Let hier vooral voor op bij warm wee.
WAARSCHUWING: Til het fornuis NIET op met de handgreep.
WAARSCHUWING: Houd altijd toezicht op het kookproces. Ook tijdens korte bereidingen dient continue toezicht te worden gehonden. -
Het apparaat mag nicht darüber een front worden geinstalleerd om oververhitting te voorkomen.
- De ovenaccessoires (zoals bijvoorbeeld ovenrekken) dienen correct te worden geinstalleerd zoals aangegeven op pagination 38.
- Indien het aansluitsnoer beschadigd is, mag dit uitsluitend worden verrangen door een geauthoriseerde monteur om risico's te voorkomen.
- INDUCTIEKOOKPLATEN
- Metalen voorwerpen zoals messen, vorken, lepels of deksels mogen Niet op de kookplaat geplaatst worden aangezien zich warm+kunnen worden.
- Gebruik geen metalen keukenvoorwerpen (zoals opscheplepels). Het is aangeraden om plastieke of houten voorwerpen te gebruiken.
- Gebruik kookpannen met de aanbeveelde diameter (zie minimum diameter van kookpannen) Het is nicht aangeraden om kookpannen kleiner dan de kookzone te gebruiken. De kookpannen要去en in het midden van de kookzone geplaatst worden.
- Gebruik geen beschadigde kookpannen of pannen met een Ronde bodem.
- Gebruik kookpannen special voor inductiekoken.
- Hou een minimum afstand van de electromagnetische velden door 5-10 cm van de kookzones te staan. Wanneer möglich gebruik de kookzones achteraan.
- Magnetische voorwerpen (bijv. kredietkaarten, diskettes, geheugenkaarten) en electronische instrumenten (bijv. computers)logeniet in de buurt van de inductiekookplaat geplaatst worden.
- Het gebruik van magnetische blikken is verboden! Gesloten blikken können ontploffen door te hove druk by het opwarmen. Brandgevaar is ook möglich met open blikken,,ondat de integrale temperatuursbeveiliging hier nicht kan werkden.
BELANGRIJKE WAARSCHUWING: de inductiekookplaat voldoet aan de Europese normen voor huishoudapparaten.
ENERGIE-ETIKETTERING/ECOLOGISCH ONTWERP
- Gedelegeerde verordering (EU) No 65/2014 van de commissie (houdende aanvulling van Richtlijn 2010/30/EU van het Europees Parlement en de Raad).
- Verordening (EU) No 66/2014 van de commissie (tot uitvoering van Richtlijn 2009/125/EG van het Europees Parlement en de Raad).
Verwijzing maar de meet- en berekeningsmethoden die gebruikt zijn om de overeenstemming met bovenstaande eisen vast te stellen:
- Norm EN 60350-1 (Elektrische ovens).
- Norm EN 60350-2 (kookplaten: elektrische kookzones en/of -gebieden).
GEBRUK VAN HET APPARAAT, ENERGIEBESPARING TIPS
OVEN
- Controller dat de deur van de oven steeds goed sluit en dat de pakking van de deur schoon is en goed werkt. Open de deur van de oven tijdens gebruik alleen wanneer dat striktoodzakelijkis.Zo voorkomt u warmteverlies (voor sommige functies kan het nodig+zijn de oven te gebruiken met de deur half gesloten, raadpleeg de gebruiksinstrumentes van de oven).
- Zet de oven 5-10 Minutes voor het einde van de theoretische bereidingsstijduit, om de opgeslagen把它 te recupereren.
- We raden aan dat u geschikte overschotels gebruikt en de oventemperatuur indien nodig aanpastijdens de bereiding.
KOOKPLATEN
INDUCTIEKOOKZONES EN/OF -GEBIEDEN
- Gebruik indien möglich een deksel, om elektriciteit te besparen.
- Wanner de vloeistof in de pan kookt, zet u de temperatuur lager maar de gewenste stand.
- Gebruik geschikte pannen die gemarkeerd zijn voor inductiekookplaten. Sommige kookgerei dat worden verkocht heeft eenkleiner doeltreffend ferromagnetisch gebied dan de diameter van de pan zich. Voorkom het gebruik van dit soort kookgerei. Het inductiekookfornuis zal in dit geval Niet goed werken of kan zichs worden beschadigd.
- Gebruik steeds pannen/koffieketels met een dikke, compleet vlakke bodem. Gebruik geen pannen/koffieketels met een holle of bolle bodem. Deze{kunnen ervoor zorgen dat de kookzone oververhit raakt.
- Belangrijk: gelebruik geen tussenstukken voor kookpotten/koffieketels.


OPGELET - HEEL BELANGRIJK!
BRAND/OVERVERHITTINGSGEVAAR:
- Geen servetten, lappen of andere voorwerpen op de kookplaatbescherming of de handgreep/handgrepen van de ovendeur aanbrengen verwijl het apparaat werkt of warm is.
OM SCHADE AAN HET APPARAAT TE VOORKOMEN:
- Het beschermende blad of de handgreep/handgrepen van de ovendeur nicht gebruiken om het fornuis op te heffen/te verplaatsen.
- Niet op de kookplaatbescherming blad of de handgreep/ handgrepen van de ovendeur steunen.


Afb.1.1
KOOKZONES
- Inductie kookzone
0200mm
Normal vermogen: 2300 W
Maximaal 'BOOST' vermogen: 3000 W
- Inductie kookzone
0 160 mm Normaal vermogen: 1400 W
- Kookzonedisplay
Opmerking: het normale en maximale vermogen kan veranderen afhankelijk van de grootte en materiaal van de kookpan op the kookplaat.
Aandacht:
Indien u een barst op de glasplaat vaststelt, schakelt u meteen de elektrische stroom uit en contacteert u de servicedienst.
Plaats geen metalen voorwerpen zoals messen, vorken, lepels en desksels op de kookplaat aangezien zich heet hunnen worden.

BESCHRIJVING VAN DE BEDIENINGSKNOPPEN
- Bedieningsknop kookplaatrechtsvoor
- Bedieningsknop kookplaat rechtsachter
- Bedieningsknop kookplaat linksachter
- Bedieningsknop kookplaat linksvoor
- Schakelaar van de multifunctionele oven (oven links)
- Thermostaatknop van de multifunctionele (oven links)
- Thermostaatknop van de traditionele oven (oven rechts)
- Schakelaar van de traditionele oven (oven rechts)
- Elektronische klok/programmeur ( alleen de große oven links)
Controleampje:
- Temperatuurcontrolampje van de multifunctionele oven (oven links)
- Temperatuurcontrollampje van de traditionele oven (oven rechts)

GEBRUK VAN DE INDUCTIEKOOKPLAAT
De vitrokeramische kookplaat is uitgerust met inductiekookzones.
Deze zones, aangeduid met gedrukte cirkels op het keramisch oppervlak, worden geregeld doorAPE bedieningsknoppen op de display.
Vooraan in het midden van de kookplaat duidt de display (bestaande uit 4 verlichtte cijfers - een voor elke zone - het volgende aan:

Afb. 3.1

Indien alle zones in nul staan, gaat de display vanzelfuit (kookzones OFF) na ongeveer 10 seconden.


= Instellen van vermogen

= Functie "snelkoken"

= Functie "BOOST" - koken op maximale sterkte

= Indicator voor de overblijvende warmte

= Indicator voor het herkennen van de kookpan

= Kinderbeveiling
Opmerking: elk verlicht bijverwijst maar de respectieve kookzone.
INDUCTIEKOOKSYSTEMEEM
Zodra u een inductiekookzone aanzet en een kookzone kiest, gaan de elektronische schakelingen inductiestromen produceren die onmiddelijk de bodem van de pan opwarmen en de warmte doorgeven aan het gerecht. Op die manier is er bijna geen energieverlies:tussen de kookplaat en het gerecht.
Uw inductiekookplaat werkt alleen indien de juiste kookpan met juiste kenmerken op een kookzone worden geplaatst. Zie KOOKPANNEN VOOR INDUCTIEKOKEN.
Indien de indicator voor het herkennen van de kookpan op de display verschijnt is uw kookpan Niet geschikt en za uw inductiekookplaat Niet werken.
Indien na 10 minuten geen kookpan herkend is, zal de kookzone automatisch uitgeschakeld worden en kan alleen ingeschakeld worden nadat de bedieningsknop terug op "O" (OFF) staat.
INDICATOR VOOR OVERBLIJVENDE WARMTE
Wonneer de kookzone nog heet is, zal de respectievelijke indicator voor overblijvende warmte op de display in werking� om u voor het hun oppervlak opmerkzaam te make.
Raak de kookzone van de kookplaat Niet aan. Let toenal op kinderen.
Wanner de op de display verlicht is, is het möglichk om opnieuw te beginnen koken.
Stel de bedieningsknop op het gewenste vermogen in.
KOOKPANNEN VOOR INDUCTIEKOKEN
Het inductiekooksystem WERKT ALLEEN indien de juiste kookpannen voor inductiekoken gezruikt worden.
De bodem van de kookpan要去 ferromagnetisch zich om de inductiestromen, die nodig zich voor het verwarmingsproces, te generen. Dit wil zeggen dat een magnee aan de bodem van de kookpan要去 kleven.
Kookpannen bestaande uit de volgende materialen zichn nicht geschikt:
- Glas, hout, porcelain, keramiek, aardewerk;
- Puur roestvrij staal, aluminium of koper zonder magnetische bodem.
Om te testen of een kookpan geschikt is of Niet:
- Test de bodem van de kookpan met een magnee; indien de magneet kleeft, is de kookpan geschikt.
- Indien een magneet Niet beschikbaar is, vul de kookpan met eenkleine hoeveelheid water and plaats op een kookzone. Schakel de kookzone in: indien het symbol (indicator voor het herkennen van de kookpan) verschijnt op de kookzonedisplay (inplaats van het kookvermogen), is de pan Niet geschikt.
Belangrijke opmerking: the kookzones zullen Niet werken indien de diameter van de kookpan te
klein is ( indicator voor het herkennen van de kookpan zar verschijnen op de kookzonedisplay).
Om de kookzones correct te gebruiken, volg de aanwijzigingen in de tabel:
Aandacht: de kookpan要去 altijd in het midden van de kookzone geplaatst worden.
Het is möglichk om te große kookpannen te gebruiken maar de bodem van de kookpan mag de andere kookzones nicht raken.
Gebruik.altijd kookpannen met een dikke, totaal vlokke bodem.
Gebruik geen kookpan met holle of bolle bodem; deze kunnende kookzone doeon overhitten.
Nota: sommige types van kookpannen können een geluid makeen wanner ze in gebruik zich op een inductiekookzone. Dit geluid betekent nicht dat er een probleem is met uw apparaat and heeft geen invloed op het koken.
BEDIENINGSKNOPPEN
Elke kookzone kan worden ingesteld met een individuele bedieningsknop die op het contropaneel staat. Het koken worden geregeld door een elektronisch systemm.
Indien een kookzone Niet uitgeschakeld is (OFF), za het elektronisch systeme deze automatisch uitschakelen na een vooropgesteldeijd die afhankelijk is van het kookvermogen.


TIJDSLIMIET VAN DE KOOKZONES
Elke kookzone wird automatischuitgeschakeld OFF na een maximaal vooropgesteldeijd indien het product nicht in werking is. De maximaal vooropgesteldeijd is afhankelijk van het koekvermogen, zoals aangeduid in dit schema. Bij elk gebruik van de knappen van de kookplaat za de maximaal vooropgesteldeijd maar de beginwaarde herzet worden.
| Kookvermogen van de koozones | Tijdslimiet |
| 8 | 360 minutes |
| 8 | 360 minutes |
| 8 | 300 minutes |
| 8 | 300 minutes |
| 5 | 240 minutes |
| 8 | 90 minutes |
| 8 | 90 minutes |
| 8 | 90 minutes |
| 8 | 90 minutes |
1÷9 KOOKVERMOGEN
Draai de bedieningsknop met de wijzers van de klok mee tot aan het gewenste kookvermogen:tussen1 (minimum) en 9 (maximum).
Het kookvermögen kan op eender welt moment veranderd worden door de bedieningsknop met de wijzers van de klok of gegen de wijzers van de klok maar een ander kookvermögen te draaien.
De kookzonedisplay zal het geselecteerde kookvermogen tonen.
| VOORBEELDEN VAN KOOKVERMOGENS | ||
| O Kookzone nicht in werkung | ||
| 1 tot 2 | Smelten Opwarmen | Sauzen, boter, chocolde, gelatine Gerechten op voorhand bereid |
| 2 tot 3 | Suddenen Ontdooien | Rijst, pudding, suikersiroop Gedroogde groenten, vis, bevoren producten |
| 3 tot 4 | Stomen Groenten, vis, vlees | |
| 4 tot 5 | Water | Gestoomde aardappelen, soepen, pasta, verse groenten |
| 6 tot 7 | Medium koken Suddenen | Vlees, lever, eieren, worstjes Goulash, rollade, pens |
| 7 tot 8 | Koken Aardappelen, gerechten in beslag, wafeltjes | |
| 9 | Frituren, roosteren Water koken | Biefstuk, omeletten, gefrituurde gerechten Water |
FUNCTIE 'SNELKOKEN'
Draai de bedieningsknop gegen de wijzers van de klok in tot aan A enaar de bedieningsknop los (na de "beep); het respectievelijke symbol zal verschijnen. Draai de bedieningsknop binnen 5 seconden tot aan het gewenste kookvermogen (tussen 1 en 9); eenmaal het kookvermogen geselecteerd is, zullen B en het geselecteerde kookvermogen afwisseelend knipperen op de kookzonedisplay.
Deze functie LAST de kookzone toe om op maximum vermogen (100%) te werken gedurende een bepaalde tijd die afhangt van het kookvermogen.
Deze functie is beschikbaar op alle kookzones.
Gedurende het snelkoken is het möglichk om op eender welt moment het geselecteerde kookvermogen hoger in te stellen, maar het is Niet möglichk om het te verlagen; door de bedieningsknop gegen de wijzers van de klok in te draaien waar een lager kookvermogen za de functie uitgeschakeld worden.
Deze functie zal ook uitgeschakeld worden indien de bedieningsknop op 0 (OFF) ingesteld wordt of indien de 'BOOST' functie gekozen wordt.
Opmerking: indien de kookpan van de kookzone worden verwijderd voordat het kookprogramma is beeindigd, kan de functie 'selnkoken'ervolledigd worden met de overgeblevenarend indien de kookpan terug op de kookzone worden gezet binnen 10 minutes.
FUNCTION 'BOOST' - KOPEN OP MAXIMALE STERKTE
Draai de bedieningsknop met de wijzers van de klok mee om het maximale kookvermogen (9) in te stellen. Draai dan de bedieningsknop met de wijzers van de klok tot P and maar de bedieningsknop los (na de "beep"). De bedieningsknop stelt zich automatisch in op het maximale kookvermogen (9) and het respectievelijke symbol P verschijnt op de kookzonedisplay.
Het BOOST programma is nu in werking.
Deze functie LAST de kookzone toe om op maximale sterkte (hoger dan normal vermogen) te werken voor een maximum van 5 minutes. Dit kan worden gezruikt om bijvoorbeeld een groe hoeveelheid water snel op te warmen.
Deze functie is beschikbaar op: kookzones achteraan links en vooraan rechts.
Om deze functie uit te schakelen, draai de bedieningsknop gegen de wijzers van de klok in maar een lager kookvermögen of maar "O" (OFF).
BOOST wordt ook uitgeschakeld door de bedieningsknop opnieuw waar P te draaien; in dit geval za de kookzone werken op kookvermogen 9.
Opmerking: indien een kookzone nog warm is, is het nicht möglichk om de BOOST functie te gebruiken. Indien u dit probeert aan te zetten, zal knipperen. De kookzone worden automatisch op het maximum kookvermogen 9 ingesteld.
Het BOOST programma werkt slechts voor een maximum van 5 minute. Het programma kan terug opnieuw gezruikt worden na het wachten van 5 minute.
BELANGRIJK: het BOOST programma is Niet geschikt voor het koken van gerechten zonder water.
Gebruik dit programma Niet voor het opwarmen van olie (bijv. frituurvet)
MAXIMUM BESCHIKBAAR VERMOGEN VOOR DE KOOKZONES
De rechter- en linkerkookzone werken met twee afzonderlijk electronische circuits en het maximum vermoger per circuit is 3700 W.
Indien een kookzoneeer dan 3700 W nodig heeft, dan heeft het LASTe kookvermogen voorrang en za het kookvermogen van de andere kookzone automatisch verminderd wordenaar het overgebleven beschikbaar vermogen.
Als dit zich voordoet, zal het symbool op de kookzone knipperen voor ongeveer 3 seconden voordat het automatisch het(AP)kookvermogen toont.

Dit betekent bijvoorbeeld dat:
- Indien de BOOST functie voor een tweede kookzone worden ingesteld, zal de andere kookzone automatisch maar een lager beschikkaar vermogen ingesteld worden.
- Wanneer de BOOST functie voor de eerst kookzone worden ingesteld en een ander kookvermogen voor de tweede kookzone, maar het totale kookvermogen is meer dan 3700 W, dan za de BOOST functie gestopt worden en het kookvermogen automatisch waar een lager beschikbaar vermogen ingesteld worden.
HITTEBEVEILIGING
De inductiekookplaat is uitgerust met verilgheidsmaatregelen die het electronisch systeme beveiligden en die elke kookzone van oververhitting beveiligden.
In geval van oververhitting zal een van de volgende functies automatisch gestart worden door het electronisch system:
- BOOST functie worden gestopt en kookvermogen gereduceerd;
- een of meer kookzones worden uittgeschakeld OFF;
- de koelventilator van de inductiekookplaat worden gestart.
KINDERBEVEILIGING
Indien de inductiekookplaat Niet in gebruik is, stel de kinderbeveiliging in om te voorkomen dat kinderen door ongeluk de kookzones inschakelen.
Zorg ervoor dat alle kookzones uitgeschakeld zijn OFF draai dan de bedieningsknuppen van de kookzones liks tegelijkkertijd maar links ( A en hou beiden bedieningsknuppen ingedrukt totdat verschijnt op de kookzonedisplay; LAST dan de bedieningsknuppen los.
Om de kinderbeveiliging uit te zetten, volgdezelfde procedure totdat erschijnt op de kookzonedisplay; laat dan de bedieningsknoppen los.
FOUTMELDINGEN OP DE KOOKZONEDISPLAY
| Foutmelding | Voorbeeld Wat te doen | |
| Erxx of Ex (niet E2 of EH) of display werkst Niet | 1. Schakel het fornuis en de electrische stroom uit 2. Wacht 1 minuut en schakel het fornuis en de kookzones aan. 3. Wacht 1 minuut en indien de boutmelding nicht meer verschijnt, können de kookzones opnieuw gebruikt worden. 4. Indien de boutmelding opnieuw verschijnt, herhaal stap 1 tot 3. 5. Als het probleem zich blijft voordoen, gebruik de inductiekookplaat nicht (alleen de oven) en contacteer de serviceddienst. | |
| E2 of EH | E en 2 knipperen afwisselend voor een of meerdere kookzones. Dit betekent dat een of meerdere kookzones overhit+zijn. 1. Schakel het fornuis uit en LAST het afkoelen. 2. Als het probleem zich blijft voordoen, gebruik de inductiekookplaat nicht (alleen de oven) en contacteer de serviceddienst. | |
| E6 of display werkst Niet | Het fornuis is foufief aangesloten. Het apparaat要去 aan de juiste electriciteit aangesloten worden door een erkend technicus. | |
| Symbool zoals op de tekening | Dit duidt een onjuiste uitvoering van een of meerdere bedieningsknoppen van de kookzones aan. 1. Draai de bedieningsknop van de kookzoneaar 0 (OFF), schakel het fornuis en de electrische stroom uit. 2. Wacht 1 minuut, schakel het fornuis en de kookzones aan. 3. Wacht 1 minuut en indien de boutmelding nicht meer verschijnt, können de kookzones opnieuw gebruikt worden. 4. Indien de boutmelding opnieuw verschijnt, herhaal stap 1 tot 3. 5. Als het probleem zich blijft voordoen, gebruik de inductiekookplaat nicht(alleen de oven) en contacteer de serviceddienst. |
RAAD VOOR HET VEILIG GEBRUK VAN DE KOOKPLAAT
- Controller welke knop de gekozen kookzone bedient voordat u aan de knoppen draait. Het is raadzaam de pan op de kookzone te zetten voordat u deze aanzet, en de pan te verwijderen wanner het koken kaar is.
- Gebruik pannen met een platte, gladde bodem. Een oneffen of ruwe bodem kan de glaskeramische plaat bekrassen. Controller of de bodem van de pan schoon en droog is.
- Laat een vochtig deksel nicht op de kookplaat liggen.
- Het glaskeramische oppervlak en de pannen要去en schoon zich. Verwijder alle voedselresten (vooral die van suikerrijk voedsel), vuil, enz. zorgvuldig met afwasmiddel.
- Gebruik geen paffen met een steel die zo lang is dat deze over de rand van de kookplaat uitsteekt, om te voorkomen dat de pan per ongeluk worden omgestoten. Met deze voorzorg is de pan ook moeilijker te bereiken voor kinderen.
- Buig u Niet over de kookplaat wanneer de kookzones in bedrijf�n.
- Laat geen zware of scherpe voorwerpen op de keramische kookplaat vallen. Neem de stekker uit het stopcontact als het keramische oppervlak beschadigd is en stel u in verbinding met de servicedienst.
- Leg geen aluminiumfolie of plastic voorwerpen op de kookzones wanneer deze warm�.
Volg de schoonmaakinstrictions nauwgezet op.


Gebruik geen pannen met een ruwe Ronde bodem.
Afb. 3.4
REINIGING
- Vooraleer u de kookplaat reinigt, dient u na te gaan of het toesteluitgeschakeld is.
- Volg de schoonmaakinstructies nauwgezet op.
- Verwijder eventuele voedselresten of andere stoffen die zich haben vastbezet.
- Verwijder stof met een vochtige doeck.
- U kan ook gebruik makev van Niet schurende of Niet corrosieve detergenten.
- Het is aanbevolen alles dat door warmte kan smelten, van de kookplaat te verwijderen: plastic voorwerpen, aluminiumfolie, suiker of heel zoeteprodukten.
- Indien een voorwerp of materiaal op deplaat gsmolten is, dient u dit onmiddelijk te verwijderen (terwijl het oppervlak nog warm is) met de schraper om beschadiging van het vitroceramische vlak te vermijden.
- Gebruik geen messen of suntige voorwerpen, want zij können de kookpmaat onherroepelijk beschadigen.
- Gebruik ook geen schurende schilfers of schuursponsen die onherstelbare krassen können veroorzaken.
OPGELET: HEEL BELANGRIJK!
Ingeval van schoonmaak van de plaat in glasceramiek met behulp van een accessoire (bijvoorbeeld eenkleine schraper) moet men erop letten dat de pakking ter hoogte van de hoeken van het glasceramiek oppervlak Niet beschadigd worden.
Kras het keramische oppervlak Niet met scherpe voorwerpen Gebruik het keramische oppervlak Niet als werkblad of bergplaats.

Opgelet: Tijdens de werkig van de oven is de ovendeur warm.
Houdt dejonge kinderen op afstand.
ALGEMENE KENMERKEN
Zoals zijn naam het zegt, gaat het hier om een oven die specifieke Funktionele kenmerken bezit Het is inderdaad möglich 7 verschillende funkties te gebruiken om aan elke kookvereiste te voldoen.
Deze 7 funkties, met thermostatische controle, worden verwezenlijk door 4 verwarmingselementen:
- Onderweerstand
- Bovenweerstand
- Grillweerstand
Ringvormige wonderstand
OPMERING:
Voor het eerste gebruik is het raadzaam om de lege oven 30 minutes op stand te laten werken en verrolgens nogmaals 30 minutes op de maximumtemperatuur (thermostaatknop op 250^ ) in de standen en, om alle sporen van vet van de verwarmingselementen te verwijderen.
Maak de oven en zijn accessoires schoon met warm water en vloeijaar afwasmiddel.
WAARSCHUWING:
De deur is heet. Gebruik het handvat.
Gedurende het gebruik worden het apparaat warm. Opletten om Niet de warme elementen binnen de oven te treffen.
WERKINGSPRINCipe
Het opwarmen en koken met de MULTIFUNKTIE oven gebeurt als volgt:
a. door natuurlijke convectie
De warmte worden produeerd door de boven- en onderweerstand.
b. door gedwongen convectie
Een turbine zuiigt de lucht in de moffel van de oven aan, stuwit deze door de witgloeiende schroefgangen van een elektrische wonderstand en stuwt deze wee in de moffel. De warme lucht - alvorens wee aangezogen te worden omdezelfde cyc/us te hernemen - omhult de gerechten in de oven waardoor deze vlug en volledig gaargekoott worden.
Bovendien kan men verschillende gerechten tegelijkertijd koken.
c. door semi-gedwongen convectie
De door de boven- en onderweerstand geprodueceerde warmte worden door deturbine in de oven verdeld.
d. door straling
De warmte wordt door de infraroodstralen van de grillweerstanduitgestraald.
e. door straling en ventilatie
De door de infra-loodgrillweerstanduitgestraalde warmte wordt door deturbine in de oven verdeld.
f.ventilate
Het voedsel wordt zonder verwarming door de ventilator ontdooid.


De verwarmingselementen van de oven worden ingeschakeld door de knop op de gewenste funktie teplaatsen en door dethermostaatknop op de gewenste temperatuur in te stellen.
De contrôle van de werkung (ON-OFF) van de verwarmingselementen worden UITgevoerd door de thermostat;� werking worden aangegeven door het lampje op het knoppenbord.
BAKSTANDENSCHAKELAAR (afb. 4.2)
Draai de knop met de klok mee om eén van de bakstanden in te stellen.

VERLICHTING
Bij het instellen van de knop in deze positie,licht het ovenlampje op.
De oven blijt verlicht als de schakelaar op een van de funkties is ingesteld.

TRADITIONEEL KOPEN-CONVECTIE
Werking van de onder- en bovenweerstand.
De warmte worden door natuurlijke convectie verspreid en de temperatuur要去 geregeld worden van 50^ tot 250~^ C met dethermostaatknop. De oven dient voorverwarmd te worden alvorens de gerechten in de oven teplaatsen.
Aangeraden Gebruik:
Voorgerechten die volledig gaargekookt要去en worden.
Vb: gebraad, varkensribben, schuimgebak (meringue).

ROOSTEREN MET DE GRILL
Werking van de elektrische waterrstand met infra-loodstraling.
Met de ovendeur zich gebruiken en met de thermostaatknop op een stand:tussen 50^ en 225^ voor ten hoogste 15 minuten en verwolgens op 175^
De grill nicht langer dan 30 min. gebruiken.
Opgelet :ijdens de werkking van de oven is de ovendeur warm. Houdt dejonge kinderen op afstand.
Voor een correct gebruik verwijzen wij hier het hoofdstuk "Gebruik van de grill"
Aangeraden Gebruik:
Traditioneel roosteren met de grill, braden, bruinen, gratineren, roosteren, enz.

ONTVRIEZEN VAN INGEVRO REN VOEDINGSMIDDELEN
Enkel werking van de ovenventilator.
Te gebruiken met de thermostaatknop op stand "●" waar elke andere stand geen enkeleuitwerking hebft.
Het ontvriezen gebeurt door de ventilatie, zonder verwarming.
Aangeraden Gebruik:
Om snel de ingevroren gerechten te ontvriezen.
Ongeveer één ur per kilo.
De duur variëert in funktie van de kwaliteit en het soort te ontvriezen voedingsmiddelen.

KOKEN MET WARME LUCHT
Werking van de ringvormige watstand en van de turbine.
De warmte worden door gedwonden convectie verspreid en de temperatuur dient geregeld te worden van 50^ tot 250 ^ C d.m.v. de thermostaatknop. De oven moet nicht voorverwarmd worden.
Aangeraden Gebruik:
Voor gerechten die een goedgebakken korstje要去en hebben en binnen zacht of roze dieren teijken.
Vb.: lasagne, lamsvlees, rosbif, gehele vissen, enz.

KOKEN MET GEVENTILEERDE GRILL
Werking van de infra-loodgrillweerstand en de turbine.
De warmte worden hoofdzakelijk verspreid door straling en de ventilator verdweit de warmte over de ganse oven. De temperatuur moet d.m.v. dethermostaatknop worden geregeld op een stand:tussen 50^ en 200^ (voor maximaal 30 minuten).
De oven要去oorverwarmd worden gedurende 5 minuten.
Attentie: Voor gebruik要去 de deut-van de oven gesloten zijn.
Attentie:ijdens het gebruik worden de ovendeur zeer heet.
Houd kinderen weg van de oven.
Voor een correct gebruik verwijzen wij maar het hoofdstuk "ROOSTEREN EN GRATINEREN".
Aangeraden Gebruik:
Voor het roosteren van gerechten waarvan de buitenkant gebruind moet worden om het vleessap binnenin te behouden. Vb: kalfsbiefstuk,entre-cote,hamburger,enz.

1. WARMHOUDEN VAN GEKOOKTE GERECHTEN OF ZACHTJES 2. WARMEN VAN GERECHTEM
Werking van de bovenweerstand, van de ringvormige waterdstand en de turbine.
De warmte worden verspreid door gedwonden convectie, meteer intensiteit op het niveau van de bovenweerstand.
De temperatuur dient geregeld te worden van 50^ tot 140^ met dethermostaatknop.
Aangeraden Gebruik:
Om vooraf gekooke gerechten warm te houden. Om zachtjes de reeds gekooke gerechten op te warmen.

KOKEN MET GEDWONGEN CONVECTIE
Werking van de onder- en bovenweerstand en van de turbine.
De boven-en onderwarmte worden in de oven verdoeffd door semi gedwongen convectie.
De temperatuur dient geregeld te worden van 50^ tot 250^ C met dethermostaatknop.
Aangeraden Gebruik:
Voor große hoeveelheden en grotere volumes die gelijkmatig要去en gebakken of gebraden worden.
Vb.: roulades, kalkoen, lamsbout, taart, enz.
KOOKWENKEN
STERILISEREN
Het steriliseren van levensmiddelen in bokalen geleurt als volgt (volle bokalen, hermetisch gesloten):
a. de schakelaar op stand 品 plaatsen;
b. dethermostaatknop op stand 185^ plaatsen en de oven voorverwarmen;
c. de druiplaat met warm water vullen;
d. de bokalen op de druiplaat zetten en erop letten dat ze elkaar nicht raken; de deksels bevochtigen met water; de ovendeur sluiten en de thermostaatknop op stand 135^ plaatsen.
Wanner het steriliseren begint, t.w. wanner er luchtbellen in de bokalen gevormd wor den, de oven uitschakelen en lien afkoelen.
VERBETEREN
De schakelaar op stand plaatsen en de thermostataatknop op stand 150^
Brood wordt weeer knappend vers als men het ongeveer 10 minuten in de oven plaatst nadat het lichtjes bevochtigd werk.
BRADEN
Om op de klassieke manier te braden (gaar gebakken) volstaat het volgende punten in acht te nemen:
- de oventemperatuurinstellen:tussen 180^ en 200^
- de hoeveelheid en de kwaliteit van het vlees.
SIMULTAAN KOKEN
De standen en MULTIFUNKTIE oven latent toe verschillende heterogene bereidingen simultaan te koken. Aldus kan men tezelfdertijd verschillende gerechten koken zoals vb. vis, taart en vlees zonder dat de aroma's en smaken zich vermengen.
Dit is möglichkomdat de dampen en vetten geoxydeerd worden door de elektrische weerstand en zich dus nicht{kunnen afzetten op de gerechten.
De enige te nemen voorzorgen zich:
- de kooktemperaturen要去en zo dicht möglich bij elkaar liggen met een verschil van maximum 20^ tot 25^ tussen de extreem vereiste temperaturen voor de verschillende gerechten;
- de gerechten zullen op verschillende tijdstippen in de oven geplaast worden, rekening houdend met de verschillende kookduur.
Hetresultaat van deze kookwijze is een evidente energia en tijdbesparing.
ROOSTEREN EN GRATINEREN
Met de schakelaar op stand kan het roosteren zonder braadspit gbeuren,aar delucht volledig rond de gerechten verspreid worden. De thermostaatknop op stand 200^ plaatsen en na voorverwarming van de oven de gerechten op het roosterplaatsen, de ovendeur sluiten en de oven lately verdier verwarmen tot het roosteren voleindigd is.
Voor het eind van de kooktijd enkele boterkrulletjes toevoegen om het mooie gravneffekt te bekomen.
De grill nicht langer dan 30 min. gebruiken.
Attentie:ijdens het gebruik worden de ovendeur zich heet.
Houd kinderen weg van de oven.
KOPEN MET DE GRILL
De oven moet voorverwarmd worden gedurende 5 minute.
Voor gezbruik moet de deur van de oven gesloten zich.
Het gerecht op het ovenroosterplaatsend dat zo hoog möglichk in de oven worden geschoven.
Breng de overschaal onder de grill aan, om het vet en de sappen op te vangen.
Attentie: Voor gezruik要去 de deur van de oven gesloten zich.
De grill nicht langer dan 30 min. gebruiken.
Attentie:ijdens het gebruik worden de ovendeur zeer heet.
Houd kinderen weg van de oven.
KOKEN MET DE OVEN
De oven voorverwarmen op de gewenste temperatuur.
Wanneer de oven de gewenste temperatuur bereikt heeft, het gerecht in de ovenplaatsen en de kooktijd nakijken.
De oven 5 min. voor het eind van de kooktijd uitschakelen om de in de oven opgestapelde warmte te benutten.
Ter informatatie gehen we in volgendetabel enkele gerechten met hunbereidingstemperauren in ^ C
Tijd en temperatuur schommelen afhankelijk van de hoeveelheid en de groote van de stukken.
Rundsvlees met uitjes 175^
Macaronikrans 175°C
Vier-veregegebak 175^
Karamelvia 175°C
Gevulde tomaten 200^
Zeebrasem met uitjes 200^
Forel met amandelen 200^
Wijting in de oven 200^
Eend 200^
Aardappelen in de oven 200^
Appeltaart 200^
Soezendeeg 200°C
Geroosterde paprika's 200^
Kalfskotelet 200°C
Varkenskotelet 200°C
Lamskotelet 225°C
Kalfsgebraad 225°C
Kippegebraad 225°C
Appelen in de oven 225^
Eieren in vuurvaste schoteltjes 225^
Opgelet:
Tijdens de werkking van de oven is de ovendeur warm.
Houdt dejonge kinderen op afstand.
ALGEMENE KENMERKEN
Het fomuis worden in propere staat geleverd. Nochtans is het aangeraden, voor het eerste gebruik, de oven te latent warmen op maximum temperatuur (250 °C) om de eventuele vetsporen op de waarstanden te verwijderen.
De elektrische oven is uitgerust met 3\ weerstanden:
Bovenweerstand
- Onderweerstand
- Grillweerstand
WAARSCHUWING: De deur is heet. Gebruik het handvat. Gedurende het gebruik worden het apparaat warm. Opletten om Niet de warme elementen binnen de oven te treffen.

OPMERING:
Alvorens de oven voor de eerste keer te gebruiken, de oven leeg aanzetten. Stel de hoogste stand in en zet de temperatuurknop op 250^
Laat de oven gedurende een uur in functie anstaan en daarna nog 15 minutes in functie
Hierdoor worden eventuele vetresten van de verwarmingselomenten verwijderd.
WERKINGSPRINCipe
Het opwarmen en koken met de NATUURLIKE CONVECTIE oven gebeurt als volgt:
a. door natuurlijke convectie
De warmte worden produeerd door de boven- en onderweerstand.
b. door straling
De warmte worden door de infraroodstralen van de grillweerstanduitgestraald (Voor gebruik moet dedeur van de oven gesloten zich).

BAKSTANDENSCHAKELAAR (afb. 5.1)
Draai de knop met de klok mee om eén van de bakstanden in te stellen.
De verwarmingselementen van de oven worden ingeschakeld door de knop op de gewenste functie teplaatsen en door dethermostaatknop op de gewenste temperatuur in te stellen (van 50^ tot 250 ^ C
De contrôle van de werking (ON-OFF) van de verwarmingselementen wordenuitgevoerd door dethermostat; zijn werking worden aangegeven door het lampje op het knoppenbord.

VERLICHTING
Bij het instellen van de knop in deze positie,licht het ovenlampje op.
De oven blijverlicht als de schakelaar op een van de funkties is ingesteld.


OSTEREN MET DE
Werking van de elektrische waarstand met infra-loodstraling.
Met de ovendeur zich gebruiken en met de thermostaatknop op een stand tussen 50^ en 225^ voor ten hoogste 15 minutes enervoigens op 175^
In de stand treedt de draaispitmotor in Werking.
Voor een correct gebruik verwijzen wij aan het hoofdstuk "ROOSTEREN EN GRATINEREN".
Aangeraden Gebruik:
Traditioneel roosteren met de grill, braden, bruinen, gratineren, roosteren, enz.
De grill nicht langer dan 30 min. gebruiken.
Opgelet : tijdens de werkking van de oven is de ovendeur warm. Houdt dejonge kinderen op afstand.


ADITIONEEL
KOKEN-CONVECT
Werking van de onder- en bovenweerstand.
De warmte worden door natuurlijke convectie verspreid en de temperatuur要去 geregeld worden van 50^ tot 250^ met dethermostaatknop. De oven dient voorverwarmd te worden alvorens degerechten in de oven teplaatsen.
In de stand treedt de draaispitmotor in Werking.
Aangeraden Gebruik:
Voor gerechten die volledig gaargekookt要去en worden.
Vb: gebraad, varkensribben, schuimgebak (meringue).
KOPEN MET DE GRILL
Be oven moet voorverwarmd worden gedurende 5 minute.
Voor gebruik moet de deur van de oven gesloten zich.
Het gerecht op het ovenroosterplaatsend dat zo hoog möglichk in de oven worden geschoven.
Breng de overschaal onder de grill aan, om het vet en de sappen op te vangen.
Attentie: Voor gebruik要去 de deur van de oven gesloten zich.
De grill nicht langer dan 30 min. gebruiken.
Attentie:ijdens het gebruik worden de ovendeur zich heet.
Houd kinderen weg van de oven.
KOPEN MET DE OVEN
De oven voorverwarmen op de gewenste temperatuur.
Wanner de oven de gewenste temperatuur bereikt heeft, het gerecht in de ovenplaatsen en de kooktijd nakijken. De oven 5 min. voor het eind van de kooktijd uitschakelen om de in de oven opgestapelde warmte te benutten.
Ter informatatie gehen we in volgendetabel enkele gerechten met hunbereidingstemperauren in ^ C
Tijd en temperatuur schommelen afhankelijk van de hoeveelheid en de groote van de stukken.
Rundsvlees met uitjes 175^
Macaronikrans 175°C
Vier-vierde gebak 175^
Karamelvla 175^
Gevulde tomaten 200^
Pizza 200°C
Zeebrasem met uitjes 200^
Forel met amandelen 200^
Wijting in de oven 200^
Eend 200^
Aardappelen in de oven 200^
Appeltaart 200°C
Soezendeeg 200°C
Geroosterde paprika's 200^
Kalfskotelet 200°C
Varkenskotelet 200°C
Lamskotelet 225°C
Kalfsgebraad 225°C
Kippegebraad 225°C
Appelen in de oven 225^
Eieren in vuurvaste schoteltjes 225^
De fornuizen uitgerust met een braadspit.
Dit dient om de gerechten aan het spit le braden door middel van het gebruik van de grillbrander.
Dit onderdeel bestaat UIT:
- 1 elektrische motor, in de weiterwand van de oven geplaatst.
- 1 spit uit roestvrij handvat en twee regelbare vorken.
- 1 steun voor het spit dat men op de midden richel van de oven staat.
GEBRUIK VAN HET BRAADSPIT
(afb. 5.3)
- De braadslee op de onderste richel van de ovenplaatsen en de steun op de middenrichel.
- Het spit in het braadstuk rijgen en het met de vorken vastleggen.
- Het spit in het gat van de motorplaatsen en op de steun leggen. Het handvat maar links draaien en het wegemen.
De draairichting van de hendel is van links\ haar rechts, of omgekeerd.
Attentie: Voor gezruik要去 de deur van de oven gesloten zich.
De grill nicht langer dan 30 min. gebruiken.
Attentie:ijdens het gebruik worden de ovendeur zeer heet.
Houd kinderen weg van de oven.


De elektronische programmering is een mechanisme met de volgende functies:
24-uurs klok met lichtgevend display
- Kookwekker (in te stellen tot aan 23研究成果 en 59 minutes)
- Programma voor automatisch bakken in de oven.
- Programmavoorthalf-automatischbakkenindeoven.
Beschrijving van de drukknoppen:

Kookwekker

Baktijd

Eindebaktoi

Handmatige bediening en
Ohgedaan maken van de
ingschakeldeprogramma's.
Vooruit zetten van de cijfers van alle functies
Achteruit zetten van de cijfers van alle functies en instellen van het geluidssignaal.
Beschrijving van de oplichtende tekens:
AUTO - knipperend - Programmering op automatische bediening maar nog nicht geprogrammeerd (men kan de oven nicht aanzetten).
AUTO - Brandt, maar knippert nicht - Programmering op automatische of halfautomatische bediening met ingeschakeld programma.
Programmering op handmatige bediening of automatisch bakken in werking.
Kookwekker in werking
en AUTO - knipperend en met geluidssignaal - Verkeerde programmering (de baktijdinstellung is langer dan de instelling van einde baktijd).
Opmerking: Het programmeren (met een hand) gebeurt door het indrukken van de knop die overeenkomt met de gewenste functie. Nadat men deze waar heeft losgelaten dient men binnen 5 seconde deijd in te stellen met de toetsen + of — edere keer dat de stroom uitvalt worden de programmering op nul gezet.


DIGITAALKLOK (afb. 6.2)
De programmeer-eenheid is voorzien van een elektronische klok met Lichtgevende cijfers die de uren en de minuten aangeven. Bij de eerste aansluiting van de oven op het elektriciteitsnet of na een stroomstoring waar er drie knipperende nullen zichtaar op het display van de programmeer-eenheid. Om de tijd in te stellen dient U het knopje en verwolgens het knopje +of ingedrukt houden totdat de klok op de juiste tijd staat (afb. 6.2).
Er bestaat ook een ander system: druk de knopje tegelijk in en druk tegelijkkertijd op de knopjes pf
Opmerking: Bij het instellen van deijd worden eventuele in werkigল of ingestelde programma's op nul gezet.
HANDMATIGEBEDIENINGVANDE OVEN ZONDER PROGRAMMERING
Om de oven handmatig te bedieren,
zonder gebruik van de programmering,
moet het knipperende opschrift AUTO
worden uitgezet door op de knop te
drukken (het opschrift AUTO za uitgaan,
terwijl het symbol gaat branden).
Let op: Als het opschrift AUTO nicht knippert (hetgeen betekent dat er al een bakprogramma is ingesteld) zorgt het indrukken van de knop voor het wissen van het programme en voor het omschakenaar de handmatige bediening.
Indien de oven aanstaat dient men hem handmatig uit te zetten.

ELEKTRONISCHE KOOKWEKKER
De kookwekkerfunctie bestaat slechtsuit een geluidssignaal dat ingesteld kan worden voor een tijsdebestek van maximaal 23 uur en 59 minutes.
Om deijd in te stellen moet U op het knopje drukken en verrolgens op het knopje + of -tatat het display de gewensteijd aangeeft (afb. 6.4).
Als de kookwekker is ingesteld verschijnt deijd van de klok waar op het display en gaat het symbol branden.
Het terugtellen begint onmiddelijk.
Dit is op elk gewenst moment te zien op het display wanner U het knopje indrukt.
Als de ingesteldeijd verstreken is gaat het symbool uit en hoog U een repeterend geluidssignaal dat uitgezet kan worden door op een willekeurige knop te drukken.
INSTELLING VAN DE TOON VAN HET GELUIDSSIGNAAL
Door op de knop te drukken hoort U na elkaar drie verschillende klanken.
Het als letzste gehoorde geluidssignaal blijft ingesteld.

AUTOMATISCH BAKKEN (afb. 6.5 - 6.6)
Voor het automatisch bakken in de oven moet U:
- De baktoi d instellen
- Einde baktijd instellen
- Temperatuur en functie van de oven instellen.
Hiervoor gaat U als volgt te werk:
- Stel de baktijd in door op de knop te drukken en cervolgens op de knop + (vooruit) of - (achteruit, als men over de gewensteijd heb en is gegaan). Het opschrift AUTO en het symbol gaan branden.
- Druk op de knop de baktijd, reeds opgeteld bij het tijdstip van de klok versuschijnt op het display.
Stel het tijdstip van einde baktijd in door op de knop + te drukken; indien men over het gewenste tijdstip heb een gaat kan men achechteruit gaan door op de knop - te drukken.
Na deze instelling za het symbool doven. Indien na deze instelling het opschrift AUTO op het display knippert en men een geluidssignaal hoort, betekent dat dat er een fouit is gemaakt bij het programmeren, dat wil zeggen, dat de baktijd over de tijd van de klok heb en is ingesteld. in dit geval dient men het tijdstip einde baktijd of de baktijd te wijzigen op de hierboven aangegeven wijze.

- Stel de temperatuur en de bakfunctie in met behulp van de schakelaar en dethermostaat van de oven (zie de betreffende hoofdstukken).
De oven is nu geprogrammeerd en alle zal automatisch functioneren: de oven zal op het juiste moment worden ingeschakeld en cervolgens, na het verstijken van de baktijd op het geprogrammeerde tijdstip waar uit te gaan.
Tijdens het bakken blijft het symbol branden en door op de knop drukken kan men op het display aflezen hoe lang het nog duurt tot het einde van de baktijd.
Het bakprogramma kan op ieder gewenst ogenblick worden uitgeschakeld door op de knop te drukken.
Na het verstijken van de ingestelde baktijd wordt de oven automatisch uitgeschakeld. Het symbool gaatuit, het opschrift AUTO knippert en men hoort een geluidssignaal dat kan worden afgeze t door op een willekeurige knop te drukken. Zet de schakelaar en de thermostat van de oven op de nulstand, en zet verzolgens de programmeer-eenheid op de "handmatige" bediening door op de knop te drukken.
Let op: Als de stroom uittvalt springt de klok op nul en worden alle ingestelde programma's gewist. De stroomuitval wordt gesignaleerd door het de knipperende cijfers op het display.

HALFAUTOMATISCH BAKKEN
Met keine instellung gaat de oven automatisch uit na de gewenste baktijd. Er zijn twee manieren om half-automatisch te bakken:
1e MANIER: Programming van de baktijd (afb. 6.7)
- Stel de baktijd in door op de knop te drukken en verrolgens op de knop + (vooruit) of de knop - (achteruit, wonneer men over de gewensteijd heb n is gegaan).
Het opschrift AUTO en het symbolen gaan branden.
2e MANIER: Programming van einde baktijd (afb. 6.8)
- Stel het tijdstip van einde baktijd in door op de knop te drukken en verzolgens op de knop (vooruit) of de knop (achteruit, wonneer men over de gewensteijd heb en is gegaan).
Het opschrift AUTO en het symbolen gaan branden.
Wanneer men een van deze programmeringen heeft uitgevoerd dient men de temperatuur en de bakfunctie van de oven in te stellen met behulp van de schakelaar en dethermostat (zie de betreffende hoofdstukken).
De oven za onmiddelijk worden ingeschakeld en na het verstreijken van de ingesteldeijd of bij het bereiken van het als einde baktijd ingesteldeijdstip zal hij automatisch weeorden uitgeschakeld.
Tijdens het bakken blijft het symbool branden en door op de knop drukken kan men van het display aflezen hoe lang het nog duurt voordat de baktijd afgelopen is.
Het bakprogramma kan op ieder gewenst moment ongedaan worden gemaakt door op de knop te drukken.
Als de baktijd verstreken is worden de oven uitgeschakeld en doof het symbol het opschrift AUTO knippert en men hoor een geluidssignaal dat uitgezet kan worden door op een willekeurige knop te drukken.
Zet de schakelaar en de thermostat op denulstand en zet de programmering op de handmatige bediening door op de knop te drukken.


BELANGRIJK - OVEN WERKT NIET
Als de oven Niet werkt, is het möglichk dat deze per ongeluk op "AUTOMATIC" staat, of dat het apparaatijdelijk geen stroom heeft gehad. Indien de timer "AUTO" aangeeft, of dearend aan het knipperen is, kan de Oven möglichk Niet worden aangezet of reageert deze vertraagd.

Voordat u vraagt om assistentie van een monteur verzoeken wij u om de instellenen van de timer, te vinden in deze gebruiksaanwijzing, grondig door te lezen. Zorg dat de timer op "MANUAL" staat. Deze stand is te herkennen aan het -symbool dat in de timer verschijnt, te zien in de afbeelding hieronder.

NB. Het resetten van de timer valt nicht onder de garantie; een servicebeurt van unsere monteur zal kosten met zich mee brengen.
ONDERHOUD
ALGEMENE RAADGEVINGEN
- Ga nooit over tot onderhoud of reiniging van het toestel zonder dat u het vooraf van het stroomnet heeft afgekoppeld.
- Ga nooit over tot onderhoud of rei-niging van het toestel zonder dat u het vooraf van het stroomnet heeft afgekoppeld.
- Laat geen alkalische of zure stoffen (zoals citroensap of azijn).
- Gebruik geen schoonmaakprodukten op basis van chlorine of azijn.
- Belangrijk: Voor het hanteren/ gebruik van dit apparaat worden het gebruik van beschermende kleding/ handschoenen aanbevolen.
LET OP
Bij een correcte installmentie, voldoet uw product aan alle veiligheidsmaatregelen die voor dit type van productcategorie voorgeschreven zijn. Niettemin要去 u speciale aandacht besteden aan dechter- of onderzijde van het apparaat aangezien deze zones nicht ontworpen zich met de bedoeling ze aan te raken. Bovendien bevatten ze scherpe of ruwe randen waar u zich zou+kennen aan verwonden.
De geëmailleerde delen mogen enkel schoongemaakt worden met een spons en zeep of andere nietschurende middelen.
Bij voorkeur met een zachte doeck.
Alkalische of zure vlekken (citroensap, azijn, enz...)要去en onmiddelijk verwijderd worden.
Ook het gebruik van chloor- of zuurhoudende producten dient vermedente worden.
ONDERDELEN VAN ROESTVRIJ STAAL, ALUMINIUM EN OPPERV LAKKEN MET EEN PRINT
Reinig deze onderdelen en oppervlakken met een hiervoorn geschikt reinigingsmidel.
Droog ze daarna zeer zorgvuldig af.
BELANGRIJK: deze onderdelen dienen altijd zeer zorgvuldig gereinigd te worden om beschadigingen te voorkomen. U worden geadviseerd een zachte doek en een neutraal reinigingsmiddel te gebruiken.
LET OP: Gebruik nooit schurende of bijtende reinigingsmiddelen aangeziendeze het oppervlak onherstelbaar beschadigen.
GLASKERAMISCHE KOOKPLAAT
- Bladzijde 21.
Belangrijk: De fabrikant wijst alle aansprakelijkheid af voor möglichke schadeveroorzaakt door het schoonmaken van het apparaat met ongeschikte producten.
Let op
Het apparaat kan zeer heet worden, vooral rondom de kookzones. Daarom is het belangrijk dat kinderen nicht alleen in de keuken worden gelaten wanner het apparaat in werkung is.
Geen machine met stoomstralen gebruiken want het vocht zou in het apparaat hunnen binnendringen en het gebruik ervan gevaarlijk make.
Gebruik geen harde schurende poetsmiddelen of scherpe metalen voorwerpen om het glas te poetsen aangezien zich het oppervlak hunnen krassen, dit kan leiden tot het breken van het glas.
OVENRUIMTE
Maak de ovenruimte na jegere kookbeurt schoon. Voor de schoonmaak derekken aan de zijkanten van de oventuimteuitnemen en deze terugmonteren als u klaar bent.
Wanneer de oven nog lauw is, de binnenwanden afwassen met een doek die in heet water met zeep of een ander geschikt product gedrenkt is.
De bodem van de oven, de zijdelingserekken, de druipschaal en het rooster zichuiit te nemen en in de goatsteen te wassen.
Opgelet: de vervaardiger of dit product accepteert geen verantwoordelijkheid voor schade toegebracht door chemische of harde schoonmaakmiddelen.
Laat de oven eerst afkoelen en raak geen warme elementen aan in de oven.
MONTEREN EN DEMONTEREN VAN DE ZIJPLATEN
- Bevestig de uitneembare zijplaten aan de gaten van de zwanden in de oven (afb. 7.1)
- Deplaat moet zo geplaatst worden dat de veiligheidsgroef, waardoor deplaat er nicht uitglijtdt, maar de binnenkant van de oven gericht is; de geleiderail bevindt zich aan de achterkant.
- Het demonteren geschiedt in omgekeerde volgorde.


DRAGERS TELESCOPISCHE VERSCHUIFBARE LEGGERS (afb. 7.3)
De dragers van ons telescopisch system met verschuifbare leggers makeh het veiliger en eenvoudiger om de roosters in en uit de oven te halen.
De drager blokkeert indien deutsche nicht verder kan worden uitgetrokken.
Belangrijk! Volg bij hetplaatsen van de dragers de volgende stappen:
- Zorg dat de linker- en rechtschuifrail bevestigd worden aan de bevestigingsdraden (afb. 7.4).
- Bevestig de linker- en rechtschuifrail aan de bevestigingsdraden (afb. 7.5). U hoor een klik op het moment dat de rail correct aan het draad is bevestigd.
- Plaats het ovenrooster op de leggers (afb. 7.6 en 7.8).
-
U kurz het rooster nu, via de sleuven in de warden van de oven, in en uit de oven schuiven. Let er hier bij op dat:
-
het ovenrooster uit de oven kan worden geschoven;
- de bovenste sleuf nicht gebrukt worden;
- de korte zich de van de steun zich aan dechterzijde van de oven bevindt;
- de veiligheidsreling zich aan dechterzijde van de oven bevindt.
Stappen om de linker- en rechtschuifrail los te koppelen van de bevestigingsdraden:
- Zoek de veiligheidssloten. Dit zijn de uitsteeksels die zich om de draad hebben gevoegt (pijl 1 in afb. 7.8).
Trk het veiligheidsslot veg van de draad om de schuifrail los te koppelen (pijl 2 in afb. 7.8)
Het schoonmaken van de schuifraildragers:
- Reinig de dragers met een vochtige doek en enkel met mild reinigingsmiddel.
- Was de dragers nicht in de vaatwasser, dompel ze nicht onder in zeepwater en gebruik geen ovenreiniger.



Afb. 7.6 Afb. 7.5 Veiligheidsreiling




VERVANGEN OVENLAMPJE
VAN
HET
LET OP: Wees zeker dat het apparaatuitgeschakeld is alvorens de ovenlampte verrangen om elektrische schokken te vermijden.
-Thatindiennodigdeovenenverwarmingselementenafkoelen.
- Trek de stekker uit het stopcontact.
- Verwijder het verlichtingskapje "A" (afb. 7.9a).
- Vervang de halogeneamp "C" door een lamp die bestand is gegen hoge temperaturen (300^) en die over de volgende specificaties beschikt: 220-240 V, 50 / 60Hz en over hetzelfde vermogen als de vervangen lamp (controller het vermogen in watt dat op de lamp is aangebracht).
BELANGRIJK: verrang de lamp nooit met uw blote handen; vuil van uw handen kan de levensduur van de lamp verkorten. Gebruik.altijd een schone doek of draag handschoenen.
Herplaats het verlichtingskapje "A".
OPMERKING: De verranging van de lamp valt buiten de garantie.
SCHOTELWARMHOUDRUIMTE
De schotelwarmhoudruimte is toegankelijk door het opklapbare paneel te openen (afb. 7.9b).
Zet geen ontvlambare materialen in de accessoirevak, want die zouden vlam konnen vattenijdens de werking van het apparaat.

VERWIJDEREN EN TERUGPLAATSEN VAN HET BINNENGLAS VAN DE OVENDEUR
Als u het glas aan de binnenkant van de deur wilt schoon make, dan is het belangrijk dat u de volgende instructies zorgvuldig UITvoert.
Het verkeerdteringplaatsen van de glasplaat kan leiden tot schade aan het apparaat en kan de garantie lately verrallen.
BELANGRIJK!
- Wacht tot alle delen voldoende zijn afgekoeld voor men begint. Probeer het raam nicht los te halen terwijl het apparaat nog warm is.
- Wees voorzichting met het glasplaat. Probeer te voorkomen dat ieets gegen de rand van het glas stoot. Dit kanervoordzorgen dat het glas breekt.
WAARSCHUWING: Gebruik geen aggresieve reiningingsmiddelen en glaskrabbers, deze+knen het glas aantasten of beschadigingen waardoor het kan knappen. - Als u een beschadiging op het glasplaat ziet (zoals een blusje eraf of een breuk), gezruik de oven dan nicht. Neem contact op met de Klantensenservice.
- Zorg dat de glasplaat correct worden teruggeplaatst. Geen gebruik de oven nicht als de glasplaat verkeerdom zit.
- Als de glasplaat er nicht makkelijk uit wil, forceer het dan Niet. Bel de Klatenservice voor hulp.
Notitie: Problemen die door het correct doorlezen van de gebruiksaanwijzing opgelost hunnen worden, vallen Niet onder de garantie voorwaarden van een monteursbezoek.
VERWIJDEREN VAN DE OVENDEUR
U verwijdert de ovendeur zonder moeite als volgte:
- Open de deur volledig (afb. 7.11).
- Open volledig hefboom "A" aan de linkse en rechtse scharnieren (afb. 7.12).
Houd de deur vast zoals aangeduid in afb.7.10. - Sluit de deur zachtjes totdat de hefbomen "A" van de linkse en rechtse scharnieren vasthangen aan deel "B" van de deur (afb. 7.12 - 7.13).
Trek de scharnierhaakjes weg van hunplaats volgens pijl "C" (afb. 7.14). - Laat de deur op een zachte ondergrond rusten.


BELANGRIJK
Hou steeds een veilige afstand van descharnieren van de ovendeur, vooral uw handen.
zitten, dan zoudendeze kunnenloskomen en zoude deur plots enonverwacht kunnensluiten met het risico op blessures.








OVENDEUREN - HET REINIGEN VAN DE RUITEN
De ovendeur beschikt over 3 ruiten:
- nr 1: buitenzijde;
- nr 1: binnenzijde;
- nr 1: middelste.
Om beiden zijdes te{kunnen reinigen, moet u de binnenruit als volgt verwijderen:
UITNEMEN VAN DE BINNENSTE EN MIDDELSTE RUITEN
- Zorg ervoor dat de deur vergrendeld is in de open stand
- Open de deur volledig (afb. 7.15).
- Open volledig hefboom "A" aan de linkse en rechtse scharnieren (afb. 7.16).
-
Sluit de deur zachtjes totdat de hefbomen "A" van de linkse enrechtse scharnieren vasthangen aan deel "B" van de deur (afb. 7.16 - 7.17).
-
Verwijder de binnenste ruit:
-
Verwijder voorzichtig de luchtadapter "G" die bovenaan de deur zit (fig. 7.18).
Trek de binnenste ruit er voorzichtig uit (afb. 7.19).
Reinig het glas met een geschikt reinigingsmiddel. Droog grondig af enplaats op een zacht oppervlak.


- Verwijder de middelste ruit:
Maak de middelste ruit voorzichtig losuit de onderste klemmen door hem tebewegen zoals in afb. 7.20.
- Til de onderrand van de ruit voorzichtig op (pijl 1 in afb. 7.22) en verwijder hem door hem uit de bovenste klemmen te trekken (pijl 2 in afb. 7.22).
- Reinig het glas met een geschikt reinigingsmiddel. Droog grondig af enplaats op een zacht oppervlak.
Nu sunt u ook de binnenkant van de buitenste ruit schoonmaken.





TERUGPLAATSEN VAN DEMIDDELSTE EN BINNENSTE RUITEN
-
Zorg ervoor dat de deur vergrendeld is in de open stand (zie afb. 7.17)
-
Plaats de middelste ruit'erug:
-
Controller of de vier rubber blokjes aangebracht zich ("M" in afb. 7.23)
- Controller of u de ruit op de juiste manier vasthoudt. De worden die erop staan要去en leesbaar zich wanner de ruit maar u gekeerd is.
- Duw de bovenrand van de ruit voorzichtig in de bovenste klemmen (pijl 1 in afb. 7.24), maar de ruit dan zakken en schuif de onderrand in de onderste klemmen (pijl 2 in afb. 7.24); verwolgens schuift u de ruit op+zijn plaats (afb. 7.25)




-
Plaats de binnenste ruit:
-
Controller of de vier rubber blokjes aangebracht zich ("D" in aflb. 7.26).
- Controller of u de ruit op de juiste manier vasthoudt. De woorden die erop staan要去en leesbaar zich wanner de ruit maar u gekeerd is.
Schuif de ruit in de linker- en rechterglijlatten "E" en F (afb. 7.27), en schuif hem voorzichtig maar de opsuiitbeugels H (afb. 7.28). - Druk voorzichtig de luchtadapter terug op zichn plek (afb. 7.29).
- Ontgrendel de ovendeur door hem helemaal opente zetten en de hefboom "A" op de linker-en rechtscharnieren dicht te kantelen (afb. 7.30).

Aanwijzingen voor de installateur
BELANGRIJK
- De installmentie mag uitsluitend worden uitgevoerd door een gekwalificeerd elektricien, in overeenstemming met de lokaal geldende voorschriften en de aanwijzingen van de fabrikant. Als hieraan Niet worden voldaan, verwalt de garantie.
- Het toestel要去 overeenkomstig verordenen van kracht in uw land en in observatie van de instructies van de fabrikant worden geinstalleerd.
- Indien het apparaat worden aangesloten op het elektriciteitsnet via een stopcontact in de muur darüber het apparaat, mag het stopcontact zich hoogstens 18 cm boven de vloer bevinden.
- Sommige apparaten worden geleverd met de stalen en aluminium delen ervar bedeekt door beschermfolie
U moet de beschermfolie verwijderen voordat u het fornuis in gebruik neemt.
Dit toestel behoort tot beschemingsklasse "2/1" gegen de oververhitting van aangrenzende oppervakken.
Tussen het toestel en de muur of kast ernaat moet minstens 200mm afstand bewaard worden (afb. 8.1).
De meubelwanden要去en bestand zijn gegen een temperatuur van 75^ boven de omgevingstemperatuur.
Het fornuis mag geinstalleerd worden in een keuken, in een eetkeuken of in een eenkamerwoning met kookhoek, maar Niet in een vertrek met een badkuip of douche.
De afstand:tussen het fornuis en een wand (muur kast) aan de zijkant die hoger is dan het fornuis, moet minstens 500~mm bedragen
Het fornuis moet overeenkomstig afb. 8.1 geinstalleerd worden.

ACHTERSCHERM
Assembleer het achterschemr "C" (afb. 8.2) alvorens het fornuis te installeren.
- Het achterschemr "C" vindt u in de verpakking ache ter het fornuis.
- Verwijder de beschermfolie en plakband voordat u het achterschem assembliert.
- Verwijder de twee afstandsringen "A" en de schroef "B" van de achterkant van de kookplaat.
- Assembleer het achterschem zoals aangegeven in afbeelding 8.2 en bevestig het door de schroef "B" en de afstandsringen "A" vast te draaien.

Afb. 8.2
DE VERSTELBARE VOETEN MONTEREN
De verstelbare voeten moeten aan de onderkant van het fornuis worden gemonteerd voordat het fornuis in gebruik worden genomen (afb. 8.3).



Afb. 8.4
Afb. 8.5

Afb. 8.6
BEWEGINGSSYSTEEM VAN HET FORNUIS
WAARSCHUWING
Hetrechtop zetten van het fornuis要去 alsooriden dat de verstelbare voeten schade oplopen tijdens deze manoeuvre (afb. 8.4).
WAARSCHUWING
Pas op: til het fornuis bij hetrechtop zetten nicht op aan de deurhendel (afb. 8.5).
WAARSCHUWING
SLEEP het fornuis NIET over de vloer wanner u het maar deplaats van installmentie vervoert (afb. 8.6).
Til het fornuis zo ver op dat+zijn voeten de vloer Niet raken (afb. 8.4).
HET FORNUIS WATERPAS ZETTEN
Het fornuis kan waterpas geplaats worden door de uiteinden van zich voeten IN of UIT te draaien (afb. 8.7).

BEVESTIGINGSSTEUN
Waarschuwing: Om te vermijden dat het apparaat toevallig Kantelt, moet het ondersteund worden door een steun aan dechterzijde van het apparaat teplaatsen en het veilig aan de muur te bevestigen.
Om de bevestigingssteun teplaatsen:
-
Bepaal deplaats van het fornuis. Duid op de muur de plaats aan waar de twee schroeven van de bevestigingssteun要去en komen, Volq de instructies in afbeeling 8.8.
-
Boor twee gaten met een diameter van 8 mm in de wand en stek er de bijgeleverde plastieken pluggen in.
Belangrijk! Controller of er geen leidingen of elektriciteitsdraden beschadigd hun worden door de gaten te boren.
- Plaats de bevestigingssteun losjes met de twee bijgeleverde schroeven.
- Zet het fornuis gegen de muur en pas de hoogte van de bevestigingssteun aan, zodat deze in de gleuven aan de achterzijde van het fornuis past (zie afb. 8.8).
- Draai de schroeven van de bevestigingssteun vast.
- Duw het fornuiis gegen de muur zodat de bevestigingssteun zich volledig in de gleuven aan de achechterziende van het fornuiis bevindt.
Opgelet!
Let goed op wanner u het fornuis op+zijn plaats schuift om te voorkomen dat de voedingskabel in de steunbeugel worden vastgeklemd.

BELANGRIJK: De aansluiting op het elektriciteitsnet要去uitgevoerd worden door een bevoegt vakman en voldoen aan de geldende voorschriften.
Een foute installmentie kan schade aan personen, dieren en zaken ten gevolge hebben waarvoorde fabrikant zich nicht aansprakelijk stelt.
AANSLUITING OP HET ELEKTRICITEITSNET
- De aansluiting op het elektriciteitsnet要去uitgevoerd worden door eenvakman en voldoen aan de geldendeveiligheidsvoorschriften;
- het apparaat要去 aangesloten worden op het elektriciteitsnet, nadat men eerst hebft vastgesteld dat de netspanning overeenstemmetdevoedingsspanning die op het typeplaatje is vermeld en dat de elektrische voorziening de aansluitwaarde van het toestel kan dragen;
- het is möglichk om het apparaat direct op het elektriciteitsnet aan te sluiten door middel van een lijnschakelaar met een minimumafstand van 3mm tussen de contacten;
- devoedingskabel mag nietinaanraking komen met hete oppervlakken en moet zo geplaatst worden dat de temperatuur nergens boven de 75^ komt;
- het toestel要去 zo worden geinstalleerd dat de lijnschakelaar.altijd bereikbaarহn.
N.B. Gebruik geen adapters, verloopstekkers en meervoudige stekkerdozen odomat deze oververhitting en verbrandingen können veroorzaken.
Als de elektrische voorziening in uw woning aangepast moet worden om het toestel te installereren, LAST de nodige werkzaamheden dan verrachten door een bevoegd vakman.
Deze要去 bovendien controlleren of de doorsnede van de bekabeling van de elektrische voorziening in uw woning groot genoeg is voor het vermogen dat het toestel opneemt.
BELANGRIJK: dit kooktoestel要去 worden aangesloten op een geschiktte tweepolige schakelaar die in de buurt van het toestel is gemonteerd.
WAARSCHUWING!
Het is verplicht het apparaat te aarden.
Trek.altijd de stekkeruit alvorens werkenuit te voeren aan hetelektrische gedeelte van het toestel.
De aarding van het toestel is verplicht. De fabrikant wijst alle verantwoordelijkheid af wanner schadeveroorzaakt worden door het Niet in ache nemen van deze voorwaarde.
AANSLUITEEN VAN HET AANSLUITSNOER
LET OP: Indien de voedingskabel beschadigd is, mag deze uitsluitend verrangen worden door een vertegenwoordigde operator van de Servicedienst om eventuele risico's te vermijden.
Het aansluitsnoer wordt als volgt op het fornuis aangesloten:
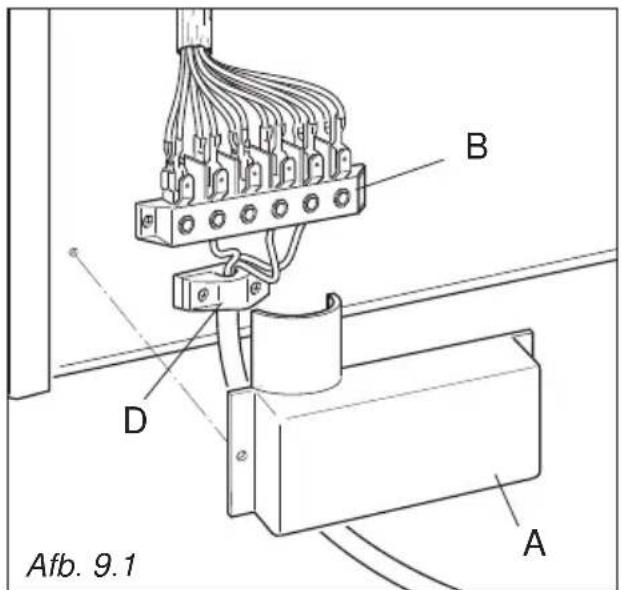
Schroef de bevestigingschroeven van het beveiligingspaneel "A" aan dechterkant van het fornuis los
- Verbind het goed geïsoleerde aansluitsnoer met klem "D".
- Plaats de stroombruggen U op de contacten B (afb. 9.1) in overeenstemming met het schema in afb. 9.2, 9.3.
- Verbind de aansluitingen (type H05RR-F) met klembouder "D" volgens het schema in afbeelding afb. 9.2, 9.3.
- Span het aansluitsnoer en zet het vast in klem "D".
- Bevestig het beveiligingspaneel "A" opnieuw.
BELANGRIJK: De aardingsgeleider moet ongeveer 3 cm langer� dan de andere kabels.

DOORMETER VAN DE VOEDINGSDRAAD "Type H05RR-F"
230Vac 3× 6mm (20 ^2(^**)
400V3Nac 5× 2,5mm ^2(^**)
(^**) Rechtstreekse aansluiting op een elektrische muurdoos
Gelijktijdigheidsfactor van toepassing.
- Alle aansluitingen dieren gedaan te worden door een erkend installmenter.

230 V ac

400V3Nac

400V2Nac
Afb. 9.2



Afb. 9.3
SimpelGids