UR8350 - Radio Soundmaster - Kostenlose Bedienungsanleitung
Finden Sie kostenlos die Bedienungsanleitung des Geräts UR8350 Soundmaster als PDF.
Laden Sie die Anleitung für Ihr Radio kostenlos im PDF-Format! Finden Sie Ihr Handbuch UR8350 - Soundmaster und nehmen Sie Ihr elektronisches Gerät wieder in die Hand. Auf dieser Seite sind alle Dokumente veröffentlicht, die für die Verwendung Ihres Geräts notwendig sind. UR8350 von der Marke Soundmaster.
BEDIENUNGSANLEITUNG UR8350 Soundmaster
HINWEIS ZUM UMWELTSCHUTZ

Dieses Produkt darf am Ende seiner Lebensdauer nicht über den normalen Haushaltsabfall entsorgt werden, sondern muss an einem Sammelpunkt für das Recycling von elektrischen und elektronischen Geräten abgegeben werden. Das Symbol auf dem Produkt in der Gebrauchsanleitung oder auf der Verpackung weist daraufhin
Die Werkstoffe sind gemäß Ihrer Kennzeichnung wiederverwertbar. Mit der Wiederverwendung der stofflichen Verwertung oder anderen Formen der Verwertung von Altgeräten, leisten Sie einen wichtigen Beitrag zum Schutze unserer Umwelt
Bitte Fragen Sie ihre Gemeindeverwaltung nach der zuständigen Entsorgungsstelle.

WARNING
Gefahr elektrischer Schläge Gerat nicht offen!

Zur Vermeidung von Stromschlagen darf these Gerat nicht geöffnet werden. Es enthalt keine Bauteile, die vom Benutzer gewartet oder repariert werden konnen, Wartungs- und Reparaturarbeiten durren nur von Fachpersonal ausgeführten werden.

Dieses Symbol zeigt an, dass im Inneren des Gerätes gefährliche Spannungen vorhanden sind, und einen Stromschlag verursachen können.

Dieses Symbol weist auf wichtige Bedienungs- und Wartungsanweisungen bezüglich des Geräts hin.

Verbrauchte Batterien sind Sonderabfall und gehoren NICT in den Hausmull! Als Verbraucher sind Sie gesetzlich verpflichtet alle Batterien und Akkus equal ob Schadstoffe *) enthalten oder nicht zur umweltschonenden Entsorgung zugruckzugegeben. Nennen alle Batterien und Akkus bei den öffentlichen stellen in ihrer Gemeinde oder dert unentgeltlich abvo Batterien und Akkus der betreffenden Art verkauf werden.
Batterien und Akkusitte nur in entladenem Zustand abgeben.
*) gekennzeichnet mit Cd = Cadmium, Hg = Quecksilber, Pb = Blei
- Verwenden Sie nur Batterien, die frei von Quecksilber & Cadmium sind.
- Batterien dürfen nicht in die Höhe von Kindern gelangen. Kinder können Batterien verschlucken. Werde eine Batterie verschlucht, muss sofort medizinische Hilfe in Anspruch genommen werden.
- Überprüfen Sie regelmäßige Batterien um ein Auslaufen der Batterie zu vermeiden.
- Batterien dürfen keiner Hitze (z. B. Sonnenbestahrung), Feuer ausgesetzt werden.
- ACHTUNG: Explosionsgefahr bei falscher Batteriehandhabung. Nur durch denselben oder baugleichen Batterietyp ersetzen.

Ständige Benutzung des Kopfhörers bei hoher Lautstärke kann zu Gehörschädigungen führen.
- Das Gerät ausnahmslos nur in trockenen Innenräumen betreiben.
- Niemals mit Feuchtigkeit in Verbindung bringen.
- Schützen Sie das Gerät vor tropfenden oder spritzenden Flüssigkeiten, und stellen Sie keine mit Flüssigkeit gefüllten Gefäße (z. B. Vasen) auf das Gerät.
-
Betreiben Sie das Gerät nur in einem gemäßigen Klima.
Schlieben Sie das Gerät nur an eine vorschrifsmäßige installierte und geerdete Netzsteckdose an. Die Netzspannung muss mit den Angaben auf dem Typenschild des Gerätes übereinstimmen. -
Achten Sie darauf, dass im Betrieb das Netzkabel niemals nass oder feucht wird. Das Netzkabelarf nicht eingeklemmt oder anderweitig beschadigt werden.
- Der Netzstecker dient als Trennvorrichtung und muss ohne Schwierigkeiten benutzbar sein.
- Achten Sie beim Verlegen des Netzkabels darauf, dass es beim Betrieb des Gerätes nicht zu einer Stolperfalle werden kann.
- Lassen Sie beschädigte Netzstecker oder Netzkabel(sofort von dem Kundenservice austauschen.
- Prufen Sie das Gerät, das Netzkabel sowie den Netzstecker regelmäß auf sichbare Beschädigungen. Verwenden Sie das Gerät auf keinen Fall, wenn Sie Beschädigungen festgestellt haben.
- Benutzen Sie das Gerät nicht, wenn es Beschädigungen aufweist, wenn es heruntergefallen ist oder nicht einwandfrei Funktioniert.
- Sie durfen das Gehäuse nicht öffnen oder reparieren. In dieser Falle ist die Sicherheit nicht gegeben und die Garantie erlischt. Reparaturen sind ausschließlich durch einen ServiceCenter/Kundencenter auszuführen.
- Ziehen Sie bei Gewitter oder einer längerer Abwesenheit (z.B. Urlaub) den Netzstecker und entnehmen Sie ggf. die Batterien.
- Kinder sollen das Gerät nur unter Aufsicht Erwachsener betreiben.
- Lassen Sie das Gerät während des Gebrauchs nicht unbeaufsichtigt.
- Das Gerät ausnahmslos nur mit einem trockenen Abstaubtuch reinigen.
KEINE REINIGUNGSMITTEL oder TÜCHER mit GROBEN Material verwenden!!!
Das Gerät keiner Sonnenbestrahlung oder anderen Hitzequellen aussetzen. - Stellen Sie das Gerät so auf, dass kein Hitzestau entstehen kann, also frei und gut beluftet.
- Achten Sie darauf, dass an den Seiten ein Mindestabstand von 10 cm besteht, um eine ausreichende Luftzirkulation zu gewährleisten.
- Decken Sie niemals die Belüftungsöffnungen zu !!!
- Offene Brandquellen, wie z.B. brennende Kerzen, darüber nicht auf das Gerät gestellt werden.
Das Gerat an einem sicheren, erschütterungsfreien Platz aufstellen. - Benutzen Sie das Gerät nicht, wenn es Beschädigungen aufweist, wenn es heruntergefallen ist oder nicht einwandfrei Funktioniert.
- Gerät möglichstweitentfernt vonComputern und Mikrowellengerätenplatzieren,daesonstevtl.zu Empfangsstörungenim Radiobetriebkommen kann.
- Treten wegen einer elektrostatischen Entladung oder kurzzeitigen Netzüberspannung Fehlfunktionen auf, setzen Sie das Gerät zurück. Ziehen Sie hierfür den Netzstecker bzw. Netzadapter und schreibenihn nach einigen Sekunden wieder an.
BEDIENELEMENTE
1 Lautstärkeregelung
2 Standby - Taste
3 Scan / Taste
4 Preset-Taste
5 Sleep - Taste
6 Snooze - Taste
7 Enter-Taste
8 Alarm - Taste
9 Info - Taste
10 Mode-Taste
11 Tune + /-Taste
12 USB-Buchse
13 Teleskopantenne
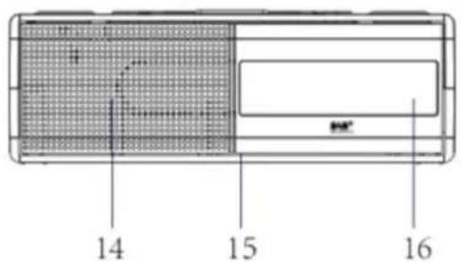
14 Lautsprecher
15 Batteriefach (auf der Unterseite)
16 LCD Display
17 Kopfhorerbuchse
18 AUX-IN Buchse
19 Netzteilanschlußbuchse


INBETRIEBNAHME
WICHTIG:
Bevor Sie das Gerät verwenden, überprüfen Sieitte, ob die lokale Stromversorgung mit dem Gerät kompatibel ist. Stecken oderziehen Sie das Netzkabel nicht, wenn Sie die Hande nass sind.
Wenn Sie diesen Gerät für längerere Zeit nicht zu benutzen,ziehen Sie den Stecker aus der Steckdose und entfernen Sie die Batterien in das Batteriefach ein.
ANSCHLUSS DES NETZTEILS
Steen den Stecker in die Netzteilanschlussbuchse auf der Rückseite des Geräts und den AC-Adapter in die Wandsteckdose.
NOTBETRIEB MIT BATTERIEN
Um das Gerät mit Batterien zu betreiben, muss der Netzadapter vom Gerät getrennt sein. Öffnen Sie das Batteriefach und legen Sie 4 "AAA" (LR03) Batterien (nicht im Lieferumfang enthalten) in das Batteriefach ein. Schließen Sie das Batteriefach wieder.
Das Gerät kann bei Stromausfall bis zu 24 Stunden voll Funktionsfähig betrieben werden und das Netzkabel über die eingelegten Batterien abgezogen werden.
Hinweis: Überprüfen Sie regelmäßig ihre Batterien. Alte oder leere Batterien sollenn ersetzt werden. Wenn das Gerät langere Zeit nicht benutz wird oder ausschlieblich mit Wechselstrom betrieben wird, entfern den Sie die Batterien aus dem Batteriefach, um ein Auslaufen zu vermeiden.
GRUNDBEDIENUNG
Drücken Sie die "STANDBY" Taste um das Gerät ein- und auszuschalten.
Drücken Sie "VOL + / -" um die Lautstärke zu verringn oder zu erhöhen.
DAB
Für den besten Empfang erweiterern Sie die Teleskopantenne komplett. Wenn Sie den DAB-Modus zum ersten Mal starten, sucht das Gerät automatisch nach den Sendern, die empfangen werden können.
Drucken Sie die "MODE" Taste um in den DAB-Modus zu gelangen.
Automatischer Sendersuchlauf
Drücken Sie die "SCAN" Taste bis "Autotune Full Scan" im Display angezeigt wird. Die Anzahl der gefundenen Sender wird oben rechts im Display angezeigt nach Beendigung wird automatisch der ersten Sender abgespielt. Drücken Sie "TUNE / " um den nachsten oder vorherigen Sender auszuwahlen.
Manueller Sendersuchlauf
- Wahlend des DAB-Betriebs, drücken und halten Sie die "ENTER" Taste um in den manuellen Suchlauf zu gelangen. Drücken Sie "TUNE / um die zu sichende Frequenz auszuwahlen.
- Drücken Sie um die Auswahl zu bestätigen die "ENTER" Taste.
- Es wird "MAN" offen rechts im Display angezeigt. Drücken Sie "ENTER" erneut. "DAB" wieder offen rechts im Display angezeigt.
- Wiederholen Sie die Reihenfolge ab Punkt 1 um weitere Sender zuuchen.
Favoritensender abspeichern
- Wahlen Sie den gewünschten Radiosender aus.
- Drücken und halten Sie die "PRESET" Taste. "Preset Empty 1"erscheint anschließend im Display und damit "1" blinkt.
- Drücken Sie "TUNE / " um die gewünschte Stationsnummer (1-10) auszuwahlen und bestätigten Sie diese mit der "ENTER" Taste.
- Repeat the same procedures until all desired radio stations are stored.
Favoritensender abrufen
- Drücken Sie "PRESET" und anschließend "TUNE / um den gewünschten Sender auszuwahlen.
- Drücken Sie "ENTER" um die Auswahl zu bestätigen.
Informationsanzeige
Das Gerät verfügt über DAB-Informationsanzeigen, die in der unteren Zeile des Displays angezeigt werden. Drücken Sie die Taste "INFO", um die verfügbaren Typen zu sehen:
Frequenz des Senders
Audio Bit-Rate
Multiplex NameSignalstärke
Uhrzeit/Datum
DLS (Dynamic Label Segment)
UKW
- Drücken Sie "MODE" Taste sooft bis Sie in den UKW-Modus gelangen.
- Drücken Sie "SCAN" um den Sendersuchlauf zu starten. Sobald ein Sender gefunden ist wird der Suchlauf beendet und das Gerät startet automatisch mit der Wiedergabe. Wenn der Empfang nicht gut ist können mit den "TUNE / Tasten den Sender feinabstommen.
Umschalten zwischen Stereo und Mono
Drücken Sie im UKW-Betrieb die "ENTER" Taste um zwischen "Auto" oder "mono" umzuschalten.
Das Speichern der Favoritensender Funktioniert wie im DAB-Modus.
Informationanzeige
Das Gerät verfügbar über UKW-Informationsanzeigen, die in der unteren Zeile des Displays angezeigt werden. Drücken Sie die Taste "INFO", um die verfügbaren Typen zu sehen:
PTY (Programmtyp)
Frequenz
Signalstärke
Audio Modus
Uhrzeit und Datum
Radiotext
USB
- Drücken Sie "MODE" sooft bis Sie in den USB-Modus gelangen.
- Stecken Sie ein USB-Medium in den USB-Anschluß auf der Oberseite des Gerätes.
- Die Musikwiedergabe wird automatisch gestartet.
- Drucken Sie die Paste um die Wiedergabe zu unterbrechen oder fortzusetzen.
- Drucken Sie "TUNE / "um den nachsten oder vorherigen Titel auszuwahlen.
- Drücken Sie „PRESET" um den Wiederhol-Modus einzustellen. Sie können wahlen zwischen Wiederholen eines Titels, Wiederholen aller Titel und Zufallswiedergabe.
AUX-IN
- Verbinden Sie die externe Audioquelle mit dem AUX-IN Eingang auf der Rückseite des Gerätes.
- Drucken Sie die "MODE" Taste sooft bis Sie in den AUX-Betrieb gelangen.
- Starten Sie die Wiedergabe an Ihrer externen Audioquelle. Verwenden Sie dazu die Bedienelemente an Ihr amgeschlossenen Gerät.
ALARM
Einstellen des Alarm 1
- Schalten Sie das Gerät in Standby und drücken Sie die "ALARM" Taste bis das Alarm 1 Menu im Display angezeigt wird.
- OFF oder ON blinkt im Display. Wahlen Sie mit "TUNE / " ON und bestätigen Sie mit der "ENTER" Taste.
- Die Stundenanzeige beginnt zu blinken. Stellen Sie die Stunden mit der "TUNE / Taste ein und bestätigen Sie mit "ENTER".
- Die Minutenanzeige beginnt nun zu blinken. Stellen Sie nun diese mit „TUNE / ” ein und drucken Sie erneut die “ENTER” Taste.
- Wahlen Sie nun den Alarmton (BEEP Ton1, BEEP Ton2, DAB, UKW oder USB) mit den "TUNE / Tasten aus und bestätigen Sie wieder mit "ENTER".
- Stellen Sie nun die Wecklautstärke mit den Tasten „TUNE▼/▲" ein und bestätigen Sie erneut mit der „ENTER" Taste. Die Einstellung ist nun gespeichert.
Einstellen des Alarm 2
- Schalten Sie das Gerät in Standby und drücken Sie die "ALARM" Taste bis das Alarm 2 Menu im Display angezeigt wird.
- Die Einstellung erfolgt wie bei Alarm 1.
Alarm ausschalten
Um den Alarm auszuschalten, wenn er aktiviert ist, drücken Sie die Taste "ALARM" oder "STANDBY", um den Ton zu stoppen. Der Alarm wird bis zum{nachsten Tag gestopt. Wenn Sie die Taste nicht drucken, wird er nach 59 Minuten automatisch beendet.
Alarm deaktivieren
- Drücken Sie "ALARM" bis Alarm 1 oder Alarm 2 im Display angezeigt wird.
- Drücken Sie "TUNE / " um den Alarm zu deaktivieren (OFF) und bestätigen Sie mit der "ENTER" Taste.
Snoopze (Schlummerfunktion)
Wenn der Weckton zu horen ist, drücken Sie die Taste "SNOOZE", um den Ton vorübergehend zu stoppen. Der Alarm ertont nach 9 Minuten erneut.
SLEEP
Drücken Sie die "SLEEP"-Taste, um den Sleep-Timer einzustellen. Sie können folgende Einstellungen wahren:
OFF-15-30-45-60-90Minuten.
HELLIGKEITEINSTELLUNG DES DISPLAYS
- Schalten Sie das Gerät in Standby.
- Drücken und halten Sie die “PRESET” Taste. “ACTIVE BACKLIGHT” wird im Display angezeigt.
- Wahlen Sie die gewünschte Helligkeit mit "TUNE /
- Nach 3 Sekunden wechselt die Displayanzeige nach "STANDBY BACKLIGHT". Wahlen Sie bereits mit der "TUNE / Taste die gewünschte Helligkeit.
MANUELLE UHRZEITEINSTELLUNG
- Schalten Sie das Gerät in Standby.
- Drücken und halten Sie die "ALARM" Taste bis "SET CLOCK" und das Datum im Display angezeigt wird.
- Drücken Sie die "TUNE / Taste um das Datum und die Uhrzeit einzustellen und bestätigen Sie jeder Eingabe mit der "ENTER" Taste.
KOPFHÖRERANSCHLUSS
- Verbinden Sie den 3,5mm Klinkenstecker des Kopfhörers mit der Kopfhörerbuchse auf der Rückseite des Gerätes.
- Schalten Sie das Gerät an. Die Tonwiedergabe erfolgt nun über den Kopfhörer. Der Ton über den Laatsprecher ist ausgeschaltet.
HINWEIS: Sobald ein Kopfhörer eingesteckt ist erfolgt auch der Alarnton über diesen!
WERKSEINSTELLUNG
Drücken und halten Sie im DAB-Betrieb die "MODE" Taste. Im Display erscheint "Press ENTER Key to Reset". Drücken Sie die "ENTER" Taste um das Gerät zurück zu setzen.
TECHNISCHE DATEN
Spannungsversorgung : Verwenden Sie nur den beifugten Netzadapter
Eingangsspannung : 100-240V~ 50/60Hz, 0,3A
Ausgangsspannung :5V
Batteriebetrieb : 4x DC 1.5V AAA Batterien (nicht enthalten)
DAB+ Bereich : 174.928 - 239.200MHz
UKW Bereich : 87.5 – 108MHz
Festsenderspeicher :10 DAB+, 10 UKW


ENVIRONMENTAL PROTECTION

Copyright par Woerlein GmbH, 90556 Cadolzburg, www.soundmaster.de
TECHNISCHE SPECIFICATIONS
Hiermit bestätigt Wörlein GmbH, dass sich these Gerät in Übereinstimmung mit den grundlegenden Anforderungen und den übrigen einschlädigten Bestimmungen der Richtlinie 2014/53/EU befindet.
Eine Kopie der Konformitätserklung kann unter oberstehender Adresse bezogen werden.
EinfachAnleitung