DD 642 HA(WH) - Herd HOTPOINT-ARISTON - Kostenlose Bedienungsanleitung
Finden Sie kostenlos die Bedienungsanleitung des Geräts DD 642 HA(WH) HOTPOINT-ARISTON als PDF.
Laden Sie die Anleitung für Ihr Herd kostenlos im PDF-Format! Finden Sie Ihr Handbuch DD 642 HA(WH) - HOTPOINT-ARISTON und nehmen Sie Ihr elektronisches Gerät wieder in die Hand. Auf dieser Seite sind alle Dokumente veröffentlicht, die für die Verwendung Ihres Geräts notwendig sind. DD 642 HA(WH) von der Marke HOTPOINT-ARISTON.
BEDIENUNGSANLEITUNG DD 642 HA(WH) HOTPOINT-ARISTON
Bedienungsanleitung KOCHMULDE
Inhaltsverzeichnis
Bedienungsanleitung,2
Hinweise,5
Kundendienst,9
Beschreibung Ihres Gerätes,11
Installation,47
Inbetriebsetzung und Gebrauch,51
Vorsichtsmaßregeln und Hinweise,51
Reinigung und Pflege,52
Störungen und Abhilfe,52
NL
BE
Nederlandsl
ZUR BEACHTUNG: Bei Gebrauch wird diese Gerät und alle zugänglichen Teile sehr heiß. Es ist darauf zu achten, dass die Heizelemente nicht berührt werden. Kinder unter 8 Jahren, die nicht ständig beaufsichtigt sind, von dem Gerät fernenhalten. Das Gerätarf von Kindern ab 8 Jahren und Personen mit eingeschränkten körperlichen, geistigen oder Wahrnehmungsfähigkeiten oder aber ohne ausreichende Erfahrung und Kennnis verwendet werden, vorausgesetzt sie werden ausreichend überwacht oder sie wurden in den sicheren Gebrauch des Geräts eingewiesen und haben eine ausreichende Wahrnehmung der mit dem Gebrauch des Geräts verbundenen Gefahren. Erlauben Sie Kindern nicht, mit dem Gerät zuspielen. Reinigung- und Wartungsarbeiten dürfen nicht von unbewachten Kindern ausgeführten werden.
ZUR BEACHTUNG: Lassen Sie keine Fette oder Ole unbewacht auf dem Herd stehen. Das ist gefährlich und kann einen Brand verursachen. NIEMALS eine Flamme/Brandherd mit Wasser loschen. Schalten
Sie das Gerät aus und ersticken Sie die Flamme mit einem Deckel oder einer feuerfesten Decke.
ZUR BEACHTUNG: Brandgefahr: Keine Gegenstände auf den Kochstellen liegen halten.
Verwenden Sie zur Reinigung des Kochfeldes keine Dampf- oder Hochdruckreinigungsgeräte.
Trocknen Sie eventuell auf der Herdabdeckung befindliche Flüssigkeiten, bevor Sie sie aufklappen. Schließen Sie die Glasabdeckung (falls vorhanden) nicht, wenn die Gasbrenner oder die Elektroplatte noch heiß sind.
Dieses Gerät kann nicht mit einem externen Timer oder einem getrennten Fernsteuerungssystem betriuben werden.
ZUR BEACHTUNG: Die Verwendung ungeeigneter Schutzvorrichtungen kann Unfälle verursachen.
ZUR BEAuchtUNG: Bei Beschädigung der Glasfläche:
- Sofort alle Brenner und eventuelle elektrische Heizelemente ausschalten und das Gerät vom Stromnetz trennen.
- Die Oberfläche des Gerats nicht berühren.
NL BE
Belangrijk
Geben SieitteBiffolgendesan:
die genaue Beschreibung des Fehlers
das Geratemodell (Mod.)
- die Modellnummer (S/N).
Letztere Informationen finden Sie auf dem Typenschild, das sich auf dem
Gerat und/oder der Verpackung befindet.
NL
BE
Service
U moet doorgeven:
Beschreibung Ihres Gerätes
Geräteansicht
- KOCHMULDENROSTE
- GASBRENNER
- Reglerknöpf für GASBRENNER
- GASBRENNER-ZUNDKERZE
-
SICHERHEITSVORRICTUNG
-
GASBRENNER: These weisen entsprechliche Durchmesser und Leistungen auf. Wahlen Sie den Brenner, der dem Durchmesser des eingesetzten Topfes entspricht.
- Reglerknöppe für GASBRENNER zur Regelierung der Flamme.
- GASBRENNER-ZündKERZE: zur automatischen Zündung des gewährten Brenners.
- SICHERHEITSVORRICHUNG: Diese spricht an, wenn die Flammene unversehens erlösen sollte und unterbricht automatisch die Gaszufuhr.
NL
BE
! Bewahren Sie diese Bedienungsanleitungitte sorgfaltig auf,damitSie sie jederzeit zu Rateziehen konnen.SorgenSie dafur,dassie imFalle eines Verkaufs,eines Umzugs oder einer Übergabe an einen anderen Benutzer das Gerat stets begleitet,darimuch der Nachbesitzer die Mochigkeit hat, darin nachschlagen zu konnen.
! Lesen Sieitte folgende Hinweise aufmerksam durch, sie liefern wichtige Informationen hinsichtlich der Installation, dem Gebrauch und der Sicherheit.
! Die Kochmullden sind werkseitig für den Betrieb mit (siehe Typenschild und Gaseinstellungsschild des Gerätes):Erdgas Kategorie II2E+3+ eingestellt.
Aufstellung
! Verpackungsmaterial ist kein Spielzeug für Kinder. Es ist entsprechend den Vorschriften zur getrennten Müllsammlung zu entsorgen (siehe Vorsichtsmaßregeln und Hinweise).
! Die Installation ist gemäß den vorliegenden Anweisungen und von Fachpersonal durchzufahren.Eine unsachgemäß Installation kann Menschen und Tiere gefährden oder Sachschaden verursachen.
! Dieses Gerat darl nur in ständig belufteten, und gemäß den national gultigen Normen und Vorschriften entsprechenden Räumen installiert und in Betrieb genommen werden. Folgende Anforderungen müssen gegeben sein:
- Der Raum muss mit einem Abluftsystem für die bei der Verbrennung entstehenden Abgase ausgestattet sein; dies kann entweder über einen Abzugsschacht, oder durch einen sich bei der Inbetriebnahme des Gerätes automatisch einschaltenden Elektroventilator erfolgen.

- Der Raum muss außer dem mit einem für eine einwandfrei Verbrennung notwendigen Belüftungssystem ausgestellt sein. Das erforderliche Luftvolumen darf 2 m³/h pro kW der installierten Leistung nicht unterschreiben.

Das System kann mittels eines Belüftungsschachtes, mit Luftaufnahme direkt aus dem Freien, mit einem Nutzquerschnitt von mindestens 100cm^2 verwirktlich werden, der so ausgelegt sein muss, dass ein unabsichtliches Verstopfen vermieden wird.

Oder auf indirekte Weise durch angrenzende Räume, die mit einem ins Freie führenden Belüftungsschacht, wie oben angegeben, versehen sind, bei denen es sich nicht um Gebäudefeile gemeinsamen Gebrauchs, noch um Räumlichkeiten, in denen Brandgefahr bestehen kann oder um Schlafzimmer handeln darauf.
- Eine intensive, lang anhaltende Nutzung des Geräts kann eine zusätzliche Luftung erforderlich machen, beispissewe das Offnen eines Fensters oder Herstellung eines stärkeren Luftzugs durch Erhöhen der Leistung der mechanischen Absaugung, sofern eine solche vorhanden ist.
Die Flüssiggase, die schwerer als Luft sind, stauen sich im unteren Raumbereich. Räume, in denen Gasflaschen mit GPL-Flüssiggas gelagert werden, müssen demnach in Bodenhöhe mit geeigneten Abzugsoffnungen ins Freie ausgestattet werden, damit das Gas im Falle eventueller Gasverluste nach unter hem abziehen kann. Demnach dürfen GPL-Flüssiggasflaschen nicht in Räumlichkeiten, die unter der Erde liegen (Keller usw.) installiert oder gelagert werden, auch dann nicht, wenn sie bereits leer oder nur noch halb gefüllt sein sollenen. Es ist empfehlenswert, nur die in Verwendung befindliche Gasflasche im Raum zu bewahren, und diese so aufzustellen, dass sie keiner direkten Einwirkung von Wärmequellen (Backöfen, Kamine, Öfen usw.), die einen Temperaturanstieg von mehr als 50^ bewirken konnten, ausgesetzt wird.
BE
Einbau
Um eine korrekte Installation der Kochmulde zu gewährleisten, sind folgende Vorsichtsmaßregeln zu beachten:
- Angrenzende Schranke, deren Höhe die der Arbeitsplatte überschreiben, müssen einen Abstand vom Rand der Kochmulde von mindestens 200 mm aufweisen.
- Dunstabzugshauben sind gemäß den in den Gebrauchsanleitungen der Dunstabzugshaube aufgeführten Anweisungen zu installieren und davon in einem Abstand von mindestens 650 mm (siehe Abbildung).
Die an die Dunstabzugshaube angrenzenden Hängeschranke sind in einem Abstand von mindestens 420mm von der Arbeitsplatte aufzahngen (siehe Abbildung).

Sollte die Kochmulde unter einem Hängeschrank installiert werden, muss zwischen Hängeschrank und Arbeitsplatte ein Abstand von mindestens 700 mm bestehen.
- Der Schrankausschnitt muss die auf der Abbildung angegebenen Abmessungen aufweisen.
Die Kochmulde wird mit Hilfe von Haken auf der zwischen 20 und 40 mm starken Arbeitsplatte befestigt. Um eine optimale Befestigung der Kochmulde zu gewährleisten, sollennSAMTliche zur Verfugung stehenden Haken verwendet werden.

- Vor der Befestigung an der Arbeitsplatte muss die Dichtung (mitgeliefert) so wie auf der Abbildung veranschaulicht, um das gesamte Kochfeld herum verlegt werden.

Haken-Befestigungsschema

Position der Haken fur Position der Haken fur
Arbeitsplatten H=20mm

Arbeitsplatten H=30mm
Vorne

Position der Haken fur Hinten
Arbeitsplatten H=40mm

! Verwenden Sie die im Beipack "Zubehor" befindlichen Haken.
- Wird die Kochmulde nicht über einem Einbaubackofen installiert, ist unter der Kochmulde eine Holzplatte zur Isolierung anzubringen. Dabei muss ein Mindeststand von 20 mm von der Kochmeldenunterseite eingehalten werden.
Belüftung
Um eine einwandfrei Belüfung zu gewährleisten, muss die Rückwand des Schrankumbaus abgenommen werden. Der Backofen solle möglichst so installiert werden, dass er auf zwei Holzleisten oder aber auf einer durchgehenden Fläche aufliegt, die über einen Ausschnitt von mindestens 45 × 560 ~mm verfügt (siehe Abbildungen).

Die Kochmuldearf Nur dann uber Einbaubackofen installiert werden, wenn.
theseuber ein Kuhlgeblaseverfugen.
Elektrøanschluss
Die mit einem Dreileiterkabel ausgerüsteten Kochmulden sind für den Betrieb mit Wechselstrom bei der auf dem Typenschild (befindlich auf der Unterseite der Kochmulde) angegebenen Versorgungsspannung und -frequenz ausgelegt. Der Erdleiter des Kabels ist gelb/grün. Wir die Kochmulde über einem Einbaubackofen installiert, müssen den Elektroanschluss der Kochmulde sowie der des Backofens getrennt voneinander vorgenommen werden. Dadurch wird eine ausreichende elektrische Sicherheit gewährleistet und das Herausziehen des Backofens erreichtert.
Anschluss des Versorgungskabels an das Stromnetz
Versehen Sie das Netzkabel mit einem Normstecker für die auf dem Typenschild angegebene Belastung (siehe nebenstehende Tabelle).
Wird das Gerät direkt an das Stromnetz angeschlossen, ist zwischen Stromnetz und Gerät ein allpoliger, der Last und den einschlägigen
Vorschriften entsprechender Schalter mit einer Mindestöffnung der Kontakte von 3 mm zwischenzuschalten. (Der Erdleiter darf vom Schalter nicht unterbrochen werden.) Das Versorgungskabel muss so verlegt werden, dass es an keiner Stelle einer Temperatur ausgesetzt wird, die 50^ über der Raumtemperatur liegt.
! Der Installateur ist für den ordnungsgemäßen elektrischen Anschluss sowie die Einhaltung der Sicherheitsvorschriften verantwortlich.
Vor dem Anschluss stellen Sieitte sicher,dass:
- die Steckdose geerdet ist und den gesetzlichen Bestimmungen entspricht;
- die Netzsteckdose für die auf dem Typenschild angegebene maximale Leistungsaufnahme des Gerätes ausgelegt ist;
- die Netzspannung im Bereich der auf dem Typenschild angegebenen Werte liegt;
- die Netzsteckdose mit dem Netzstecker kompatibel ist. Soltte dies nicht der Fall sein, wechseln Sieitte die Netzsteckdose oder den Netzstecker aus; verwenden Sie keine Veränderungen und Mehrfachsteckdosen.
!Netzkabel und Steckdose müssen bei installmentem Gerät weniger zugänglich sein.
Das Netzkabelarfndichtgebogenodereingklemmtwerden.
Das Kabel muss regelmäßig kontrolliert werden und damit durch autorisiertes Fachpersonal ausgetauscht werden (siehe Kundendienst).
! Der Hersteller lehtigt jeder Verantwortung ab, falls diese Vorschriften nicht eingehalten werden sollenn.
Anschluss an die Gasleitung
Der Anschluss des Gerätes an die Gasleitung oder an die Gasflasche muss gemäß den Vorschriften der gültigen Richtlinien erfolgen und nur nach dem man sich vergewissert hat, dass es auf die Gasart, mit der es betrieben wird, eingesellt ist. Soltte dem nicht so sein, dann befolgen Sieitte die Anleitungen des Abschnitts "Anpassung an die verschiedene Gasarten". Bei Betrieb mit Flüssiggas aus Gasflaschen sind normgerechte Druckmesser zu verwenden.
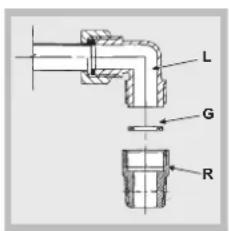
Zum Anschluss des Gerätes an die Erdgasleitung (12E+3+) ist in erster Linie das Anschlussstück "R" (auf Anfrage erhältlich in Kundendienststellen) mit der entsprechenden Dichtung "G" an den am Gaszuleitungsschlauch befindlichen Anschluss "L" (siehe Abbildung) zu montieren. Bei dem Anschlussstück handelt es sich um einen kegelformigen 1/2-Gas-Gewindezapfen.

Der Anschluss ist mittels eines:
- starren Rohres
- oder mittels eines durchgehenden und mit Anschlussverschraubungen versehenen Inox-Stahlschauches vorzunehmen.
Zwischen Gerät und Gasleitung ist ein gut zugänglicher Gashahn zu installieren.
Anschluss mittels eines starren Anschlussrohres (Kupfer oder Stahl)
! Der Anschluss an die Gasleitung muss so durchgeführt werden, dass das Gerät keinerlei Zugspannungen ausgesetzt wird.
Auf der Zuleitung zum Gerät befindet sich ein orientierbares, "L"-förmiges Anschlussrück, dessen Dichtheit durch einen Dichttrg gewährleistet wird. Muss das Anschlussrück verdreht (in eine andere Richtung gedreht) werden ist es absoluterlich, den Dichttrg (im Beipack) auszutauschen. Bei dem Anschlussrück für den Gaseingang handelt es sich um einen zylindrischen 1/2 Gas-Gewindezapfen.
ARISTON
Anschluss mittels Inox-Schlauchen mit hermetischen Wänden
Bei dem Anschlussrück für den Gaseingang handelt es sich um einen zylindrischen 1/2 Gas-Gewindezapfen.
Der Anschluss bzw. das Verlegen dieser Schläuche muss so erfolgen, dass sie bei größter Ausdehnung eine Länge von 2000 mm nicht überschreiben. Stellen Sie nach erfolgtem Anschlussitte sicher, dass der Inox-Schlauch nicht mit beweglichen Teilen in Berührung kommt oder an irgendeiner Stelle eingedrück wird.
! Verwenden Sie ausschließlich Schläuche und Dichtringe, die den jeweilig gultigen inländischen Normen entsprechen.
Kontrolle auf Dichttheit
! Nach Abschluss der Installationsarbeiten überprüften Sieitte alle Anschluss auf Dichtheit; verwenden Sie hierzu auf keinen Fall eine Flamme, sondern eine Seitenlösung.
Anpassung an die verschiedene Gasarten
Wird die Kochmulde auf eine andere Gasart eingestellt, als die, für die sie vorgesehen wurde (ersichtlich aus dem Etikett auf der Kochmulenunterseite oder auf der Verpackung), müssen die Düsen der Brenner auf folgende Weise ausgetauscht werden:
- Nehmen Sie die Kochmuldenroste ab undziehen die Brenner aus ihren Sitzen heraus.
- Schrauben Sie die Düsen mit Hilfe eines 7 mm Steckschlüssels ab und ersetzen Sie sie durch die entsprechenden Düsen der neuen Gasart (siehe Tabelle 1 "Merkmale der Brenner und Düsen").
- Setzen Sie sãmtliche Teile in umgekehrter Reihenfolge wieder ein.
-
Ersetzen Sie anschließend das Etikett der alten Eichung mit dem in unseren Kundendienst-Zentren erhältlichen Etikett der neu eingestellten Gasart.
-
Einstellung der Brenner-Primäreluft
An den Brennern ist keine Primärelufteinstellung erforderlich.
-
Minimumeinstellung
-
Drehen Sie den Brenner auf Minimum;
- Ziehen Sie den Reglerknopf ab und verstellen Sie dann die inneren oder seitlich der Gashahnstange befindliche Einstellschraube, bis eine keine, gleichmäßige Flamme erreicht wird.
- Vergewissern Sie sich, dass bei raschem Drehen von Maximum auf Minimum die Flamme des Brenners nicht erlischt.
- Bei den mit einer Sicherheitsvorrichtung (Thermoelement) ausgestatteten Geräten muss bei Nichtfunktionieren der Vorrichtung bei auf Minimum eingestellten Brennern der Durchfluss der Minimumleistung (durch Regulieren der Einstellschaube) erhöht werden.


- Nach erfolgter Neuregelung sind die auf den Bypass-Linien angebrachten Siegel mit Siegellack oder ähnlichem Material zu eruemern.
! Bei Flüssiggasen muss die Einstellschaube gaz angezogen werden.
! Ersetzen Sie anschließlich das Etikett der alten Eichung mit einem der neuen Gasart entsprechenden Etikett (in unsere Kundendienstzentren erhältlich).
! Sollete der Gasdruck der Anlage von den vorgesehenen Werten abweichen, oder nicht konstant sein, muss das Zuleitungsrohr mit einem geeigneten Druckregler (gemäß den national gültigen Normen und Vorschriften) installiert werden.
| TYPENSCHILD | |
| Elektrischer Anschluss | siehe Typenschild |
| CE | Dieses Gerät entspricht den folgenden EG-Richtlinien: -2006/95/EG vom 12/12/06 (Niederspannung) und nachfolgenden Änderungen -2004/108/EG vom 15/12/04 (elevtromagnetische Verträglichkeit) und nachfolgenden Änderungen -93/68/EWG vom 22.07.93 und nachfolgenden Änderungen. -2009/142/EG vom 30.11.09 und nachfolgenden Änderungen. -2012/19/EU und nachfolgenden Änderunge. |
| ECODESIGN | EU-Richtlinienr. 66/2014 ergänzend zu Richtlinie 2009/125/EU. EN 30-2-1Richtlinie |
Merkmale der Brenner und Düsen
| Tabelle 1 | FlüssiggasErdgas | ||||||||||
| Brenner | Durch-messer(mm) | WärmeleistungkW (p.c.s.*)Nominal Reduz. | By-pass1/100(mm) | Düse1/100(mm) | Menge*g/hButan G2 | Düse1/100(mm) | Menge*I/h0 | Wärme-leistungkW (p.c.s.*) | Menge*I/hG25Propan | ||
| Starkbrenner (R) | 100 | 3.00 | 0.70 | 39 | 86 | 218 | 214 | 116(Y) | 286 | 3.00 | 332 |
| Mittelstarker Brenner (S) | 75 | 1.65 | 0.40 | 28 | 64 | 120 | 118 | 96(Z) | 157 | 1.65 | 183 |
| Hilfsbrenner (A) | 55 | 1.00 | 0.40 | 28 | 50 | 73 | 71 | 79(6) | 95 | 1.00 | 111 |
| Versorgungs-druck | Nominal (mbar)Minimum (mbar)Maximum (mbar) | 28-3020253545 | 201525 | 251530 | |||||||
- Bie 15^ und 1013,25 mbar-Trockengas Propangas oberer Heizwert = 50,37 MJ/kg Butan oberer Heizwert = 49,47 MJ/kg Erdgas G20 oberer Heizwert = 37,78 MJ/m³ Erdgas G25 oberer Heizwert = 32,49 MJ/m³

DD 642 HA(WH)
ARISTON
Inbetriebsetzung und Gebrauch
! Auf jedem Reglerknopf ist gekennzeichnet, welcher Gasflamme er entspricht.
Gasbrenner
Der gewählte Brenner kann mittels des entspruchenden Reglerknopfes auf folgende Einstellungen gedreht werden:

Die veränderliche Stabilität eines Topfs ist mein vom Topf selbst abhängig (bzw. davon, wie er während des Gebrauchs aufgestellt wird). In einwandfreiem Gleichgewicht zentral über dem Brenner stehende Topfe mit flachem Boden und mit einer der Leisten des Gitters gefluchteten
BE

Zum Anzünden einer Gasflamme führen Sie ein brennendes Streichholz oder einen Gasanzünder an den Brenner, drücken den entsprechenden Reglerknopf fest ein, und drehen diesen dann gegen den Uhrzeigersinn auf Höchstleistung.
Bei den mit einer Sicherheitsvorrichtung ausgestatteten Brennern muss der Reglerknopf für ca. 2-3 Sekunden gedrückt werden, bis die Vorrichtung, dank derer die Flamme automatisch gezündet wird, heis wird.
Es genugt namlich, auf den Reglerknopf zu drucken und ihn dann gleichzeitig nach links zu drehen. Die hierbei erzeugten Funken bewirken die Zündung des Brenners. Nach der Zündung der Flamme ist noch ein ausreichender Druck auf den Reglerknopf beizubehalten, um die Aktivierung der Sicherheitsvorrichtung zu bewirken.
! Sollte der Brenner ungewolterweise erloschen, drehen Sie den Reglerknopf auf Position 'AUS' und versuchen ein erneutes Anzüden erst nach Verstreichen von mindestens 1 Minute.
Zum Ausschalten des Brenners wird der Reglerknopf im Uhrzeigersinn auf die Position 'AUS' ("") gedreht.
Praktische Hinweise zum Gebrauch der Brenner
Um optimale Leistungen zu gewährleisten, ist Folgendes zu beachten:
- Verwenden Sie die für den jeweiligen Brenner geeignete Topfgroße (siehe Tabelle) um zu vermeiden, dass die Flammen über den Topfboden herausschlagen.
- Benutzen Sie ausschließlich Kochgeschirr mit flachem Boden und mit Deckel.
- Drehen Sie den Brenner auf Klein, sobald das Gargut kocht.
| Brenner | Ø Kochgeschirrdurchmesser (cm) |
| Starkbrenner (R) | 24 - 26 |
| Mittelstarker Brenner (S) | 16 - 20 |
| Hilfsbrenner (A) | 10 - 14 |
Zur Erkennung des Brennertyps verweisen wir auf die im Abschnitt „Eigenschaften der Brenner und Düsen" befindlichen Abbildungen.
- Um die hochstmögliche Stabilität zu gewährleisten muss sichergestellt werden, dass die Kochgefäll-Aufnahmen richtig positioniert sind und dass jeder des Gefäll sich zentral über dem Brenner befindet.
- Sicherstellen, dass die Griffe der Kochgefaße mit einer der Auflagestangen der Kochgefäll-Aufnahme gefluchtet ist.
Die Griffe der Kochgefae so positionieren, dass sie nicht uber den vorderen Rand des Kochfelds hinausragen.
Griffen bietet zweifellos die hochste Stabilität.
Vorsichtsmaßregeln und Hinweise
! Das Gerät wurde entsprechend den strengsten internationalen Sicherheitsvorschriften entworfen und gebaut. Nachstehende Hinweise werden aus Sicherheitsgründen gefleert und sollenen aufmerksam gelesen werden.
Allgemeine Sicherheit
- Dieses Gerät bezieht sich auf ein Einbaugerät der Klasse 3.
- Gasgeräte erfordern eine ordnungsgemäß Belüftung um einen einwandfrei Betrieb zu gewährleisten. Vergewissern Sie sich deshalb davon, dass bei der Installation die im Abschnitt "Aufstellung" aufgeführten Anforderungen gegeben sind.
- Die Anweisungen gesten nur für die Bestimmungsländer, deren Symbole im Handbuch und auf dem Typenschild angegeben sind.
- Dieses Gerat ist für den nicht professionellen Einsatz im privaten Haushalt bestimmt.
- Das Gerätarf nicht im Freien aufgestellt werden, auch nicht, wenn es sich um einen geschützten Platz handelt. Es ist gefährlich, das Gerät Gewittern und Unweltern auszusetzen.
- Berühren Sie das Gerät nicht mit nassen oder feuchten Händen oder Füßen und auch nicht, wenn Sie barfuß sind.
- Das Gerätarf nur von Erwachsenen und gemäß den Hinweisen der vorliegenden Bedienungsanleitung zur Zubereitung von Lebensmitteln verwendet werden. jeder andere Einsatz (zum Beispiel: zum Beheizen von Räumen) ist als unsachgemäß und gefährlich anzusehen. Der Hersteller haftet nicht für eventuelle, durch unsachgemäß, falschen oder unangemessenen Gebrauch verursachte Schäden.
- Vermeiden Sie, dass die Stromkabel anderer Elektrogeräte in Kontakt mit bereits Backofenteilen gelangen.
- Die zur Belüfung und Wärmeableitung vorgesehenen Öffnungen dürfen nicht zugestellt bzw. abgedeckt werden.
- Vergewissem Sie sich stets, dass sich die Reglerknöfte auf der Position "●" befinden, wenn das Gerät nicht in Betrieb ist.
- Ziehen Sie den Netzstecker nicht am Netzkabel aus der Steckdose, sondern nur am Netzstecker selbst.
- Ziehen Sie vor der Reinigung oder vor Wartungsmaßnahmen stets den Netzstecker aus der Steckdose.
- Bei etwaigen Störungen versuchen Sieitte nicht, Innenteile selbst zu reparieren. Kontaktieren Sie den Kundendienst (siehe Kundendienst).
- Schließen Sie die Glasabdeckung (falls vorhanden) nicht, wenn die Gasbrenner oder die Elektroplatte noch heißt sind.
- Das Gerät ist nicht zur Verwendung durch Personen (einschließlich Kinder) mit eingeschrankten körperlichen, geistigen oder Wahrnehmungsfähigkeiten oder aber ohne ausreichende Erfahrung und Produktkennis geeignet, sofern sie nicht durch eine für ihre Sicherheit verantwortliche Person beaufsichtigt werden oder zuvor Anleitungen zum Gerätegebrauch erhalten haben.
- Kinder dürfen nicht mit dem Gerät speien.
BE
- Dieses Gerät kann nicht mit einem externen Timer oder einem getrennten Fernsteuerungssystem betriuben werden.
Entsorgung
- Entsorgung des Verpackungsmaterials: Befolgen Sie die lokalen Vorschriften; Verpackungsmaterial kann wiederverwertet werden.
Gemäß der Europäischen Richtlinie 2012/19/EU über Elektro- und Elektronik-Altgeräte (WEEE) dürfen Elektrohaushalts-Altgeräte nicht über den herkömmlichen Haushaltsmullkreislauf entsorgt werden. Altgeräte müssen separat gesammelt werden, um die Wiederverwertung und das Recycling der beinhalteten Materialien zu optimieren und die Einflüsse auf die Umwelt und die Gesundheit zu reduzieren. Das Symbol "durchgestrichene Mülltonne" auf jedem Produkt erinnert Sie an ihre Verpflichtung, dass Elektrohaushaltsgeräte gesondert entsorgt werden müssen.
Endverbraucher können sich an Abfallamter der Gemeinden wenden, um mehr Informationen über die korrekte Entsorgung ihrer Elektrohaushaltsgeräte zu erhalten.
Energie sparen und Umwelt schonen
Kochen Sie ihre Nahrung in Töpfen und Pfannen mit passend geschlossenen Deckeln und verwenden Sie möglichst weniger Wasser. Ohne Deckel zu kochen führt zu einem erheblichen Energieverbrauch.
- Verwenden Sie möglichst flache Töppe und Pfannen.
- Falls Sie etwas kochen, dass eine längerere Zeit benötigt, ist es angebracht wenn Sie ein Schnellkochtopf benutzen, welche zweimal so schnell ist und ein drittel der Energie spart.
Reinigung und Pflege
Abschalten Ihres Gerätes vom Stromnetz
Vor jeder Reinigung und Pflege ist das Gerät vom Stromnetz zu trennen.
Kochfeld-oberfläche reinigen
- Alle Bauteile aus E-maille und Glas sind mit warmem Wasser und Neutralreiniger zu reinigen.
- Edelstahloberflächen können durch kalkhaltiges Wasser oder aggressive Reinigungsmittel verschmutzt werden, wenn diese zu lang miteinander in Kontakt sind. Jegliche verschütteten Lebensmittel (Wasser, Soße, Kaffee usw.) müssen vor dem Antrocknen entfern werden.
- Reinigen Sie diese mit warmem Wasser und Neutralreiniger und trocknen Sie sie anschließend mit einem weichen Lappen oder Fensterleder ab. Entfemen Sie eingetrocknete Verschmutzungen mit besonderen Reinigem für Edelstahloberflächen.
- Reinigen Sie Edelstahl nur mit einem weichen Lappen oder Schwamm.
- Verwenden Sie keine Scheuermittel oder korrosiven Produkte, Reinigungsmittel auf Chlorbasis oder Topfreiniger.
- Verwenden Sie keine Dampfreiniger.
- Verwenden Sie keine entflammbaren Produkte.
- Belassen Sie keine säure- oder laugenhaltige Substanzen, wie z. B. Essig, Senf, Salz, Zucker oder Zitronensaat, auf dem Kochfeld.
Kochfeldteile reinigen
- Reinigen Bauteile aus Emaiie und Glas nur mit einem weichen Lappen oder Schwamm.
- Gitter, Brennerdeckel und Gasbrenner können zur Reinigung ausgebaut werden.
-
Reinigen Sie diese von Hand mit warmem Wasser und einem nicht scheuernden Reinigungsmittel. Entfernen Sie damit jegliche Lebensmittelrechte und prüfen Sie, ob Brenneröffnungen verstopt sind.
-
Absplünen und abtrocknen.
- Bauen Sie die Gasbrenner und Brennerdeckel wieder korrekt in die entsprechenden Gehäuse ein.
- Stellen Sie beim Ersetzen der Gitter sicher, dass der Topfständerbereich mit dem Gasbrenner ausgerichtet ist.
- Bei Modellen mit elektrischen Zündsteckem und Sicherheitsvorrichtung muss das Steckerende sorgfältig gereinigt werden, um eine korrekte Funktion saferzustellen. Prufen Sie diese Bauteile halten und reinigen Sie sie ggf. mit einem feuchten Lappen. Festgebackene Speisereste müssen mit einem Zahnstocher oder einer Nadel entfern werden.
! Um eine Beschädigung der elektrischen Zündvorrichtung zu vermeiden, verwenden Sie diese nicht, wenn die Gasbrenner sich nicht in deren Gehäuse befinden.
Wartung der Gashahne
Im Laufe der Zeit konnte der Gashahn blockieren oder sich nur schwer drehen halten. In einem solchen Fall ist der Hahn auszutauschen.
! Diese Arbeitarf nur durch einen vom Hersteller anerkannten Techniker durchgefuhrt werden.
Störungen und Abhilfe
Bevor Sie bei eventuellen Betriebsstörungen den Kundendienst anfordern, sollenen eine Kontrollen vorab durchgefuhrt werden. Vergewissem Sie sich in erster Linie, dass auch keine Unterbrechung in der Strom-bzw. Gaszufahr ihrer Anlage besteht, vor allem, ob der Gashauptthahn auch aufgedreht wurde.
Der Brenner zündet bzw. hält die Flamine nicht.
Bitte kontrllieren Sie, ob:
- die Gasaustrittsöffnungen der Gasbrenner verstopt sind;
- alle abnehmbaren Brennerteile ordnungsgemäß montiert wurden;
Durchzug in Kochmuldennähe besteht;
Bei den mit Sicherheitsvorrichtungen versehenen Modellen erlischt die Flamme.
Bitte kontrollieren Sie, ob:
- der Reglerknopf auch bis zum Anschlag durchgehrückt wurde;
- der Reglerknopf lange genug gedrückt wurde, um die Aktivierung der Sicherheitsvorrichtung zu erfolgenden;
- die direkt an der Sicherheitsvorrichtung befindlichen Gasaustrittsöffnungen verstopft sind.
Bei Einstellung des Brenners auf Minimum erlischt die Flamme.
Bitte kontrollieren Sie, ob:
- die Gasaustrittsöffnungen verstopt sind;
Durchzug in Kochmuldennähe besteht; - das Minimum korrekt eingestellt ist.
Das Kochgeschirr steht nicht safer.
Bitte kontrollieren Sie, ob:
- der Topf Boden auch vollständig eben ist;
- der Topf auch genau auf die Brennermitte gestellt wurde;
- die Kochmulenroste vertauscht wurden.
ZUR BEAuchtUNG
BE




DE
Zur Installation des Kochfelds lesen Sie das Handbuch
Vermeiden Sie unbeabsichtigte Stöbe mit Töpen, Rosten oder anderen Kuchengeräten
Stellen Sie keine
Töfe oder Pfannen
zwischen zwei oder mehrere Brenner
Lassen Sie eine leere Steakfanne nicht länger als 5 Minuten auf dem eingeschalteten Herd stehen
Notice-Facile