HG01829 - Hochdruckreiniger FLORABEST - Kostenlose Bedienungsanleitung
Finden Sie kostenlos die Bedienungsanleitung des Geräts HG01829 FLORABEST als PDF.
Benutzerfragen zu HG01829 FLORABEST
0 Frage zu diesem Gerät. Beantworten Sie die, die Sie kennen, oder stellen Sie Ihre eigene.
Eine neue Frage zu diesem Gerät stellen
Laden Sie die Anleitung für Ihr Hochdruckreiniger kostenlos im PDF-Format! Finden Sie Ihr Handbuch HG01829 - FLORABEST und nehmen Sie Ihr elektronisches Gerät wieder in die Hand. Auf dieser Seite sind alle Dokumente veröffentlicht, die für die Verwendung Ihres Geräts notwendig sind. HG01829 von der Marke FLORABEST.
BEDIENUNGSANLEITUNG HG01829 FLORABEST
Bedienungs- und Sicherheitshinweise
IAN 283430
| GB/IE/NI Operation and Safety Notes | Page 5 |
| FR / BE Instructions d'utilisation et consignes de sécurité Page 12 | |
| NL/BE Bedienings- en veiligheidsinstrumentes Pgina 19 | |
| DE/AT/CH Bedienungs- und Sicherheitshinweise Seite 26 |

A








F


Introduction
Proper use . Page 6
Technische gegevens.. 20
- Technische gegevens
Afmetingen reservoir
( × H) : ca. 185× 495mm
Totaal gewicht, leeg: ca. 1,5 kg
Lengte van de
spuitbuis: ca. 500mm
Beschermen gegen vorst en vorstvrij opbergen.

Bestimmungsgemäß Gebrauch.
Teilebeschreibung.. .Seite 27
Technische Daten. 27
Lieferumfang . 28
Sicherheitshinweise . 28
Allgemeine Sicherheitshinweise . 28
Vor der Inbetriebnahme.
Inbetriebnahme
Spritzrohr montieren. 30
Tank des Drucksprüchers fullen. . . . . . . . . . . . . . . . . . . . . . . . . . . . . . . . . . . . . . . . . . . . . . . . . . . . . . . . . . . . . . . . . . . .. 30
Betriebsdruck erzeugen.. .Seite 30
Spruhen . 30
Reinigung und Pflege.
Drucksprüher reinigen . 31
Saugschlauch und Steigrohr reinigen. 31
Drucksprüher lagern.
Fehlerbehebung . 31
Entsorgung.
Garantie .Seite 32
Drucksprüher
Einleitung
Wir beträckwünschen Sie zum Kauf Ihres neuen Produkts. Sie haben sich damit für ein hochwertiges Produkt entschieden. Machen Sie sich vor der ersten Inbetriebnahme mit dem Produkt vertraut. Lesen Sie hierzu aufmerksam die nachfolgende Bedienungsanleitung und die Sicherheitshinweise. Benutzen Sie das Produkt nur wie beschreiben und für die angegebenen Einsatzbereiche. Bewahren Sie diese Anleitung auf. Handigen Sie alle Unterlagen bei Weitergabe des Produktes an Dritte mit aus.
Bestimmungsgemäßer Gebrauch
Das Produkt dient zum Versprühen von Flüssigkeiten im Haus, Garten und Gewächshaus. Als nicht bestimmungsgemäß gilt insbesondere das Versprühen von Lösungsmitteln oder Lösungsmittelhaltigen Flüssigkeiten sowie Öl. Das Produkt ist ausschließlich für den privaten Gebrauch vorgesehen. Der Drucksprüher dient ausschließlich zum Versprühen von folgenden Flüssigkeiten im Haus, Garten oder in Gewächshäusern: - Wasser, - Milde, PH-neutrale Reinigungsmittel
Die Spruhmittel dürfen nur in der vom Spruhmittel-Hersteller angegebenen Koncentration versprüht werden. Im Zweifelsfall erkundigen Sie sichitte beim Hersteller des Spruhmittels. Der Drucksprüher ist ausschließlich für den privaten Gebrauch vorgesehen.
Als nicht bestimmungsgemäß gilt insbesondere das Versprühen von:
- Pflanzenschutzmitteln
- Unkrautvertigungsmitteln
- Desinfektionsmitteln
- Düngemitteln
- Lösungsmitteln oder Lösungsmittelhaltigen Flüssigkeiten
-Öl - leicht entzündlichen Flüssigkeiten
- atzenden Flüssigkeiten wie Säuren oder Laugen.
Teilebeschreibung
Handgriff der Pumpe
2Pumpe
3 Sicherheitsventil
4 Manometer
Behalter
6Trageriemen
7 Spritzduse
8 Spritzrohr
9 Überwurfmutter (Saugschlauch)
10 Überwurfmutter (Sprüher-Handgriff)
11 Handgriff des Spritzrohrs
[12] Saugschlauch
13 Auslösehebel
14 Deckel
- Technische Daten
Abmessung Behälter
( × H) : ca. 185× 495mm
Gesamtgewicht, leer: ca. 1,5 kg
Lange des Spritzrohrs: ca. 500 mm
Füllinhalt: ca. 51
Gesamtinhalt: ca. 6,251
Zulässiger
Betriebsdruck: ca. 2,5 bar
Einsatztemperatur: 0 - 40^
Trageweise: seitlich mit Trageriemen
Volumendurchfluss:Dusenstrahl:
max. 0,75 l/min
Sprühnebel:
max. 0,70 l/min
Kegelstrahl:
max. 1,75 l/min
Brausestrahl:
max. 1,0 l/min
- Lieferumfang
1 Drucksprüher
1 Spritzrohr
1Trageriemen
1 Schlauch
1 Bedienungsanleitung

Sicherheitshinweise
Allgemeine Sicherheitshinweise
BEWAHREN SIE ALLE SICHERHEITSHINWEISE UND ANWEISUNGEN FÜR DIE ZUKUNFT AUF!
Kinder oder Personen, denen es an Wissen oder Erfahrung im Umgang mit dem Gerät mangelt, oder die in ihren körperlichen, sensorischen oder geistigen Fähigkeiten eingeschränkt sind, dürfen das Gerät nicht ohne Aufsicht oder Anleitung durch eine für ihre Sicherheit verantwortliche Person benutzen. Kinder mussen beaufsichtigt werden, damit sie nicht mit dem Gerät speilen.
WARNING! VERLETZUNGS-
GEFAHR! Es besteht die Gefahr von Hautverletzungen durch Kontakt mit dem Spruhmittel. Tragen Sie beim Versprüssen geeignete Schutzkleidung, Handschuhe und Atemschutz.
A WARNUNG! Führren Sie keine Reparaturen oder Veränderungen am Drucksprüher durch. Verändern oder reparieren Sie keine Komponenten.
Reinigen Sie ihre Hande und das Gesicht nach dem Spruhen.

VORSICHT! EXPLOSIONS-GEFAHR! Setzen Sie das Gerät (leer oder gefüllt)
keiner direkten Sonneneinstrahlung aus!
Beachten Sie immer die chemischen Herstellerangaben beim Arbeitsen und Mischen mit Spruh-Lösungen.
Lassen Sie vor jedem Öffnen des Behälters den Restdruck im Behälter durch Zug am Sicherheitsventil ab (Abb. C).
Niemals gegen den Wind, in Wasser oder Trinkwasserquellen sprehen.
Lassen Sie nach jeder Benutzung den Restdruck ab.
Niemals das Sicherheitsventil abschrauben oder entfernen.
Erklärung der Symbole:

5-1-Drucksprüher

max. Füllmenge: ca. 5 Liter
bzw. 1,32 gal
Behaltervolumen: ca. 6,25 Liter
bzw. 1,65 gal

zulässiger Betriebsdruck: max. ca. 2,5 bar

Keine atzenden Stoffe verwenden!

Sprühen Sie nicht auf elektrische Geräte, elektrische Kabel und Leitungen.

Sprühen Sie nicht auf Personen!

Sprühen Sie nicht auf Tiere!

Sprühen Sie nur auf Pflanzen!

Benutzen Sie das Produkt nicht zum Trinken!

Lassen Sie den Drucksprüher nicht in der Sonne stehen. Es besteht Explosionsgefahr!

Von offenen Flammen und Wärmequellen fernhalten. Gefäße dicht schließen; brandsicher aufbewahren! Keine leicht entzündlichen Flüssigkeiten verwenden!

Dusenstrahl:
Volumenstrom bis zu 0,75 l/min. bei max. 2,5 bar!

Sprühnebel:
Volumenstrom bis zu 0,70 l/min. bei max. 2,5 bar!

Kegelstrahl:
Volumenstrom bis zu 1,75 l/min. bei max. 2,5 bar!

Brausestrahl:
Volumenstrom bis zu 1,0 l/min.
bei max. 2,5 bar!

Vor Frost schützen und frostfrei lagern.

Lagerung bei 0^ - 40^ an trockenen, staubfrei denrten.

Beobachten Sie beim Pumpen stets das Manometer, um den Betriebsdruck zu überprüfen

Tragen Sie einen geeigneten Schutzanzug, Handschuhe oder eine Maske.

Lesen Sie vor dem ersten Gebrauch sorgfältig die Anleitung.
Vor der Inbetriebnahme

VORSICHT! Sichere Funktion prufen! Prufen Sie den Drucksprüher vor jedem Benutzen auf sightbare Beschädigungen und sichere Funktion. Führten Sie hierzu folgende Prüfungen durch:
Prufen Sie den Behälter 5, den Saug-schlauch 12 und den Trageriemen 6 auf sichbare Beschädigungen.
Prufen Sie die Schlauchanschlüsse auf festen Sitz.
Prufen Sie die Rohranschlüsse auf festen Sitz.
Pumpen Sie den leeren Drucksprüher auf ca. 1 bar auf.
Der Druck darf innerhalb von 30 Minuten nicht mehr als ca. 0,5 bar abfallen.
Pumpen Sie den Drucksprüher auf ca. 2 bar auf.
Ziehen Sie das Sicherheitsventil 3 bis zum Anschlag nach oben. Der Druck muss hörbar entweichen.
Inbetriebnahme
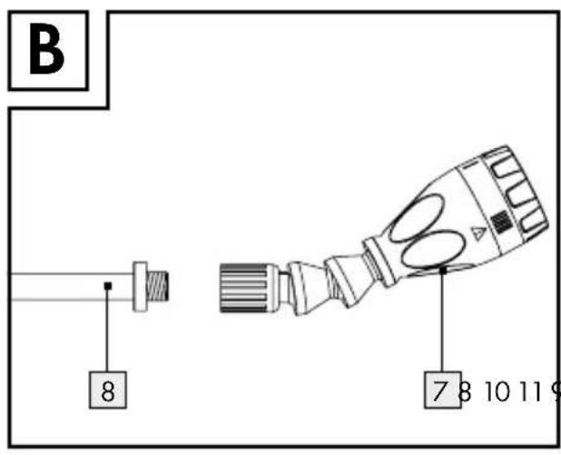
Spritzrohr montieren (Abb. B-D)
Lösen Sie die Überwurfmutter 10 gegen den Uhrzeigersinn vom Handgriff 11. Stecken Sie das Spritzrohr 8 bis zum Anschlag in den Handgriff 11.
Befestigen Sie die Spritzduse am Spritzrohr 8
Drehen Sie die Überwurfmutter im Uhrzeigersinn fest.
Verbinden Sie den Schlauch 12, indem Sie die Überwurfmutter 9 am Behalter 5 und am Spritzrohrhandgriff 11 festziehen.
Tank des Druckspruhers fullen (Abb. D)
Hinweis: Vergewissern Sie sich vor dem Einsatz über den einwandfrei den Zustand des Produktes.
Drücken Sie den Handgriff der Pumpe 1 nach unten und drehen Sieihn gegen den Uhrzeigersinn.
Hinweis: Um noch im Behälter vorhandenen Druck abzulassen,ziehen Sie das Sicherheitsventil 3 hoch,bevor Sie den Tank offen.
Ziehen Sie die Pumpe 2 aus dem Behälter 5.
Befüllen Sie nun den Tank.
Hinweis:Befüllen Sie den Tank nur mit soviel Flüssigkeit, wie Sie für den Einsatz benöfigen (nicht mehr als max. 5 l).
Setzen Sie die Pumpe 2 wieder in den Behälter 5 und drehen Sie den Handgriff der Pumpe 1 im Uhrzeigersinn bis zum Anschlag.
- Betriebsdruck erzeugen
Bewegen Sie den Handgriff der Pumpe 1 auf und ab, bis der Drucksprüher maximal bis zum zulässigen Betriebsdruck von 2,5 bar aufgepumpt ist. Beachen Sie zu diesen Zweck während des Pumpvorgangs das Manometer 4
Hinweis: Wenn der Luftdruck im Behälter 52,5 bar überschreitet, wird automatisch Druck über das Sicherheits-ventil 3 abgelassen.
Drücken Sie den Handgriff der Pumpe 1 nach unter in die Aussparungen.
Lösen Sie nun das Spritzrohr 8 aus der Halterung.
Sprufen
Hängen Sie den Drucksprüher mit dem Trageriemen 6 über die Schulter.
Hinweis:Stellen Sie sich, dass sich der Drucksprüher immer in senkrechter Lage befindet. Nur so ist eine einwandfreie Funktion möglich.
Halten Sie das Spritzrohr am Handgriff 11 fest undrichten Sie die verstellbare Spritzduse z.B. auf eine Pflanze.
Drücken Sie den Auslösehebel 13 um mit dem Sprühvorgang zu beginnen.
Lassen Sie den Auslösehebel 13 los, um den Sprühvorgang zu beenden.
Hinweis: Wenn der Druck im Behälter 5 nicht mehr zum Sprühen ausreicht, pumpen Sie den Behälter 5 wieder maximal bis zum zulässigen Betriebsdruck
von 2,5 bar auf. Sie konnen den Arbeitsdruck mittels des Manometers 4 überprüfen (siehe Betriebsdruck erzeugen").
Um den Restdruck im Behälter 5 abzulassen,ziehen Sie das Sicherheitsventil 3 bis zum Anschlag nach oben.
Reinigung und Pflege
Blasen Sie nicht mit dem Mund die Dusen frei, falls diese verstopt sein sollenn.
Hinweis: Reinigen Sie den Drucksprüher nach jeder Verwendung! Leeren Sie die Flasche nach jedem Gebrauch.
- Drucksprüher reinigen
Schrauben Sie die Spritzduse 7 ab.
Reinigen Sie die Spritzduse 7 unter flieBendem Wasser.
Um eine verstoptfe Spritzduse 7 zu reinigen, benutzen Sie eine Nadel zum DurchsfoBen der Spritzduse 7.
Spulen Sie den Drucksprüher und die Leitungen mit Wasser.
Reinigen Sie die Oberflächen mit einem feuchten Tuch.
Saugschlauch und Steigrohr reinigen
Um die Teile zu reinigen, gehen Sie vor wie folgt:
Lösen Sie die Überwurfmutter des Saugschlauch 12 am Handgriff 11 und am Schlauchanschluss am Deckel 14.
Öffnen Sie die Verschraubung des Deckels undziehen das Steigrohr heraus.
Reinigen Sie den Saugschlauch und das Steigrohr unter fliebendem Wasser.
Nach dem Reinigen stecken Sie das Steigrohr wieder in die damit vorgesehene Öffnung des Deckels und schrauben diesen wieder auf den Behälter 5.
Befestigen Sie den Saugschlauch 12 wieder am Schlauchanschluss am Deckel 14 und am Handgriff 11 des Spritzrohrs.
Drehen Sie die Überwurfmutter handfest an.
- Drucksprüher lagern
Lassen Sie nach dem Gebrauch den eventuell vorhandenen Restdruck im Behälter ab. Ziehen Sie hierzu den Knopf des Sicherheitsventils hoch, bis Sie kein Zischen mehr horen.
Reinigen Sie das Gerät gründlich und halten Sie es trocknen, bevor Sie es im Winter einlagern. So vermeiden Sie eine Beschädigung durch Frost.
Bevor Sie den Drucksprüher lagern, reinigen Sie diesen.
Entfernen Sie eventuell vorhandene Restmengen von Spritzmitteln aus dem Behälter und den Leitungen.
Lagern Sie den Drucksprüher an einem trockenen, staubfrei. Ort.
Fehlerbehebung
Sollten die unter aufgeführten Maßnahmen nicht zum Erfolg führen, benachrichtigen Sieden Hersteller.
= Storung
= Moggliche Ursache
O = Abhilfe
Im Behälter baut sich kein Druck auf.
Die Pumpe ist nicht fest geschraubt.
O Schrauben Sie die Pumpe fest ein.
Der Dichtungsring der Pumpe ist nicht geschmiert.
Fetten Sie den Dichtungsring der Pumpe.
Spritzduse spreht nicht.
Kein Druck vorhanden.
Bauen Sie Druck auf mit der Pumpe.
Die Spritzduse ist verstopf.
Reinigen Sie die Spritzduse.
Kein Spritzmittel im Behälter.
Fullen Sie Spritzmittel ein.
Filter ist verstopf.
Reinigen Sie den Filter.
- Entsorgung

Die Verpackung besteht aus umweltfreundlichen Materialien, die Sie über die ortlichen Recyclingstellen entsorgen konnen.
Möglichkeiten zur Entsorgung des ausgebundenen Produkts erfaren Sie bei ihrer Gemeinde oder Stadtverwaltung.
Garantie
Das Produkt wurde nach strengen Qualität-richtlinien sorgfältig produziert und vor Anlieferung gewissenhaft geprüft. Im Falle von Mängeln diesen Produkts stehen Ohnen gegen den Verkauf des Produkts gesetzliche Rechte zu. Diese gesetzlichen Rechte werden durch unsere im Folgenden dargestellte Garantie nicht eingeschränkt.
Sie erhalten auf these Produkt 3 Jahre Garantie ab Kaufdatum. Die Garantiefrist beginnnt mit dem Kaufdatum.itte bewahren Sie den Original-Kassenbon gut auf. These Unterlage wird als Nachweis fur den Kauf benotigt.
Tritt innerhalb von 3 Jahren ab dem Kaufdatum theses Produkte ein Material- oder Fabrikationsfehler auf, wird das Produkt von uns - nach unserer Wahl - für Sie kosten los repariert oder ersetzt. Diese Garantie verfällt, wenn das Produkt beschädigt, nicht sachgemäß benutzt oder gewartet wurde.
Die Garantieleistung gilt fur Material- oder Fabrikationsfehler. These Garantie erstreckt sich nicht auf Produkte, die normaler Abnutzung ausgesetzt sind (z. B. Batterien) und darauf als Verschleibe teile angesehen werden können oder fur Beschädigungen an zerbrechlichen Teilen, z. B. Schalter, Akkus oder die aus Glas gefertigt sind.
OWIM GmbH & Co. KG
Stiftsbergstraße 1
DE-74167 Neckarsulm
GERMANY
Model-No.: HG01829
Version: 02/2017
Last Information Update · Version des
Stand der Informationen: 01/2017
Ident.No.: HG01829012017-IE/NI/BE
EinfachAnleitung