HMESPMSw1PlDNR5 - Smart Home Homematic IP - Kostenlose Bedienungsanleitung
Finden Sie kostenlos die Bedienungsanleitung des Geräts HMESPMSw1PlDNR5 Homematic IP als PDF.
| Eigenschaften | Details |
|---|---|
| Produkttyp | Bewegungsmelder |
| Konnektivität | Drahtlos, Homematic IP Protokoll |
| Stromversorgung | Batterien (Typ nicht angegeben) |
| Erfassungsreichweite | Bis zu 12 Meter |
| Erfassungswinkel | 110 Grad |
| Innen-/Außenbereich | Nur für den Innenbereich |
| Abmessungen | Nicht angegeben |
| Betriebstemperatur | 0 bis 40 °C |
| Wartung | Batteriewechsel bei Bedarf |
| Sicherheit | Entspricht den elektrischen Sicherheitsnormen |
| Kompatibilität | Kompatibel mit anderen Homematic IP Geräten |
| Garantie | 2 Jahre |
Häufig gestellte Fragen - HMESPMSw1PlDNR5 Homematic IP
Benutzerfragen zu HMESPMSw1PlDNR5 Homematic IP
0 Frage zu diesem Gerät. Beantworten Sie die, die Sie kennen, oder stellen Sie Ihre eigene.
Eine neue Frage zu diesem Gerät stellen
Laden Sie die Anleitung für Ihr Smart Home kostenlos im PDF-Format! Finden Sie Ihr Handbuch HMESPMSw1PlDNR5 - Homematic IP und nehmen Sie Ihr elektronisches Gerät wieder in die Hand. Auf dieser Seite sind alle Dokumente veröffentlicht, die für die Verwendung Ihres Geräts notwendig sind. HMESPMSw1PlDNR5 von der Marke Homematic IP.
BEDIENUNGSANLEITUNG HMESPMSw1PlDNR5 Homematic IP
Bedienungsanleitung S. 2
Operating Manual p. 22
Mode d'emploi p. 42
Funk-Schaltaktor 1-fach mit Leistungsmessung, Zwischenstecker Typ J
1x HomeMatic Funk-Schaltaktor 1-fach mit Leistungsmessung, Zwischenstecker Typ J
1x Bedienungsanleitung
- Ausgabe Deutsch 10/2014
Dokumentation © 2014 eQ-3 AG, Deutschland
Alle Rechte vorbehalten. Ohne schriftliche Zustimmung des Herausgebers darf dieses Handbuch auch nicht auszugsweise in irgendeiner Form reproduziert werden oder unter Verwendung elektronischer, mechanischer oder chemischer Verfahren vervielfältigt oder verarbeitet werden.
Es ist möglich, dass das vorliegende Handbuch noch drucktechnische Mängel oder Druckfehler aufweist. Die Angaben in diesem Handbuch werden jedoch regelmäßig überprüft und Korrekturen in der nächsten Ausgabe vorgenommen. Für Fehler technischer oder drucktechnischer Art und ihre Folgen übernehmen wir keine Haftung.
Alle Warenzeichen und Schutzrechte werden anerkannt.
Änderungen im Sinne des technischen Fortschritts können ohne Vorankündigung vorgenommen werden.
141186 / V 1.0
Inhaltsverzeichnis
1 Hinweise zu dieser Anleitung .... 4
2 Gefahrenhinweise 4
3 Funktion und Geräteübersicht 7
4 Allgemeine Systeminformation zu HomeMatic....8
5 Inbetriebnahme 9
5.1 Einfache Bedienfunktionen am Gerät. 9
5.2 Anlernen....9
5.2.1 Anlernen an HomeMatic Geräte. 10
5.2.2 Anlernen an eine HomeMatic Zentrale....11
6 Bedingtes Schalten 14
7 Werkseinstellungen wiederherstellen....15
8 Fehler- und Rückmeldungen der Geräte-LED .....16
8.1 Blinkcodes 16
8.2 Duty Cycle 17
9 Verhalten nach Spannungswiederkehr. 18
10 Wartung und Reinigung 19
11 Allgemeine Hinweise zum Funkbetrieb ..... 19
12 Technische Daten....20
Hinweise zu dieser Anleitung Gefahrenhinweise
1 Hinweise zu dieser Anleitung
Lesen Sie diese Anleitung sorgfältig, bevor Sie Ihre HomeMatic Komponenten in Betrieb nehmen. Bewahren Sie die Anleitung zum späteren Nachschlagen auf! Wenn Sie das Gerät anderen Personen zur Nutzung überlassen, übergeben Sie auch diese Bedienungsanleitung.
Benutzte Symbole:

Achtung! Hier wird auf eine Gefahr hingewiesen.

Hinweis. Dieser Abschnitt enthält zusätzliche wichtige Informationen!

Hinweis. Dieser Abschnitt enthält zusätzliche wichtige Informationen zur Verwendung des Gerätes in Verbindung mit der HomeMatic Zentrale.
2 Gefahrenhinweise

Bei Sach- oder Personenschäden, die durch unsachgemäße Handhabung oder Nichtbeachten der Gefahrenhinweise verursacht werden, übernehmen wir keine Haftung. In solchen Fällen erlischt jeder Gewährleistungsanspruch! Für Folgeschäden übernehmen wir keine Haftung!

Öffnen Sie das Gerät nicht. Es enthält keine durch den Anwender zu wartenden Teile. Das Öffnen des Gerätes birgt die Gefahr eines Stromschlages. Im Fehlerfall schicken Sie das Gerät an den Service.

Verwenden Sie das Gerät nicht, wenn es von außen erkennbare Schäden z. B. am Gehäuse, an Bedienelementen oder an den Anschlussbuchsen bzw. eine Funktionsstörung aufweist. Lassen Sie das Gerät im Zweifelsfall von einer Fachkraft oder unserem Service prüfen.

Aus Sicherheits- und Zulassungsgründen (CE) ist das eigenmächtige Umbauen und/oder Verändern des Produkts nicht gestattet.

Betreiben Sie das Gerät nur in Innenräumen und setzen Sie es keinem Einfluss von Feuchtigkeit, Vibrationen, ständiger Sonnen- oder anderer Wärmeeinstrahlung, Kälte und keinen mechanischen Belastungen aus.

Das Gerät ist kein Spielzeug, erlauben Sie Kindern nicht damit zu spielen. Lassen Sie das Verpackungsmaterial nicht achtlos liegen, Plastikfolien/-tüten, Styroporteile, etc., könnten für Kinder zu einem gefährlichen Spielzeug werden.

Beachten Sie vor Anschluss eines Verbrauchers die technischen Daten, insbesondere die maximal zulässige Schaltleistung des Relais und Art des anzuschließenden Verbrauchers! Alle Lastangaben beziehen sich auf ohmsche Lasten! Belasten Sie das Gerät nur bis zur angegebenen Leistungsgrenze. Eine Überlastung kann zur Zerstörung des Gerätes, zu einem Brand oder elektrischen Unfall führen.

Das Gerät darf nur an eine leicht zugängliche Netz-Steckdose angeschlossen werden. Bei Gefahr ist das Gerät aus der Netz-Steckdose zu ziehen.

Verwenden Sie den HomeMatic Zwischenstecker nur in fest installierten Steckdosen mit Schutzkontakten, nicht in Steckdosenleisten oder mit Verlängerungskabeln.

Schließen Sie keine Endgeräte an den HomeMatic Zwischenstecker an, deren unbeaufsichtigtes Einschalten Brände oder andere Schäden verursachen könnte (z. B. Bügeleisen).
Gefahrenhinweise Funktion und Geräteübersicht

Ziehen Sie grundsätzlich den Stecker des Endgerätes aus dem HomeMatic Zwischenstecker, bevor Sie Veränderungen am Endgerät vornehmen (z. B. Glühlampenwechsel).

Verlegen Sie Kabel stets so, dass diese nicht zu Gefährdungen für Menschen und Haustiere führen können.

Das Gerät ist nicht zum Freischalten geeignet. Die Last ist nicht galvanisch vom Netz getrennt.

Reinigen Sie das Gerät nur nach Entfernen aus der Steckdose mit einem trockenen Leinentuch, das bei starken Verschmutzungen leicht angefeuchtet sein kann. Verwenden Sie zur Reinigung keine lösemittelhaltigen Reinigungsmittel. Achten Sie darauf, dass keine Feuchtigkeit in das Geräteinnere gelangt.

Jeder andere Einsatz als der in dieser Bedienungsanleitung beschriebene ist nicht bestimmungsgemäß und führt zu Gewährleistungs- und Haftungsausschluss. Dies gilt auch für Umbauten und Veränderungen. Das Gerät ist ausschließlich für den privaten Gebrauch gedacht.

HomeMatic Zwischenstecker dürfen nicht hintereinander gesteckt werden.

Geräte mit elektronischen Netzteilen (z. B. Fernseher oder Hochvolt-LED-Leuchtmittel) stellen keine ohmschen Lasten dar. Sie können Einschaltströme von über 100 A erzeugen. Schalten solcher Verbraucher führt zu vorzeitigem Verschleiß des Aktors.

Das Gerät ist nur für den Einsatz in wohnungsähnlichen Umgebungen geeignet.
3 Funktion und Geräteübersicht
Mit dem HomeMatic Funk-Schaltaktor 1-fach mit Leistungsmessung im Zwischensteckergehäuse können Sie angeschlossene Verbraucher (z. B. Ihren Trockner) oder andere angelernte HomeMatic Geräte (z. B. Dimmaktoren) ein- bzw. ausschalten und den Energieverbrauch der angeschlossenen Verbraucher messen (bis 2300 Watt (10 A)).
Der HomeMatic Funk-Schaltaktor mit Leistungsmessung verbindet zwei Funktionsbereiche in einem Gerät:
- Schalten von angeschlossenen Verbrauchern
- Messen von Spannung, Strom, Wirkleistung, Frequenz und Energieverbrauch
Über den Schaltkanal können Sie angeschlossene Verbraucher ein- oder ausschalten. Über die Sensorkanäle haben Sie zusätzlich die Möglichkeit, angelernte HomeMatic Geräte und angeschlossene Verbraucher ein- oder auszuschalten.
Der Messkanal verfügt über eine Messfunktion und Übertragungsmöglichkeit von Messdaten (z. B. Spannung, Strom, Wirkleistung, Frequenz und Energieverbrauch) an die HomeMatic Zentrale. Die Messwerte können im HomeMatic System zyklisch an die HomeMatic Zentrale übertragen werden und lassen sich in der Bedienoberfläche WebUI der CCU2 grafisch anzeigen. Auf dem Gerät werden keine Messdaten gespeichert.

Alle Funktionen des Gerätes können in Verbindung mit einer CCU2 über die HomeMatic Bedienoberfläche WebUI konfiguriert werden. Das Einrichten und Konfigurieren des Gerätes ist ebenfalls mit dem HomeMatic Konfigurations-adapter möglich.

text_image
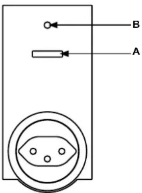
B A(A) - Kanaltaste
(B) - Geräte-LED
4 Allgemeine Systeminformation zu HomeMatic
Dieses Gerät ist Teil des HomeMatic Haussteuersystems und arbeitet mit dem bidirektionalen BidCoS® Funkprotokoll.
Alle Geräte werden mit einer Standardkonfiguration ausgeliefert. Darüber hinaus ist die Funktion des Gerätes über ein Programmiergerät und Software konfigurierbar. Welcher weitergehende Funktionsumfang sich damit ergibt, und welche Zusatzfunktionen sich im HomeMatic System im Zusammenspiel mit weiteren Komponenten ergeben, entnehmen Sie bitte dem HomeMatic WebUI Handbuch.
Alle technischen Dokumente und Updates finden Sie stets aktuell im Downloadbereich unter www.homematic.com.
5 Inbetriebnahme
5.1 Einfache Bedienfunktionen am Gerät
- Stecken Sie den Funk-Schaltaktor mit Leistungsmessung in die Steckdose.
Das Gerät ist sofort betriebsbereit und kann an eine HomeMatic Zentrale (oder an andere HomeMatic Geräte) angelernt werden.
Das Gerät verfügt über eine Kanaltaste (A), die über einen kurzen Tastendruck zur Bedienung (ein- bzw. ausschalten) von angeschlossenen Verbrauchern genutzt werden kann.
Um das Gerät in seinem vollen Funktionsumfang in Ihrem HomeMatic System nutzen und konfigurieren sowie Verbraucher bzw. HomeMatic Geräte per Funk steuern zu können, müssen Sie es zunächst Anlernen (vgl. Kapitel „5.2 Anlernen“ auf Seite 9).
5.2 Anlernen

Bitte lesen Sie diesen Abschnitt vollständig, bevor Sie mit dem Anlernen beginnen.
Damit der Funk-Schaltaktor mit Leistungsmessung in Ihr HomeMatic System integriert werden und mit anderen HomeMatic Komponenten (z. B. einer HomeMatic Funk-Fernbedienung) kommunizieren kann, muss das Gerät zunächst angelernt werden. Sie können den Funk-Schaltaktor mit Leistungsmessung an andere HomeMatic Geräte oder an die HomeMatic Zentrale anlernen.

Direkte Geräteverknüpfungen sind bei dem Funk-Schaltaktor mit Leistungsmessung nur mit dem Schaltkanal möglich (s. Kapitel „5.2.1 Anlernen an HomeMatic Geräte“ auf Seite 10). Verknüpfungen mit dem Messkanal müssen mit einer Zentrale oder einem Konfigurationsadapter erstellt werden (s. Kapitel „5.2.2 Anlernen an eine HomeMatic Zentrale“ auf Seite 11).
Inbetriebnahme Inbetriebnahme
5.2.1 Anlernen an HomeMatic Geräte
Wenn Sie den Funk-Schaltaktor mit Leistungsmessung an ein oder mehrere Geräte anlernen möchten, müssen die beiden zu verknüpfenden Geräte in den Anlernmodus gebracht werden. Dafür gehen Sie wie folgt vor:

Halten Sie beim Anlernen einen Mindestabstand von 50 cm zwischen den HomeMatic Geräten ein.
Aktivieren Sie zunächst den Anlernmodus am Funk-Schaltaktor mit Leistungsmessung.
- Halten Sie die Kanaltaste (A) für mindestens 4 Sekunden gedrückt. Langsames orangenes Blinken der Geräte-LED (B) signalisiert den Anlernmodus. Die Anlernzeit beträgt max. 20 Sekunden.

text_image
> 4 s- Versetzen Sie jetzt das Gerät, das Sie an den Funk-Schaltaktor mit Leistungsmessung anlernen möchten (z. B. eine HomeMatic Funk-Fernbedienung, s. nachfolgende Abbildung), in den Anlernmodus. Nehmen Sie die Batteriefachabdeckung ab und drücken Sie kurz mit einem spitzen Gegenstand auf die Anlerntaste.

War der Anlernvorgang erfolgreich, leuchtet die Geräte-LED (B) des Funk-Schaltaktors mit Leistungsmessung für eine Sekunde grün auf. Konnten die Geräte nicht aneinander angelernt werden, leuchtet die Geräte-LED für zwei Sekunden rot auf. Versuchen Sie es erneut.
Nach erfolgreichem Anlernen können Sie angeschlossene Verbraucher über den Funk-Schaltaktor mit Leistungsmessung z. B. mit einer HomeMatic Funk-Fernbedienung ein- und ausschalten.

Wenn kein Anlernen erfolgt, wird der Anlernmodus automatisch nach 20 Sekunden beendet. Befinden sich andere Geräte im Anlernmodus, werden diese angelernt.
5.2.2 Anlernen an eine HomeMatic Zentrale
Um Ihr Gerät softwarebasiert und komfortabel
- steuern und konfigurieren,
- direkt mit anderen Geräten verknüpfen oder
- in Zentralenprogrammen nutzen zu können,
muss es zunächst an die HomeMatic Zentrale angelernt werden. Das Anlernen neuer Geräte an die Zentrale erfolgt über die HomeMatic Be-
Inbetriebnahme Inbetriebnahme
dienoberfläche „WebUI“.

Sobald ein Gerät an eine Zentrale angelernt ist, kann es nur noch über diese mit anderen Geräten verknüpft werden.

Jedes Gerät kann immer nur an eine Zentrale angelernt werden.

Halten Sie beim Anlernen einen Mindestabstand von 50 cm zwischen den HomeMatic Geräten und der Zentrale ein.
Zum Anlernen Ihres Gerätes an die Zentrale gehen Sie wie folgt vor:
- Öffnen Sie die WebUI-Bedienoberfläche in Ihrem Browser. Klicken Sie auf den Button „Geräte anlernen“ im rechten Bildschirmbereich.

text_image
MicrosoftDesign (20) IntralmsDesign (18) Carls Startbox Rating and Indemptions Progressions and Interactions Disinstitutions Veränderungen Verkauf Südamerika Südamerika Südamerika Südamerika Südamerika Südamerika Südamerika Südamerika Südamerika Südamerika Südamerika Südamerika Südamerika Südamerika Südamerika Südamerika Südamerika Südlerschaff Südlerschaff Südlerschaff Südlerschaff Südlerschaff Südlerschaff Südlerschaff Südlerschaff Südlerschaff Südlerschaff Südlerschaff Südlerschaff Südlerschaff Südlerschaff Südlerschaff Schulzerkursatz Schulzerkursatz Schulzerkursatz Schulzerkursatz Schulzerkursatz Schulzerkursatz Schulzerkursatz Schulzerkursatz Schulzerkursatz Schulzerkursatz Schulzerkursatz Schulzerkursatz Schulzerkursatz Schulzerkursatz Schulzerkursatz Südlerschaff Schulzerkursatz Schulzerkursatz Schulzerkursatz Schulzerkursatz Schulzerkursatz Schulzerkursatz Schulzerkursatz Schulzerkursatz Schulzerkursatz Schulzerkursatz Schulzerkursatz Schulzerkursatz Schulzerkursatz Südlerschaff Südlerschaff Südlerschaff Südlerschaff Südlerschaff Südlerschaff Südlerschaff Südlerschaff Südlerschaff Südlerschaff Südlerschaff Südlerschaff Südlerschaff Südlerschaff Virtzernfassungskontzernfassungskontzernfassungskontzernfassungskontzernfassungskontzernfassungskontzernfassungskontzernfassungskontzernfassungskontzernfassungskontzernfassungskontzernfassungskontzernfassungskontzernfassungskontzernfassungskontzermfassungskontzermfassungskontzermfassungskontzermfassungskontzermfassungskontzermfassungskontzermfassungskontzermfassungskontzermfassungskontzermfassungskontzermfassungskontzermfassungskontzermfassungskontzermfassungskontzermfssltzermfssltzermfssltzermfssltzermfssltzermfssltzermfssltzermfssltzermfssltzermfssltzermfssltzermfssltzermfssltzermfssltzermfssltzermfssltzermfssltzermfssltzermfssltzermfssltzermfsslntzermfssltzermfssltzermfssltzermfssltzermfssltzermfssltzermfssltzermfssltzermfssltzermfssltzermfssltzermfssltzermfssltzermfssltzermfssltzermfssltzermfssltzermfssltzermfssltzermfsslltzzermfssltzermfssltzermfssltzermfssltzermfssltzermfssltzermfssltzermfssltzermfssltzermfssltzermfssltzermfssltzermfssltzermfssltzermfssltzermfssltzermfssltzermfssltzermfssltzermfsslt zterm fassungskontszern fassungskontszern fassungskontszern fassungskontszern fassungskontszern fassungskontszern fassungskontszern fassungskontszern fassungskontszern fassungskontszern fassungskontszern fassungskontszern fassungskontszern fassungskontszern fassungskontszern fasstuzterm fassungskontszern fassungskontszern fassungskontszern fassungskontszern fassungskontszern fassungskontszern fassungskontszern fassungskontszern fassungskontszern fassungskontszern fassungskontszern fassungskontszern fassungskontszern fasstuzterm fassungtkonztern fassungtkonztern fassungtkonztern fassungtkonztern fassungtkonztern fassungtkonztern fassungtkonztern fassungtkonztern fasstuzterm fassungtkonztern fassungtkonztern fassungtkonztern fasstuzterm fassungtkonztern fasstuzterm fassungtkonztern fasstuzterm fassungtkonztern fasstuzterm fassungtkonztern fasstuzterm fassungtkonztern fasstuzterm fassungtkonztern fasstuzterm fassungtkonztern fasstuzterm fassungtkonztern fasstuzterm fassungdkonztern fasstuzterm fassungdkonztern fasstuzterm fassungdkonztern fasstuzterm fassungdkonztern fasstuzterm fassungdkonztern fasstuzterm fassungdkonztern fasstuzterm fassungdkonztern fasstuzterm fassungdkonztern fasstuzterm fassungdkonztern ginslitzemginslitzemginslitzemginslitzemginslitzemginslitzemginslitzemginslitzemginslitzemginslitzemginslitzemginslitzemginslitzemginslitzemginslitzemginslitzemginslitzemginslitzemginslitzemginslitzemginslitzemgsinslitzemgsinslitzemgsinslitzemgsinslitzemgsinslitzemgsinslitzemgsinslitzemgsinslitzemgsinslitzemgsinslitzemgsinslitzemgsinslitzemgsinslitzemgsinslitzemgsinslitzemgsinslitzemgsinslitzemgsinslitzemgsinslitzemgsinslitzemginslsitzemgsinslitzemgsinslitzemgsinslitzemgsinslitzemgsinslitzemgsinslitzemgsinslitzemgsinslitzemgsinslitzemgsinslitzemgsinslitzemgsinslitzemgsinslitzemgsinslitzemgsinslitzemgsinslitzemgsinslitzemgsinslitzemgsinslitzemgsinslsitzemgsinslsitzemgsinslsitzemgsinslsitzemgsinslsitzemgsinslsitzemgsinslsitzemgsinslsitzemgsinslsitzemgsinslsitzemgsinslsitzemgsinslsitzemgsinslsitzemgsinslsitzemgsinslsitzemgsinlsitzemgsinlsitzemgsinlsitzemgsinlsitzemgsinlsitzemgsinlsitzemgsinlsitzemgsinlsitzemgsinlsitzemgsinlsitzemgsinlsitzemgsinlsitzemgsinlsitzemgsinlsitzemgsinlsitzemgsinlsitzemgsinlsitzemgsinlsizertmbslnslnslnslnslnslnslnslnslnslnslnslnslnslnslnslnslnslnslnslnslnslnslnslnslnslnslnslnslnslnslnslnslnslnslnslnslnslnslnslnslnslnslnslnslnslnslnslnslnslnslncsgnlaatsgnlaatsgnlaatsgnlaatsgnlaatsgnlaatsgnlaatsgnlaatsgnlaatsgnlaatsgnlaatsgnlaatsgnlaatsgnlaatsgnlaatsgnlaatsgnlaatsgnlaatsgnlaatsgnlaatsgnlaatsgnlaatsgnlaatsgnlaatsgnlaatsgnla atsgnlaatsgnlaatsgnlaatsgnlaatsgnlaatsgnlaatsgnlaatsgnlaatsgnlaatsgnlaatsgnlaatsgnlaatsgnlaatsgnlaatsgnlaatsgnlaatsgnlaatsgnlaatsgnlaatsgnlaatsgnlaatsgnlaatsgnlaatsgnlaatsgnlaotsgnlaatsgnlaatsgnlaatsgnlaatsgnlaatsgnlaatsgnlaatsgnlaatsgnlaatsgnlaatsgnlaatsgnlaatsgnlaatsgnlaatsgnlaatsgnlaatsgnlaatsgnlaatsgnlaatsgnlaatsgnlaatsgnlaatsgn laotsgn laotsgn laotsgn laotsgn laotsgn laotsgn laotsgn laotsgn laotsgn laotsgn laotsgn laotsgn laotsgn laotsgn laotsgn laotsgn laotsgn laotsgn laotsgn laotsgn laotsgn laotsgn laotsgn laotsgn laotsgn laoogns latoogns latoogns latoogns latoogns latoogns latoogns latoogns latoogns latoogns latoogns latoogns latoogns latoogns latoogns latoogns latoogns latoogns latoogns latoogns latoogns latoogns latoogns latoogns latoogns latoogns lataogns latoogns latoogns latoogns latoogns latoogns latoogns latoogns latoogns latoogns latoogns latoogns latoogns latoogns latoogns latoogns latoogns latoogns latoogns latoogns latoogns latoogns latoogns latoogns latoogns lateogns latoogns latoogns latoogns latoogns latoogns latoogns latoogns latoogns latoogns latoogns latoogns latoogns latoogns latoogns latoogns latoogns latoogns latoogns latoogns latoogns latoogns latoogns latoogns latoogns lauoagnglcntnglcntnglcntnglcntnglcntnglcntnglcntnglcntnglcntnglcntnglcntnglcntnglcntnglcntnglcntnglcntnglcntnglcntnglcntnglcntnglcntnglcntnglcntnglcntnglcntnglcntnglcntnglcntnglcntnglcntnglcntnglcntnglcntnglcntenglcntnglcntnglcntnglcntnglcntnglcntnglcntnglcntnglcntnglcntnglcntnglcntnglcntnglcntnglcntnglcntnglcntnglcntnglcntnglcntnglcntnglcntnglcntnglcntnglcntnglcntnglcntnglcntnglcntnglcntnglcntnglcntnglcntngclntnglcntnglcntnglcntnglcntnglcntnglcntnglcntnglcntnglcntnglcntnglcntnglcntnglcntnglcntnglcntnglcntnglcntnglcntnglcntnglcntnglcntnglcntnglcntnglcntnglcntnglcntnglcntnglcntnglcntnglcntnglcntnglcntnglcmt nglsnlgtlglglglglglglglglglglglglglglglglglglglglglglglglglglglglglglglglglglglglglglglglglglglglglglglglglglglglglglglglglglglglglglglglglglglglglglglglglglglglglglglglggggggggggggggggggggggggggggggggggggggggggggggggggggggggggggggggggggggggggggggggggggggggggggggggggggggggggggggggggggggggggggggggggggggggggggggggggggggggggggggggggggggggggggggggggggggggggggggggggggggggggtttttttttttttttttttttttttttttttttttttttttttttttttttttttttttttttttttttttttttttttttttttttttttttttttttttttttttttttttttttttttttttttttttttttttttttttttttttttttttttttttttttttttttttt tnncttggtgtgtgtgtgtgtgtgtgtgtgtgtgtgtgtgtgtgtgtgtgtgtgtgtgtgtgtgtgtgtgtgtgtgtgtgtgtgtgtgtgtgtgtgtgtgtgtgtgtgtgtgtgtgtgtgtgtgtgtgtgtgtgtgtgtgtgtgtgtgtgtgtgtgtgtgtgtgtgtgtgtgtgtgtgtgtgtgtgtgtgtgtgtgtgttgttgttgttgttgttgttgttgttgttgttgttgttgttgttgttgttgttgttgttgttgttgttgttgttgttgttgttgttgttgttgttgttgttgttgttgttgttgttgttgttgttgttgttgttgttgttgttgttgttgttgttgttgttgttgttgttgttgttgttgttgttgttgttgttgttgttgttgttgttgttgttgttgttgttgttgttgttgttgttgttgttgttgttgttgttgttgttgttgttgttgttgttgttgttgttgttgttgttgttgttgcttgcttgcttgcttgcttgcttgcttgcttgcttgcttgcttgcttgcttgcttgcttgcttgcttgcttgcttgcttgcttgcttgcttgcttgcttgcttgcttgcttgcttgcttgcttgcttgcttgcttgcttgcttgcttgcttgcttgcttgcttgcttgcttgcttgcttgcttgcttgcttgcttgcttgacttgacttgacttgacttgacttgacttgacttgacttgacttgacttgacttgacttgacttgacttgacttgacttgacttgacttgacttgacttgacttgacttgacttgacttgacttgacttgacttgacttgacttgacttgacttgacttgacttgacttgacttgacttgacttgacttgacttgacttgacttgacttgacttgacttgacttgacttgacttgacttgacttgacttgac tgacttgcgcttgcgcttgcgcttgcgcttgcgcttgcgcttgcgcttgcgcttgcgcttgcgcttgcgcttgcgcttgcgcttgcgcttgcgcttgcgcttgcgcttgcgcttgcgcttgcgcttgcgcttgcgcttgcgcttgcgcttgcgcttgcgCTCGGCTCGGCTCGGCTCGGCTCGGCTCGGCTCGGCTCGGCTCGGCTCGGCTCGGCTCGGCTCGGCTCGGCTCGGCTCGGCTCGGCTCGGCTCGGCTCGGCTCGGCTCGGCTCGGCTCGGCTCGGCTCGGCTCGGCTCGGCTCGGCTCGGCTCGGCTCGGCTCGGCTCGGACTCGGACTCGGACTCGGACTCGGACTCGGACTCGGACTCGGACTCGGACTCGGACTCGGACTCGGACTCGGACTCGGACTCGGACTCGGACTCGGACTCGGACTCGGACTCGGACTCGGACTCGGACTCGGACTCGGACTCGGACTCGGACTCGGACTCGGACTCGGACTCGGACTCGGACTCGGACTCGGACTCGGACTCCGGCTCCGGCTCCGGCTCCGGCTCCGGCTCCGGCTCCGGCTCCGGCTCCGGCTCCGGCTCCGGCTCCGGCTCCGGCTCCGGCTCCGGCTCCGGCTCCGGCTCCGGCTCCGGCTCCGGCTCCGGCTCCGGCTCCGGCTCCGGCTCCGGCTCCGGCTCCGGCTCCGGCTCCGGCTCCGGCTCCGGCTCCGGCTCCGGCTCCGGCTTACGTAGTGATTTTTTTTTTTTTTTTTTTTTTTTTTTTTTTTTTTTTTTTTTTTTTTTTTTTTTTTTTTTTTTTTTTTTTTTTTTTTTTTTTTTTTTTTTTTTTTTTTTTTTTTTTTTTTTTTTTTTTTTTTTTTTTTTTTTTTTTTTTTTTTTTTTTTTTTTTTTTTTTTTTTAAATTCATTCATTCATTCATTCATTCATTCATTCATTCATTCATTCATTCATTCATTCATTCATTCATTCATTCATTCATTCATTCATTCATTCATTCATTCATTCATTCATTCATTCATTCATTCATTCATTCATTCATTCATTCATTCATTCATTCATTCATTCATTCATTCATTCATTCATTCATTCATTCATTCATTCAT TACGTAGTGATTCATTCATTCATTCATTCATTCATTCATTCATTCATTCATTCATTCATTCATTCATTCATTCATTCATTCATTCATTCATTCATTCATTCATTCATTCATTCATTCATTCATTCATTCATTCATTCATTCATTCATTCATTCATTCATTCATTCATTCATTCATTCATTCATTCATTCATTCATTCATTCATTCAT TCATT TGACGTAGTGACGTAGTGACGTAGTGACGTAGTGACGTAGTGACGTAGTGACGTAGTGACGTAGTGACGTAGTGACGTAGTGACGTAGTGACGTAGTGACGTAGTGACGTAGTGACGTAGTGACGTAGTGACGTAGTGACGTAGTGACGTAGTGACGTAGTGACGTAGTGACGTAGTGACGTAGTGACGTAGTGACGTAGTGACGTAGTGAUCATT TGACGTAGTGACGTAGTGACGTAGTGACGTAGTGACGTAGTGACGTAGTGACGTAGTGACGTAGTGACGTAGTGACGTAGTGACGTAGTGACGTAGTGACGTAGTGACGTAGTGACGTAGTGACGTAGTGACGTAGTGACGTAGTGACGTAGTGACGTAGTGACGTAGTGACGTAGTGACGTAGTGACGTAGTGACCAT TGACGTAGTGACGTAGTGACGTAGTGACGTAGTGACGTAGTGACGTAGTGACGTAGTGACGTAGTGACGTAGTGACGTAGTGACGTAGTGACGTAGTGACGTAGTGACGTAGTGACGTAGTGACGTAGTGACGTAGTGACGTAGTGACGTAGTGACGTAGTGACGTAGTGACGTAGTGACGTAGTGACGTAGTGACGT AGTGAUCATT TGACGTAGTGACGTAGTGACGTAGTGACGTAGTGACGTAGTGACGTAGTGACGTAGTGACGTAGTGACGTAGTGACGTAGTGACGTAGTGACGTAGTGACGTAGTGACGTAGTGACGTAGTGACGTAGTGACGTAGTGACGTAGTGACGTAGTGACGTAGTGACGTAGTGACGTAGTGACGTAGTGACGT AGTGAUCATT TACGTAGTGACGTAGTGACGTAGTGACGTAGTGACGTAGTGACGTAGTGACGTAGTGACGTAGTGACGTAGTGACGTAGTGACGTAGTGACGTAGTGACGTAGTGACGTAGTGACGTAGTGACGTAGTGACGTAGTGACGTAGTGACGTAGTGACGTAGTGACGTAGTGACGTAGTGACGTAGTGACGT AGTGAUCATT TTACCATT TGACCATT TGACCATT TGACCATT TGACCATT TGACCATT TGACCATT TGACCATT TGACCATT TGACCATT TGACCATT TGACCATT TGACCATT TGACCATT TGACCATT TGACCATT TGACCATT TGACCATT TGACCATT TGACCATT TGACCATT TGACCATT TGACCATT TGACCATT TGACCATT TGACCATT TGACCATT TGACCATT TGACCATT TGACCATT TGACCATT TGACCATT TGACCATT TGACCATT TGCCCATT TGCCCATT TGCCCATT TGCCCATT TGCCCATT TGCCCATT TGCCCATT TGCCCATT TGCCCATT TGCCCATT TGCCCATT TGCCCATT TGCCCATT TGCCCATT TGCCCATT TGCCCATT TGCCCATT TGCCCATT TGCCCATT TGCCCATT TGCCCATT TGCCCATT TGCCCATT TGCCCATT TGCCCATT TGCCCATT TGCCCATT TGCCCATT TGCCCATT TGCCCATT TGCCCATT TGCCCATT TGCCCATT TGCCC- Um den Anlernmodus zu aktivieren, klicken Sie im nächsten Fenster auf „BidCoS-RF Anlernmodus“.

text_image
BidCos-RF - Variant 1 | Direitos Anteilen Antermodus noch 36 s aktive BidCos-RF Antermodus BidCos-RF - Variant 2 | Anteilen mit Seriennummer Seriennummer Geräte anternen Die den Antermodung zu aktiellen, Sie auf "Antermodus starten", Der Fodus ist auch für 00 Sedundeter aktien, Verletzen Sie innerhalb der Zeit auch das anzulerende Newellfalt. Gerät in der davon und nicht vorliebende Zentraler Informations finden Sie in der Bedienungsanteiligung des zweiligten Gefahren. BidCos-RF - Variant 1: Automatistikes Anteilen Starten Sie den Antermodus direkt am anzulegenden Gesamt. Das Gesamt wird dann ohne weiteres Bedienung an die Zentrale angeleht. Nähere Informationen zum Antermodus finden Sie in der jeweiligen Bedienungsanteiligung. BidCos-RF - Variant 2: Geräte suchen Beträgen Sie sich Button "Geräte suchen". Die Zentraler sind darm automatisch alle neuen BidCos-Kind Gesäte an. Geräte suchen Zerück Postingang 11 h.- Der Anlernmodus ist für 60 Sekunden aktiv. Das Infofeld zeigt die aktuell noch verbleibende Anlernzeit.
- Versetzen Sie innerhalb dieser Anlernzeit auch den Funk-Schaltaktor mit Leistungsmessung in den Anlernmodus. Halten Sie die Kanaltaste (A) für mindestens 4 Sekunden gedrückt. Langsames orangenes Blinken der Geräte-LED (B) signalisiert den Anlernmodus.

text_image
> 4 s- Nach kurzer Zeit erscheint das neu angelernte Gerät im Posteingang Ihrer Bedienoberfläche. Der Button „Posteingang“ zeigt dabei an, wie viele neue Geräte erfolgreich angelernt wurden.
Bedingtes Schalten Werkseinstellungen wiederherstellen
- Lernen Sie ggf. weitere Geräte an, indem Sie die vorher beschriebenen Schritte für jedes Gerät wiederholen.
- Konfigurieren Sie nun die neu angelernten Geräte im Posteingang wie im Abschnitt „Neu angelernte Geräte konfigurieren“ beschrieben.
Neu angelernte Geräte konfigurieren
Nachdem Sie Ihr Gerät an die HomeMatic Zentrale angelernt haben, wird es in den „Posteingang“ verschoben. Hier muss Ihr Gerät und die dazugehörigen Kanäle zunächst konfiguriert werden, damit es für Bedien- und Konfigurationsaufgaben zur Verfügung steht. Vergeben Sie einen Namen und ordnen Sie das Gerät bzw. die Kanäle einem Raum zu. Sie haben zusätzlich die Möglichkeit, einzelne Parametereinstellungen vorzunehmen.
Anschließend können Sie Ihr Gerät über die WebUI steuern und konfigurieren, direkt mit anderen Geräten verknüpfen, in Zentralenprogrammen nutzen und sich die Messwerte angeschlossener Verbraucher anzeigen lassen. Einzelheiten hierzu entnehmen Sie bitte dem HomeMatic WebUI Handbuch (zu finden im Downloadbereich der Website www.homematic.com).
6 Bedingtes Schalten
Über die Funktion „Bedingtes Schalten“ können angeschlossene Verbraucher oder andere HomeMatic Geräte geschaltet werden, wenn eine bestimmte Bedingung erfüllt wird.
Beispiel: Sie haben Ihren Trockner im Keller in Verbindung mit dem Funk-Schaltaktor mit Leistungsmessung angeschlossen und möchten über ein Audio-Signal erfahren, wann dieser fertig ist. Dazu können Sie den Funk-Schaltaktor mit Leistungsmessung über die Zentrale mit einem HomeMatic MP3 Funk-Gong verknüpfen:
Sobald der Trockner z. B. unter 100 W verbraucht, soll er ausgeschaltet werden. Zusätzlich soll ein Audio-Signal über den MP3 Funk-Gong abgeben werden. Wird die eingestellte Leistungsschwelle unterschritten (z.
B. < 100 W), sendet der Funk-Schaltaktor mit Leistungsmessung einen bedingten Schaltbefehl an den MP3 Funk-Gong und die Messwerte des Trockners an die Zentrale. Der MP3 Funk-Gong gibt ein gewünschtes Signal ab und Sie wissen, wann Ihr Trockner fertig ist.

flowchart
graph TD
A["Flur"] --> B["Audio-Signal"]
C["Küche"] --> D["Blocker"]
E["Keller"] --> F["Beating Seltbentel"]
F --> G["Messwert"]
G --> H["< 100 W"]
H --> I[" Washing Machine"]
7 Werkseinstellungen wiederherstellen
Die Werkseinstellungen des Funk-Schaltaktors mit Leistungsmessung können manuell wiederhergestellt werden. Dabei gehen alle Einstellungen und Informationen verloren.

Bevor Sie die Werkseinstellungen des Gerätes wieder herstellen, löschen Sie es zuerst aus der HomeMatic Bedienoberfläche WebUI.
Gehen Sie wie folgt vor:
- Halten Sie die Kanaltaste (A) für mindestens vier Sekunden gedrückt, bis die Geräte-LED (B) langsam orange zu blinken
Fehler- und Rückmeldungen der Geräte-LED Fehler- und Rückmeldungen derGeräte-LED
beginnt.
• Lassen Sie die Taste wieder los.

text_image
> > 4 s- Drücken Sie nun die Kanaltaste (A) erneut für vier Sekunden, bis die Geräte-LED (B) schnell rot zu blinken beginnt.
• Lassen Sie die Taste wieder los.
• Die Geräte-LED erlischt.
• Die Werkseinstellungen des Gerätes sind nun wiederhergestellt.
8 Fehler- und Rückmeldungen der Geräte-LED
8.1 Blinkcodes
| Blinkfolge Bedeutung Lösung | ||
| Langsames oranges Blinken | Anlernmodus aktiv Versetzen Sie den Anlernpartner in den Anlernmodus. | |
| Schnelles oranges Blinken | Datenaustausch mit dem Anlernpartner | Warten Sie auf die Bestätigung der Geräte-LED. |
| 1 s grünes Aufleuchten | Anlernvorgang erfolgreich | Sie können mit der weiteren Bedienung fortfahren. |
| 2 s rotes Aufleuchten | Anlernvorgang nicht erfolgreich | Bitte versuchen Sie es erneut. |
| Langsames oranges Blinken | Vorstufe zum Zurücksetzen auf die Werkseinstellungen | Gerät wartet auf langen Tastendruck der Kanaltaste zum Zurücksetzen oder kurzen Tastendruck zum Beenden. |
| Schnelles rotes Blinken | Die Werkseinstellungen des Gerätes werden wiederhergestellt. | / |
| Kurzes rotes, grünes und oranges Blinken | LED-Testanzeige nach Spannungswiederkehr | Warten Sie, bis die Geräte-LED erlischt. |
| 1 x langes, 1 x kurzes rotes Blinken | Duty Cycle erreicht | s. Kapitel „8.2 Duty Cycle“ auf Seite 17 |
| 1 x langes, 2 x kurzes rotes Blinken | Gerät defekt Bitte wenden Sie sich an Ihren Fachhändler. | |
8.2 Duty Cycle
Der Duty Cycle beschreibt eine gesetzlich geregelte Begrenzung der Sendezeit von Geräten im 868 MHz Bereich. Das Ziel dieser Regelung ist es, die Funktion aller im 868 MHz Bereich arbeitenden Geräte zu gewährleisten.
In dem von uns genutzten Frequenzbereich 868 MHz beträgt die maxi-
Verhalten nach Spannungswiederkehr Wartung und Reinigung
male Sendezeit eines jeden Gerätes 1 % einer Stunde (also 36 Sekunden in einer Stunde). Die Geräte dürfen bei Erreichen des 1 %-Limits nicht mehr senden, bis diese zeitliche Begrenzung vorüber ist. Gemäß dieser Richtlinie, werden HomeMatic Geräte zu 100 % normenkonform entwickelt und produziert.
Im normalen Betrieb wird der Duty Cycle in der Regel nicht erreicht. Dies kann jedoch in Einzelfällen bei der Inbetriebnahme oder Erstinstallation eines Systems durch vermehrte und funkintensive Anlernprozesse der Fall sein. Eine Überschreitung des Duty Cycle Limits wird durch einmal langes und einmal kurzes Blinken der Geräte-LED angezeigt und kann sich durch temporär fehlende Funktion des Gerätes äußern. Nach kurzer Zeit (max. 1 Stunde) ist die Funktion des Gerätes wiederhergestellt.
9 Verhalten nach Spannungswiederkehr
Nach dem Einstecken des Gerätes in eine Steckdose oder nach Wiederkehr der Netzspannung führt der Funk-Schaltaktor einen Selbsttest/Neustart (ca. 2 Sekunden) durch. Die Geräte-LED blinkt kurz rot, grün und orange auf (LED-Testanzeige). Sollte dabei ein Fehler festgestellt werden, so wird dieses durch Blinken der Geräte-LED dargestellt (s. Kapitel „8.1 Blinkcodes“ auf Seite 16). Dieses wiederholt sich kontinuierlich und das Gerät nimmt seine eigentliche Funktion nicht auf. Sollte der Test ohne Fehler durchlaufen, sendet der Funk-Schaltaktor ein Funktelegramm mit seiner Statusinformation aus. Damit bei Spannungswiederkehr (etwa nach Netzspannungsausfall oder Abschaltung) nicht alle HomeMatic Aktoren gleichzeitig senden, wartet der Funk-Schaltaktor eine zufällige Verzögerungszeit vor dem Senden. In dieser Zeit blinkt die Geräte-LED langsam orange. Ist die Verzögerungszeit sehr kurz, kann es sein, dass das Blinken kaum wahrnehmbar ist.
10 Wartung und Reinigung
Das Produkt ist wartungsfrei. Überlassen Sie eine Reparatur einer Fachkraft. Reinigen Sie das Produkt mit einem weichen, sauberen, trockenen und fusselfreien Tuch. Für die Entfernung von stärkeren Verschmutzungen kann das Tuch leicht mit lauwarmem Wasser angefeuchtet werden. Verwenden Sie keine lösemittelhaltigen Reinigungsmittel, das Kunststoffgehäuse und die Beschriftung kann dadurch angegriffen werden.
11 Allgemeine Hinweise zum Funkbetrieb
Die Funk-Übertragung wird auf einem nicht exklusiven Übertragungsweg realisiert, weshalb Störungen nicht ausgeschlossen werden können. Weitere Störeinflüsse können hervorgerufen werden durch Schaltvorgänge, Elektromotoren oder defekte Elektrogeräte.

Die Reichweite in Gebäuden kann stark von der im Freifeld abweichen. Außer der Sendeleistung und den Empfangseigenschaften der Empfänger spielen Umwelteinflüsse wie Luftfeuchtigkeit neben baulichen Gegebenheiten vor Ort eine wichtige Rolle.

Wird beim Funk-Schaltaktor mit Leistungsmessung die „gesicherte Übertragung“ (AES) aktiviert, bedeutet dies:
- höheres Kommunikationsaufkommen,
- Aktor-Gruppen können nicht mehr gleichzeitig Befehle ausführen. Weitere Informationen zur gesicherten Übertragung (AES) finden Sie im HomeMatic WebUI Handbuch unter www.homematic.com.
Hiermit erklärt die eQ-3 AG, dass sich dieses Gerät in Übereinstimmung mit den grundlegenden Anforderungen und den anderen relevanten Vorschriften der Richtlinie 1999/5/EG befindet.
Die vollständige Konformitätserklärung finden Sie unter www.homematic.com.
12 Technische Daten
Geräte-Kurzbezeichnung: HM-ES-PMSw1-PI-DN-R5
Versorgungsspannung: 230 V/50 Hz
Stromaufnahme: 10 A max.
Leistungsaufnahme Ruhebetrieb: < 0,6 W
Schutzart: IP20
Umgebungstemperatur: -10 bis +35 °C
Verschmutzungsgrad: 2
Messkategorie: CAT II
Funkfrequenz: 868,3 MHz
Empfängerkategorie: SRD Category 2
Typ. Funk-Freifeldreichweite: > 100 m
Duty Cycle: < 1 % pro h
Max. Schaltleistung: 2300 W
Lastart: ohmsche Last
Lebenserwartung Relais/
Schaltspiele: 40000 (10 A, ohmsche Last)
Relais: Schließer, 1-polig, μ-Kontakt
Schaltertyp: unabhängig montierter Schalter
Betriebsart: S1
Stehstoßspannung: 2500 V
Schutzklasse:
Wirkungsweise: Type 1.B
Abmessungen (B x H x T): 59 x 122 x 40 mm
Gewicht: 167 g
| Messbereich | Auflösung | Genauigkeit | |
| Leistung | 0 bis 2300 W | 0,01 W | 1 % ± 0,03 W* |
| Strom | 0 bis 10 A | 1 mA | 1 % ± 1 mA* |
| Spannung | 200 bis 255 V | 0,1 V | 0,5 % ± 0,1 V |
| Frequenz | 48,72 bis 51,27 Hz | 0,01 Hz | 0,1 % ± 0,01 Hz |
* Frequenzbereich: 2 Hz bis 2 kHz
Technische Änderungen vorbehalten.

Entsorgungshinweis
Gerät nicht im Hausmüll entsorgen! Elektronische Geräte sind entsprechend der Richtlinie über Elektro- und Elektronik-Altgeräte über die örtlichen Sammelstellen für Elektronik-Altgeräte zu entsorgen.

Konformitätshinweis
Das CE-Zeichen ist ein Freiverkehrszeichen, das sich ausschließlich an die Behörden wendet und keine Zusicherung von Eigenschaften beinhaltet.

Bei technischen Fragen zum Gerät, wenden Sie sich bitte an Ihren Fachhändler.
EinfachAnleitung