HMESPMSw1PlDNR5 - Casa intelligente Homematic IP - Manuale utente e istruzioni gratuiti
Trova gratuitamente il manuale del dispositivo HMESPMSw1PlDNR5 Homematic IP in formato PDF.
| Caratteristiche | Dettagli |
|---|---|
| Tipo di prodotto | Sensore di movimento |
| Connettivit\u00e0 | Senza fili, protocollo Homematic IP |
| Alimentazione | Pile (tipo non specificato) |
| Portata di rilevamento | Fino a 12 metri |
| Angolo di rilevamento | 110 gradi |
| Uso interno/esterno | Solo per uso interno |
| Dimensioni | Non specificate |
| Temperatura di esercizio | 0 a 40 6C |
| Manutenzione | Sostituzione delle pile quando necessario |
| Sicurezza | Conforme alle norme di sicurezza elettrica |
| Compatibilit\u00e0 | Compatibile con altri dispositivi Homematic IP |
| Garanzia | 2 anni |
Domande frequenti - HMESPMSw1PlDNR5 Homematic IP
Domande degli utenti su HMESPMSw1PlDNR5 Homematic IP
0 domanda su questo apparecchio. Rispondi a quelle che conosci o fai la tua.
Fai una nuova domanda su questo apparecchio
Scarica le istruzioni per il tuo Casa intelligente in formato PDF gratuitamente! Trova il tuo manuale HMESPMSw1PlDNR5 - Homematic IP e riprendi in mano il tuo dispositivo elettronico. In questa pagina sono pubblicati tutti i documenti necessari per l'utilizzo del tuo dispositivo. HMESPMSw1PlDNR5 del marchio Homematic IP.
MANUALE UTENTE HMESPMSw1PlDNR5 Homematic IP
Istruzioni per l'uso p. 62
Attuatore radio singolo con misurazione di potenza, spina intermedia tipo J
HM-LC-Sw1-PI-DN-R5
Lieferumfang
Anzahl Artikel
1x Attuatore radio HomeMatic singolo con misurazione di potenza, spina intermedia tipo J
1x Istruzioni per l'uso
- Edizione in italiano 10/2014
Documentazione © 2014 eQ-3 AG, Germania
Tutti i diritti riservati. È vietata la riproduzione di questo manuale o di sue parti in qualsiasi forma o la sua duplicazione o modifica con l'utilizzo di processi elettronici, meccanici o chimici senza la previa approvazione scritta da parte del produttore.
Non si escludono imperfezioni dovute alla tecnica di stampa o errori di stampa in questo manuale. Le informazioni qui contenute sono comunque costantemente verificate e le eventuali correzioni sono rese note nell'edizione successiva. Si declina qualsiasi responsabilità per errori di tipo tecnico o di stampa e per le loro conseguenze.
Sono riconosciuti tutti i marchi depositati e i diritti d'autore.
Stampato ad Hong Kong.
Possono aver luogo modifiche ai sensi dello sviluppo tecnico e senza preavviso.
141186 / V 1.0
62
Indice
1 Note su queste istruzioni ....64
2 Indicazioni sui pericoli 64
3 Funzione e vista d'insieme dell'apparecchio .....67
4 Informazione generale di sistema sull'HomeMatic. 68
5 Messa in funzione 69
5.1 Semplici funzioni di impiego sull'apparecchio .....69
5.2 Apprendimento....69
5.2.1 Apprendimento ad apparecchi HomeMatic ..... 70
5.2.2 Apprendimento a una centrale HomeMatic .....71
6 Commutazione condizionata 74
7 Ripristino delle impostazioni di fabbrica....75
8 Messaggi di errore e feedback del LED dell'apparecchio . . . .76
8.1 Codici lampeggio 76
8.2 Duty Cycle 77
9 Comportamento dopo il ritorno della tensione .....78
10 Manutenzione e pulizia....79
11 Informazioni generali sul servizio radio .....79
12 Dati tecnici 80
1 Note su queste istruzioni
Leggere attentamente queste istruzioni prima di mettere in funzione i componenti HomeMatic. Conservare questo manuale per future consultazioni! Se si affida l'utilizzo dell'apparecchio ad altre persone si prega di consegnare anche queste istruzioni per l'uso.
Simboli impiegati:

Attenzione! Qui è segnalato un pericolo.

Nota. Questo paragrafo contiene altre informazioni importanti!

Nota. Questo capitolo contiene inoltre altre importanti informazioni sull'impiego dell'apparecchio in collegamento alla centrale HomeMatic.
2 Indicazioni sui pericoli

Per danni materiali o corporali, causati da un utilizzo improprio o dalla mancata osservanza delle indicazioni sui pericoli, non assumiamo alcuna responsabilità. In suddetti casi si estingue ogni rivendicazione di garanzia! Per danni indiretti non assumiamo alcuna responsabilità!

Non aprire mai l'apparecchio: non contiene parti che possono essere riparate. L'apertura dell'apparecchio comporta il pericolo di una scossa elettrica. In caso di danni inviarlo al servizio assistenza.

Non utilizzare l'apparecchio se dall'esterno siano riconoscibili danni, ad esempio sulla scatola, su elementi di controllo o sulle prese o vi sia un guasto funzionale. In caso di dubbio far controllare l'apparecchio da un tecnico specializzato o dal nostro servizio assistenza.

Per ragioni di sicurezza o di omologazione (CE) non sono ammesse modifiche costruttive o di altro genere del prodotto.

Impiegare l'apparecchio solo in ambienti interni e non esporlo a umidità, a vibrazioni, a irradiazioni solari permanenti o ad altre fonti di calore, al freddo e a sollecitazioni meccaniche.

L'apparecchio non è un giocattolo, evitare pertanto che bambini ne facciano un tale uso. Non lasciare incustoditi il materiale di imballaggio, le pellicole/i sacchetti di plastica, le parti di polistirolo, ecc., potrebbero diventare un pericoloso giocattolo per i bambini.

Prima del collegamento di un'utenza fare attenzione ai dati tecnici, in particolare alla potenza d'interruzione massima ammessa del relè e al tipo di utenza da collegare! Tutte le indicazioni di carico si riferiscono a carichi ohmici! Caricare l'apparecchio solo fino al limite della capacità indicato. Un sovraccarico può comportare la sua distruzione, un incendio o un infortunio elettrico.

L'apparecchio deve essere collegato solo a una presa di rete facilmente accessibile In caso di pericolo l'apparecchio va staccato dalla presa di rete.

Impiegare la spina intermedia HomeMatic sono in prese di rete fisse con contatti di protezione, non in prese multiple o cavi di prolunga.

Non collegare apparecchi terminali alla spina intermedia HomeMatic, la cui accensione inavvertita potrebbe causare incendi o altri danni (ad esempio in un ferro da stiro).

Staccare di principio la spina dell'apparecchio da quella intermedia HomeMatic prima di apportare modifiche all'apparecchio stesso (ad esempio se si sostituisce la lampadina).
Indicazioni sui pericoli
Funzione e vista d'insieme dell'apparecchio

Posare i cavi in modo tale che non provochino situazioni di pericolo per le persone e gli animali domestici.

L'apparecchio non è idoneo all'attivazione. Il carico non è scollegato dalla rete in modo galvanico.

Pulirlo solo dopo la rimozione dalla presa con un panno di lino asciutto, che può essere inumidito in caso di sporco ostinato. Per la pulizia non usare detergenti che contengano solventi. Fare attenzione che non penetri umidità all'interno dell'apparecchio.

Qualsiasi altro impiego non descritto nelle presenti istruzioni per l'uso non è conforme alle disposizioni e comporta l'esclusione della responsabilità e la perdita dei diritti di garanzia. Questo vale anche per ricostruzioni e modifiche. L'apparecchio è stato concepito solo per uso privato.

Le spine intermedie HomeMatic non devono essere inserite una dopo l'altra.

Apparecchi con alimentatori elettronici (ad esempio televisori o lampadine a LED ad alto voltaggio) non configurano alcun carico ohmico. Essi possono determinare correnti di transitorio superiori a 100 A. L'inserimento di tali utenze comporta una prematura usura dell'attuatore.

L'apparecchio è adatto solo all'impiego in ambienti abitativi o analoghi.
3 Funzione e vista d'insieme dell'apparecchio
Con l'attuatore radio HomeMatic singolo, con misurazione di potenza nella scatola della spina intermedia, possono essere accese o spente utenze collegate (ad es. l'asciugabiancheria) oppure altri apparecchi HomeMatic associati (ad es. regolatori luminosi) e misurato il consumo di energia di dette utenze (fino a 2300 watt (10 A)).
L'attuatore radio HomeMatic con misurazione di potenza abbina in un apparecchio due funzionalità:
• attivazione di utenze collegate
- misurazione di tensione, corrente, potenza attiva, frequenza e consumo di energia
Mediante il canale di commutazione possono essere accese o spente le utenze collegate. Mediante i canali sensori si ha inoltre la possibilità di accendere o spegnere apparecchi Home Matic associati e utenze collegate.
Il canale di misurazione è provvisto di un'apposita funzione e di una possibilità di trasmissione di dati misurati (ad es. tensione, corrente, potenza attiva, frequenza e consumo di energia) alla centrale Home-Matic. Nel sistema HomeMatic i valori misurati possono essere trasmessi ciclicamente alla relativa centrale e visualizzati graficamente nella superficie d'impiego WebUI della CCU2. Sull'apparecchio non viene memorizzato alcun dato di misurazione.

Tutte le funzioni dell'apparecchio possono essere configurate in abbinamento con una CCU2 mediante la superficie d'impiego WebUI. Sono possibili anche l'installazione e la configurazione dell'apparecchio con l'apposito adattatore HomeMatic.

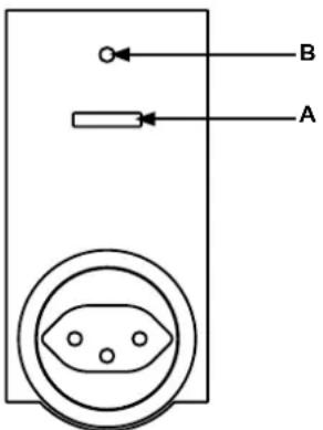
text_image
B A(A) - Pulsante canali
(B) - LED apparecchio
4 Informazione generale di sistema sull'HomeMatic
Questo apparecchio è parte del sistema di comando in casa e funziona con il protocollo radio bidirezionale BidCoS®.
Tutti gli apparecchi sono forniti di una configurazione standard. La sua funzione è inoltre configurabile mediante un apparecchio di programmazione e software. Quale ulteriore entità di funzionamento ne risulti e quali funzioni supplementari risultino nel sistema HomeMatic, nella combinazione con altri componenti, è riportato veda nel manuale HomeMatic WebUI.
Tutta la documentazione tecnica e gli update sono sempre attualizzati nel campo di download al sito www.homematic.com.
5 Messa in funzione
5.1 Semplici funzioni di impiego sull'apparecchio
- Inserire nella presa l'attuatore radio con misurazione di potenza.
L'apparecchio è subito pronto per l'uso e può essere assegnato a una centrale HomeMatic (oppure ad altri apparecchi HomeMatic).
L'apparecchio è dotato di un pulsante canali (A), che con una breve pressione può essere impiegato per il comando (accensione o spegnimento) di utenze collegate.
Per utilizzare nella sua funzionalità completa l'apparecchio nel proprio sistema HomeMatic e poter comandare via radio utenze o apparecchi HomeMatic, l'apparecchio deve essere dapprima associato (cfr. capitolo „5.2 Apprendimento“ a pagina 69).
5.2 Apprendimento

Leggere fino alla fine questo paragrafo prima di iniziare l'apprendimento.
Per integrare l'attuatore radio con misurazione di potenza nel sistema HomeMatic e affinché possa comunicare con altri componenti HomeMatic (ad esempio un telecomando radio HomeMatic) l'apparecchio deve essere dapprima assegnato. L'attuatore radio con misurazione di potenza può essere associato ad altri apparecchi HomeMatic o alla centrale HomeMatic:

Connessioni dirette dell'apparecchio nell'attuatore radio con misurazione di potenza sono possibili soltanto con il canale di commutazione (v. capitolo „5.2.1 Apprendimento ad apparecchi HomeMatic“ a pagina 70). Connessioni con il canale di misurazione devono essere eseguite con una centrale o un adattatore di configurazione (v. capitolo „5.2.2 Apprendimento a una centrale HomeMatic“ a pagina 71).
Messa in funzione
Messa in funzione
5.2.1 Apprendimento ad apparecchi HomeMatic
Se si desidera associare l'attuatore radio con misurazione di potenza a uno o più apparecchi, è necessari portare i due apparecchi da collegare nella modalità di apprendimento. Procedere nel modo seguente:

Nell'operazione mantenere una distanza minima di 50 cm fra gli apparecchi HomeMatic.
Attivare dapprima la modalità di apprendimento sull'attuatore radio con misurazione di potenza.
- Tenere premuto il pulsante (A) per almeno 4 secondi. Un lampeggio lento arancione del LED dell'apparecchio (B) segnala la modalità di apprendimento. Il tempo di apprendimento ammonta a max. 20 secondi.

text_image
> > 4 s- Portare ora l'apparecchio, che si desidera associare all'attuatore radio con misurazione di potenza (ad esempio un telecomando radio HomeMatic, v. figura che segue), nella modalità di apprendimento. Togliere la copertura del vano battere e premere brevemente con un oggetto appuntito sul tasto di apprendimento.

Se la procedura ha avuto esito positivo, il LED dell'apparecchio (B) dell'attuatore radio con misurazione di potenza emette per un secondo una luce verde. Qualora non sia stato possibile associare fra loro gli apparecchi, il LED dell'apparecchio emette per due secondi una luce rossa. Ripetere la procedura.
Una volta eseguito l'apprendimento, le utenze collegate possono essere accese o spente mediante l'attuatore radio con misurazione di potenza, ad es. con un telecomando radio HomeMatic.

Se l'apprendimento non viene eseguito, la relativa modalità viene ultimata automaticamente dopo 20 secondi. Se altri apparecchi si trovano in tale modalità, gli stessi vengono associati.
5.2.2 Apprendimento a una centrale HomeMatic
Per comandare e configurare su base software e agevolmente
- l'apparecchio,
• collegarlo direttamente ad altri apparecchi o
• per poterlo usare in programmi della centrale,
Messa in funzione
è dapprima necessario associarlo alla centrale HomeMatic. L'apprendimento di nuovi apparecchi alla centrale ha luogo tramite la superficie d'impiego "WebUI".

Non appena un apparecchio è associato a una centrale, mediante quest'ultima può essere collegato ad altri apparecchi.

Ogni apparecchio può essere associato solo a una centrale.

Nell'operazione mantenere una distanza minima di 50 cm fra gli apparecchi HomeMatic e la centrale.
Per l'apprendimento dell'apparecchio alla centrale procedere nel modo che segue:
- aprire la superficie di comando WebUI nel navigatore. Cliccare sul pulsante "Teach-in devices" (apprendimento apparecchi) nel settore destro dello schermo.

- Per attivare la modalità di apprendimento, nella finestra successiva cliccare su "Start teach-in mode" (modalità di apprendimento BidCoS-RF).
Messa in funzione

- La modalità di apprendimento rimane attiva per 60 secondi. Il campo delle informazioni visualizza il tempo di apprendimento restante. - Entro tale intervallo portare anche l'attuatore radio con misurazione di potenza nella modalità apprendimento. Tenere premuto il pulsante (A) per almeno 4 secondi. Un lampeggio lento del LED dell'apparecchio (B) segnala la modalità di apprendimento.

text_image
>4 s- Dopo breve tempo compare l'apparecchio di nuovo associato nella posta in entrata della superficie di comando. Il pulsante "Posta in entrata" visualizza quanti apparecchi sono stati associati. - Se necessario associare altri apparecchi ripetendo per ognuno di essi i passaggi precedentemente descritti.
Commutazione condizionata
- Configurare gli apparecchi di nuovo associati nella posta in entrata come descritto nel paragrafo „Configurazione di apparecchi di nuovo associati“.
Configurazione di apparecchi di nuovo associati
Dopo che l'attuatore radio è stato associato alla centrale HomeMatic, lo stesso viene spostato nella "Posta in entrata". Qui l'apparecchio e i relativi canali devono essere dapprima configurati in modo che siano disponibili i compiti di comando e di configurazione. Dare un nome e attribuire l'apparecchio o i canali a un locale. Vi è inoltre la possibilità di eseguire impostazioni singole di parametri.
Di seguito è possibile comandare e configurare l'apparecchio mediante la WebUI, connetterlo direttamente ad altri apparecchi, impiegarlo in programmi della centrale e farsi visualizzare i valori misurati di utenze collegate. Particolari in proposito sono riportati nel manuale WebUI di HomeMatic (disponibili nel campo di download della pagina www.homematic.com).
6 Commutazione condizionata
Tramite la funzione “commutazione condizionata” possono essere commutati utenze collegate o altri apparecchi HomeMatic se è soddisfatta una determinata condizione.
Esempio In cantina si è collegato un asciugabiancheria in abbinamento con l'attuatore radio con misurazione di potenza e si desidera sapere, mediante un segnale audio, quando l'asciugatura sia conclusa. A tale scopo si ha la possibilità di connettere attraverso la centrale l'attuatore radio con misurazione di potenza con un gong via radio MP3 HomeMatic:
non appena l'asciugabiancheria consuma ad. es meno di 100 w deve essere spento. Deve inoltre essere emesso un segnale audio mediante il gong via radio MP3 HomeMatic. Se la soglia di potenza impostata non è raggiunta (ad es. < 100 w), l'attuatore radio con misurazione di poten-
Ripristino delle impostazioni di fabbrica
za invia un comando condizionato al gong radio MP3 e i valori misurati dell'asciugabiancheria alla centrale. Il gong via radio MP3 invia il segna-le richiesto e si apprende che l'asciugabiancheria ha finito.

flowchart
graph TD
A["Corridoio"] -->|Segnale audio| B["Cucina"]
B --> C["Scantinato"]
C -->|Valore di misura| D["< 100 W"]
D --> E["lm"]
style A fill:#f9f,stroke:#333
style B fill:#bbf,stroke:#333
style C fill:#bfb,stroke:#333
style D fill:#ffb,stroke:#333
style E fill:#fff,stroke:#333
7 Ripristino delle impostazioni di fabbrica
Le impostazioni di fabbrica dell'attuatore radio possono essere ripristi- nate. In questo caso tutte le impostazioni e informazioni vanno perse.

Prima di ripristinare le impostazioni di fabbrica dell'apparecchio, cancellarlo dalla superficie d'impiego HomeMatic WebUI.
Per sostituire le batterie procedere come segue:
- tenere premuto il pulsante canali (A) per almeno quattro secondi fino a che il LED dell'apparecchio (B) non inizia a lampeggiare lentamente in arancione.
- Rilasciare il tasto.
Messaggi di errore e feedback del LED dell'apparecchio

text_image
> > 4 s- Premere di nuovo il pulsante canali (A) per quattro secondi fino a che il LED dell'apparecchio (B) non comincia a lampeggiare velocemente in rosso.
- Rilasciare il tasto.
• II LED dell'apparecchio si spegne.
• Le impostazioni di fabbrica sono ora ripristinate.
8 Messaggi di errore e feedback del LED dell'apparecchio
8.1 Codici lampeggio
| Sequenza Significato | Soluzione | |
| Lampeggio lento arancione | Modalità di apprendimento attiva | Portare il partner da assegnare nella modalità di apprendimento. |
| Lampeggio veloce arancione | Scambio di dati con il partner da assegnare | Attendere la conferma del LED dell'apparecchio. |
Messaggi di errore e feedback del LED dell'apparecchio
| 1 s di luce verde Procedura di apprendimento eseguita | Ora è possibile passare alla procedura successiva. | |
| 2 s di luce rossa Procedura di apprendimento non eseguita | Ripetere la procedura. | |
| Lampeggio lento arancione | Stadio iniziale per il ripristino alle impostazioni di fabbrica | L'apparecchio attende una pressione pro-lungata del pulsante canali per il ripristino o una pressione breve per l'uscita. |
| Lampeggio veloce rosso | Le impostazioni di fabbrica dell'apparecchio vengono ripristinate. | / |
| Breve lampeggio rosso, verde o arancione. | Visualizzazione test del LED il ritorno della tensione | Attendere che il LED dell'apparecchio si spenga. |
| 1 x lampeggio rosso lungo, 1 x lampeggio rosso breve | Raggiunto Duty Cycle | v. capitolo „8.2 Duty Cycle“ a pagina 77 |
| 1 x lampeggio rosso lungo, 2 x lampeggio rosso breve | Apparecchio difettoso | Rivolgersi al proprio rivenditore specializzato. |
8.2 Duty Cycle
Il Duty Cycle descrive una limitazione del tempo di trasmissione, regolata per legge, di apparecchi nella gamma 868 MHz. Scopo di questa regolazione è quello di garantire il funzionamento di tutti gli apparecchi nel campo 868 MHz.
Nel campo di frequenza 868 MHz da noi utilizzato il tempo massimo di trasmissione di ogni apparecchio ammonta all'1 % di un'ora (quindi 36 secondi in un'ora). Al raggiungimento del limite di 1 % gli apparecchi non devono più trasmettere fino a che non è trascorsa la limitazione di tempo. In conformità a questa direttiva, gli apparecchi HomeMatic vengono sviluppati e prodotti al 100 % conformi alle norme.
Nel funzionamento normale il Duty Cycle di regola non viene raggiunto. Questo può tuttavia accadere in casi singoli alla messa in esercizio o alla prima installazione di un sistema a causa di processi di apprendimento amplificati o di intensità radio. Un superamento del limite del Cycle Limits viene visualizzato da un lampeggio, una volta lungo, una volta breve, del LED dell'apparecchio e può manifestarsi con una funzione momentaneamente mancante dell'apparecchio. Dopo breve tempo (max. 1 secondo) la funzione è ripristinata.
9 Comportamento dopo il ritorno della tensi- one
Dopo aver inserito l'apparecchio in una presa o dopo il ritorno della tensione di rete, l'attuatore radio esegue un autotest. Il LED dell'apparecchio LED lampeggia brevemente in rosso, verde e arancione (visualizzazione test del LED). Qualora sia rilevato un errore, ciò è segnalato dal lampeggio del LED dell'apparecchio (v. capitolo „8.2 Duty Cycle“ a pagina 77). Questo si ripete di continuo e l'apparecchio non inizia la sua funzione vera e propria.
Se il test è eseguito senza rilevare errori, l'attuatore invia un telegramma via radio con la sua informazione di stato. Affinché al ritorno della tensione (ad esempio dopo una caduta di tensione di rete o uno spegnimento) non tutti gli attuatori HomeMatic procedano contemporaneamente a un invio, prima di tale invio l'attuatore radio attende un tempo casuale di ritardo. In questo frangente il LED dell'apparecchio lampeggia lentamente in arancione. Se il tempo di ritardo è molto breve, il lampeggio è appena percettibile.
10 Manutenzione e pulizia
Il prodotto è senza manutenzione. In caso di riparazione rivolgersi ad un tecnico specializzato. Pulire la stazione con un panno morbido, pulito, asciutto e senza peluzzi. Per rimuovere segni di sporco maggiori si può inumidire leggermente il panno con acqua tiepida. Non utilizzare detergenti a base solvente che potrebbero danneggiare l'involucro di plastica e le iscrizioni della stazione.
11 Informazioni generali sul servizio radio
La trasmissione radio avviene su un canale di trasmissione non esclusivo; non si possono pertanto escludere segnali di disturbo. Altri disturbi possono essere causati da processi di commutazione, da elettromotori o da apparecchi elettrici difettosi.

La portata all'interno di edifici può essere molto diversa da quella all'aria aperta. Oltre alla prestazione di trasmissione e alle caratteristiche di ricezione del ricevitore, hanno un ruolo molto importante anche i fattori climatici, come p.e. l'umidità, oppure le condizioni architettoniche in luogo.

Se nell'attuatore radio con misurazione di potenza viene attivata la "Trasmissione sicura" (AES) ciò significa:
- maggiore disponibilità di comunicazione,
- i gruppi attuatori non possono più eseguire comandi contemporaneamente.
Altre informazioni sulla trasmissione sicura (AES) sono riportare nel manuale WebUI di HomeMatic al sito www.homematic.com.
Con la presente la eQ-3 AG dichiara che questo apparecchio è conforme ai requisiti base e alle altre prescrizioni rilevanti della normativa 1999/5/EG. La dichiarazione di conformità completa può essere consultata al sito www.homematic.com.
Dati tecnici
Dati tecnici
12 Dati tecnici
Contrassegno dell'apparecchio: HM-ES-PMSw1-PI-DN-R5
Tensione di alimentazione: 230 V / 50 Hz
Corrente assorbita: 10 A max.
Potenza assorbita nel funzionamento a riposo: < 0,6 W
Tipo di protezione: IP20
Temperatura ambiente: -10 e +35 °C
Grado di contaminazione: 2
Categoria di misurazione: CAT II
Radiofrequenza: 868,3 MHz
Categoria di ricezione: SRD category 2
Portata radio tipica all'aperto: > 100 m
Duty Cycle: < 1 % per h
Potenza di interruzione massima: 2300 w
Tipo di carico: carico ohmico
Previsione di durata relè/
Periodicità di avviamento: 40000 (10 A, carico ohmico)
Relè: Contatto di chiusura, a 1 polo, μ-contact
Tipo di interruttore: interruttore montato indipendente
Modalità operativa: S1
Tensione di tenuta a impulso: 2500 V
Classe di protezione:
Modo di azione: Type 1 B
Dimensioni (L x A x P): 59 x 122 x 40 mm (senza spina)
Peso: 167 g
| Campo di misura | Risoluzione | Precisione | |
| Rendimento | da 0 a 2300 W | 0,01 W | 1 % ± 0,03 W* |
| Corrente | da 0 a 10 A | 1 mA | 1 % ± 1 mA* |
| Tensione | da 200 a 255 V | 0,1 V | 0,5 % ± 0,1 V |
| Frequenza | da 48,72 a 51,27 Hz | 0,01 Hz | 0,1 % ± 0,01 Hz |
* Campo di frequenza: da 2 Hz a 2 kHz
Con riserva di modifiche tecniche.

Indicazioni di smaltimento
Non smaltire l'apparecchio con i rifiuti domestici! Gli apparecchi elettronici devono essere smaltiti in conformità con la normativa sugli apparecchi elettrici ed elettronici usati ed essere consegnati presso un apposito centro di raccolta.

Dichiarazione di conformità
Il marchio CE è un contrassegno del mercato libero che si rivolge esclusivamente agli enti ufficiali e che non rappresenta una garanzia delle caratteristiche.

In caso di domande tecniche sull'apparecchio, si prega di rivolgersi al proprio rivenditore specializzato.
Bevollmächtigter des Herstellers: Manufacturer's authorised representative:

text_image
eQ3EeQ-3 AG
Maiburger Straße 29
26789 Leer / GERMANY
www.eQ-3.de
ManualeFacile