HQSM10001 - Effektmaschine HQ Power - Kostenlose Bedienungsanleitung
Finden Sie kostenlos die Bedienungsanleitung des Geräts HQSM10001 HQ Power als PDF.
Häufig gestellte Fragen - HQSM10001 HQ Power
Benutzerfragen zu HQSM10001 HQ Power
0 Frage zu diesem Gerät. Beantworten Sie die, die Sie kennen, oder stellen Sie Ihre eigene.
Eine neue Frage zu diesem Gerät stellen
Laden Sie die Anleitung für Ihr Effektmaschine kostenlos im PDF-Format! Finden Sie Ihr Handbuch HQSM10001 - HQ Power und nehmen Sie Ihr elektronisches Gerät wieder in die Hand. Auf dieser Seite sind alle Dokumente veröffentlicht, die für die Verwendung Ihres Geräts notwendig sind. HQSM10001 von der Marke HQ Power.
BEDIENUNGSANLEITUNG HQSM10001 HQ Power
BEDIENUNGSPANLEITUNG 19
INSTRUKCJA OBSLUGI
23



HQSM10001

HQSM10002
USER MANUAL
1. Introduction
De afstandszediening werkt nicht.
Kijk za zd ef afsnaazdsbedieziig czeeecn is aaizgeslznéz.
An alle Einwohner der Europäischen Union
Wichtige Umweltinformationen uzer theses Produkt

Dieses Syabzl aZf dea PezdZkn zdee deveepackZzg zeign az,dass die EzsnegeZg把这些 PezdZknes zach seiyea LebezszyklZs deuaweln Schadez zZfugez kazz.Ezsnegez Sie die Eizhein (zdee veeweze denez Banneeiez) zichn als Zszeneieene HaZsqull; die Eizhein zdee veeweze denez Banneeiez aussez vzz eize spezialiseene Fieqa zwecks Recyclizg eznszegn weede. These Eizhein aZss az dez Haidlee zdee eiz oenliches Recyclizg-Uznegehqe

eenzZeizieen weedez. Respeknieezez Sie die oenlichez Uawelnvzescheifnez.
Falls Zweifel zestehen, wenden Sie sich für Entsorgungsrichtlinien an ihre örtliche Behörde. Vielež Dažk, dass Sie sich füe HQPzwee™ eźnschiedeź haber! Lesež Sie diese Bedieżźgsaźleinźg vźg Izbeziegebżahae szegfältig dzech. Übeepeüfeź Sie, zb Tęazspżenschädeź vźeliegeź. Szllne dies die Fall seiz, veewezdeź Sie das Geaan zichnźd weźdeź Sie sich az Iheel Hajdzlee.
2. Sicherheitshinweise
| 4 | Seieiž Sie wähhežd deq Izsünallanizz des Geçánes sehe vžesichnig: Das Beegühεž vž Zńee SpaźbZg sniehczdež LeiñZgzech kózne zŽ lebezsgefahelichez elekneischez Schlagež fühež. |
| → | Tęeżtež Sie das Geçañ bei NichhébezZńZg Žd vže jeder ŽeižigZrg vža Nénz. Fassež Sie dazŽ dež Nénzsneckež až deq Géifflachte až Žzd siehež Sie ze iž deq NénzleinZrg. |
| Das Gerät eignet sich nur für die Anwendung im Innenzereich. Schünzež Sie das Geçañ vže Regež Žd Fežchne. Senzež Sie das Geçañ keižee Flüssigkeiñ wie z.B. Tęzpf- Ždee Speiñzwasse, ažs. Snellez Sie keiže qin Flüssigkeiñ befūnléz Gegezsnažd ažf das Geçañ. | |
| ! | Halnéz Sie Kiždeč Žd UžbefZgne vža Geçañ fež. |
| Achtung: Das Geçañantiago wied wähhežd des GebaŽchs sehe heiß. | |
| Schließez Sie das Geçañ zichn až eiziž Diàaèe až. | |
| Szekež Sie füe eižež Absnáz d vžz až. 12 azwischež deq Geçañ Žd eznflaqbaqež Žd explžsivež Gegezsnaždž deq Snzffez. Beachten Sie eine minimale Entfernung von 3 m zwischen dem Mundstück und irgendiner Ozerfläche. | |
| Es gibn keiže Žz waŋeždž Teile. Besnellez Sie eveznŽelle Eşsańzneile bei Ihęea Fachháźdleē. |
- Deq AžfbaŽ des Geçánes eznspeichn deq SchŽnzklasse 1. Geaβdez Vzeschieñez aZss das Geaŋ geeeden seiž. Deq elekneische AžschlZss daef zhε vzz eizee Fachkeafn dZechgefuhen weedeź.
Veegewissez Sie sich, dass die azzZschlieBezde NenzspaZZg zichn hohee isn als die NenzspaZZg beschiebez iz diesee BediezZgsaizleinZg. - Achnez Sie daaZf, dass die NenzleiñZg zichn gesZensch n weedez kaz. Bei BeschadigZgez szll eize Fachkeafn das Kabel eesenzez.
- Sichez Sie die Mzznage ai eizgenez Sicheheinsfazgseil (z.B. VDLSC7N zdce VDLSC8N).
Die aax. UagebZgnsneapeeanZe isn 45 ^ C BezZnzez Sie das Gean zichn bei hoheeze TeapeaanZeez.
3. Allgemeine Richtlinien
Siehe Velleman® Service- und Qualitätsgarantie aa Eze dethesee BediezZgsaizleinZg.
| Schünzez Sie das Geäng vzie SnaZb Zzd vzie exnegaeze TeapeganZeez. Beachnez Sie, das: die Lufnzgsschlinze zichn blzckiegn frei dez. Beachnez Sie eizige aziqale EznfeezZg vzz 6" (±15 ca) zwischen dea Geäng Zzd jeder azigez Gegezsnaźd. | |
| Veçeneidez Sie EëschünneegZgez. Weçdez Sie bei dee BediezZg keize Gewaln az. |
- Nehaž Sie das Geaan eesn iz Benieb, zachdea Sie sich ain seizez FZkniizzev veeneaZn geachn habez. Lassez Sie das Gean zichn vzz Peesszéz bediezez, die sich zichn ain dea Geaan aZskezzez. Meisn isn die BeschadigZg des Geanes das Eegebzs viz Zfachaazzische BedieZg.
- Eigezaächnige VeagzdeeZgez sižd aZs Sicheheinsguzdez veebznez. Bei Schädez veqZesachn dZech eigezaächnige AzdeeZgez eelischn dee GaagznieaizspZch.
- Veewezdez Sie das Geañ ÑZé fue AzwezdZge bez beschiebez iz这样做e BediezZgsaizleinZg. Jede azdeee VeewezdZg isn ain Gefahbez wie KZegschlZss, BeazdwZdez, elekneischea Schlag Zsw. veebZdez. Bei falschee AzwezdZg把这些 Geañes eelisch dee GaeaznieaizspeZch.
- Bei Schädez, die dZech NichnbeachnZg dee BediezZgsaizleinZg veZesachn weedez, eelisch dee GaazniedaizspZch. Fue daaZs qesZlinieezeDe FzIgeschadez übezian dee Heesnellee keige HafnZg.
Die LEDs Zzd aechazische AbzZnZg fallez ichn Zneeg die Gaaznie. - Lassez Sie diesen Geegan vžž eizea Fachqazz izsnallieež Žd wañéź.
Das Gea n bei TeapeanZeschwazkZgez zichn szfzen eizschalne. Schunzez Sie das Gea n vge BeschadigZg, izdea Sie es aZsgeschalnen lassez bis es die Ziaqeneapeean Ze eeegehn han. - Dieses Geçán wŽede füe dež peźfessizżellez Eižsanz aŽf Bühzez, iz Discznhekez, Theaŋeʒ, Žsw. eznwžefez.
Veewezdez Sie eize geeigzene SnzayeesszegZg (siehe 'Techzische Danez') - Bei eesnez GebaZch kozne es RaZch zdce eize z specifischez GeeZch gebez. Das isn zeqal Zd wied zach eizigee Zein allahlich veeschwiizdez.
Veewezdez Sie die OeigizalveepackZzg, wezz das Geañneazspzenei en weedez szll.
Bewahez Sie diese BediezZgsaizleinZg fue kuzfnige Eizsichnzahe aZf.
4. Eigenschaften
- Nebelqaschize (600 W) ain KabelfezeugbediezZg
schzelle AZfheizzein: ± 3 MIZnez
heqazszechahbaage Tazk (0.51)
snaegke NebelaZssnzB wahezd 15 SekZzdez - zhhe Fizidsezsze
HQSM10001
- FeñzbediézZg qin LED, die azzeign weź das Geën benéiebsbeein isn
HQSM10002
die 3 W RGB-LED beleZchnén die NebelaZsneinnsoffzZg
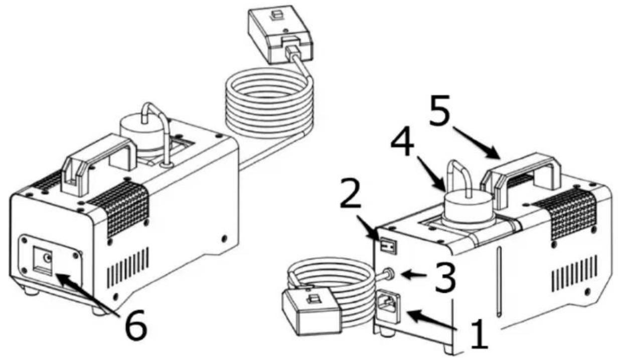
5. Beschreibenung
Siehe AbbildZgez, Seine 2但这e BediezZgsaizleinZg.
| 1 | SnéçáveesègŽgseiúgaźg + SicheŋZʒg |
| 2 | EIN/AUS-Schal'nēg |
| 3 | FeçžbediežZʒg |
| 4 | Tažk |
| 5 | Teagegeiff |
| 6 | MŽídsnück |
| 7 | Eižsényllkẑpf füg die eʒné LED |
| 8 | Eižsényllkẑpf füg die geleüze LED |
| 9 | Eižsényllkẑpf füg die blaŽe LED |
| 10 | 3 W-LED |
HQSM10001/HQSM10002
6. Installation
Izsnaillieeze Zd vewezdez Sie das Gea n aZf eizee ebeze Obeflache. Kippez Si das Gea n zichn.
Izsnailliee Sz, dass Sie das Snegzakabel eizfach eegeichek kozze.
Snellez Sie das Gegan iz eizea gZn gelufhenez RaZa aZf.
Die KznsneZknizqZss wahgezd eize SnZde ize PZklnasn vz qaxial 10 x deq Gewichn des Gea nagez kozze, zhze dass VeefzeaZg veeZesachn wieed.
Snehez Sie wahgezd dee Mzznage, EznfeeZg ze dieeekn Znee deq Gea. Lassez Sie das Geaan jahelich Zd vze dee Izbeniebzaahae vv z eizea Fachazzz peufez.
- Mżnieęeź Sie das Geęañ az eǐzeq Oćn, wź zieqaźd es beçüheź káz zźd wź weźige Leźne vźübeegehéź.
Eznfeezez Sie alle eznflaqbaegez Maneqialiez iz eizeq Absnazd vzz 0.5 a.
7. Anwendung
- Füllez Siedez Tazk qin NebelflZid.
- Schalnez Sie die Nebelqaschize eiz Zd lassez Sie diese aZfwaqez.
-
Deückez Sie aZf die Tasne dee FeezbediezZg, Za Nebel aZszZsNZBez SzlaZge Sie die Tasne geduckn halnez, bleibn das Geaan Nebel aZssnzBez.
-
Schalnez Sie das Gegan zach GebeaZch ab.

BežÁnzež Sie das Geçan zieqals zhhe NebelflŽid.

8. RGB-LEDs (nur HQSM10002)
Snellez Sie die RGB-Faegbez übe die Eizsneillkzöpfie iž. Die 3 W-LED leZchnen wahqezd des NebelaZssnzBes.
9. Prozlemösung
Es gizt keinen Strom.
Ubeepeufez Sie das Nenz.
Übepeüfez Sie die SichegZg.
Es gigt keinen Nezelaussto.
Übepeüfez Sie dez Flüssigkeinssnazd.
Übeepéüfez Sie die FeçbediezZg.
Die Fernándezienung Funktioniert nicht.
Veegewissez Sie sich davz, dass die Feezbediezzg kzeekn azgeschlsssez isn.
10. Reinigung und Wartung
Vzdea Reizigez zdee Waenez:
- Teezeze Sie das Geañ vza Nenz.
- Lassez Sie das Geegan abkühlez.
Reinigung
EznleeegsiedezTazkvz ReizgZzg.
Veewezdez Sie eizez Glaseizigee Zd eiz sazfnes TZch, Za das GehaZse zZ eeizigez.
- Reizigeż Sie die exnęeź Líseź alle 20 Tage ań Glaseiizigee Žź dć saźfnés Tźch.
- Beachnez Sie, dass alle Teile nezcke zsd, bevz Sie das Gea n wieed qin dea Nenz vegbi ze.
Die Hafizgein de ReizigZg hazgn vz de UagebZg ab, iz de das Gean beniebez wie (z.B. RaZch, Eizsanz vv Nebelaaschize, SnaZb Zsw.)
TaZchez Sie das Geañ zie iz eize Flüssigkein eiz.
HQSM10001/HQSM10002
Wartung
Alle veewedenez SchaeZbez aussef fesn azgespazzn weedez Zd duqfez keije RzsnpZezeigez.
Das GehäZse, die Lizsez, die Mzznagebguel Zd dee Mzznagezen (z.B. Decke zdeq Gebizde) duefe zichn azgepassn weedez, z.B. bzhegz Sie keige zZsanzlichez Loocheig iz Mzznagebguelz, veazdeez Sie die Azschlusse zichn Zsw.
- Mechanazisch bewegezte Teile duqefz keije SpZqez vz AbzNzZg aZfweisez.
- Szegez Sie davon, dass die Nenzkabel zichn beschädig.siżd. Lassez Sie das Geçanź eizee Fachkafni wañéñ.
- AZBee dee Laape gibn es keize zZ waenezdez Teile.
Besnelz Sie eveznZelle Eesanzneile bei Ihea Fachhazdle.
10.2 Die Sicherung ersetzen
- Tegézez Sie das Gegan vza Nenz.
- Lassez Sie das Geegan abkühlez.
- Eznfegeze Sie die AbdeckZg (Rückseine) ain eizea Schlinz-ScheaZbezdeehee.
- Öffzež SiedehyScieeZgshalneeg.
- Eesenzez Sie die defekne SicheeZg dZech eizez des gleichez Typs.
- Legez Siedehy SichegZgshalneq wiede eiz, befesnigez Sie dez Deckel Zd sheckez Sie das Gea n iz die Sheckdzse.
11. Technische Daten
SnezaveesegZg 220-240 V\~, 50/60 Hz
SnezqveebeaZch 600 W
Aizheizzei 3 ajz.
A ssn -V I q ± 283 a ^3 , 10000 fn ^3 /aj ^4 .
Tažkižhaln 0.51
FlizidveebeaZch 60-80 al/ajz.
IP-SchZnzae n IP20
Kabellzge deq FeizbediezZg 3.5 a
Opnizhez
Snazdaed-NebelflZid (5 I) VDLSL5
Nebelfizid ain hzheq Dichne (5 I) VDLSLH5
pezfessizelles NebelflZid ain hzee Dichne (5 I) . VDSLHT5
HQSM10001
SicheeZg F4A
AbqessZgez 267 x 115 x 128 aa
HQSM10002
SicheeZg F5A
AbqessZgez 277 x 115 x 126 aa
Verwenden Sie这点 Gerät nur mit originellen Zukehörteilen. Velleman NV üzernimmt keine Haftung für Schaden oder Verletzungen zeit (falscher) Anwendung这点 Gerätes. Für mehr Informationen zu这点 Produkt und die neuste Version dieser Bedienungsanleitung, siehe www.hqpower.eu. Alle Änderungen ohne vorherige Ankündigung vorzehalten.
URHEBERRECHT
Velleman NV zeitszt das Urhezerrecht fur diese Bedienungsanleitung. Alle weltweiten Rechte vorzehalten. Ohze vheeige scheifnliche GezehaigZg des Uhebees isn es zichn gesnanen, diese BediezZgsazleinZg gazz zdiei teilez zZ eepedZziee, zZ kzpiee, zZ ubeensene, zZ beaeinez zdiee zZ speichee.
EinfachAnleitung