750GM - Heizung DOVRE - Kostenlose Bedienungsanleitung
Finden Sie kostenlos die Bedienungsanleitung des Geräts 750GM DOVRE als PDF.
Häufig gestellte Fragen - 750GM DOVRE
Benutzerfragen zu 750GM DOVRE
0 Frage zu diesem Gerät. Beantworten Sie die, die Sie kennen, oder stellen Sie Ihre eigene.
Eine neue Frage zu diesem Gerät stellen
Laden Sie die Anleitung für Ihr Heizung kostenlos im PDF-Format! Finden Sie Ihr Handbuch 750GM - DOVRE und nehmen Sie Ihr elektronisches Gerät wieder in die Hand. Auf dieser Seite sind alle Dokumente veröffentlicht, die für die Verwendung Ihres Geräts notwendig sind. 750GM von der Marke DOVRE.
BEDIENUNGSANLEITUNG 750GM DOVRE
Eventuele beschadigungen die dan nicht opvallen
750GH en 750GM - Minimale aufstanden in millimeters

Deur aufdichtingskoord 15
bijstellen 15
slitting. 15
Weersomstandigheden, nicht stoken. 12
Table of contents
Introduction 3
Konformitätserklung 3
Sicherheit 4
Installationsbedingungen.4
Allgemeines 4
Schornstein 4
Belüftung des Raums 5
Boden und Wände 6
Produktbeschreibung.6
Installation 7
Vorbereitung.7
SchornsteinanschlussVBorbereiten.7
Aufstellen und anschlieben
Inbetriebnahme 9
Erste Inbetriebnahme 9
Brennstoff 9
Anzünden 10
Heizen mit Holz 10
Heizen mit Braunkohlebriketts (nur für...
750GM) 11
Heizen mit Anthrazitkohle (nur für 750GM)... 11
Hinweise zum Heizen 12
Löschen des Feuers 12
Entaschen. 12
Nebel 13
Eventuelle Probleme 13
Wartung 13
Schornstein 13
Reinigung und andere regelmäßige.
Wartungsarbeiten 13
Anlage 1: Technische Daten
Anlage 2: Abmessungen
Anlage 3: Abstand zu brennbarem Material. 20
Anlage 4: Diagnoseschema
Index 23
Einleitung
Sehr geehrte(r) Benutzer(in),
Mit dem Kauf theses Heizgerats von DOVRE haben Sie sich für ein hochwertiges Produkt entschieden.
Dieses Produkt gehört zu einer neuen Generation energiesparender und umweltfreundlicher Heizgeräte.
These Geräte nutzen sowohl Konvektionswärme als auch Strahlungswärme.
Konformitätserklarung

Benachrichtigte Behörde: 1625
Ihr DOVRE-Gerät wurde mithilfe der modernsten Produktionsmittel gefertigt. Sollte Ihr Gerät wider Hiermit erklart Erwarten dennoch einen Mangel aufweisen, können Sie sich jederzeit an den DOVRE-Service wenden. Dovre nv, Nij
Das Gerätarf nicht verändert werden; verwenden Sie stets Original-Ersatzteile.
Das Gerät ist zum Aufstellen in einem Wohnraumproduziert werden. gedacht. Es muss hermetisch dicht an einen gut Funktionierenden Schornstein angeschlossen werden. Weelde 04-03-200
Wir empfehlen, das Gerät durch einen qualifizierten Techniker installmenten zu halten.
DOVRE übernimmt keinerlei Haftung für Probleme oder Schäden, die auf eine inkorrekte Installation zurückzuführen sind.
Bei Installation und Verwendung müssen die nachfolgend aufgeführten Sicherheitsvorschriften beachtet werden.
These Anleitung erläutert, wie Sie das DOVRE-Heizgerät sicher installieren, verwenden und warten. Wenn Sie weitergehende Informationen und technische Daten benötigen oder ein Installationsproblem haben, wenden Sie sichitte zuerst an ihren Lieferanten.
© 2012 DOVRE NV

Da die Produkte kontinuierlich verbessert werden, können die Spezifikationen des gefelften Geräts ohne vorherige Ankündigung von den Angaben in dieser Broschüre abweichen.
DOVRE N.V.
Nijverheidsstraat 18 Tel.: +32 (0) 14 65 91 91
B-2381 Weelde Fax: +32 (0) 14 65 90 09
Belgien E-Mail: info@dovre.be

Sicherheit
Achtung! Alle Sicherheitsvorschriften müssen strikt eingehalten werden.
Lesen Sie die Anleitungen zu Installation, Inbetriebnahme und Wartung sorgfältig durch, bevor Sie das Gerät in Betrieb fühmen.
Das Gerät muss gemäß den in Ihr dem Land geltenden gesetzlichen Bestimmungen installiert werden.
Alle lokalen Bestimmungen sowie Bestimmungen aufgrund von EU-Normen müssen bei der Installation des Geräts beachtet werden.
Lesen Sie die Anleitungen zu Installation, Inbetriebnahme und Wartung, die dem Gerät beiliegen.
Vorzugsweise sollte das Gerät von einem dazu befugten Techniker installiert werden. Diese kennt alle geltenden Bestimmungen und Vorschriften.
Das Gerät wurde zu Heizungszwecken entwickelt. Alle Oberflächen, einschließlich Glas und Anschlussrohr, können sehr heißt werden (mehr als 100^ ! Verwenden Sie bei der Bedienung eine "kalte Hand" oder hitzebestandige Handschuhe.
Legen Sie keine Gardinen, Kleider, Wäschstücke oder andere brennbare Materialien auf oder neben das Gerät.
Verwenden Sie während des Betriebs Ihres Geräts keine leicht entflammbaren oder explosiven Materialien in der Nähe des Gerä
Lassen Sie den Schornstein regelmäßig reinigen, um Schornsteinbrände zu verhindern. Heizen Sie niemals mit geöffneter Tur.
Bei einem Schornsteinbrand: Schließen Sie die Lufteingänge des Geräts, und rufen Sie die Feuerwehr.
Wenn das Glas des Geräts gebrochen oder gesprungen ist, muss diese Glas ausgetauscht werden, bevor das Gerät erneut in Betrieb genommen wird.
Sorgen Sie für eine ausreichende Ventilation in dem Raum, in dem das Gerät aufgestellt ist. Bei nicht ausreichender Ventilation ist die Verbrennung nur unvollständig, wodurch sich giftingige Gase in dem Raum ausbreiten konnen. Vgl. das Kapitel "Installationsbedingungen" für weitere Informationen zur Ventilation.
Installationsbedingungen
Allgemeines
Das Gerät muss hermetisch dicht an einen gut Funktionierenden Schornstein angeschlossen werden.
Fur den Anschluss: vgl. die Anlage "Technische Daten".
Informieren Sie sich bei der Feuerwehr und/oder bei ihrer Versicherungsgesellschaft nach eventuellen speziellen Bedingungen und Vorschriften.
Schornstein
Der Schornstein ist erforderlich für:
Die Abfuhr von Verbrennungsgasen durch natürlichen Abzug.
Die warme Luft in dem Schornstein ist leichter als die Außenluft und steigt dazu nach oben.
Das Ansaugen von Luft, erforderlich für die Verbrennung der Brennstoffe in dem Gerät.
Ein nicht korrekt Funktionierender Schornstein kann zu Rauchrückschlagen beim Offnen der Tur führen.
SSchaden durch Rauchrückschlag fallen nicht unter die Garantie.
Schlieben Sie nicht mehrere Geräte (etwa noch einen Zentralheizungskessel) an denselben Schornstein an, es sei dann, lokale oder landesweite Gesetze halten dies zu.
Fragen Sie ihren Installateur nach einer Beratung zu Ihrem Schornstein. Konsultieren Sie die EU-Norm EN13384 für die korrekte Berechnung Ihres Schornsteins.
Der Schornstein muss die folgenden Bedingungen erfüllen:
Der Schornstein muss aus feuerfestem Material bestehen, vorzugsweise aus Keramik oder Edelstahl.
Der Schornstein muss luftdicht und gut gereinigt sein und vollständigen Zug garantieren.

Ein Zug/Unterdruck von 15 - 20 Pa während der normalen Belastung ist ideal.
Der Schornstein muss - vom Ausgang aus dem Gerät ab - so vertikal wie möglich verlaufen. Richtungsänderungen und horizontale Teilstücke stären den Abzug der Verbrennungsgase und führen möglicherweise zu Rauchansammlungen.
Die Innenmaße des Schornsteins dürfen nicht zu groß sein, um zu vermeiden, dass sich die Verbrennungsgase zu stark abkühlen und dadurch den Zug beeinträchtigen.
Der Schornstein sollte nach Möglichkeit den gleichen Durchmesser aufweisen wie das Anschlussstück.

Für den nominalen Durchmesser vgl. die Anlage "Technische Daten". Wenn der Rauchkanal gut isoliert ist, kann der Durchmesser eventuell etwas großer sein (max. zweimal so groß wie der des Anschlussstücks).
Der Abschnitt (die Oberfläche) des Rauchkanals muss konstant sein. Änderungen und (vor allem) Verengungen stären die Abfuhr der Verbrennungsgase.
Bei Verwendung einer Regenhaube auf dem Schornstein: Achten Sie darauf, dass die Haube nicht die Mündung des Schornsteins verengt, und dass sie nicht die Abfuhr der Verbrennungsgase befindert.
Der Schornstein muss in einem Bereich munden, der nicht durch umliegende Gebäude, in der Näh stehende Bäume oder andere Hindernisse befindert wird.
Der Teil des Schornsteins, der außerhalb der Wohnung liegt, muss isoliert sein.
Der Schornstein muss mindestens 4 Meter hoch sein.
Als Faustregel gilt: 60 cm oberhalb des Dachfirsts.
Wenn der Dachfirst mehr als 3 Meter vom Schornstein entfernt ist: halten Sie die in der folgenden Abbildung angegebenen Maße ein. A = der höchste Punkt des Daches innerhalb eines Abstands von 3 Metern.

Belüftung des Raums
Für eine gute Verbrennung besteht das Gerät Luft (Sauerstoff). Die Luft wird über einstellbare Lufteinlassöffnungen aus dem Raum, in dem das Gerät aufgestellt ist, angeführrt.

Bei nicht ausreichender Ventilation ist die Verbrennung nur unvollständig, wodurch sich giftingige Gase in dem Raum ausbreiten konnen.
Eine Faustregel ist, dass die Luftzufuhr 5,5cm^2 /kW betragen muss. Eine zusätzliche Ventilation ist erforderlich:

inn das Gerät in einem gut isolierten Raum.
Wenn eine mechanische Ventilation verwendet wird, etwa durch ein zentrales Absaugsystem oder eine Abzugkappe in einer offenen Kuche.
- Sie können für zusätzliche Ventilation sorgen, indem sie in der Außenwand ein Ventilationsgitter einbauen laßen.
Sorgen Sie davon, dass andere Luft verbrauchende Geräte (eita ein Wäschetrockner, andere Heizgeräte oder ein Badezimmerventilator) über eine eigene Außenluftzufuhr verfügen, oder ausgeschaltet sind, wenn das Gerät in Verwendung ist.

Boden und Wände
Der Boden, auf dem das Gerät aufgestellt wird, muss über ein ausreichendes Tragvermögen verfügen. Für das Gewicht des Geräts vgl. die Anlage "Technische Daten".

Schützen Sie brennbare Böden mithilfe einer feuerfesten Bodenplatte gegen Wärmeausbreitung. Vgl. die Anlage "Abstand zu brennbarem Material".

Entfernen Sie brennbare Materialien, wie etwa Linoleum, Teppich usw. unter der feuerfesten Bodenplatte.

Sorgen Sie für ausreichenden Abstand zwischen dem Gerät und brennbaren Materialien, wie etwa hölzernen Wänden und Möbeln.

Auch das Anschlussrohr strahlt Wärme ab.
Sorgen Sie für ausreichenden Abstand bzw.
Abschirmung zwischen dem Anschlussrohr und brennbaren Materialien.
Die Faustregel für ein einwandiges Rohr ist, Abstand, der das Dreifache des Rohrdurchmessers beträgt. Wenn das Rohr von einer Schutzschale umhüllt ist, ist ein Abstand, der dem Rohrdurchmesser entspricht, vertretbar.

Zwischen Teppichen und dem Feuer muss ein Mindestabstand von 80 cm gewahrt bleiben.

Schützen Sie brennbare Böden vor dem Ofen mithilfe einer feuerfesten Bodenplatte gegen eventuell herausfallende Asche. Die Bodenplatte muss den in Ihr dem Land gultigen gesetzlichen Normen entsprechen.

Für die Abmessungen der feuerfesten Bodenplatte: Vgl. die Anlage "Abstand zu brennbarem Material".

Für weitere Anforderungen im Zusammenhang mit der Brandsicherheit: Vgl. die Anlage "Abstand zu brennbarem Material".
Produktbeschreibung

- Sekundäre Luftklappe
- Fülltür
- Riegel Fültlür
- TUR
- Aschenladentür
- Primäre Luftklappe
- Riegel Aschentür
- Riegel Tur
Merkmale des Geräts
Das Gerät kann an der Rückseite oder der Oberseite an den Schornstein angeschlossenen werden.
Das Gerät wird mit einem losen Handgriff, der so genannten "kalten Hand", geliefert.
Das Gerät verfügt über eine gesonderte Tur zum Nachfällen des Brennstoffs, die so genannte "Fülltur".
- Setzen Sie zum Öffnen der Türen die "kalte Hand" (A) in den Riegel (B) an den Türen; vgl. die nachfolgende Abbildung.

Das Gerät 750GH verfügt über Vermicilit-Innenplatten.
Das Gerät 750GH verfügbar über eine abnehmbare Entaschungsoffnung.
Das Gerät 750GH verfügbar über gusseiserne Innenplatten.
Das Gerät 750GM verfügbar über einen Rost, durch den die Asche nach unter fällt.
Weiteres Merkmal des Modells 750GM
Das Gerät ist zum Heizen mit Holz, Braunkohlebriketts und Anthrazitkohle geeignet.
Installation
Vorbereitung
Überprüfen Sie das Gerät sofort nach Lieferung (Transport-) Schäden und eventuelle andere Mängel. Das Gerät ist an der Unterseite mit Schrauben auf der Platte befestigt.

Wenn Sie (Transport-) Schaden oder Mängel feststellen, behmen Sie das Gerät nicht in Betrieb und informieren Sie den Handler.
Entfernen Sie die abmontierbaren Teile (feuerfeste Innenplatten, Aschenlade, Hitzschildseitenwand) aus dem Gerät, bevor Sie es installieren.

Wenn Sie die abmontierbaren Teile entfern, konnen Sie das Gerät leichter verschiben und Beschädigungen vermeiden.

Achten Sie beim Entfernen dieser Teile auf ihre ursprüngliche Lage, damit Sie sie später wieder korrekt anbringen konnen.
- Offnen Sie die Tur.
- Entfernen Sie die feuerfesten Innenplatten.

Gusseiserne Innenplatten schützen die Verbrennungskammer und geben Wärme an die Umgebung ab.
Montieren des Handgriffs
Das Gerät wird mit einem offen Handgriff, der so genannten "kalten Hand", gefelert.
Befestigen Sie den hölzernen Handgriff mit der mitgelieferten Schraube M8x50 am Anschlussstück; vgl. dazu die nachfolgende Abbildung.

Schornsteinanschluss vorbereiten
Beim Anschluss des Geräts an den Schornstein haben Sie die Wahl zwischen dem Anschluss an der Ober- oder an der Rückseite; vgl. die nachfolgende Abbildung.
Den Ausgang, den Sie nicht verwenden möchten, müssen Sie mit dem mitgelieferten Abschlussdeckel verschreiben.
An dem Ausgang, den Sie verwenden möchten, montieren Sie das mitgelieferte Anschlussstück.
Abdichtkitt und Befestigungsmaterialien sind im Lieferumfang enthalten.
Beim Anschluss an der Rückseite muss im Hitzsche eine Öffnung angebracht werden. An der Stelle, an der die Öffnung angebracht werden muss, ist das Hitzsche eingekerbt.

Anschlieben an der Oberseite
- Schrauben Sie das Hitgeschild von dem Gerät
- Schlieben Sie die Abgasöffnung an der Rückseite des Geräts mit dem mitgelieferten Abschlussdeckel (A) ab. Verwenden Sie zur Montage des Deckels an dem Gerät die Befestigungslatte (B) und den Bolzen M6x25 (D) vgl. die nachfolgende Abbildung.

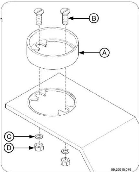
- Montieren Sie das Anschlussstück (A) mit den zwei Schrauben M8x25 (B) und den Verschlussringen (C) und den Mattern M8 (D) an
der Abgasöffnung an der Oberseite; vgl. die nachfolgende Abbildung.

- Verwenden Sie den mitgelieferten Ofenkitt zum abdichten des Anschlussstücks und des Abschlussdeckels mit dem Gerät.
- Schrauben Sie das Hitzenschild wieder auf das Gerät.
(Anschlieben an der Rückseite
- Schrauben Sie das Hitgeschild von dem Gerät ab.
- Bringen Sie die Öffnung in dem Hitzeschild an, indem Sie mit einer Bleechschere das vorgeschnittene Teil aus dem Hitzeschild schneiden.
- Montieren Sie das Anschlussstück mithilfe der Befestigungsmaterialien an der Abgasöffnung an der Rückseite.
- Schlieben Sie die Abgasöffnung mithilfe der Befestigungsmaterialien an der Oberseite des Gerats mit dem mitgelieferten Abschlussdeckel ab.
- Verwenden Sie den mitgelieferten Ofenkitt zum Abdichen des Anschlussstücks und des
Abschlussdeckels mit dem Gerät.
- Schrauben Sie das Hitgeschild wieder auf das Gerät.
Aufstellen und anschließen
- Stellen Sie das Gerät an einem geeigneten Ort auf, und sorgen Sie mit einer Wasserwaage für eine ebene Aufstellung.
- Schließen Sie das Gerät hermetisch dicht an den Schornstein an.
- Setzen Sie alle abmontierten Teile wieder an ihrem korrekten Platz in das Gerät ein.
Lassen Sie das Gerät nicht ohne feuerfeste Innenplatten brennen.
Das Gerat ist jetzt gebrauchsfortig.
Inbetriebnahme
Erste Inbetriebnahme
Wenn Sie das Gerät zum ersten Mal in Betrieb führen, halten Sie es eine Stunden durchheizen. Dadurch härte der hitzebeständige Lack aus. Hierbei kann es zu Rauch- und Geruchsbildung kommt. Öffnen Sie dann eventuell in dem Raum, in dem das Gerät aufgestellt ist, Fenster und Türen.
Brennstoff
Das Gerät 750GH ist ausschließlich zum Verbrennen von Naturholz geeignet, das gesagt und gaspalten sowie ausreichend getrocknet ist.
Das Gerat 750GM ist auch zum Verbrennen von Braunkohlebriketts und von Anthrazitkohle geeignet.
Verwenden Sie keine anderen Brennstoffe; diese konnen dem Gerät ernsthafte Schäden zufugen.
Die folgenden Brennstoffe dürfen nicht verwendet werden, da sie die Umwelt verschmutzen und da sie Gerät und Schornstein stark verunreinigen, was zu einem Schornsteinbrand führen kann:
Behandeltes Holz, wie etwa Holz mit Beschichtungen, gefarbtes Holz, imprägniertes Holz, konservertes Holz, Multiplex und
Spanplatten.
Kunststoff, Altpapier und Haushaltsabfälle.
Holz
- Verwenden Sie vorzugsweise hartes Laubholz, wie etwas Eiche, Buche, Birke oder Obstbaumholz.
- Dieses Holz brennt langsam bei ruhiger Flamme.
- Nadelholz enthalt mehr Harz, brennt schneller und erzeugt mehr Funken.
Verwenden Sie getrocknetes Holz mit maximal 20% Feuchtigkeitsanteil. Hierzu muss das Holz mindestens zwei Jahre lang getrocknet werden.
Sagen Sie das Holz auf Maß und spalten Sie es, solange es noch frisch ist. Frisches Holz lassst sich leichter spalten, und gespaltenes Holz trocknet better. Bewahren Sie das Holz unter einer Abdeckung auf, in der sich der Wind frei bewegen kann. - Verwenden Sie kein nasses Holz. Nasses Holz spendskeine Wärme, da die gesamte Energie für das Verdampfen der Feuchtigkeit verwendet wird. Dabei entsteht viel Rauch und es kommt zu Rußablagerungen an der Gerätetur und im Schornstein. Der Wasserdampf kondensiert im Gerät und kann aus dem Gerät austreten und zu schwarzen Flecken auf dem Fußboden führen. Der Wasserdampf kann auch im Schornstein kondensieren und zur Entstehung von Carbolineum beitragen. Diese Stoff ist leicht brennbar und kann zu einem Schornsteinbrand führen.
Braunkohlebriketts
Braunkohlebriketts haben ungebahr dieselben Brenneigenschaften wie Holz.
Sorgen Sie für ein gutes Holzkohlebett, bevor Sie die Braunkohlebriketten anzünden.
Befolgen Sie zum Anzünden des Ofens die Anleitung im Abschnitt "Anzünden".
Anthrazitkohle
Anthrazitkohleprodukte werden anhand, oft gesetzlich festgelegter, Kategorien unterteilt; dazu gehört etwas der prozentuale Anteil fluchtiger Stoffe. Der Aschegehalt von Anthrazitkohle liegt zwischen 3 und 13% . Je niedriger der Aschegehalt, um sohigher der
Heizwert der Kohle, und um so seltener müssen Si5. den Ofen entschen.
- Verwenden Sie vorzugsweise Anthrazitkohle der Kategorie A mit niedrigem Aschegehalt.
▶ Verwenden Sie das empfohlene Format 12/22 oder 20/30.
Befolgen Sie zum Anzünden des Ofens die Anleitung im Abschnitt "Anzünden".
Anzünden
Sie konnen überprüfen, ob der Schornstein über ausreichenden Zug verfügt, indem Sie oberhalb der Flammplatte ein Knäuel Zeitungspapier anzünden. Ein kalter Schornstein verfügt oft über unzureichenden Zug, wodurch Rauch in das Zimmer gelangen kann. Wenn Sie das Gerät wie hier beschrieben anzünden, vermeiden Sie diese Problem.
- Stapeln Sie zwei Lagen mittelgroßer Holzstücke kreuzwiese übereinander.
- Stapeln Sie auf den Holzstücken zwei Lagen Anzündehölzchen kreuzweise übereinander.
- Legen Sie den Anzünderblock zwischen die unterste Lage von Anzündehölzchen, und zünden Sie den Anzünderblock gemäß der Anleitung auf der Verpackung an.
Lassen Sie das Anzündfeuer durchbrennen, bis ein gluhendes Holzkohlebett entstanden ist. Anschließlich konnen Sie das Gerät erneut fullen und regeln; vgl. die Abschnittte "Heizen mit Holz", "Heizen mit Braunkohlebrikets (nur für 760GM)" und "Heizen mit Anthrazitkohle (nur für 750GM)".

= Offen = Geschlossen

Heizen mit Holz
Nachdem Sie die Anleitungen zum Anzünden befolgt haben:
- Offnen Sie langsam die Tur des Gerats.
- Verteilen Sie das Holzkohlebett gleichmäßig über den Heizboden.
-
Stapeln Sie eine Holzstücke auf dem Holzkohlebett auf.
-
Schließen Sie die Tur des Gerats, und öffnen Sie den primären Luftteinlass sowie den sekundären Luftteinlass des Gerats vollständig; vgl. die nachfolgende Abbildung.
Lose Stapelung

Bei einer losen Stapelung verbrennt das Holz schnell, da der Sauerstoff eines Holzstück einfach erreichen kann. Stapeln Sie das Holz lose, wenn Sie kurz heizen möchten.
Kompakte Stapelung

Bei einer kompakten Stapelung verbrennt das Holz langsamer, da der Sauerstoff zunachst nur einzeln Holzstücke erreichen kann. Stapeln Sie das Holz kompakt, wenn Sie länger heizen möchten.
-
Schlieben Sie die Tur des Gerats.
-
Schließen Sie den primären Luftteinlass, und halten Sie den sekundären Luftteinlass offen stehen.

Füllen Sie das Gerät maximal zu einem Drittel.
- Verwenden Sie zum Nachfüllen die Fülltur des Geräts.
Heizen mit Braunkohlebriketts (nur für 750GM)
Braunkohlebrikets brennen in etwa derselben Weise wie Holz. Sorgen Sie mit dem primären Luftteinlass für eine ausreichende Luftzufuhr unter dem Feuer. Vgl. weiter den Abschnitt "Heizen mit Holz".
Beim Heizen mit Braunkohlebriketts entstehen viel Asche. Entfernen Sie die Asche regelmäßig. Vgl. dazu den Abschnitt "Entaschen".

Wenden Sie sich für Informationen zu den Eigenschaften und der Verwendung von Braunkohlebriketts an den Handler, oder sehen Sie auf der Verpackung der Braunkohlebriketts nach.
Nachdem Sie die Anleitung zum Anzünden befolgt haben:
- Öffnen Sie langsam die Tur des Geräts.
- Verteilen Sie das Holzkohlebett gleichmäßig über den Heizboden.
- Legen Sie die Braunkohlebriketts auf das Holzkohlebett.
- Schließen Sie die Tur.
- Verwenden Sie zum Nachfüllen die Fülltür des Geräts.
Heizen mit Anthrazitkohle (nur für 750GM)

Schlieben Sie beim Heizen mit Anthrazitkohle immer die sekundäre Luftklappe.
Nachdem Sie die Anleitung zum Anzünden befolgt haben:
- Offnen Sie die primäre Luftklappe vollständig.
- Offnen Sie langsam die Tur des Gerats.
-
Verteilen Sie das Holzkohlebett gleichmäßig über den Heizboden.
-
Verteilen Sie eine Schaufel Kohlen auf dem Holzkohlebett, und warten Sie mit der nachsten Schaufel so lange, bis die Kohlen zu gluben beginnen.
-
Geben Sie jetzt mehr Kohlen hinzu.
Achten Sie darauf, dass Sie das Feuer nicht ersticken, indem Sie zu weitere Kohlen hinzufugen.
Sie haben die maximale Nachfüllung erreicht, wenn die Glut der vorherigen Füllung gerade noch sightbar ist.
6. Schließen Sie die Tur.
7. Lassen Sie die Kohlen einige Minuten lang gut durchbrennen, und regeln Sie die Luftzufuhr mit der primären Luftklappe.
Wenn der Feuerkorb oder die gusseisernen Lamellen rot zu gluhen beginnen, heizen Sie intensiv.
Hinweise zum Heizen
Heizen Sie niemals mit geöffneter Tur.
Heizen Sie das Gerät regelmäßig gut durch.
i Der sekundäre Luft einlass beluftet nicht nur das Feuer, sondern auch das Glas und schützt es so vor Schneller Verschmutzung.
- Öffnen Sie den primären Luftteinlass rechtzeitig, wenn die Luftzufuhr über den sekundären Luftteinlass nicht ausreicht, oder wenn Sie das Feuer neu entfachen möchten.
Das regelmäßige Nachfüllen kleiner Mengen von Holzstücken ist better, als viel Holz auf einmal zu befüllen.
Regelmäßige minere Mengen von Braunkohlebrikets oder Anthrazitkohlen hinzuzufugen ist better, als weitere Braunkohlebrikets oder Anthrazitkohlen gleichzeitig in den Ofen zu geben.
Löschen des Feuers
Füllen Sie keinen Brennstoff nach, und setzen Sie den Ofen normal ausgehen. Wenn ein Feuer durch Verminderung der Luftzufuhr gedämpft wird, werden schädliche Stoffe freigesetzt. Lassen Sie das Feuer davon selbstständig herunterbrennen. Achten Sie auf das Feuer, bis es vollständig erloschen ist. Wenn dieser Fall ist, können alle Luftkluppen geschlossen werden.
Wenn Sie lange mit niedriger Flamme heizen, j. konnen sich im Schornstein Ablagerungen von
Teer und Carbolineum (Steinkohlenteer) bildeng
These Stoffe sind nicht brennbar. Wenn die Ablagerungen dieser Stoffe zu sehr anwachsen, kann durch eine platzliche Temperatursteigerung ein Schornsteinbrand entstehen. Wenn Sie regelmäßig gut durchheizen, verschwinden eventuelle Teerund Carbolineum-Ablagerungen.
Darüber hinaus kann sich beim Heizen auf zu geringer Stufe Teer auf der Scheibe der Gerätetur absetzen.
Bei milden Außentemperaturen ist es davon better, das Gerät einige Stunden lang intensiv durchbrennen zu halten, als es längerere Zeit a niedrigem Stand zu betreiben.
Regeln Sie die Luftzufuhr mit dem sekundären Luftteinlass.
Entaschen
Nach dem Verbrennen von Braunkohlebriketts oder Anthrazitkohlen bleibt relativ viel Asche zusück. Entfern Sie regelmäßige die angesammelte Asche.
Nach dem Verbrennen von Holz bleibt eine relativ geringe Menge Asche zurück. Dieses Aschebett ist einGreater Isolator fur den Heizboden und sorgt fur eine gute Verbrennung. Sie konnen dazu ruhig eine dulle Schicht Asche auf dem Heizboden liegen halten.
Die Luftzufuhr durch den Heizbodenarf jedoch nicht behindert werden,und hinter der gusseisernen Innenplattearf sich nicht zuviel Asche ansammeln. Entfernen Sie daher regelmäßig die angesammelte auf Asche.
Die Aschearficht den unteren Rand des Rostes erreichen. Der Rost wird dann überhitz und beschädigt.
- Öffnen Sie die Aschentür des Geräts.
- Bei Gerät 750GH: Entfernen Sie die Entaschungsoffnung, und schieben Sie die angesammelte Asche mit der Zugschaufel in die Aschenlade.
- Entfernen Sie die Aschenlade mit Hilfe der mitgelieferten "kalten Hand", und leeren Sie sie; vgl. die nachfolgende Abbildung.

4. Setzen Sie die Aschenlade wieder ein, und schreiben Sie die Aschentür des Geräts.
Nebel
Nebel behind the Abfuhr von Abgasen durch den Schornstein. Rauch kann sich niederschlagen und z Geruchsbelastigung führen. Bei Nebel sollenn Sie daher nicht mit dem Gerat heizen, wenn dies nicht unbedingt erforderlich ist.
Eventuelle Probleme
Lesen Sie die Anlage "Diagnoseschema", um eventuell bei der Verwendung des Geräts auftretend Probleme zu losen.
Wartung
Befolgen Sie die Wartungsanleitungen in thism Kapitel, um ihr Gerät in einem gutezustand zu halten.
Schornstein
Invielen Ländern sind Sie gesetzlich dazu verpflichtet, den Schornstein regelmäßig kontrollieren
und warten zu halten.
Zu Beginn der Heizperiode: Lassen Sie den Schornstein von einem anerkannten Schornsteinfeger reinigen/fegen.
Während der Heizperiode und wenn der Schornstein für längerere Zeit nicht verwendet wurde: Lassen Sie den Schornstein auf Ruß untersuchen.
Nach der Heizperiode: Schlieben Sie den Schornstein mit einem Knäuel Zeitungspapier ab.
Reinigung und andere regelmäßige Wartungsarbeiten
Reinigen Sie das Gerät nicht, so lange es noch warm ist.
Reinigen Sie die Außenseite des Geräts mit einem trockenen und fusselfreien Tuch.
Nach Ablauf der Heizperiode konnen Sie die Innenseite des Gerats reinigen:
Entfernen Sie eventuell zuerst die feuerfesten Innenplatten.
Reinigen Sie eventuell die Luftzufuhrkanäe.
Entfernen Sie die Flammplatte oben in dem Gerät und reinigen Sie sie. Vgl. das Kapitel "Installation" für Anleitungen zum Entfernen und Anbringen der Flammplatte.
Kontrolle der feuerfesten Innenplatten
Die feuerfesten Innenplatten sind Verbrauchsteile, die dem Verschleit unterliegen. Überprüfen Sie die Innenplatten regelmäßig, und tauschen Sie sie bei Bedarf aus.
Vgl. das Kapitel "Installation" für Anleitungen zum Entfernen und Anbringen von Innenplatten.
Die isolierenden Vermiculit-Innenplatten konnen Haarrisse aufweisen, dies hat aber keine nachteiligigen Auswirkungen auf ihre Funktion.

Gusseiserne Innenplatten halten lange, wenn Sie regelmäßig die Asche entfernen, die sich dahinter ansammelt. Wenn angesammelte Asche hinter einer gusseisernen Platte nicht enternt wird, kann die Platte keine Wärme mehr an die Umgebung abgeben und sich anschließend verformen oder reifen.

Lassen Sie das Gerät nicht ohne feuerfeste Innenplatten brennen.
Entfern der Flammplatte
Die Flammplatte ist mit einem Bolzen befestigt, der sich zwischen dem hinteren Anschluss und dem Zylinder der sekundären Luftzufuhr befindet. Der Bolzen ist an der Flammplatte befestigt.
- Entfernen Sie die Mutter an der Rückseite; vgl. nachfolgende Abbildung.

- Ziehen Sie die Flammplatte nach vorn, so dass der Bolzen von der Rückseite frei kommt.
- Nehmen Sie die Flammplatte durch die Vordertür heraus.
Glas reinigen
Gut gereinigtes Glas nimmt weniger schnell neuen Schmutz auf. Gehen Sie folgendermaßen vor:
- Entfernen Sie Staub und loseN Rost mit einem trockenen Tuch.
- Reinigen Sie das Glas mit einem Ofenscheibenreiniger:
a. Tragen Sie Ofenscheibenreiniger auf einen Kuchenschwamm auf, wischen Sie die gesamte Glasoberfläche damit ab und halten Sie den Reiniger einwirken.
b. Entfernen Sie den Schmutz mit einem feuchten Tuch oder mit Kuchenpapier.
- Reinigen Sie das Glas dann noch einmal mit einem normalen Glasreinigungsvprodukt.
- Wischen Sie das Glas mit einem trockenen Tuch oder mit Kuchenpapier ab.
die Verwenden Sie keine scheuernden oder scharfen Produkte zur Reinigung des Glases.
Verwenden Sie zum Schutz ihrer Höhe geeignete Haushaltshandschuhe.
Wenn das Glas des Geräts gebrochen oder gesprungen ist, muss diese Glas ausgetauscht werden, bevor das Gerät erneut in Betrieb genommen wird.
Achten Sie darauf, dass kein Ofenscheibenreiniger zwischen das Glas und die gusseiserne Tur lauft.
Wartung Email-Ofen
Reinigen Sie das Gerät nicht, so lange es noch warm ist. Das Reinigen der emaillierten Oberfläche des Ofens geschieht am besten mit sanfter Haushaltsseife und lauwarmem Wasser. Verwenden Sie so weniger Wasser wie möglich, trocken Sie die Oberfläche gut ab, um Rostbildung zu vermeiden. Verwenden Sie keine Stahlwolle oder andere Scheuermittel. Setzen Sie keinen Wasserkessel direkt auf einen Emailleofen; verwenden Sie einen Untersetzer, um Beschädigungen zu vermeiden.
Schmieren
Obwohl Gusseisen eigentlich "selbstschmierend" ist, müssen bewegliche Teile noch regelmäßig geschmiert werden.
Schmieren Sie die beweglichen Teile (wie etwa Leitungssysteme, Scharnierfedern, Riegel und
Luftklappen) mit einem hitzebeständigen Fett (erhaltlich im Fachhandel).
Beheben von Lackschäden
Kleine Lackschäden konnen Sie mit hitzebeständigem Speziallack aus der Spruhdose beheben, den Sie bei Ihrlem Lieferanten erhalten.
Pflege der emailierten Oberfläche
Die Emaillierung ist ein handwerklicher Vorgang, der dazu führt, dass keinere Farbabweichungen oder Beschädigungen an dem Gerät vorkommen können. Die Geräte werden in der Fabrik visuell kontrolliert, das heißt, ein Kontrolleur untersucht die Oberfläche zehn Sekunden lang aus einer Entfernung von einen Meter.
Eventuell vorhandene Beschädigungen, die damit nicht auffallen, gelten als akzeptabel. Zum Lieferumfang des Geräts gehört ein spezieller hitzebeständiger Lack, mit dem keinere (Transport-) Beschädigungen behoben werden können. Tragen Sie diesen hitzebeständigen Lack in)dünnen Schichten auf, und{lassen Sieihn gründlich trocknen, bevor Sie das Gerät in Betriebnehmen.
Abdichtung kontrollieren
Prufen Sie, ob die Abdichtungsschnur der Tur noch gut schließt. Diese unterliegt dem Verschleiß und mussrechtzeitig ausgetauscht werden.
Überprüfen Sie das Gerät auf Luftlecks. Verschreiben Sie eventuelle Risse mit Ofenkitt.

Lassen Sie den Kitt gut aushärten, bevor Sie das Gerät in Betriebnehmen, andernfalls dehnt sich die Feuchtigkeit darin auf und führt erneut zu einem Leck.
Schlieboiten nachstellen
Prufen Sie, ob die Tur gut abschluss; stellen Sie, falls nötig, den Schließbolzen nach.
- Schieben Sie das Hitgeschild nach oben, und kippen Sie die Unterseite des Hitgeschildes aus den Positionierungslippen an der Seitenwand des3. Gerats; vgl. die nachfolgende Abbildung.

Kippen Sie das Hitzeschild an der Unterseite des Gerats weg, und setzen Sie das Schild nach unter shaken, so dass es nicht mehr von der Feder an der Unterseite der Oberplatte gehalten wird; vgl. die nachfolgende Abbildung.

Der einstellbare Schließbolzen kann jetzt erreicht werden. Drehen Sie die Bolzen 2x M6 los, und stellen Sie den Schließbolzen nach. Drehen Sie die Bolzen anschließend wieder fest.
- Setzen Sie das Hitzeschild wieder ein; befolgen Sie dazu die Anleitung zum Entfernen des Hitzeschildes in umgekehrter Reihenfolge.
Tür nachstellen
Prufen Sie, ob die Tur gut abschluss; stellen Sie, falls notig, den Schließbolzen nach.

- Öffnen Sie die Tur; das Scharnier ist dann sightbar und zugänglich.
- Drehen Sie die zwei Bolzen M8 (A) los, und drehen Sie anschließend die zwei Stellschrauben (B) ein, bis die Tur gut nach vorn abschiedt; vgl. die nachfolgende Abbildung.

- Drehen Sie die Bolzen (A) wieder fest, und schließen Sie die Fültlür.
Luftklappe einstellen
Wenn die Luftklappe (C) des sekundären Luftinlasses schwergängig ist, können Sie sie mit den beiden Schrauben (A) und (B) an der Vorderplatte einstehen; vgl. die nachfolgende Abbildung.
Anlage 1: Technische Daten
| Modell 750GH | |
| Nominalleistung 9 kW | |
| Schornsteinanschluss (Durchmesser) 150 mm | |
| Gewicht +/- 175 kg | |
| Empfohlener Brennstoff Holz | |
| Kennzeichen Brennstoff, max. Länge Holz 50 cm | |
| Brennstoff Holz | |
| Massenfluss von Abgasen 7,8 g/s | |
| Temperaturnstieg, gemessen im Messabschnitt | 311 K |
| Temperatur, gemessen am Ausgang des Geräts | 417 °C |
| Mindestzug | 12 Pa |
| CO-Emission (13 %2D) | 0,09 % |
| NOx-Emission (13 %2D) | 142 mg/Nm3 |
| CnHm-Emission (13 %2D) | 107 mg/Nm3 |
| Staubemission | 33 mg/Nm3 |
| Staubemission gemäß NS3058-NS3059 | 8,28 gr/kg |
| Wirkungsgrad | 75,8 % |
| Modell 750GM 750GM 750GM | |||
| Nominalleistung 9 kW | |||
| Schornsteinanschluss (Durchmesser) 150 mm | |||
| Gewicht +/- 175 kg | |||
| Empfohlener Brennstoff Holz | |||
| Kennzeichen Brennstoff, max. Länge Hz 50 cm | |||
| Brennstoff Holz Braunkohlebrikettes Anthratazitkohle | |||
| Massenfluss von Abgasen 6,9 g/s | 6,7 g/s | 8,1 g/s | |
| Temperaturanstieg, gemessen im Messabschnitt | 337 °K | 347 °K | 316 °K |
| Temperatur, gemessen am Ausgang des Geräts | 394 °C | 400 °C | 367 °C |
| Mindestzug | 12 Pa | 12 Pa | 12 Pa |
| CO-Emission (13 %) | 0,19 % | 0,10 % | 0,07 % |
| NOx-Emission (13 %) | 75 mg/Nm3 | 133 mg/Nm3 | 110 mg/Nm3 |
| CnHm-Emission (13 %) | 152 mg/Nm3 | 32 mg/Nm3 | 40 mg/Nm3 |
| Staubemission | 11 mg/Nm3 | 26 mg/Nm3 | 13 mg/Nm3 |
| Wirkungsgrad | 75,5 % | 75,8 % | 76,1 % |
Anlage 2: Abmessungen
750GH / 750GM



09-00062-000_750GH-GM
Anlage 3: Abstand zu brennbarem Material
750GH und 750GM - Mindestabstände in Millimetern

| * Geschütztes (isoliertes) Verbindungsrohr | |
| Brennbares Material | |
| Nicht brennbares Material, Dicke 100 mm |
750GH und 750GM - Abmessungen feuerfeste Bodenplatte

Mindestabmessungen feuerfeste Bodenplatte
| A (mm) | B (mm) | |
| Din 18891 500 300 | ||
| Deutschland 500 300 | ||
| Finnland 400 100 | ||
| Norwegen 300 100 |
Anlage 4: Diagnoseschema
| Problem | |||||
| ● | Holz brennt nicht durch | ||||
| ● | Liefert nicht ausreichend Wärme | ||||
| ● | Rauchrückschlag beim Nachfüllen | ||||
| ● | Gerät brennt zu stark, nicht gut regelbar | ||||
| Flammensanschlag an das Glas | |||||
| Mögliche Ursache Mögliche Lösung | |||||
| ● | ● | ● | ● Nicht ausreichender Zug | Ein kalter Schornstein führt zu unzureichendem Zug. Folgen Sie der Anleitung zum Anzünden im Kapitel "Verwendung"; öffnen Sie ein Fenster. | |
| ● | ● | ● | ● Holz zu feucht Verwenden Sie nur Holz mit max. 20 %Feuchtigkeit. | ||
| ● | ● | ● | ● Holzstücke zu groß | Verwendten Sie keine Anzündeholzstücke. Verwendten Sie gespaltenes Holz mit maximal 30 cm Stückgröße. | |
| ● | ● | ● | ● | ● Holz nicht korrekt gestapelt | Stapeln Sie das Holz so, dass zwischen den Blöcken ausreichend Luft zirkulleren kann (lose Stapelung, vgl. "Heizen mit Holz"). |
| ● | ● | ● | ● Schornstein Funktioniert nicht korrekt | Überprüfen Sie, ob der Schornstein den Bedingungen entspricht: mindestens 4 m hoch, richtiger Durchmesser, eine gute Isolierung, glatte Innenflächen, nicht zu weitere Biegungen, keine Hindernisse im Schornstein (etwa Vogelnest, Rußablagerungen), hermetische Dichtigkeit (keine Spalten). | |
| ● | ● | ● | ● Mündungsöffnung des Schornsteins nicht korrekt | Ausreichende Höhe über der Dachfläche, keine Hindernisse in der Höhe. | |
| ● | ● | ● | ● | ● Einstellung der Luftinlassöffnungen nicht korrekt | Öffnen Sie die Luftinlassöffnungen vollständig |
| ● | ● | ● | ● Anschlussdes Geräts am Schornstein nicht korrekt | Der Anschluss musserhetisch dicht sein. | |
| ● | ● | ● | ● Unterdruckin dem Raum, in dem das Gerät aufgestellt ist | Schalten Sie Luftabzugssysteme aus. | |
| ● | ● | ● | ● Unzureichende Frischluftzufahr | Sorgen Sie für ausreichende Luftzufahr, verwenden Sie nötigenfalls einen Außenluftanschluss. | |
| ● | ● | ● | ● Ungünstige Wetter-umstände? Inversionswetterlage (umgekehrter Luftstrom im Schornstein durch hohe Außentemperatur), extreme Windgeschwindigkeiten | Bei Inversionswetterlagen sollen den Sie das Gerät nicht verwenden. Setzen Sie, falls erforderlich, eine Zugklappe auf den Schornstein. Dies ist nur nach Rücksprache mit dem Schornsteinfeger möglich. | |
| ● | Zug im Wohnzimmer | Vermeiden Sie Zug im Wohnzimmer; stellen Sie das Gerät nicht in der Höhe einer Tur oder von Heizungsschäften auf. | |||
| ● Flammen schlagen an das Glas | Vermeiden Sie es, das Holz zu dicht an das Glas zu legen. Schieber Sie den primären Luftinlass wieder zu. | ||||
| ● | Überprüfen Sie die Abdichtungen der Tür und die Fugen des Geräts. | ||||
Index
A
Abdichtungsschnur der Turl.15
Abgas Massenfluss.17-18
Abgasöffnung abschreiben 8
Abmessungen.19
Abschlussdeckel 8.
Achtung Ventilation.5 Versicherungsbedingungen.4
Anschlieben am Schornstein Oberseite.8.
Anschlieben an Schornstein Rückseite.8
Anschlussstück 8 montieren.8
Anstecken 10
Anzündeholz
Anzündfeuer 10
Asche entfernen 12
Braunkohle 11
Aschenlade
0ffnen 13
Aufstellen Abmessungen 19.
Außenluftzufuhr 5. Anschluss an 9
B
Belüftung des Feuers 12
Böden
Brandsicherheit 6
Tragvermögen 6
Brandsicherheit Abstand zu brennbarem Material. 20
Boden 6
Möbel 6
Wande 6
Brandstoff fullen 11
Braunkohle
Asche 11
heizen 11
Braunkohlebriketts 9
Brennbares Material Abstand zu 20
Brennstoff
Anthrazitkohle 9
benöttigte Menge 13
Braunkohle 9
geeignet 9
Holz 9
nachfüllen 12
ungeeigneter 9
Brennstoffe geeignete 9
C
Carbolineum 12
E
Entaschen 12
Entferen
Asche 12
F
Fegen des Schornsteins 13
Feueranzünden 10
Gerat brennt zu heftig 22
Gerat nicht gut regelbar 22
loschen 12 nicht ausreichende Wärme 22
Feuerfeste Innenplatten
Warning 9
Wartung 13
Finish, Pflege 15
Flammplatte entfernen 14
Füllhöhe des Geräts. 11
G
Geeignete Brennstoffe. 9
Gewicht 17-18
Glas Anschlag.22 14
Gusseiserne Innenplatten
Warnung 9
H
Haube auf dem Schornstein.5
Heizen.10
Anthrazitkohle .11
Brandstoff nachfüllen.11
Braunkohlebriketts.11
Brennstoff nachfullen.10...12
unzureichende Wärme 13
Hitzschild
Öffnung anbringen 8.
Holz. 9. aufbewahren 9
brennt nicht durch 22
geeignete Sorte.9
nass 9
trocknen 9
Holzstücke stapeln.11.
K
Kohle
Anthrazitkohle 9
Aschegehalt 9
L
Lack 9
Lagerung von Holz 9
Lufteinlasse 10
einstellen 16
Luftleck 15
Luftzufuhr regeln.12
M
Mauern
Brandsicherheit 6
N
Nachfüllen
Anthrazitkohle 12
Braunkohlebriketts.12
nachfüllen von Brennstoff 12
Nachfullen von Brennstoff 12
Rauchruckschlag 22
Nadelholz 9
Nasses Holz 9
Nebel, nicht heizen 13
Nominale Leistung. 13
Nominalleistung 17-18
0
Ofenscheibenreiniger 14
0
Öffnen
Aschenlade 13
P
Primärer Lufteinlass. 10
Probleme losen 13,22
R
Rauch
bei erster Inbetriebnahme 9
Rauchruckschlag 4,22
Reinigen
Gerat 13
Glas. 14
Risse im Gerät 15
s
Scharnier
einstellen 16
Scheiben
Anschlag 22
reinigen 14
Schließbolzen
nachstellen 15
Schmieren. 14
Schmierfett 14
Schornstein
Anschluss an. 9
Anschlussdurchmesser. 17-18
Bedingungen 4
Höhe 5
Wartung 13
Schornsteinanschluss
Oberseite 8
Rückseite. 8
Schornsteinbrand vermeiden 12
Schornsteinha
sekundärer Lufteinlass 107
Staubemission 17-18
T
Teer.12
Temperatur.17-18
Temperaturanstieg
Messabschnitt.17-18
Teppich 6
Tragvermögen des Bodens.6
Trocknen von Holz.9
Tur
Abdichtungsschnur.15
Abschluss.16
nachstellen.16
Türverschluss
nachstellen.15
U
Ungeeigneter Brennstaff.9
V
Ventilation.5
Fausregel 5
Ventilationsgitter 5
Verlöschen des Feuers 12
W
Wande
Brandsicherheit 6
Wärme, unzureichende 13, 22
Warnung
brennbare Materialien 4
feuerfeste Innenplatten 9
Glas gebrochen oder gesprungen 4,14
gusseiseme Innenplatten 9
heiB Oberflache 4
Ofenscheibenreiniger. 14
Schomsteinbrand 4,9,12
Ventilation. 4
Vorschriften 4
Wartung
Abdichtung 15
Feuerfeste Innenplatten 13
Gerat reinigen 13
Glas reinigen 14
Schmieren 14
Schomstein 13
Wetterbedingungen, nicht heizen 13
Wirkungsgrad 17-18
Z
Zug 17-18
Índice
Introduccion 3
piastrefrattarieinterne 13
EinfachAnleitung