SCP 9 - Heizung Superior - Kostenlose Bedienungsanleitung
Finden Sie kostenlos die Bedienungsanleitung des Geräts SCP 9 Superior als PDF.
Benutzerfragen zu SCP 9 Superior
0 Frage zu diesem Gerät. Beantworten Sie die, die Sie kennen, oder stellen Sie Ihre eigene.
Eine neue Frage zu diesem Gerät stellen
Laden Sie die Anleitung für Ihr Heizung kostenlos im PDF-Format! Finden Sie Ihr Handbuch SCP 9 - Superior und nehmen Sie Ihr elektronisches Gerät wieder in die Hand. Auf dieser Seite sind alle Dokumente veröffentlicht, die für die Verwendung Ihres Geräts notwendig sind. SCP 9 von der Marke Superior.
BEDIENUNGSANLEITUNG SCP 9 Superior
Pellet-Kassette Kantenabdeckungsprofil
AUFBAUANLEITUNG FÜR DEN INSTALLATEUR
INSTRUCTIES VOOR DE MONTEUR
- These Betriebsanleitung wurde vom Hersteller verfasst und ist Bestandteil des Produktes. Die darin enthaltenen Informationen sind für den Käfer sowie für alle Personen, die für die Aufstellung und Wartung zuständig sind, bestimmt.
- Lesen Sie die Anweisungen und technischen Informationen in dieser Aufbauanleitung sowohl vor dem Aufbau, als auch vor Heizbeginn und vor jeglicher Tätigkeit aufmerksam durch.
-
Die Hersteller durchgeführte Planung und Gefahrenanalyse haben die Realisierung eines sicheren Produktes erhögt. Es wird jedoch empfehlen, sich bei jedem Eingriff sorgfältig an die Anweisungen zu halten und diese immer griffbereit zu haben.
-
Sehr vorsichtig mit den Keramikteilen umgehen.
- Der Aufbau der Verkleidung muss zu zweit durchgeführt werden.
- Die Abbildungen in der Betriebsanleitung dienen nur zur Erklärung und geben nicht immer exakt das Produkt wider.
- Um die Kompatibilität zwischen Heizeinsatz, Verkleidung und Zubehör festzustellen, siehe die Preisliste.
1.0 ABMESSAGENGEN


DT2031913-01
| KANTENABDECKUNGSPROFIL FRONTAL A B C D E F | ||||||
| IP 68/49 - SCP 7 70 50 / 56* 72,4 52,4 / 58,4* 7 | 8 0,8 | |||||
| IP 78/58 - SCP 9 80 59 / 65* 82,4 61,4 / 67,4* 7 | 8 0,8 | |||||
| IP 78/68 90 69 / 75* 82,4 71,4 / 77,4* 7,8 0,8 | ||||||
Abmessungen in cm.
* mit Pelletschubladenbdusatz (optional).
AxB=InnenausmeBungen des Kantenabdeckungsprofil.
C x D x E = Max. äußere Abmeßungen des Kantenabdeckungsprofil.
F = Abstand zwischen Kantenabdeckungsprofil und Vormauerung.
2.0 AUFBAU
DT2011352-02
2.1 VORMAUERUNG
DT2012348-02
Vor dem Aufbau des Kamins ist es wichtig, die Aufbau- und Bedienungsanleitung des Heizeinsatzes zu lesen und zu überprüfen, dass der Fußboden haben und die Wände gerade sind.
Erst danach kann mit dem Aufstellen des Heizeinsatzes, mit der Abnahme und dem Errichten der Vormauerung begonnen werden.




Die Frontfassade des Monoblocks muss im Vergleich zum externen Rand der Gegenwand um these MaB eingerückt sein.

MaBe in cm.
DT2033374-00
Es wird empfohlen, die Abnahme des Heizeinsatzes vor dem Errichten der Vormauerung und dem Aufbau der Verkleidung durchzufahren.
Der Heizeinsatz muss frei stehen, damit die normalen Materialausdehnungen während des Heizbetriebes möglich sind.
Beim Aufbau mussen die auf der Zeichnung angegebenen Hinweise und Maße sowie die Anweisungen in der Bedienungsanleitung des Heizeinsatzes genau befolgt werden.
Beim Errichten der Vormauerung aus Bauplatten ist es üblich, dass für ein Mindestmaß an Stabilität U-Befestigungspfle (mindestens 5 cm breit) an den Wandbefestigungspunkten der Verkleidung verwendet werden.
Es wird empfohlen, die Anweisungen fur Wärmedämmung in der Bedienungsanleitung des Heizeinsatzes bezüglich Materialien, Dicken und Abständen zu befolgen.
Die angegebenen Abstände sind Mindestwerte für die Installation.
Bei entflammbaren Wäden halten Sie sichitte an die in den Bedienungs- und Wartungsanleitungen des Monoblocks im Absatz „SICHERHEITSMINDESTABSTÄNDE" enthaltenen Anweisungen.
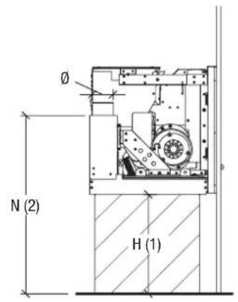
| Model | NICT ENTFLAMMBARE WÄNDE Abgasstutzen | Maße | ||||||||||||||
| ABCDE | H | (1) | IPOL | (2) | ØMN | (2) | ||||||||||
| IP 68/49 SCP 7 | 55 12 | 9 91 5 | 5 78 38 | 1 | 50,7 | 71 37 | 8 | 45 68 | cm | |||||||
| 56,7(3) | ||||||||||||||||
| IP 78/58 SCP 9 | 61 14 | 4 10 | 2 5 5 5 | 88 38 1 | 59,7 | 81 | 37,8 | 8 | 51,5 | 69,5 | cm | |||||
| 65,7(3) | ||||||||||||||||
| IP 78/68 | 61 | 144 | 102 | 5 | 5 | 5 | 88 | 38 | 1 | 69,7 | 81 | 37,8 | 8 | 51,5 | 69,5 | cm |
| 75,7(3) | ||||||||||||||||
(1) Die Quote H steht fur die Bodenhöhe der unteren Basis zum Boden Turrahmenrands.
(2) von H abhängige MaBe.
(3) Version mit Pelletschubladenbdusatz (optional).
Es ist möglich, die Bodenhöhe des Rahmens oder Abziehen der Werte „H“, „L“ und „N“ zur gewünschten Differenz zu ändern.
2.2 MONTAGE DES KANTENABDECKUNGSPROFIL
DT2011347-00
Es ist sicherzustellen, dass der Monoblock ordnungsgemäß Funktioniert und nach Fertigstellung der Verkleidungswand wie angegeben im Abschnitt "KONSTRUCTION DER VORMAUERUNG", ist auf folgende Weise fortzufahren:
Keine Verkleidungsteile am Monoblock befestigen.
Es ist sehr wichtig, die Regelmäßigkeit der Verkleidungswand insbesondere hinsichtlich ihrer Rechtwinkligkeit und Ebenflächigkeit zu kontrollieren.
Das Kantenabdeckprofil positionieren und die Zentrierung mit dem Monoblock und der Öffnung der Verkleidungswand überprüfen. Wenn notig, das Kantenabdeckprofil für die Höhenzentrierung mit dem mitgelieferten Fiberglassband verstärken.
Das Kantenabdeckprofil wie im Detail der Abbildung gezeigt mit der Lasche (A) nach oben positionieren.
Das Kantenabdeckprofil entfern. Die Verkleidungswand streichen und fertigstellen.
Einige Silikonpunkte auf das Kantenabdeckprofil geben und these nann auf der Verkleidungswand befestigen.
Auf die Menge an verwendeten Silicon achten und das Austreten von Silicon am Außenrand des Kantenabdeckprofils vermeiden.

EinfachAnleitung