WEPA 242 - Gegensprechanlage EXTEL - Kostenlose Bedienungsanleitung
Finden Sie kostenlos die Bedienungsanleitung des Geräts WEPA 242 EXTEL als PDF.
Laden Sie die Anleitung für Ihr Gegensprechanlage kostenlos im PDF-Format! Finden Sie Ihr Handbuch WEPA 242 - EXTEL und nehmen Sie Ihr elektronisches Gerät wieder in die Hand. Auf dieser Seite sind alle Dokumente veröffentlicht, die für die Verwendung Ihres Geräts notwendig sind. WEPA 242 von der Marke EXTEL.
BEDIENUNGSANLEITUNG WEPA 242 EXTEL
Installation und Bedienungsanleitung







SOMMAIRE
I CONSIGNES DE SECURITE. p.l
2 DESCRIPTIF. p.2
3 INSTALLATION. p.2
5 TECHNISCHE EIGENSCHAPP. p.3
Der Trafo muß unbedingt auf der DIN-Schiene einer Elektrotafel befestigt oder mithilfe der beiden dazu vorgesehenen Löscher auf eine nicht metallische Befestigungsfläche Aufputz montiert werden. Am Trafo sind unbedingt die Klemmenabdeckplatten anzubringen. Außer demarf der Trafo nur an eine vorschriftsgemäß verlegte Elektroinstallation (in Frankreich gemäß Norm NFC 15-100) und auch auch ERST NACH VOLL-STÄNDIGER VERDRAHTUNG angeschlossen werden.
Absicherung: Der Trafo verfügbar über einen eingebauten thermischen Schutz (PTC). Im Schadensfall oder bei einem Kurzschluss wird der Schutz des Trafos wie folgt wiederhergestellt:
- Stecker aus der 230V --Steckdoseziehen (mind. 2 Min. ausgesteckt lessen).
- Gegebenenfalls Fehler beheben.
- Stecker in die 230V -Steckdose einstecken.

BEDRADING
TECHNISCHE EIGENSCHAPP
a. Handset (PACB 241 of PACB 242)
SICHERHEITSEMPFHLUNGEN. pI
2 BESCREIBUNG. p.2
3 INSTALLATION. p.2
a. Installation der Außensprechanlage
b. Sprechgerat installieren
c.Trafo installmenten
4 KABELVERBINDUNG p.3
a.Anchluss eines Turöffners, eines Elektroschlosses oder Torantriebs
b.Anschluss einer zusätzlichen optionalen Innensprechanlage (option WEPACB 243)
5 TECHNISCHE DATEN p.3
a. Innensprechanlage
b. Stromversorgung
c.AuBensprechanlage
6 OPTIONEN p.4
7 KUNDENDIENST - GARANTIE. p.4
8 SICHERHEITSEMPFHLUNGEN p.5

SICHERHEITSEMPFHLUNGEN
Wichtig!
-itte lessen sie theses Handbuch sorgfaitig durch bevor sie das Produkt installmenten oder verwenden.
- Wenn sie diesen Produkt für Dritte installmenten denken sieitte davon, das Handbuch oder eine Kopie für den Endverbraucher vor Ort zu halten.
Warning :
- Unterschiedliche Elemente)dürfen nur von einem zugelassenen Techniker ausgebaut werden.
Sicherheitsmaßnahmen :
- Für einen Betrieb in aller Sicherheit dieser Systems ist es wichtig, dass Verwender und Techniker die in this Handbuch beschriebenen Sicherheitsverfahren befolgen.
- Die spezifischen Warnungen und Warnsymbole sind falls notwendig auf den Elementen angegeben.

BESCREIBUNG (fig.1)
1 · Trasfo
3·Außenspechanlage
5·Einbaugehäuse
2·Innensprechanlage
4 Hervorstehender Rahmen
6·Regenschutz-einfassung
Allgemeines
These Spechanlage besteht aus einer Innensprechanlage und einer Außensprechanlage die es ermöglich, mit dem Besucher, der geklingelt hat, zu kommunizieren.
Es sind nur 2 Drähte für alle Funktionen notwendig: Klingel, Sprechanlage, Bedienung eines Tüffners oder eines Elektroschlosses und Bedienung einer Torautomatik.
Fur eine wirksame Bedienung, lessen Sieitte aufmerksam theses Handbuch und bewahren Sie these anschliebend auf.

INSTALLATION
Anmerkung: Wenn Sie Ihr Produkt vor der Installation testen möchten,achten Sie darauf, dass die Außensprechanlage und die Innensprechanlage sich nicht in demselben Raum befinden, da ansonsten die Sprechanlage einen schrillen Ton abgibt (Larsen Effekt).
a. Installation der Außensprechanlage
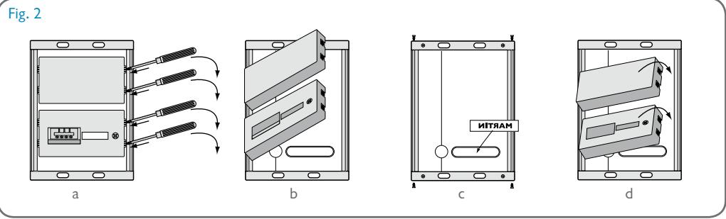
I. Frontplatte der namensschild auswechseln (abb.2)
- Tasterblöcke mit dem eingebauten Laufsprecher aufklappen (abb.2a)
- Das Namensschild ist jetzt zuganglich
- Soll nur der Name geändert werden, können Sie anschließend die Tasterblöcke wieder zuklappen
- Beide Tasterblöcke mit dem eingebauten Lautsprecher wieder zuklappen (abb. 2d).
Wichtig: Bringen Sie eine Silikondichtung am oberen Teil zwischen der äußerten Sprechstelle und der Mauer an (abb.3c*).
3.Aussenstation aufputz montieren
-
Schraubenabdeckungen mit einem kleinen Schraubenzieher aufklappen (abb. 3a).
-
Den hervorstehenden Rahmen mit dem Schirm zur Mauer befestigen, der Rahmen des Gehäuses liegt bzw an der Wand (abb. 3b).
-
Drähte vorsichtig anklemmen (kein Werkzeug erforderlich), s.(abb. 5 für WEPA241 oder abb.6 für WEPA242)
-
Frontplatte mit 2 Inbusschrauben befestigen (Inbusschrauben und -schlüssel mitgeliefert).
-
Schraubenabdeckungen zuklappen.
Wichtig: Bringen Sie eine Silikondichtung am oberen Teil zwischen der äußerten Sprechstelle und der Mauer an (abb. 3b*).
b. Sprechgerat installmenten (fig. 4)
- Befestigungsrahmen offen (abb. 4a).
- Rahmen mit 2 Schrauben an der Wand befestigen (abb. 4b).
- Drähte gemäß Verdrahtungsplan (abb. 5 für WEPA241 oder fig.6 für WEPA242) anschließen
- Sprechgerät in die Wandhalterung einhängen.
- Klingellautstärke einstehen: Mit dem bereits um Sprechgerät befindlichen 2-Stellenregler können Sie eine der zwei verfügbar Klingellautstärken einstehen.
c.Trafo installieren (abb.4c)
- Trafo auf einer DIN-Schiene installmenten oder mit den 2 seitlich am Trafo eingerasteten schwarzen Klammern auf einer Halterung befestigen. (abb. 4c).
SICHERHEITSHINWEISES
Siehe Verdrahtungsplan (abb. 5 für WEPA241 oder abb.6 für WEPA242).
Zu verwendende Drahte WEPA 241 : 2 Drahte 6 /10 mm bis zu 25 m · 2 Drahte 1.5 mm² bis zu 100 m
Zu verwendende Drahte WEPA 242 : 4 Drahte 6 /10 mm bis zu 25 m · 4 Drahte 1.5 mm² bis zu 100 m
a.An Schluss eines Turoffners, eines Elektroschlosses oder Torantriebs (abb. 5 oder 6)
Ein Elektroschloss bzw. -türoffner wird an die Klemmen 9 und 10 an der Außenstation angeschlossen. Zur Ansteuerung eines Torantriebs wird die Option WE 8111 BIS zwischen den Klemmen 9 und 10 und den 2 «Außensteuerungs»-Klemmen des Torantriebs installiert.
Elektroschloss, -turoffner bzw. Torantrieb werden mit der T -Taste am Sprecherat bzw. an den Sprecheräten bedient.
b.An Schluss einer zusätzlichen optionalen Innensprechanlage (option WEPACB 243)
Ein zusätzliches Sprecherat WEPACB 243 wird parallel zum Hauptsprachgerät installiert (abb. 7).
- Intercomfungtion (option WEPACB 243) : Mit der Taste konnen Sie mit dem zweiten Sprechgerät eine mithörgespernte Sprechverbindung herstellen.(Während der Dauer des internen Geschäfts ist die Verbindung mit der Außenstation gespeit)

TECHNISCHE DATEN
a. Innensprechanlage (PACB 241 oder PACB 242)
Reference: 810243
- Ernährung: 12V~
Verbrauch: 12W
- EntschlieBung (mm): 210x70x40
b. Stromversorgung
Reference:830241
- Spannung: 230V~/12V~ 18VA
Sollte das Stromkabel unterbrochen sein, auf die polrlichtige Verbindung achten

c.AuBensprechanlage (PAPL 241)
Reference: 820241
- Betriebstemperatur :
von -10^ bis +45^ .
Schutzzeichen: IP44
MaBe der Vorderseite (mm) : 165x117x18

AuBensprechanlage (PAPL 242)
Reference: 820242
- Betriebstemperatur :
von -10^ bis +45^
Schutzzeichen: IP44
MaBe der Vorderseite (mm) : 165x117x18


OPTIONEN
- Zusätzliche Innensprechanlage: WEPACB 243 BIS
- Alle elektrischen Türoffner von EXTEL.
- Alle Elektroschlösser von EXTEL.
- Alle Torantriebssteuerungen von EXTEL

KUNDENDIENST - GARANTIE
| Defekt | möglicher Grund | Lösung |
| Die Innensprechanlage schaltet sich nicht ein | Die Innensprechanlage ist nicht mit dem Stromkreis verbunden | Überprüfen ob der Netzadapter richtig eingesteckt ist |
| Keine Kommunikation von draußen nach drinnen. | Loch für das Mikrofon ver-stopft. | Das Loch für das Mikrofon befrenn. |
Bei Bedarf stehen ihren unsere technische Website zur Verfügung : www.cfi-extel.com
Die neueste Downloade Version der Gebrauchsanweisung in Farbe ist verfügbar auf: www.cfi-extel.com
GARANTIEBEDINGUNGEN : Dieses Gerät verfügbar über eine Garantie für Einzelteile und Arbeitsaufwand in unseren Werkstätten. OE Die Garantie deckt nicht ab: das Verbrauchsmaterial (Batterien, Akkus, usw.) sowie Schäden, die verursacht wurden durch: eine falsche Behandlung, falsche Installation, äußere Einflüsse, Beschädigung durch physischen oder elektrischen Schock, Sturz oder atmosphäreische Erscheinungen.
- Das Gerät nicht öffnen, um nicht den Garantieschutz zu verlieren.
- Bei einer eventuellen Rücksendung an den Kundendienst das Gerät schützen, um Kratzer zu vermeiden.
- Außen nur mit einem trockenen weichen Tuch reinigen.
- Nur mit einem weichen Tuch reinigen, keine Reinigungsmittel verwenden.

Achtung : Kein Produkt oder Benzin, Kalkungscarbonatation, Alkohol oder ähnliches verwenden. Sie hatten nicht nur ihr Gerät zu beschädigend, sondern die Dämpfe können ebenfalls ihrer Gesundheit schädigen, sich entzüden. Kein Werkzeug verwenden, das Spannung leiten konnte (Metalbürste, spitzes Werkzeug...).
Schaden, die durch einen Mangel an Konformität mit dem Handbuch hervorgerufen wurden, führen zu einer Lösung der Garantie.
Wir übernehmen keine Haftung für darauf entstandene Schäden! Wir übernehmen keine Haftung für Schäden an Gegenständen oder Personen, die durch eine nicht geeignete Handhabung oder einem Mangel an Konformität der Sicherheitsempflehungen entwickeln sind. Dieses Produkt wurde mit Respekt auf die Sicherheitsempflehungen hergestellt. Um diesen Status zu erhalten und um einen korrekten Gebrauch these Products zu erhalten, muss der Verbraucher die in thism Handbuch enthaltenen Sicherheitsratschlage und Warnungen respektieren.

Dieses Symbol gibt eine Gefahr auf Elektroschock oder Kurzschluss an.
- Sie können these Gerät nur verwenden mit einer Spannung zwischen: 230 Volt und 50 Herz. Versuchen sie niemals diese Gerät mit einer anderen Spannung zu verwenden.
- Achten sie darauf, dass alle an diesen System angeschlossenen elektrischen Anschlüsse, den Verwendungsratschlägen entsprechen.
- In komermerziellen Einrichtungen versicherten sie sich, dass die Schutzregeln für Unfälle mit elektrischen Installationen beachtet werden.
- In Schulen, Ausbildungsaurüstungen, Werkstätten... ist die Gegenwart von qualifiziertem Personal notwendig, um den Betrieb von Elektrogeräten zu kontrollieren.
- Die Verwendungsratschläge der an das System angeschlossenen Geräten beachten (z.B.Videorekorder, TV, PC)
- Bei Zweifelsfallen hinsichtlich des Betriebs oder Sicherheit des Geräts, kontaktieren sieitte erfahrene Personen
- Niemals elektrische Geräte mit feuchten Händen ein- oder ausschalten.
- Bei der Installation these Productsitte darauf achten, dass die Stromkabel nicht beschadigt werden konnen.
- Sie sollenn niemals selbst ein beschädigtes Stromkabel ersetzen! In diesen Fall these entfernen und Rat bei einer erfahrenen Person suchen.

ACHTUNG
Der Verwender wird auf wichtige Anweisungen hinsichtlich der Verwendung und Wartung (Reparatur) in dem das Gerät begleiteten Dokument hingeswiesen.

Warnt den Verwender vor nicht isolierten «geführlichen Spannungen» im Inneren des Produktgehäuses, die ausreichend sind, um für Menschen eine Gefahr für einen tödlichen Elektroschock darzustellen


EinfachAnleitung