AEG-ELECTROLUX

DPB3631M - Пилосос AEG-ELECTROLUX - Безкоштовний посібник користувача

Знайдіть посібник до пристрою безкоштовно DPB3631M AEG-ELECTROLUX у форматі PDF.

📄 144 сторінок PDF ⬇️ Українська UK 🔧 SAV 💬 Питання ШІ 🖨️ Друк
Notice AEG-ELECTROLUX DPB3631M - page 67
Помічник з посібника
Працює на ChatGPT
Очікування вашого повідомлення
Інформація про продукт

Марка : AEG-ELECTROLUX

Модель : DPB3631M

Категорія : Пилосос

Завантажте інструкції для вашого Пилосос у форматі PDF безкоштовно! Знайдіть свій посібник DPB3631M - AEG-ELECTROLUX і поверніть собі контроль над електронним пристроєм. На цій сторінці опубліковані всі документи, необхідні для використання вашого пристрою. DPB3631M бренду AEG-ELECTROLUX.

ПОСІБНИК КОРИСТУВАЧА DPB3631M AEG-ELECTROLUX

ІНСТРУКЦІЯ З ЕКСПЛУАТАЦІЇ 67

ДЛЯ ВІДМІННОГО РЕЗУЛЬТАТУ Дякуємо, що обрали цей прилад AEG. Ми створили його для бездоганної роботи протягом багатьох років, за інноваційними технологіями, які допомагають робити життя простішим - ці властивості, які можна й не знайти в звичайних приладах. Будь ласка, приділіть декілька хвилин, аби прочитати, як отримати найкраще від цього

Звертайтеся на наш веб-сайт: Поради з використання, брошури, інструкції з усунення несправностей, сервісна інформація: www.aeg.com Зареєструйте виріб, щоб отримати покращене обслуговування: www.aeg.com/productregistration Придбання приладдя, витратних матеріалів та оригінальних запчастин для вашого приладу: www.aeg.com/shop ОХОРОНА ДОВКІЛЛЯ Здавайте на повторну переробку матеріали, позначені відповідним символом Викидайте упаковку у відповідні контейнери для вторинної сировини. Допоможіть захистити навколишнє середовище та здоров’я інших людей і забезпечити вторинну переробку електричних і електронних приладів. Не викидайте прилади, позначені відповідним символом , разом з іншим домашнім сміттям. Поверніть продукт до заводу із вторинної переробки у вашій місцевості або зверніться до місцевих муніципальних органів влади. РОБОТА З КЛІЄНТАМИ ТА СЕРВІСНЕ ОБСЛУГОВУВАННЯ Рекомендується використовувати оригінальні запчастини. При звертанні до сервісного центру необхідно мати наступну інформацію. Її можна знайти на табличці з технічними даними. Модель, номер виробу, серійний Увага! Важлива інформація з техніки безпеки. Дані можуть бути змінені без попередження.

www.aeg.com ІНФОРМАЦІЯ З БЕЗПЕКИ Перед початком будь якої операції по очищенню або обслуговуванню, відключити витяжку від електричної сітки витягуючи вилку з розетки або відключаючи загальний виключатель приміщення. Для усіх операцій по установці та обслуговуванню використовувати робочі рукавиці. Пристрій може використовуватися дітьми не молодшими 8 років та особами із зниженими фізичними, сенсорними або розумовими здібностями, або з недостатнім досвідом якщо знаходяться під контролем, або були навчені використовувати пристрій в безпечній спосіб та якщо розуміють пов’язані з тим небезпеки. Діти повинні бути під контролем і не повинні гратися з пристроєм. Операції по чищенню та обслуговуванню не повинні проводитися дітьми без нагляду. Приміщення повинно мати достатню вентиляцію коли витяжка використовується одночасно з іншими пристроями що працюють на газі або інших паливах. Витяжка повинна бути чищена всередині та назовні (ХОЧАБ ОДИН РАЗ НА МІСЯЦЬ), дотримуватися інструкцій по обслуговуванню приведених в цьому посібнику. Не дотримання норм чищення витяжки та заміни і чищення фільтрів може привести до загорання. Суворо заборонено приготування їди на відкритому вогні під витяжкою. Використання відкритого полум’я наносить збиток фільтрам і може призвести до загорання, тому потрібно уникати в будь якому випадку. Жарення повинно проводитися під наглядом щоб уникнути що розігріта олія загориться. УВАГА: Коли поверхня варіння працює доступні частини можуть нагріватися.При під’єднанні витяжки до електричної мережі дозволяється використовувати лише сертифіковані електричні адаптери, і в жодному разі не подовжувачі.

Для заміни лампочки освітлення використовувати тільки тип лампочки вказаний в розділі обслуговування/заміна лампочки цього посібника. Увага! Не підключати пристрій до електричної сітки до тих пір, поки не буде повністю закінчена установка. Що стосується технічних мір та мір безпеки у використанні що відноситься до викидів парів, суворо дотримуватися норм місцевих компетентних органів. Повітря що втягується, не повинно випускатися в трубу яка використовується для викиду димів пристроями що працюють на газі та інших паливах. Не використовувати або залишати витяжку без правильно встановлений лампочок з ризиком отримати удар електричним током. Ніколи не використовувати витяжку без правильно встановленої решітки! Витяжка НІКОЛИ не повинна використовуватися як опорна поверхня, якщо тільки не вказується. Використовувати гвинти для фіксування в наборі з продуктом для установки, якщо немає в наборі, придбати гвинти правильного типу. Використовувати правильну довжину гвинтів яка вказується в посібнику по встановленню. У випадку сумнівів, консультуватися в авторизованому центрі або з кваліфікованим персоналом. УВАГА! Не встановлювання відповідних гвинтів і пристроїв для фіксування у відповідності з цими інструкціями може привести до ризиків електричного походження.

2.ВИКОРИСТАННЯ Витяжка служить для всмоктування кіптяви та пару, що утворюються під час приготування їжі. В інструкції, що додається вказується, в якому виконанні можна використовувати вашу модель - як витяжку з виведенням

або як витяжку з внутрішньою рециркуляцією повітря 3.ІНСТАЛЯЦІЯ

Напруга в електромережі має відповідати вказаним характеристикам на етикетці, яка знаходиться всередині витяжки. Якщо в комплект входить вилка під’єднання в електромережу, то слід під’єднати витяжку до розетки, що відповідає існуючим нормам та знаходиться в доступному місці, що можна виконати й після інсталяції. Якщо ж вилка не входить в комплект (пряме під’єднання в електромережу), або розетка не знаходиться в доступному місці, також і після інсталяції, то слід вмонтувати належний двох-полюсний вимикач, який забезпечить повне відключення від мережі в умовах перенапруги III категорії, в повній відповідності з правилами інсталяції. Увага!перед тим як знову підключити витяжку до електромережі і перевірити правильність роботи, завжди контролюйте щоб шнур мережі був змонтований вірно.

www.aeg.com Відстань нижньої відчастини витяжки до посуду на кухонній плиті має бути не менше 43cm, у випадку електричних плит, та 65cm, у випадку газових та комбінованих плит. Необхідно приймати до уваги відстані, якщо вказуються в інструкції з інсталяції газової плити.

Увага! Перед будь-якою операцією чистки чи обслуговування, від’єднайте витяжку від електромережі, витягуючи вилку або відключаючи головний вимикач Витяжка має чиститись часто і як зовні так і в середині (по крайній мірі з такою ж періодичністю як і догляд за фільтрами для затримання жирів). Для чистки використовуйте спеціальну серветку, намочену нейтральним рідким миючим засобом. Не використовуйте засоби що мають абразивні матеріали. НЕ ВИКОРИСТОВУЙТЕ СПИРТ! Увага! Не виконання правил чищення і заміни фільтрів може привести до ризику виникнення пожежі. Тому рекомендуємо дотримуватись приведених інструкцій. Знімається всяка відповідальність в зв’язку з можливими ушкодженнями двигуна і пожежами, що виникли внаслідок невірного ремонту або не виконання вищеописаних попереджень.

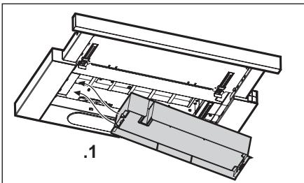
4.1 Фільтр затримки жирів

Повинен чиститись один раз на місяць не сильнодіючими миючими засобами, вручну або в посудомийній машині при низькій температурі і з коротким циклом. При митті в посудомийній машині металевий фільтр затримки жиру може втратити колір, але його характеристики з фільтрування жодним чином не

4.2 Вугільний фільтр, НЕ підлягає

Перевірка вугільного фільтру на насичення проводиться після більш менш довгого періоду використання в залежності від типу кухні і регулярності очистки фільтру жирів. У будь-якому випадку необхідно заміняти патрон максимум кожні чотири місяці. НЕ підлягає миттю чи поновленню.

5. ЕЛЕМЕНТИ КЕРУВАННЯ

Витяжка обладнана панеллю команд з контролем швидкості витягування та контролем світла для освітлення варильної поверхні.

Відключити прилад від електромережі. Увага! Перш ніж торкати лампи Витягти пошкоджену лампу та замінити її новою (див. нижченаведену таблицю):

E14 Розмір (мм) 35x102 (діаметр x довжина) Код ILCOS D (згідно норми IEC 61231) 220-240

3. - 4. - 5. Мінімальна потужність

всмоктування (3), середня (4), максимальна (5). Використовуйте інтенсивну швидкість у випадку особливо високої концентрації кухонних парів. Рекомендуємо включити витяжку за 5 хвилин до початку готування їжі і залишити його включеним на протязі 15 хвилин після закінчення готування їжі.

2.КОРИШЋЕЊЕ Витяжка служить для всмоктування кіптяви та пару, що утворюються під час приготування їжі. В інструкції, що додається вказується, в якому виконанні можна використовувати вашу модель - як витяжку з виведенням назовні як витяжку з внутрішньою рециркуляцією