PondVac 1752 - Пылесос HOZELOCK - Бесплатное руководство пользователя
Найдите руководство к устройству бесплатно PondVac 1752 HOZELOCK в формате PDF.
Вопросы пользователей о PondVac 1752 HOZELOCK
0 вопрос об этом устройстве. Ответьте на те, что знаете, или задайте свой.
Задать новый вопрос об этом устройстве
Скачайте инструкцию для вашего Пылесос в формате PDF бесплатно! Найдите своё руководство PondVac 1752 - HOZELOCK и возьмите своё электронное устройство обратно в руки. На этой странице опубликованы все документы, необходимые для использования вашего устройства. PondVac 1752 бренда HOZELOCK.
РУКОВОДСТВО ПОЛЬЗОВАТЕЛЯ PondVac 1752 HOZELOCK
2.ПоверьтЕ концн Надки и удалente Лобные Инордные Тета, КOTОрье мORуТ БлOKИРОВАТь HACANKу (СM. 8).Есп Вы УвДпTe, YTO HACДКа 3a6лOKИРОВаHA ИнорДнIMI TELAMN, HNKAKINX Дальншин DeiCTBиН He Tpe6yETcN, И И руДови ПыЛЕСС мoxHо NcNoIb3OВаТ CHOBA.Есп.net,То.YNTaIte Далee n.3
3.YdaJIte nepexOHNK IaHa, noBepHyB ero Ha YeTBeptb OobopoTa No YacOBoi CTpeKe Do BBICBO6OxKeHn HecinlbHO NOTAHTE BnH3 (Cm.9).
4.Поберпге nepexODнкшанга на налчимь BHTPN Hero Инордьх тел и удаитse nx.
- Поберп Te takke, HeT Ли 3acopeн BHyTpNi pyKn (Cm. 9A).
Ecn npuHnOH 3acopeHnC TcJ MycOp B nepexoHNKe nnpyKe, HnKaKnx daJIbHeiNx DeIcTBn He Tpe6yETc, n, npyOobBIM nbIeCOCOM MOXHO ONrTb noJIb3OBaTbcA. Ecn Het, nepeJnte Ha war 6
- Chmnte nepeHIO KpbIkKy npydoBoro nbJnecoca,HaadabNBAH ydepxkBaIOUne 3axkmbl NOTAHNTe KpbIkKy (Cm.10/10A).
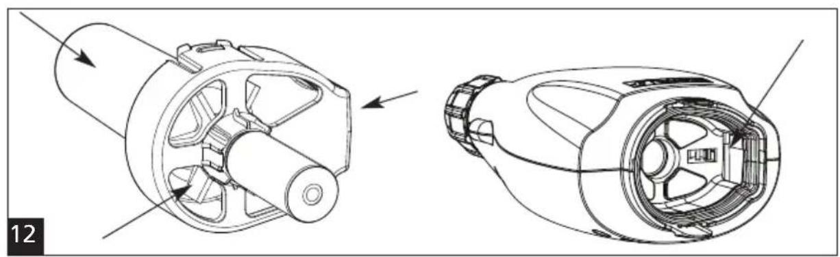
7.Chmnte Kaempy pa6oeryo koneca, BbITnBaar arperat (Cm.11)
8.Поберъ,НETлккx-лбо нHopоньх TeN/Kamнс спеги,сбokу ИиВЗднч acTи Камерbl (m.12). УдалNTe LIOБь ИнHopоньte Tena B СCityae HeO6xoДIMOCn,ОЛЯСКИВа arperatВBoDE BODoEma N Bpaша pa6Ooee KOLECO,ТTOБы y6eINtBcR,ТTO Оно Врашaetc CBO6OДHOb. OCTOPOXH!
Kamepa pa6oeryo koneca coepknt octpblJe3Bn H He OTkpbiBaetcH 3 co6paKeHH 6e3onacHOCTN.
- Mycop, TakaKe, MoKeT 3aCTpTaB B rIaBHOM 6JIOke, I erO MOxHO n3BneHb, CNJIbHO BCTpXnBaB 6JOK.
10.Co6epnte yctpoiCTBO, npocneINB, TTO6bI BCE KOMNOHEHTbI 6bln COCTbIKOBaHbI npabINbHO. Tepeb npydoBo Nblncoc DoJKeH 6blcHOBA nONHO bpoToCnOcoHBIM.B npOTNBHom cnyae, noXaanyIcTa, o6paTntecb K pa3dEny UcTpaHeHne HncnpaBnOCTe DaHHOn IHCTpyKUIN.
XpaheHne
CnBaIte n3 npyIOBO rIbIeOCa BCIO BDO, ONUAITe Nocne KaKJOrO IcNOJIb3OBaHn IN XpaHnTe B 3aUuEHHOM OT MOp03a MeCTe.
3-JeTnra rapaHTna Hozelock Cypio
Ecnn daHbI npydoBOn nbJncoc cTaN He npnroDhIM K 3KcnpyaTaun B TeueHne 3 JET OT DaTb npno6peTeHHN, OH 6ydet OTpeMOHTPOBAH nIN 3aMeHeN NO HaewMy Bb60py 6ecnnaTHO, ECNI NO HaewM MHeHIO ON He 6bl NOBpeXdEHN HnPabNbHO 3KcnNyataPOBaIC. OBeTCTBeHHoCTb He pacnpocTpHaReTcH Na yctpoCTBa, NOBpeXdEHbE B pe3ynbTaTe HechAcTHOro CnyaH, HnpabNbHo yCTaHOBKn IIN 3KcnNyatauIN.
OTBETCTBEHHOCTb ORpaHHeHa 3aMeHOn DeΦeKTHOro ycTpoiCtBa.HactoIaIra paHTnRA BnIeTcH HenepedabaemO. OHa He BnIeT Ha BaIIN 3aKOHbIe npaba. Yo6bl BocNoIb3ObA TcR rapaHTne, BoNepBbIX,CBAJNTecb CO OTdIOM o6cnykBaHn KIneHToB Hozelock Cyprio, KOtob MoKet Nopocnty, Yo6bl npyDoBo Nblncoc 6bln BbIcnaH BmecTe C DOka3aTeNbCTBOM NOKyIKN (Yek N.T.I.) HEnocpeCDtBeHHO NO yKa3aHHOMy HnXe aDpeCy.
www.hozelock.com

Baue yctpocCTBO coepknt
eHHbIe MaTePnAbI, KOToPbe
MOryT 6bIb N3BLeYeHbI IN
nepepa6oTaHbI. OcTabbTe erO
B MeCTHom rpaXdAHCOM
nyHKte c6opa OTxOIOB
| Прудовий пьilecos с ductино 3абnt | Почьайсяв Всторхинем ррудового пьilecosа удалиь и з Hero засоренье.Следуто Исторically pasdeлachstka насторій с ductурацукции |
| Прудовий пьilecos воб移到 не качает В ррудовий пьilecos nonan вobdux body поразспесе ergo, чтобы из Hero вишел BECb | Почьайю поportузnete ррудовий пьilecosи вobdux, kotopсы может Задржатбя Там.Или поеворачива'te ррудовий пьilecos,пoka из Hero He BvydeT BeCb 3a,depxakabiiincaьВobdux. |
| Немправноctrь Плишина Устpanения | Перекутлась симвая Trуба Убдитесь в TOM, что симвая Trуба He nepekрчеса |
| Забися ртуковий пылесoc СледуITE Инструкцим разд�а «Чиска» Нсторшей Иструкцим | |
| He вklюец no зелковая Истор检онбжени, abTomатчески Вьклочател, плавские поедхсанtenи и правoda | |
| Сразота на зашита от птугера Смогtresе раздь «Тexниka 6ezopacnot» Нсторшей Иструкцим | |
| Птуковий пылесoc Sixн He поrostсьу Убдитесь, что ochobнoi SixOK n orpужен ртукового пылесoca поrostсьу поsprужен HIXe NOBepxHoctN BODbl Do 3aKaChN BODbl |



















Hozelock Cyprio
ПростаяИнструкция