SmartZone EZ 8518 - Programador de rega Nelson - Manual de utilização gratuito
Encontre gratuitamente o manual do aparelho SmartZone EZ 8518 Nelson em formato PDF.
Perguntas dos utilizadores sobre SmartZone EZ 8518 Nelson
0 pergunta sobre este aparelho. Responda às que conhece ou faça a sua.
Faça uma nova pergunta sobre este aparelho
Baixe as instruções para o seu Programador de rega em formato PDF gratuitamente! Encontre o seu manual SmartZone EZ 8518 - Nelson e retome o controlo do seu dispositivo eletrónico. Nesta página estão publicados todos os documentos necessários para a utilização do seu dispositivo. SmartZone EZ 8518 da marca Nelson.
MANUAL DE UTILIZADOR SmartZone EZ 8518 Nelson
GUIA DE INSTALLação E PROGRAMAÇÃO
Para modelos:
8504
8506
8508
8512
8514
8516
8518
8522
8574
8576
8578
8582

AGRADECEmos a sua escolha do programador eletrônico de rega SmartZone™ EZ. ("EZ", do ingrês "easy" significa " fácil"). Estamos confianças de que este é o programador de maior dificuldade de uso que ja se viu. Por ser fácil de usar, o usuario talvez não necessite de instruções, porque recomendamos que as leia com atençao para se valer de todas asvantagens que SmartZone™ EZ oferece.
Para consultas, problemas ou commentários sobre o SmartZone™ EZ, liguegrass para onoxo Departamento de Servicos Técnicos no 1-800-NELSON8 (você nos EUA).
Campeões de irrigação e rega de relvas desde 1911
OBSERVACÇÃO: no empenho de estar sempre atualizando e aprimorando constantly os outros produits, as caractéristicas e espécificações deste manual pode ser alteradas sem avis prévio.
INDICE
\section*{Characteristicas 32}
Instruções de instalação 33-38
Chapa de bornes 34
Ligação da valvula principal ou relé de
partida da bomba 34
Fiação do transformador 34-35
Ligação do sensor de chuva/umidade 36
Ligação da pilha e reinicialização do programador 37-38
Programação do SmartZone™ EZ 39-48
Sintese da programacao 39
Organização do paine frontal 40-41
Como acertar a hora do dia 42
Acertar o dia da semana 42
Acertar a data de hoye 42
Selecao de zonas e duração da rega 42-43
Programação das partidas 44
Determinação da percentagem de alocação de água 44
Fixar calendários 45-46
Determinacao dos dias de rega 46
Para fixar o calendario impar/par 47
Para fixar o calendario de intervalo 47
Revisao da programacao 48
Desligar o programador 48
Procedimentos avançados 49-50
Executive umazona manualemente 49
Executive um programa manualmente 50
Executar um teste de 3 minutos (para cada zona programada) 50
Dados技术和操作 51-53
Diagnose de falhas/revisao 54
Regulamentos da FCC dos EUA 55
Garantia 56
CHARACTERISTICAS
- Qualidade professional
- Seletores e botões de fácil manuseio
- Visor grande e nítido de LCD com cristais liquidos
- Memória não-volátil retem os programas mesmo sem pilhas ou CA
3 programas independentes - 3 partidas por programa (total de 9 partidas)
- 3 calendários.optionais (calendário de 7 días, regime impar/par, intervalo de 1 a 30 días)
- 3 ciclos de testes (manual, ciclo, teste de 3 horas)
- Alocação de água
- Tempos de rega programáveis de 1 minuto a 9 horas e 59关键时刻
- Programação exclusiva Select&Adjust™ (Selecionar & Ajustar)
- Transformador interno
- Garantia de 2 anos em materiais e fabricação
INSTRUÇões DE INSTALLação
OBSERVACAO: as instruções são para instalação em ambiente interno ou ao ar livre.
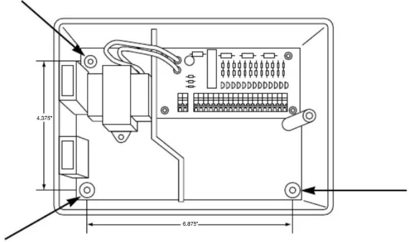
Escolha um local proximity a uma tomada ou alimentacao de 110 V (220 V para os modelos 8574, 8576, 8578 e 8582). Sempre que possivel instale o SmartZone™ EZ à alta dos olhos. Abra o pailen frontal desapertando o parafuso de travailamento e puxando a lingüeta do lado direito no pailen para que articule nas dobradiças. Utilize osTRS furos da caixa para marcar e perfurar furos-guia na parede. Os bois furos à esquerda no SmartZone™ EZ tem alinhamento vertical, possibilanto a montagem do programador a um montante (veja Figura 1). Parafuse por dentro a caixa à parede utilizing os respectivos furos-guia.
OBSERVACAO: o pailn frontal pode ser retirado para simplificar a instalação retirando-se o conector de fita da tomada no cartao de interconexão, desarticulando em seguida o pailn de suas dobradiças.

FIGURA 1
INSTRUÇões DE INSTALAÇÃO
Chapa de bornes
Todas as conexões de zona, bomba e fiação dos senores no interior do SmartZone™ EZ realizam conexões que dispensam o uso de ferramentas. Pressione a alavanca da chapa de bornes com uma caneta ou很小a chave de fenda, inserindo o fio na parte inferior. As chapas de bornes nos programadores SmartZone™ EZ aceitam fios de 4,8 mm (AWG 12) ou menores.
Ligação da valvula principal ou relé de partir da bomba
O SmartZone™ EZ vem没钱o de um circuito compaTilhado para operar um relé de partida da bomba ou entao uma valvula principal (valvula-mestra). Ligue um dos fios do relé de partida da bomba ao COM (comum) na chapa de bornes, e o除外 ao PMP/MV (bomba/valvula这其中) na chapa de bornes. Consulte as instruções do fabricante do relé de partida da bomba para detalhes espécíficos de instalacao.
Fiação do transformador*
*110 V CA nos EUA, Canadá e México; 220 V CA na Europa e Austrália.
OBSERVACAO: consulte e observe as normas locais quando forem differsentes destas instruções.
CUIDADO! Desligue a alimentacao de 110 V CA (220 V CA para os modelos 8574, 8576, 8578 e 8582) antes de,iniciar a fiacao do transformador.Complete toda a fiaao e instalaao antes de ligar o transformador a alimentacao eltrica, evitando assim os curtos-circuitos accidentais que poderiam danificar o programador.

AVISO: O material isolante primário sera exposto quando se abre o panel frontal. Deslique a corrente elétrica antes de remover este panel.
INSTRUÇões DE INSTALLação
Para os modelos 8504, 8506, 8508, 8512:
Com o pailen frontal aberto de modo acessar o transformador interno, introduza os cabos de 110V por baixoengo furo de 13 mm no dato da caixa. (Para ligaçao ao ar livre, a fiação CA deverá possuir um isolamento nominal de, no minimo, 75^ ). O electroduto delve ser afixado à terra (observe as normas locais). Conecte o cabo eletrico CA aos fios do transformador utilizing porcas de fios. Certifique-se también de que o fio de terra está conectado ao fio verde de terra com listas amarelas. Verifique as normas locais de ligação à terra para a sua area. Junte os fios e prenda-os com cinta de ligação para fazer que a fiação solta toque nos circuitos secundários. A fiação do transformador ahora está complete. NAO energize a alimentação boa.
Para os modelos 8574, 8576, 8578, 8582:
Com o paine frontal aberto de modo a acessar o transformador interno, introduza os cabos de 220 V por boaçoengo de 13 mm no fundo da caixa. (Para ligação ao ar livre, a fiação CAdeer é possuir um isolamento nominal de, no minimo, 75^ C). O electroduto deve ser afixado à terra (observe as normas locais). Ligue a fiação CA no conector fornecido e aperte os parafusos. Observe a polaridade correta dos fios quando instalá-los (isto é, L1, L2 e terra). Junte os fios e prenda-os com a cinta de ligação para fazer que a figação solta toque nos circuitos secundários. A fiação do transformador ahora está complete. NAO energize a alimentação ainda.
OBSERVACAO: a ligaçao à terra incompleta ou a omission em ligar a unidade à terra poderá provocar danos sérios ao transformador e/ou à propriedade e anulará a garantia.
Para os modelos 8514, 8516, 8518 e 8522:
O transformador vem ja ligado a um caboétrico CA de dois metros com pino ligador à terra Recomendamos ao uso é que não altere esta conexão. A substituição deste cabodeer atender à todas as normas locais e, em todo o caso, a unidade necessita estar devidamente ligada à terra.
INSTRUÇÉS DE INSTALAÇÃO
Ligação do sensor de chuva/umidade
O SmartZone™ EZ vem equipado para operar um sensor com fios de ligação normalmente fechados. A saída deste sensor no SmartZone™ EZ é a primarya conexão no cartão de interconexão (veja a Figura 2). Para instalar o sensor, retire o fio de derivação (instalado pela fabrica) do conector de sensor na chapa de bornes e colque os fios do sensor. Consulte as instruções do fabricante do sensor para detalhes especializados de instalação.

Cas o sensor tenha interrorpido a rega, o segmento indicator do sensor aparecerá no visor LCD Este*símbolo desaparecerá assim que o sensor seque ou quando for acontecido algo um modo manual do programador (veja a págnla 112). O programador SmartZone™ EZ voltará a funcional com base no programa selecionado.
INSTRUÇões DE INSTALLação
Ligaçao da pilha e reinicialização do programador
Conecte uma pilha alcalina de 9 V à presilha de pilha e colque-a no encaixe da pilha no verso do pailen frontal. Esta pilha permite a programação do SmartZone™ EZ sem tensão CA e energiza o relógio para a eventualidade da interrupção de corrente. Sem a pilha instalada, o programador perdeçá a hora em casos de interrupção da corrente.Esta pilha deve ser substituária uma vez cada ano.
AVISOI Utilize apenas uma pilha alcalina de 9 V. As pilhas de niquel-cadmio de 9 V poderao vapor ou explodir,provocando lesoes ou danos
Instalada a pilha, pressione o botão preto de reinicialização no verso do pail frontal para reinicializar o programador (isto não afetará os a programa(s)). Para voltar o programador às ajustes originais, pressionar ao mesmo tempo o botão preto de reinicialização e o botão SELECTIONAR Feche o pail frontal com cuidado para não danIFICAR a fiação. Caso os fios não esteyam flexíveis, talvez está necessário conformá-los de antemão. Aperte o parafuso do pail, afixando-o assim a caixa. Ligue o pino do cabo do transformador na tomada ou energize a alimentação.
OBSERVACAO: uma vez que todos os programas está gravados em memória não-volátil, os ajustes programados não se perdem numa interrupção de energia - mesma que a pilha não estája instalada.
INSTRUÇões DE INSTALAÇÃO

Figura 3
Vocêalready está pronto para fazer a programação.
INSTRUÇões DE PROGRAMAÇÃO
Sintese da programação
Antes de programar o SmartZone™ EZ, recomendamos ao usuario familiarizar-se com algumas orientaçõesGERais:
- Se algoum segmento do visor LCD estiver piscando, isto significica que o usuario pode alterá-lo.
- Ao utilizes os botões e ↑pressione-os e mantenha-os pressionado durante elessegundos para ativar a Paginguação rápida.
- Ao programar, certifique-se de que a letra correspondente ao programa aparece no visor; as mudanças afetam o programa relacionado aquela letra que aparece no visor.
- Não há tecla "INTRO". Os toques dos botões e os ajustes dos seletores são gravados automaticamente.
- Caso sejam feitas alteracoes quando o programa estiver em execucao, este encerrar de imediato, iniciando-se o novo programa quando da proxima partida fixada.
- Enquanto desocupado, o programador在哪一个小时 e o dia atuais.
- Durante as operaçõesmanuals,hauma demora de 10segundosantesdo inicio da operacao. Durante this periodo pode-se mudar os ajustes.Cada vez que uma mudanca é feita,este periodo de 10 segundos é reativado.
- Os procedimentos MANUAL, CICLO e TESTE de 3 MINUTOS se executam apenas quando o seletor de Programa está na posicao AUTO.
- DepoS de executado o procedimento do teste, o programador reverte ao procedimento AUTO e executa o proximo programa fixado.
- Os procedimentos de teste ignoram a conexão do sensor, permitindo assimregar ou executar o seu programa, mesmo que o sensor tenha interrompido a operação.
INSTRUÇões DE PROGRAMAÇÃO
Organização do poinel frontal
O paine frontal (Figura 4) possui um visor LCD grande, 4 botoes emborrachados, um seletor giratorio grande e dois seletores giratorios menores. Os botoes emborrachados está marcados "SELECTIONAR" e "AJUSTAR", sentido these os comandos principais de programacao SELECT & ADJUSTTM exclusiva da Nelson. Os botoes estao identificados com paraLERar ou diminuir o segmento no qual se está travaHando.
O SELECT & ADJUST™ opera considerando de primeiro, delve-se selectionar o que se deseja fixar,(depais ajustar as variaveis no segmento的选择ado. Por exemplo, para um tempo de rega de 10关键时刻 na zona 5, você utilizes a botões SELECTIONAR para可以选择ar a zona 5 e, a seguir, utilizes a botões AJUSTAR para fixar o ciclo de rega em 10关键时刻.
Haverá ocasiões em que está necessário usar apenas o botão SELECTIONAR ou apenas o botão AJUSTAR. Isto está explicado posteriormente no manual. Regra pratica: o botão SELECTIONAR escolherá as zones ou uma determinada hora de partida (1, 2 ou 3). O botão AJUSTAR fixará o horário, as datas e a % de alcôcaço de água. Veja o cartão de referencia no interior da tampa do SmartZone™ EZ para uma consulta<rapida sobre quais os botões que devem ser realizados para os diversos ajustes dos seletores giratórios.

FIGURA 4
Obs.: o seletor MODOdeer está na posicao"Programacao".
Obs.: cada vez que o botão ou é pressionado, o tempoLERá ou diminuira em um minuto. Mantenha aperto o botão ou durante 3 segundos para iniciar a paginação rapiida.
Obs.: veja a�� Dados Tecnicos para uma explicacao dos segmentos do visor.
INSTRUÇões DE PROGRAMAÇÃO
Como acertar a hora do dia
Posicao o seletor grande em HORA. Pressione AJUSTAR para paging para a hora certa. Não há指示or AM.
Acertar o dia da semana
Posicao o seletor grande em DIA ATUAL. Pressione SELECTIONAR para posicao o indicator do dia sobre o dia atual da semana. O botao SELECTIONAR avançara a direita o indicator ; o botao SELECTIONAR avançara a esquerda o indicator .
Posiciono o seletor grande em DATA. Pressione o botao AJUSTAR para paging para a data de hoye. O ANO se ajustara automaticamente ao passar de 31/12.
OBSERVACAO: a DATA sé se torna necessária se o usuario pretende utilizes o calendário IMPAR/PAR (dia sim, dia não), ou marcar uma data de partir, que não a atual, para a programação de INTERVALVO.
Selecionar zonas e acertar as durações da rega
O tempo de execução da zona determinina a duração de rega da zona selecionada.
Posicao o seletor maior em ZONA/DURAÇÃO. Pressione SELECTIONAR para escolher a zona para o programa的选择ado (A, B ou C). Com o número da zona exibido no visor, pressione AJUSTAR para fixar a DURAÇÃO DA REGA para aquela zona. As DURAÇões DA REGA pode ser fixadas desde 1 minuto até 9 horas e 59 minutos. Continue selecionando zonas e ajustando-lhes as durações até incluar as que interessam no programa的选择ado.
INSTRUÇões DE PROGRAMAÇÃO
Terminada a ultima zona ou antes da primeira, aparecerá um extrato somando a DURAÇÃO DE REGA. Este dispositalo é de mucha utilityde na determinacao do tempo total em que executarao o programa. O visor exibe "TODO", indicando a DURAÇÃO DE REGA total. Este tempo que aparece é um total de toda a DURAÇÃO DE REGA para o programa selecionado (com alocao de agua de 100% . (Por example: determinado programa tem uma duração de 5 minutos na zona 1; 12 minutos na zona 2; e 6 minutos na zona 4. O visor esta posicao exibe "TODO" e um tempo de rega total de 23 minutos).

FIGURA 5
INSTRUÇões DE PROGRAMAÇÃO
Programação das partidas
A PARTIDA é a hora do dia em que determinado programa começará a ser executado. O
Posiciono o seletor grande em PARTIDAS. Aperte SELECTIONAR para marcar a partida desejada (1, 2 ou 3). Pressione AJUSTAR para fixar a hora do dia em que o programa sera executado. Repita conforme necessario.
Fixar a % de aloção de água
% ALOCAÇÃO altera a duração dos tempos de rega do programa na percentagem escolhida de 5 % a 200 % (ou está, um ciclo de rega de 10 minutos com aloção de 50 % durá 5 minutos).
Este dispositivo oferece vantagengs quando as condiOs climaticas mudam.Durante a seca, pode-se augmentar o ciclo para cada zona incluira no programa. Com a opao % aloacaobasta mudar um unico numero para ajustar todos os tempos de rega do programa.
Posicao o seletor grande em % ALOCAÇÃO. O símbolo % aparecerá no visor, indicando ajuste de aloção percentual. Pressione AJUSTAR + - para escolher a percentagem desejada.
INSTRUÇões DE PROGRAMAÇÃO
Quando a aloção de água está fixada em 110% ou mais, o SmartZone™ EZ dividirá eminous tempo de execuição para diminuiro escoamento. Em cada zona havara meio ciclo de operação, seguido da segunda metade para cada zona.
Vale observar que a percentagem de aloção pode ser selecionada de forma independente para cada programa. Se houver programas A, B e C, está necessário dar a entrada deraxisvalores de aloção deágua para fixar os regimeis hidricos nosraxisprogramas.
FIXAR CALENDÁRIOS
Algumas observações sobre a programação de calendarsos.optionais do SmartZone™ EZ... O SmartZone™ EZ temTRS opçoes de programação de calendarsos:
- DIAS DE REGA, ou diário, permitte a escolha dos dias da sexta em que está efetuada a rega (por ex. somente segunda, quarta e sexta).
- IMPAR/PAR ajusta o programador para efetuar a rega somente nos días impares ou pares do mês (por ex. o programador efetuará a rega nos dias 31 e 1, earethais días impares, se for selecionado o calendário IMPAR).
- INTERVALo efetua a rega a cada X días (de 1 a 30 días, oucka, regar a cada 3 días, a cada 10 días, etc.).A entrada do valor 1 como intervalo significa rega diaria.Esta opao de intervalo también oferece ao usuario a flexibilidade de designar o dia em que iniciar o calendario de rega por intervals (com até 30 días de antecedencia).
INSTRUÇões DE PROGRAMAÇÃO
OBSERVACAO: O seletor MODOdeer está na posicao"Programa"para a selecao do calendario.
Quando o seletor é ajustado em qualquer uma das opções de programação de calendarsios, o visor exibirá o programa fixado (o pré-fixado da fabrica tem intervalo de 1 dia a partir da data de hoje). Certifique-se de que o seletor PROGRAMA está ajustado para o programa que você quer alterar (A, B ou C), e que você quer mesmo mudar o programa atual. Para selecionar uma opção de programação de calendárioISTA basta aperture o botão SELECTIONAR ou AJUSTAR. O novo calendário substituirá o antigo. Caso queira de volta o antigio calendário, é fácil reprogramá-lo seguido os procedimentos abaixo.
Fixar os dias de rega
Gire o seletor grande para a opcao DIAS DE REGA. Aparecerá no visor o regime atualmente em vigor, que na ausência de outra programação sera do INTERVALo de rega diária que veio pre-seLECTIONado da fabrica. Pressione o botão SELECTIONAR para escolher o dia indicado para a rega ou pressione SELECTIONAR para selecionar os dias nos quais não ocorrora a rega.
Um indicator piscando aparecerá sobre o dia que o usuario está prestes a selecionar. Aparecerão gotas sobre os dias selecionados para rega. O indicator avança automaticamente um dia para a direita, après cada toque do botão SELECTIONAR ou . Continue選擇lando ou excluindo os dias de rega até completing o calendário semanal.
INSTRUÇões DE PROGRAMAÇÃO
Para fixar o calendário impar/par
Posicao o seletor grande em impar/par. O visor做不到 oultimate programa的选择ado ou a opcao de intervalo de 1 dia (pré-Selecionado pela fabrica). Para fixar um calendario de dias impar ou par, pressione SELECTIONAR (e necessario fixar uma data para a rega em regime impar/par). Aparecerá uma seta no visor muito ao calendario indicado (impar ou par). Os botões SELECTIONAR funcaoam como teclas alternativas entre as seleções impar e par.
OBSERVACAO: a programação do calendário IMPAR/PAR apagará qualquer calendário já existente para o programa selecionado.
Para fixar o calendário de Intervalo
Posicao o seletor grande em INTERVALo. O visor做不到 a ultima opcao de programacao的选择ada ou a opao de intervalo de 1 dia (pré-Selecionado pela fabrica). Para fixar os dias por intervals entre regas (1 a 30), pressione o botao SELECTIONAR A data exigida representa o primeiro dia do calendario por intervals, (sendo a data de hoje, se fixada durante a programacao). Se necessario, mude a data inicial do intervalo programado com AJUSTAR + até, no maior, daqui a trinta dias.
Repita os procedimentos acima descriitos para cada programa desejado (A, B ou C).
É so! O seu SmartZone™ EZ ahora está programado. Posicione o seletor MODO em AUTO para executar o programa escolhido.
OBSERVACAO: a programação de INTERVALo apagará qualquer calendário já existente para o programa selecionado.
INSTRUÇões DE PROGRAMAÇÃO
REVISÃO DA PROGRAMAÇÃO
Para rever o programa的选择器,gire o seletor MODO para a posicao PROGRAMAR, e selecione com o seletor grande a variavel que se deseja rever (p. ex. posicao o seletor grande em HORA para revert a hora fixada para o programador). Para rever as diversas zonas ou tempos de execucao (duração) (1,2,3), utilize apenas os botoes SELECTIONAR
OBSERVACAO: quando o modo de programação estiver的选择o, tenha cuidado para não alterar o programa inadvertamente.
DESLIGAR O PROGRAMADOR
Quando o usuario quiser, poderá interromper a rega, quer por intervalos curtos (enquanto chove, sem sensor instalado) ou por periodos maiores (durante o inverno). Para tanto, o SmartZone™ EZ poderá ser desligado. Posizione o seletor MODO na posão DESLIGA. Este ajuste interrompe toda a operação de rega (inclusive os procedimentos manuales/de teste). O relógio continua para marcando a hora e a data atuais, sentido retidos también o(s) programa(s) para eventual utilização. Para executar o seu programa, posizione o controle MODO de volta em AUTO.
OBSERVACAO: a memória não-volátil do SmartZone™ EZ manterá gravado o seu programam mesmo sem estar energizada. Ocorrendo interrupção de energia sem que apilha esteja instalada, o relógio perdá a hora e terá de ser reprogramado.
PROCEDIMENTOS AVANÇADOS
O programador SmartZone™ EZ possui tres procedimentos avançados para verificacao do funcimento ou para bloquear o programa vigente e regar de imediato. A secao que segue explicao comoaabustar o programador para:
- Executor uma zona manualmente
- Executor um programa manualmente
- Executor umteste de 3 minutos para cada zona programada
OBSERVACAO: todos os procedimentos de teste são executados com o seletor MODO na posicao AUTO. Isto permitirá ao programador a retomada do ajuste AUTO tao logo concluso o procedimento de teste/manual. Por ser automatico, não existe a necessidade para o operador voltar e reajustar o programador para AUTO quando a conclusao de eventuais testes.
OBSERVACAO: os procedimentosmanuals/de teste ignoram a conexao do sensor, permitindo a rega manual/de teste mesmo quando o sensor tiver suspendido a execucao do programa.
Executor uma zona manualmente
Posicao o seletor grande em MANUAL. O piscar da zona 01 e dos 00:10钝os significa que estes valores podem ser ajustados. Pressione SELECTIONAR para escolher o numero da zona que você quer regar. Pressione AJUSTAR + - para fixar a duração da rega para a zona的选择ada. Haverá uma demora de 10 segculos para o inico do ciclo para a zona的选择ada.
PROCEDIMENTOS AVANÇADOS
O SmartZone™ EZ da Nelson offerece no procedimento MANUAL o disposisivo ManualAdvance™.Esta opção ManualAdvance™ permite a interrupção da zona sendero executada atualmente e o avanço immediato para qualquer othera zona que você selecionar. Com o procedimento MANUAL a vigorar, pressione SELECTIONAR para avançar para uma outra zona. Aparecerá no visor o ultimateo periodo de execução fixado. Pressione AJUSTAR para introduzir um novo ciclo para esta nova zona. Haverá uma demora de 10 segundos antes do inico da execução da nova zona.
Executor um programa manualmente
Posicao o seletor maior em CICLO, e a letra do programa vigente piscará. Para Mudar de programa, gire o seletor PROGRAMA para a posicao desejada (A, B ou C). Haverá uma demora de 10 segculos antes do inico da execucao. Rodado o programa, o programador retomará automaticamente o procedimento AUTO.
OBSERVACAO: o modo CICLO executa imeditamente o programa vigente. O programa não pode ser alterado durante o procedimento de CICLO.
Testede 3 minutos (Seringa)
Posiciono o seletor maior em TESTE DE 3 MINUTOS. O visor exibirá o A, B e C, inalteráveis. Isto indica que o programador verificará osraxisprogramas, executando o teste de 3 minuto apenas nas zonas ja programadas. Isto nos chamamos de SmartSyringeTM.
Este dispositivo permite ao programador delear de lado as zonas que nao foram programadas, poupando assim a sua bomba, quando for o caso, se estas zonas ainda nao foram connectadas.
DADOS TÉCNICOS
1. Transformador
Transformador interno de 24 V CA; 20 VA, 0,83 A para as zonas e a lógica. O transformador pode controlar, no máximo, uma bomba ou valvula principal e uma valvula de zona.
2. Proteção contra picos de tensão
MOV de 7 joules entre os secundários (veja Disjuntor abaixo)
3. Operação do sensor
O SmartZone™ EZ vem configurado para operar com ou sem sensor. Os sensores devem ter connexões normalmente fechadas (fios conduutores). O fio de derivação deve estar instalado se nenhum sensor estiver conectado.
4. Fios das zonas
O SmartZone™ EZ pode operar até das (2) saídas ao mesmo tempo, desde que uma sera a valvula minha/bomba. Cada saída de zona pode operar um solenóide.
Corrente de mantenção 0,40 A max.
DADOS TECNICOS
5. Faixa de temperatura
Operacional: -5^ a +55^ (23°F a 131°F)
Armazenamento: -30^ a +85^ (-22°F a 185°F)
6. Visor

7. Pilhas
Umailha alcalina de 9 V. Nao utilize pilhas de niqueI-cadmio.
Aviso: Ainda que o seu functiomento não sera afetado, é necessario tomar cuidado para não tocar o visor LCD de cristais liquidos. Altos niveis de ESD podem mudar algunos segmentos do visor.
8. Retenção do programa
A memória não-volátil retém os programas quando da perda de tensão CA e dailha.Esta memória e atualizada sempre que o programa é alterado e a cada 5 minutos. A memória não-volátil funciona, no minimo, durante 5 anos na pior das hipóteses.
DADOS TÉCNICOS
9. Dimensoesapproximadasda caixa
15 cm de alta, 24 cm de largura, 10 cm de dato (a tampa pode ser retirada sem ferramentas)
10. Programa fixado na fabrica
Zero hours (não há指示or A.M. no visor LCD)
Domingo
Data: 01.01.96
Sem Tempos de execução (zona 01, -:-)
Sem horas de partida (n^ de partira 01, -:-)
Alocação de água de 100%
Rega diaria (Intervalo = 01; Data inicial = hoje)
Seletor de MODO na posicao DESLIGA
Seletor de Programa ajustado em A
Demora de 3 segundos entre zonas (não pode ser alterado)
11. Disjuntor
Uma chave multipla eletrica está incorpora no cartao de circuitos impressos de interconexao do programador. Este tipo de disjuntor nao requires reinicialização ou substituição ao usoário.
DIAGNOSE DE FALHAS/REVISAO
| SINTOMA POSSÍVEL CAUSA Solução | ||
| Nenhum sinal para as zonas, bomba ou válvula principal programador não detectar tensão, aparecerá | CA desligada Sem pilha ou pilha gasta | Veríque a alimentação CA; se o o símbolo de falta de CA |
| Sem CA e sinal apagado no panei | Sem pilha ou pilha gasta | Troque a pilha e pressione o botão de reinicialização (Veja a págnina 96) |
| Visor em branco • Sem CA e sem pilha • | Cabo de fita desconnectado | Instale a pilha para reativar o visor; veríque a alimentação CA para asseguir saída para o Campo Veríque se as duas extremidades do cabo de fita entre o panei frontal e a cartão eletrônico do programador está conectadas |
| Visor confuso ou faltando segmentos | É necessário reinitializar o programador | Pressione o botão de reinicialização. Se continua confusa, pressione ao mesmo tempo o botão de reinicialização e o botão SELECTIONAR + (o que returna à programação original da fibrica) |
| "M-X" aparece no visor ao se tentar operação manual de uma zona | Seletor MODO está na posicao programação | Posicao o seletor MODO na posão AUTO para rega manual de uma zona |
| "C-X" aparece no visor ao se tentar,iniciar CICLO em uma zona | Seletor MODO está na posão programação | Posicao o seletor MODO na posão AUTO para executar um programa |
| "S-X" aparece no visor ao se tentar executar um TESTE DE 3 MINUTOS | Seletor MODO está na posão programação | Posicao o seletor MODO na posão AUTO para executar o teste de 3 minutos |
| O programador não executa o TESTE DE 3 MINUTOS | Não há programas no A, B ou C | Introduzir um programa, inclusive com os ciclos para as zonas desejadas. O TESTE DE 3 MINUTOS opera abenas sobre nas zonas que contém temes de execuição programados |
| Er1 aparece no visor | Houve erradecoumacação entre o microprogramador e a memória não-volátil Se o erradocanterior, substitua o cartao | Pressione o botão de reinicialização. |
| Er2 aparece no visor | Há mais de 24 horas de ciclos programados | Veríque o total dos tempos de execuição programados para todos os programas e faça as correções - OU - Pressione ao mesmo tempo o botão de reinicialização e SELECTIONAR + para returnar à programação original da fibrica. |
PECAS SUBSTITUVEIS
- Transformador
Fita de interconexão - Paine frontal
Cabo eltrico de 2 metros
- Cartão de interconexão
REGULAMENTOS DA FCC DOS EUA
Este programador eletrônico de irrigação gera e utilizes energia de frequência de rídio e, se não instalado e utilizes corretamente, isto é, em perfeita conformidade com as instruções do fabricante, poderá provocar interferência com a receção de rídio e televisão. O aparecido passou por ensaio de enquadramento e enquadrou-se, assim, nas normas para um disposito de informática Classe B em conformidade com as espécicações constantes da alínea J da Parte 15 das Normas da Comissão Federal de Comunicações dos EUA, as quais foram lavradas com o intuito de proporcional proteção razoavel contra tal interferência em instalações residenciais. Ressalva-se que não existe garantia de que nenhuma interferência ocorro é determinada instalação. Caso este programador interfira com a receção de rídio ou televisão, fato que pode ser determinado pelo desligamento e reativação do programador, recomenda-se ao 用户 que tente corrigir a interferência adotando uma ou mais das providências a seguir:
- reorientando a antenna de receção;
- deslocando o programador em relacion à posicao do aparelho receptor;
- afastando o programador do aparelho receptor;
- ligando o cabo em另一t tomada para que o programador e aparelho receptor estejam em circuitos derivados differentes.
Se necessario, o usuario devera consulutar a distribuidora ou um专业技术e habilitado em consertos de rádios e teilevores para.
outras sugestoes. O usuario podera obter informacoes adcionais do livreto preparado pelae Comissao Federal de
Comunicações:
"How to Identify and Resolve Radio-TV Interference Problems" ("Como Identificar e Solucionar Problemas de InterfERENCE con Rádio e Televisão"). Este livreto é distribuído pelo U.S. Government Printing Office, Washington, DC, 20402, EUA. N° de estoque 007-000-00345-4.
REGULAMENTAÇAO CANADENSE SOBRE RADIOINTERFERÊNCIA
OBSERVACAO: este aparecido digital não ultrapassa dos limites da Classe B para emissões de apareiros digitais constantes dos regulamentos de radiointerferência do Departamento de Comunicações do Canadá.
GARANTIA
Garantia limitada
A L.R. Nelson Corporation ("Nelson") garante que todos os produits eletrônicos estão livres de defeitos de material e de fabricação, por um periodo de 2 (dois) anos a partir da data da compra original. No evento de tais defeitos ocorrém, a Nelson convertá ou substitui, conforme critériosproprios, o produits ou a peça defeituosa.
Esta garantia nao cobre danos em um produit Nelson ou peca resultante de um acidente, erro no uso, alteracao, negligencia, abuso, instalacao inadequada, desgaste normal ou da aparencia exterior e da cor. esta garantia é valida apenas ao uso original do produits Nelson.
Se o defeito surgir em um produit Nelson ou peça dentro do periodo da garantia, o usuario deve contatar o fornecedor, distribuidor Nelson, ou a L.R. Nelson Corporation em um dos seguients endereçOs:
One Sprinkler Lane 1961 Miraloma Ave. 3462 Maggie Blvd.
Peoria, IL 61615 Suite B Orlando, FL 32811
(309) 690-2200 Placentia, CA 92670 (407) 648-1020
Fax (309) 692-5847 (714) 993-0496 Fax (407) 648-0924
Fax (714) 993-0496
A Nelson pode, se assimilar optar, exigir que o produits ou peça sera enviada a uma de suas ofinicas, ao seu fornecedor ou ao distribuidor. A Nelson determinar se a reclamacao de defeito é coberta pelga garantia. Se tiver cobertura, o produits sera convertado ou substituido. O prazo para a conclusao dos reparos ou substituicao e returno do produits ou peça é de 4 a 6 semanas. Se um produits ou peca for substituido, a substitucao é garantidaapanas dele tempo da garantia original.
Ea r t a o responsabldde en conexao com os produits Nelson.
NA EXTENSAO PERMITIDA PELA LEI, QUALQUER GARANTIA IMPLICITA DE COMERCIALIZATION OU APTIDAO PARA UM CERTO PROPOSTO APLICAVEL AOS PRODutos NELSON É LIMITADA À DURAÇÃO DESTAS GARANTIAS ESCRITAS. NEM A L R NELSON CORPORATION NEM OS SEUS DISTRIBUTORES OU COMERCIAENTES SERA O RESPONSAVEIS POR PERDA DE TEMPO, INCONVENIENTA, PERDA ECONOMÍCA OU DANOS EMERGENTES OU DE LUCROS CESSANTES RESULTANTES DA VENDA OU DISTRIBUIÇÃO DOS PRODutos NELSON, SEJA POR QUEBRA DE GARANTIA DO CONTRATO VIGENTE OU POR NEGLIGÊNCIA OU DANO. Alguns estados não permitem limitações na duracao de uma garantia implícita ou a exclusão ou limitação de danos emergentes ou de lucros cessantes. Nestes casos, as limitações e exclusões acima mentionadas podem não lhe ser pertinentes.
Se tiver qualquer pergunta sobre a garantia e suas aplicacoes, por favor escreva para:
L. R. NELSON Corporation
One Sprinkler Lane
Peoria, Illinois 61615 EUA
Os produits devolvidos ao varejista ou distribuidor como sentido defeitoso devem ser inspecionado pelo representante de vendas da Nelson para determinacao de conformidade com a garantia. Se a aprovacao for dada, os produits sera convertados ou substituicos, ou um memorando de credito cobrindo o preco liquido de compra sera emitido.
ManualFácil