SmartZone EZ 8518 - Programador de riego Nelson - Manual de uso y guía de instrucciones gratis
Encuentra gratis el manual del aparato SmartZone EZ 8518 Nelson en formato PDF.
Preguntas de los usuarios sobre SmartZone EZ 8518 Nelson
0 pregunta sobre este aparato. Responde a las que conoces o haz la tuya.
Hacer una nueva pregunta sobre este aparato
Descarga las instrucciones para tu Programador de riego en formato PDF gratis! Encuentra tus instrucciones SmartZone EZ 8518 - Nelson y toma tu dispositivo electrónico nuevamente en la mano. En esta página están publicados todos los documentos necesarios para el uso de su dispositivo. SmartZone EZ 8518 de la marca Nelson.
MANUAL DE USUARIO SmartZone EZ 8518 Nelson
GRACIAS por comprar el programador de riego SmartZone™ EZ. Usted descubrirá muy pronto por qué lo llamaos "EZ" (suena como "easy", "sencillo" en ingles). Estamos seguros de que sera el programador de riego más sencillo y fiable que usted usa en su vida. Es un programador multifunciones tan fácil de usar que es posible que usted lo pueda instalar y programar sin leer las instrucciones. Sin embargo, le recomendamos que antes de instalarlo y programarlo, lea este manual cuidadosamente para aprovechar al máximo todas las ventajas que SmartZone™ EZ le offre.
Si tiene alguna pregunta, problema o commentario sobre su nuevo SmartZone™ EZ, llama por favor a了我的 Centro Departamento de Servicios Técnicos al número de accesenooothio 1-800-NELSON8.
Lideres en el riego de céspedes desde 1911
NOTA: Dados nuestros esfuerzos continuos de melhorar yactualizar nuestros productos, las caracteristicas y specifications en este manual pueda Cambiarse sin avis previo.
CONTENIDO
Funciones 3
Instrucciones de instalacion 4-9
Regletas de connexion 5
Conectar la valvula maestra o relevidor de arranque de la bomba 5
Cableado del transformador 5-6
Conectar el sensor de lluvia y de humedad 7
Conectar la pila y reinicializar (reponer) el programador 8-9
Instrucciones de programacion 10-19
Vista global 10
Diseño del panel frontal 11-12
Fijar la hora del día 13
Fijar el día actual 13
Fijar la Fecha de hoy 13
Selecciónar zonas y fijar sus tiempos deexecution 13-14
Fijar las horas de inicio 15
Fijar % del volumen de agua 15
Fijar calendarios de riego 16-17
Fijar la option dia de riego 17
Fijar la opticon dia impar y par 18
Fijar la option intervalo 18
Revision del programa 19
Paraapagar elprogramador 19
Funciones avanzadas
Ejecución manual de una zona 20-21
Ejecución manual de un programa de riego 21
Ejecución de una prueba de tres Minutes (jeringa) 21
Datos技术和 22-24
Detecion y correction de fallas, y service 25
Reglas de la Comisión Federal de Comunicaciones de EE.UU. (FCC) 26
Garantia 27
FUNCTIONES
- Clase profesional
- Teclas y botones fáciles de usar en la programación
- Pantalla de cristales liquidos (LCD, en inglés) grande y clara
- Memoria no volátil para la retencion de los programas sin alimentación CA ni pilas
3 programas independentes - 3 horas de inicio por programa (9 en total)
- 3 OPCIONES DE PROGRAMACION (7 días calendarios, impares y pares, e intervalo de 1 a 30 días)
- 3 ciclos de prueba (manual, ciclo, prueba de 3 horas)
- % de volumen de agua
- Horas de operación programables desde 1 minuto hasta 9 horas 59关键时刻
- Programación de Señecionar/Ajustar (Select&Adjust) exclusiva
- Transformador interno
- Garantía de 2 años en los materiales y la mano deoba
INSTRUCCIONES DE INSTALLACION
NOTA:把这些instrucciones son validas para uso en interiores o exteriorores.
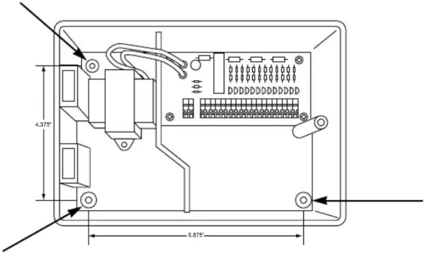
Designar un lugar cerca de un tomacorriente de 110 V (220 V para 8574, 8576, 8578 y 8582) o una fuente de cableado de 110 V. Instalar el SmartZone™ EZ tan al nivel de la vista como sea possible. Abrir el panel frontal aflojando el tornillo que lo asegura y tirando de la lengüeta a la derecha del panel frontal para abrirlo sobre sus bisagras. Utilizar las tres perforaciones en la caja para marcar y pretaladrar los agujeros para las guías de los tornillos en la pared. Los dos agujeros guía de la izquierda en el SmartZone™ EZ está alineados verticalmente para montar el programador en un poste. (Vea la Figura 1) Insertar los tornillos a工程技术 de las perforaciones en la caja yJKLM correspondiente en la pared.
NOTA: El panel frontal puede retirarse para poderar la instalacion quitando la banda de conexion de la tarjeta de interconexiones y tirando del panel frontal fuera de sus misasagras.

FIGURA 1
INSTRUCCIONES DE INSTALLACION
Regletas de connexion
Todas las conexiones de los alambres de zona, bomba y sensor hechas bajo del SmartZone™ EZ realizan conectores de simple encaje (sin necessities de herramientos). Aplicar presión sobre las palancas en la regleta de conexiones terminales con un bolígrafo o un destornillador(PCPOe insertar el alambre hasta el fondo. La regleta de conexiones terminales del programador SmartZone™ EZ acepta alambres de 12 AWG (4,8 mm) o más(PCPOe
Conectar la valvula maestra o relevidor de arranque de la bomba
El SmartZone™ EZiene equipado con un circuito compartido para operar ya sea un relevidor de arranque o una valvula maestra. Conectar un alambre del relevidor de arranque a la terminal COM (común) y el(other alambre a la terminal PMP/MV (bomba/valvula maestra) en la regleta de conexiones.Consultar el manual del fabricante del relevidor de arranque para mayores detalles sobre la instalacion españica.
Cableado del transformador*
*110 V de CA en Estados Unidos, Canadá y México; 220 V de CA en Europa y Australia.
NOTA: Consulte y cínase a loscottigos locales si son differses de lo indicado en este manual.
PRECAUCION: Desconecte la fuente de alimentacion de 110 V (220 V para los modelos 8574, 8576, 8578 y 8582) antes de conectar el transformador. Complete todo el cableado y la instalacion antes de conectar el transformador a la alimentacion. Este evitarac corto-circuitos accidentales que pudieran dar aar el programador.
INSTRUCCIONES DE INSTALLACION
Para los modelos 8504, 8506, 8508, 8512:
Con el panel frontal abierto para tener acceso al transformador interno, subir los alambres de 110V a工程技术 de la perforacion de conducto de 1 / 2^ en la parte inferior de la caja. (Para hacer la conexion de campo, los alambres de CA deben tener un aislante clasificado a un minimum de 75^ ). El conducto debe quedar asegurado a la caja (siga loscottigos lacales). Unir los alambres de CA a los alambres del transformador utilizing tueras para alambre. Asimismo, asegurarse de unir el alambre de conexion a tierra al alambre correspondiente en la terminal verde-amarilla. Revisar por favor los codgas locales para informarse de los requisitos de conexion a tierra en su area. Enrolle el cordon bajo delazo plastico y apiretelo para prevenir que el alambrado toque circuitos secundarios. El transformador está ahora cableado. No encender todavia la alimentacion.
Para los modelos 8574, 8576, 8578, 8582:
Con el panel frontal abierto para tener acceso al transformador interno, subir los alambres de 110V a工程技术 de la perforacion de conducto de 1 / 2^ en la parte inferior de la caja. Para hacer la conexion de campo, los alambres de CA deben tener un aislante clasificado a un minimum de 75^ C). El conducto debe quedar asegurado a la caja (siga los@cuidos lacales). Conecte los alambres de corriente alterna (AC) al conductor proportionado y apriete los tornillos. Tenga cuidado de la polaridad de los alambres cuando los instale (ej: L1, L2 y negativo). Enrolle el cordon bajo delazo plastico y apirotelo para prevenir que el alambrado toque circuitos secundarios. El transformador está ahora cableado. No encender todavía la alimentación.
NOTA: Si la unidad no se conecta a tierra adecuadamente, se podrián causar daños graves al programador y/o daños materiales y personales, y anular la garantía.
Para los modelos 8514, 8516, 8518 y 8522:
El transformador ha sido precableado con un cordón eletrico de CA de 6 pies (1,8 m) con una clavija de connexion a tierra. Le recomendamos no alterar esta connexion. El reemplazo de este cordón debece nirse a los@cuidos locales y en todos loscasos la unidaddebe estdaribidamente connectadaa tierra.
INSTRUCCIONES DE INSTALLACION
Conectar el sensor de Iluvia y de humedad
El SmartZone™ EZiene equipado para operar un sensor con conductores que está cerrados normalmente. El puerto del sensor en el SmartZone™ EZ es el primer conector de simple encaje en la tarjeta de interconexiones (vea la Figura 2). Para instalar un sensor, retiring del conector del sensor el alambre de empalme instalado en fabrica en la regleta de conexiones terminales e insertar los alambres del sensor. Consultar los detailles de instalacionesionlicos en el manual proportionsacion por el fabricante del sensor.

FIGURA 2
Si un sensor ha suspendido el riego, el segmento indica del sensor aparecerá asi en la pantalla LCD: El*simbolo se apagará cuando el sensor esté seco o cuando el programador sea ajustado en uno de los modelos manuales (vea las páginas 23-25). El SmartZone™ EZ reanudará su funciona de acuerdo con el programa selecciónado.
INSTRUCCIONES DE INSTALLACION
Conectar la pila y reinitializar (reponer) el programador
Conectar una pila alcalina de 9 V a la pinza del conector e insertarla bajo del compartmento correspondiente atras del panel frontal. La pila habilita al SmartZone™ EZ para ser programado sin alimentacion de CA y mantiene el reloj de tiempo real en caso de una interrupcion de la alimentacion electrica. Si no se instala una pila, el programador perdera el tiempo real en caso de una interrupcion de la alimentacion. La pila debe ser reemplazada cada anio.
PRECAUCIOn: Utilice unicamente una pila alcalina de 9 V. Una pila NiCad de 9 V podria causar una fuga o explotar causando lesiones personales o daños materiales.
Después de instalar la pila, oprimir el botón de reinitialización (reposición) negro en la parte de atrás del panel frontal para reinitializar el programador (no afecta(n) el (los) programa(s)). Para reinitializar el programador a sus ajustes por omission (default), oprimir el botón negro de reinitialización y la tecla SELECTIONAR à la vez. Soltar el botón de reinitialización (reposición) antes de soltar la tecla SeLECTIONAR Cerrar el panel frontal, asegurándose de noñana los alambres. Si los alambres están rígidos, le podra convenir predoblarlos. Ajustar el tornillo del panel para sujetar el panel frontal en la caja. Enchufar el cordón de CA del transformador o encienda la fuente de alimentación.
NOTA: Dado que todos los programas se almacenan en memoria no volátil, no se perdán los ajustes de los programas durante una falla electrica, aun en caso de que no se haya instalado una pila.
INSTRUCCIONES DE INSTALLACION

Figura 3
Ja está usted lista para empezar la programacion!
INSTRUCCIONES DE PROGRAMACION
Vista global
Antes de programar el SmartZone™ EZ,oulda serleutil familiarizarse con algunos lineamenti de programacion generales:
- Si un(os) segmento(s) en la pantalla LCD destella(n), éso significà que pueda(n) ser modificado(s) por el usuario.
- Al usar las teclas o amortener oprimido el botón durante tres seguidos para comenzar un repaso rápido de las-optiones.
- Asegurar de que la letra adecuada del programa esté en pantalla en el momento de programar; losCambios en la programacion son especificos para la letra del programa que aparece en la pantalla LCD.
- No hay tecla "INTRO(DUCIR)". Alocrimiruna tecla oajustar un boton,estos ajustes se almacenan automatamente.
- Al introducir un cambio en la programacion cuando el programa está enexecution, el programa finaliza de inmediato. El nuevo programa comienza en la?sigue日上午 de inicio programada.
- Cuando no está executando ningún programa, el programador做不到 en pantalla la hora y día actuales.
- Durante las operaciones manuales, hay un retraso de 10segundos antes de que comience la operacion. Durante este lapso,usted可以选择 alterar los ajustes. Cada vez que usted introduce un cambio, el retraso se reajusta a 10segundos.
- Los procedimientos MANUAL, CICLO y PRUEBA DE 3 MINUTOS sólo funciona con el botón Programa en la posición AUTO.
- Después de executar el procedimiento de prueba, el programador regresa al procedimiento AUTO y Erecta el suiviente programa fjado.
- Los procedimientos de prueba ignoran la connexion del sensor; este le permittedo registrar o executar su programa, aun si el sensor ha suspendido la operation.
INSTRUCCIONES DE PROGRAMACION
Diseño del panel frontal
Derente al panel frontal (vea la Figura 4),usted ve una pantalla LCD grande, 4 botones de goma, un boton giratorio grande y dos botones giratorios pequeños. Los botones de goma está marcados como "SELECTIONAR" y "AJUSTAR" y son el corazón del exclusivo sistemas de programación SELECT&ADJUST™ (SELECTIONAR/AJUSTAR) de Nelson. Las teclas están identificadas con los@simblos para incrementar o reducir el segmento en el que está工作的.
SELECT&ADJUST™aska bajo el principio de que usted SELECTIONA primo lo que desea fjar y, bajo, AJUSTA las variables que selecciono. Por exemple, si desea una duracion del riego de 10 instantos en la zona 5, usted tendría que usar las teclas SELECTIONAR para selectionar la zona 5 y, una vez en la zona 5, usted utilizes las teclas AJUSTAR para ajustar la duracion del riego a 10 instantos.
Hay casos en los que solo se requiere usar SELECTIONAR y AJUSTAR. Estos casos se explicaran en esta guía en el lugar correspondiente. Como regla general, SELECTIONAR escogerá las zonas o una hora de inizio spécifique (1, 2 o 3). AJUSTAR fjará las horas, fechas y el volumen de agua. Vea en la tarjeta para colgar bajo de la tapa del SmartZone™ EZ una referencia<rápida sobre los botones a utiliser para lasdietes posiciones de los botones.

FIGURA 4
NOTA: El botón de MODO deben estar en la posición "Programación".
NOTA: Cada vez que se oprime la tecla , el tiempo se incrementa o reduce en un minuto. Mantenga la tecla , oprimida durante tres seguidos para iniciaar un repaso=rápido de las options.
NOTA: Consulte por favor en la seccion de datos技术和 una explicacion de los segmentos de la pantalla LCD.
INSTRUCCIONES DE PROGRAMACION
Fijar la hora del día
Girar el botón grande a la posición HORA. Oprimir AJUSTAR para Cambiar y ajustar la hora correcta. No hay indicator de A.M.
Fijar el día actual
Girar el botón grande a la posición DIA ACTUAL. Oprimir SELECTIONAR para desplazar el indicator▼ del día actual yponerlo sobre el día actual.SELECTIONAR desplazarél indicator▼ hacía la derecha; SELECTIONAR lo desplazará▼ hacía la izquierda.
Fijar la Fecha de hoy
Girar el botón grande a la posición FECHA. Oprimir las teclas AJUSTAR para Cambiar yaabustar la Fecha actual. El ANO avanzará automatistically al pasado por 12/31 [31 de diciembre].
NOTA: Se requires una FECHA únicamente si busca utilizes programación IMPAR/PAR o fjjar una Fecha de inicio que no sea la Fecha corriente para la programación INTERVALO.
Selecciónar zonas y fjjar sus tiempos deexecution
El tiempo deexecution del riego de zona determina la duracion o lapso en que se executar a programa para una zona.
Girar el botón grande a la posición ZONA/DURACION. Oprimir SELECTIONAR para selecciónar la zona que deseee para el programa seleccionado (A, B o C). Con el número de zona mostrado en la pantalla LCD, oprimir AJUSTAR paraaabstar la DURACION del riego para esta zona. La DURACION se suepe ajustar desde 1 minuto hasta 9 horas y 59 minutes. Seguir seleccionando las zonas y ajustando las duraciones hasta que tengas todas las zonas deseadas en el programa seleccionado.
INSTRUCCIONES DE PROGRAMACION
Después de laULTima zona y antes de laprimera, se proportionscna unasuma total de la DURACION del riego. Este esutil para determinar el tiempo deexecution de un programa.La pantalla LCD muestra las letras "ALL" [TOTAL] y aparece la DURACION total.El tiempo mostrado en pantalla esunasuma totalde todaslasDURACIONESde riego para elprograma seleccionado (a 100% del volumen de agua total). (Ejemplo: Un programa tieneuna duracion de 5minutos enla zona1,12minutos enla zona2;y6minutos enla zona4.La pantalla en esta posicfonmuestra ALL [TOTAL] y una duracion de 23 minutos).

FIGURA 5
INSTRUCCIONES DE PROGRAMACION
Fijar las horas de inicio
HORA DE INICIO es el tiempo del día en que un programa comienza a executarse. El SmartZone™ EZ permite tres horas distinctas de inicio por programa.
Girar el botón grande a la posición HORAS DE INICIO. Oprimir SELECTIONAR +- para selecciónar la hora de comienzo que desea programar (1, 2 o 3). Oprimir AJUSTAR +- paraaabstar la hora del día en que el programa comenzará. Repetir este procedimiento, según se necesse.
Fijar % del volumen de agua
El % de VOLUMEN DE AGUA cambia la duración de los tiempos de execución de un programa según el percentaje introducido de 5 a 200% (por exemple, el tiempo de execución del riego de 10 horas a un 50% del volumen de agua dura 5 horas).Esta función esutil cuando occursncretios climaticos. Si esextraordinamente seco,ustedquerra extendar la duracion del riego para cada zona en un programa. Con % de volumen de agua,ustedpuede携带an numero y todas las duraciones del riego en el programa seajustan.
Girar el botón grande a la posición % VOLUMEN DE AGUA. Aparecerá un símbolo "%" en la pantalla LCD para indicarle que está ajustando la cantidad porcentual del volumen de agua. Oprima AJUSTAR para selecciónar el percentaje deseado.
INSTRUCCIONES DE PROGRAMACION
Si el % de volumen de agua se ajusta para 110% o más, el SmartZone™ EZ dividirá la duración del riego a la mitad para reducir el despilfarro de agua. La mitad de la duración del riego calculada funciona para cada zona en este programa, seguido por lasegunda mitad de la duración para cada zona.
Recuerde, el % de volumen de agua cambia de un programa aarlo. Siusted está programando en A, B y C, usted debe introducir tres valores de volumen de agua si desea que cada uno de los programas se cambie.
FIJARCALENDARIOS DE RIEGO
Unanota rápida sobreprogramación y SmartZone™ EZ ...
El programador SmartZone™ EZ tiene tres.optiones deProgramming de calendarios de riego:
- Días DE RIEGO o diariamente, le permite selectionar los días de lapellana en que desea regar (por ejemplo, lunes, miécoles y viernes únicamente).
- IMPAR Y PAR le indica al programadorregar en días impares o pares del mes (por exemple, el programadorregará los días 31 y 1 cuando se elige un día IMPAR.
- INTERVALO riega cada cierto número de días (de 1 a 30 días) (por exemple,regar cada tres días,regar cada 10 días,etc).Un valor de 1 en una programacion de intervalo indica regardiamente. Cuando se usa la option de intervalo,usted tiene la flexibilidad de decirle al programador que dia comenzar el programa de intervalo (hasta 30 días).
INSTRUCCIONES DE PROGRAMACION
NOTA: El botón de MODODebe estar en la posición "Programa" para fjjar un horario o día de riego.
Cuando el botón se fija en在哪quiera de las options de programación de horarios o días de riego, la pantalla muestra el programaactualmente fjado (por omisión (default) es un intervalo de un día con la Fecha de hoy como Fecha de inicio). Asegurar de que el botón PROGRAMA se haya ajustado en el programa que usted desea cambiar (A, B or C) y de que usted quiere cambiar el horario o calendario actual. Unaopycn de programacion se selecciona despues de oprimir un boton, ya sea SELECTIONNAR o AJUSTAR. El viejo calendario es reemplazado por el nuevo. Si usted desea returnar al viejo calendario, es fácil reprogramar a trovés de los procedimientos seguides.
Fijar la opticon días de riego
Girar el botón grande a laopycn de programacion DIAS DE RIEGO.La ultima opcn de programacion seleccionada para elprograma actual o la opcn de programacion de intervalos de 1 dia por omision aparecera en la pantalla.Oprimir el boton SELECTIONAR para seleccionar es dia para riego u oprima SELECTIONAR para dias sin riego.
Un indicator destellando aparecerá sobre el día que usted está por fjar. Gotas de lluvia aparecerán sobre los días seleccionados para riego. El indicator se desplaza automatistically un día a lackecha afterwards deocrimir una tecla SELECTIONAR. Seguir selectionando orehusando los días que deseee que el programador riegue hasta que complete su;. conjunctionalario de 7 días.
NOTA: La programación de un calendario Días DE RIEGO borra cualquier(othero calendario para el programa selecciónado.
INSTRUCCIONES DE PROGRAMACION
Girar el botón grande a la posición IMPAR/PAR. LaULTima opcción de programación selecciónada para el programa actual o la option de programación de intervalos de 1 día por omission aparecerá en pantalla. Para selecciónar un calendario de días impares o pares, oprima el botón SELECTIONNAR (se debe selecciónar una Fecha para riego en días impares o pares). Una flecha aparecerá en pantalla cerca del calendario apropriado (impar o par). Los botones SELECTIONNAR actián como teclas alternantes y se alternarán entre impares y pares.
NOTA: La programación de calendars IMPAR Y PAR borra在哪裡? el programa selectionado.
Fijar la.option intervalo
Girar el botón grande a la posición INTERVALO. La ultima option de programación selecciónada para el programa actual o la option de programación de intervalos de 1 día por omission apareceré en pantalla. Oprimir SELECTIONAR para selectionar los días de intervalo entre riegos (1-30). La Fechamostatada es el primer día del calendario de intervalos (la Fecha de hoy, si se seleccióna 1).Según se requiera,caejar la Fecha para el primer día del calendario de intervals utilizing AJUSTAR (solo se pueda ajustar hasta un intervalo de 30 días entre riegos).
Repetir los procedimientos anteriores para cada programa (A, B o C) que usted requiera.
iÉso es todo! Su SmartZone™ EZ está ahora programado. Gire el botón de MODO a la posición AUTO para executar el programa selecciónado.
NOTA: La programación de cualquier calendario INTERVALO borra cualquier(other calendario selecciónado para el programa.
INSTRUCCIONES DE PROGRAMACION
REVISAR EL PROGRAMA
Para revisar el programa actual, girar el botón de MODO a la posición PROGRAMA y girar el botón grande al ajuste que deseee revisar (por exemple, girar el botón grande a HORA para revisar el tiempo的选择atorio para el programador). Cuando necesite ver zonas o duraciones de riego differs (1, 2, 3), utilizing únicamente los botones SELECTIONAR
NOTA: Dado que usted se Halla en el modo de programa, existe la posibiliidad decaeir el programa de manera accidental.
PARAPAGAR EL PROGRAMADOR
Hay casos en los queusted querra suspender el riego, ya sea por periodos cortos (mueras esta lloviendo, si noiene un sensor connectado) o periodos largos (durante el invierno). Para facilitar este, se possible "apagar" el SmartZone™ EZ. Girar el boton de MODO a la posicion APAGADO. Esto suspende todas las operaciones de riego (incluyendo los procedimientos manuales y de prueba). El reloj sigue Maintainendo la hora y la Fecha corrientes y su(s) programa(s) se retiene(n) hasta queusted desee executarlo(s) de nuevo. Para executar su programa, volver a colocar el boton de MODO en la posicion AUTO.
NOTA: La memoria no volátil de su SmartZone™ EZ技术支持 su programa aun sin alimentación electrónica. Si no hay una pila esta y se susende la alimentación, se perdá el tiempo real del reloj. Se tendrá que volver a programar la hora.
FUNCIONES AVANZADAS
El SmartZone™ EZ incorpora tres procedimientos manuales y de prueba para verficar el funciona del programador o para permitirle saltarse el programa actual pararegar de inmediato. La seccion seguiente le做不到 comoaabustar el programador para:
- executar una zona manualmente
- executable un programa manualmente
- executable una prUEba de 3 Minutes de todas las zonas programadas
NOTA: Todos los procedimientos de prueba se executan con el botón de MODO en la posición AUTO. Ésto permite al programador reinitializar o sea reponer el ajuste AUTOMÁTICO cuando de executar un procedimiento manual y de prueba. Le permite también estar solo el programador cuando de programar un procedimiento manual y de prueba, y no tener que regresar a reinitializar el programador a AUTO.
NOTA: Todos los procedimientos manuales y de prueba ignoran la connexion del sensor. Por ende, usted可以选择regarutilizandouno de los procedimientos manuales y de prueba aun si el sensor ha suspendido su programa fjado.
Ejecución manual de una zona
Girar el botón grande a la posición MANUAL. Los values por omission, zona 01 y 00:10 horas, destellarán (recuerde que thiso significa que pueda Cambiarlos). Oprimir SELECTIONAR para selección ar el número de zona que desearegar. Oprimir AJUSTAR +7 para和睦ar la duración del riego para la zona selecciónada. El programador retrasará 10 segundos antes de comendar la zona.
FUNCIONES AVANZADAS
El SmartZone™ EZ incorpora la característica ManualAdvance™ de Nelson en el procedimiento MANUAL. ManualAdvance™ le permite suspender la zona en ejaculationactualmente y avanzar de inmediato arialquier nueva zona que usted seleccione. Con el procedimiento MANUAL executando una zona,ocrimir SELECTIONAR para desplazarse a una nueva zona.La ultima duracion introducida apareceré en pantalla.Oprimir AJUSTAR + para introducir una nueva duracion para la nueva zona (el programador retrasará 10 segundos antes de comenzar la ).
Ejecución manual de un programa de riego
Girar el botón grande a la posición CICLO. La letra del programa actual destellará. Paracaechar a un programa diferente, girar el botón PROGRAMA al programa deseado (A, B o C). El programador retrasará 10seguidos antes de comenzar el programa selecciónado. Después de la execución, el botón restablece el procedimiento AUTOMATICO.
NOTA: CICLO ejecta de inmediato el programa actual. No se pueda introducir Cambios al programa durante el procedimiento CICLO.
Ejecución de una prUEba de tres minutos (jeringa)
Girar el botón grande a la posición CICLO DE PRUEBA DE 3 MINUTOS. A B C destellarán en la噎a (no se pueda携带). Ésto es para indicar que el programador revisará los tres programas y executará una prueba de 3 horas en unicamente aquellas zonas en que ha sido programado. A este le llamamos SmartSyringe™.
Esta funciona permite al programador saltarse zonas que no han sido programadas. Óstas peuvent ser zonas no connectadas, ahorrándole asi su bomba (si la tiene).
DATOS TECNICOS
1. Transformador
Transformador interno de 24 V de CA; 20 VA, 0,83 A para zonas y lógica. El transformador可以选择 operar una bomba o valvula maestra y una valvula de zona, como máximo.
2. Proteccion contra picos electricos
MOV de 7 julios a trovés de los circuitos secundarios. (Ver Disyuntor más abajo.)
3. Operación de sensor
El SmartZone™ EZ está configurado para operar el programador con o sin un sensor. Los sensores deben tenernormally conexiones cerradas (conductores). El alambre de empalme instalado de fabrica debe estar en su situ si no se utilizes sensor.
4. Lineas de zona
El SmartZone™ EZ operará a un máximo de cos (2) slidas al mismo tiempo, una de ellas siendo lo bomba principal de la valvula. La calidad de cada zona pueda operar con un soleniode.
I consomo de corrente con energia .52A max
I consumo de corrente constante .40A max
DATOS TECNICOS
5. Rango de temperatas
En direccionamento: de -5^ a +55^ C (de 23^ a 131^ F)
En almacén: de -30^ a +85^ C (de -22^ a 185^ F)
6. Pantalla

7. Pilas
Se requiere una pila alcalina de 9 V. No utiliser pilas NiCad.
8. Retencion del programa
Se utilizes memoria no volátil para retener programas cuando se pierde la energia de las pilas y el suministro de CA. La memoria no volátil se actualiza cuando se cambía el programa y a intervalos de 5 Minutes. La memoria no volátil funciona durante un minimo de 5 años, en el peor de los casos.
9. Dimensiones de la caja (aproximas)
6" de alta x 9,5" de ancho x 3,75" de长大o (la tapa se pueda quitar sin herramrientas).
DATOS TECNICOS
10. Programa por omisión (ajustes de fabrica)
12:00 AM (no hay indicator "AM" en la pantalla)
Domingo
La fecha es 01/01 96
Sin tiempos deexecution (zona 01,---)
Sin horas de inicio (número de inicio 01, -----)
Volumen de agua al 100%
Calendar de riego diario (intervalo = 01 ; fecha de inicio hoy)
El botón de Modo está en posición de APAGADO
El botón de Programa está en programa A
3 segundos de retraso entre zonas (no se puedaCambiar)
11. Disyuntor
Un interruptor electrónico "poly-switch" está incorporable en el PCB de interconexión del programador. Este tipo de disjuntor no requires reinficialización ni de reemplazo por parte del usuario.
DETECCION Y CORRECCION DE FALLAS, Y SERVICIO
SINTOMA CAUSA POSIBLE SOLUCION
Sin calidad a la zona, bomba · CA disconnectada · Verifique la fuente de alimentacion CA. o valvula maestra Si el programador no detecta CA, el
indicador de no CA estará encendido

Sin CA y pantalla en blanco • Sin pila o pila gastada • Reemplace la pila y oprima reinicializar
Pantalla en blanco · Sin CA ni pila · Instalar una pila para volver a tener uso de
-
El cable de banda está desconectado la pantalla, verificar la CA para asegurar calidad al camino
-
Asegurarse de que el cable de banda entre el panel frontal y la tarjeta programadora está conectado en ambos extremos
La pantalla muestra signos raros El programador necesita ser reinicialzado o tiene segmentos apagados sigue con signos raros,ocrimir el boton de
reincializar y el boton SeLECTIONAR + al mismo tiempoo (regresa a los ajustes de fabrica)
Aparece "M-X" en pantalla cuando trata de executar una zonamanualmente El boton de MODO se Halla en posicjion de programa Colocar el boton de MODO en posicjion AUTO para executar una zonamanualte Aparece "C-X" en pantalla cuando trata de dar CICLO a un programa El boton de MODO se Halla en posicjion de programa Coloque el boton de MODO en posicjion AUTO para dar ciclo a un programa
Apareece "S-X" en pantalla cuando tratate de executar una PRUEBA DE 3 MINUTOS
El programador no ejecta una PRUEBA DE 3 MINUTOS
- Sin programas en A, B o C
Aparece Er1 en planta
- Este es un error de communicatoré entre el microprogramador y la memoria no volátil
Aparece Er2 en pantalla
-
Este indica al usuario que hay mas de 24 horas de duración del riego programadas
-
Oprima reinicializar. Si el error no se despeja, reemplace la tarjeta
-
Revisar su duración del riego total en todos los programas - O BIEN -
-
Oprimir reinicializar y seleccionar + al mismotiempo para regresar a los ajustes de fabrica.
PIEZAS DE REPUESTO
- Transformador
Banda de interconexión - Panel frontal
Cordón de CA de 6'
- Tarjeta de interconexión
REGLAS DE LA COMISION FEDERAL DE COMUNICACIONES DE EE.UU. (FCC)
Este programador de riego electrónico genera y utilizes energia de Frequencia de radio y si no se instala y usa adequadamente, es decir, de estrico acuerdo con las instrucciones del fabricante, pueda causar interferencias a la recepción de radio y television. Su tipo ha sido puesto a prueba y se ha sentido que cumple con los limites para dispositivos deordenadores de Clase B de acuerdo con las espécificaciones en Subparte J de la Parte 15 de las Reglas de la FCC, las cuales están disenadas para(ofrecer una protección razonable contra tales interferencias en una instalación residencial. Sin embargo, no hay garantía de que no occurirán interferencias en una determinada instalación. Si el programador causa interferencias a la recepción de radio o television, lo que se pueda determinar apagando y encendiendo el programador, se sugiere al usuario que trate de corregir las interferencias tomando una o más de las medidas siguientes:
Reorientar la antenna receptora
Reubicar el programador alejandolo del receptor
Enchufar el programador en un tomacorriente diferente, para que el programador y el receptor se hallen en differentes circuitos ramales
Si esnecessary, el usuario debe consultar al distribuidor o a un先进技术 de radio y television experimentado para Obtener sugerencias adiconiales. El usuario可以选择 encontrar utilise el siguientes folleto elaborado por la Comisión Federal de Comunicaciones:
"¿como identificar y resolver problemas de interferencia de radio y television"
Este folleto está disponible en la Oficina de Publicaciones del Gobio nro de Estados Unidos, Washington, DC 20402. Articulo No. 004-000-00345-4.
REGLAMENTOS CANADIENSES SOBRE INTERFERECIAS DE RADIO
NOTA: Este aparato digital no excede los limites de Clase B para emisiones de ruido de radio de aparatos digitales según lo estipulan los replamenteos sobre interferencias de radio del Departamento de Comunicaciones de Canadá.
GARANTÍA
Garantía limitada
L.R. Nelson Corporation ("Nelson") garantiza que todos los productos electrónicos están libres de defectos de materiales y mano de obr por un periodo de dos (2) anos a partir de la fecha original de compra. En caso de tales defectos, Nelson reparar o reemplazar, a su disreción, el producto o la parte defectuosa.
Si surge un defec en un producto o pieza de repecto de Nelson dentro del periodo cuberto por la garantia, usted debe comunicarse con su contratista de instalacion, vendedor al detalle o distribuidor de Nelson, o a L.R. Nelson Corporation a uno de los siguientes lugar:
One Sprinkler Lane 1961 Miraloma Ave. 3462 Maggie Blvd.
Peoria, IL 61615 Suite B Orlando, FL 32811
(309) 690-2200 Plancetia, CA 92670 (407) 648-1020
Fax (309) 692-5847 (714) 993-0496 Fax (407) 648-0924
Fax (714) 993-0496
Nelson pae, a u disicn, reuer q el producto o parte de el sea devuelto a un pinto de servico de Nelson o a su venderal detalle o distribuidor. Nsderminar si el defecto reclamado esta cuberto por la garantia. Si hay cobertura, el producto sera reparado o reemplazado. Permita por favor de 4 a 6 semanas para lvear a cabo las reparaciones o el reemplazo y la devoluncion del producto o pieza. Si se reemplaza el producto o la pieza, el reemplazo está garantizado unicamente para el periodo de garantia restante del producto o pieza original.
n no autoriza a网通una persona a crear para la compania nigunra otra obligacion ni responsabilitad en relation con los productos Nelson.
EN LA MEDIDA PERMITDA POR LA LEY, CUALQUIER GARANTIA IMPLICITA O DE COMERCIABILIDAD O DE IDONEIDAD PARA UN PROPOSTO PARTICULAR APLICABLE A LOS DISTRIBUTIONOS NELSON ESTAN LIMITADAS EN DURACIONA A LA DURACION DE LAS PRESENTES GARANTIAS POR ESCRITO. NI L.R.NELSON CORPORATION NI SUS DISTRIBUIDORES O CONCESSIONARIOS SE HARAN RESPONSABLES POR LA PERRIDA DE TIEMPO, INCONVENIENCE, PERRIDA ECONOMICA O DANOS INCIDENTALES O CONSECUENTES QUE RESULTEN DE LA VENTA O DISTRIBUTION DE LOS PRODUCTOS NELSON YA SEA POR INCUMPLIMIENTO DE LA PRESENTE GARANTIA O POR NEGLIGENCIA O AGRAVIO. Algunos Estados no permitan las limitaciones en la duracion de una garantia implicita, ni la exclusion o limitacion de los daños incidentales o consecuentes, por locular las limitaciones o exclusiones anteriores podrieran no aplicarse en su caso.
Si tene una pregunta en relation con la garantia o su aplicacion, escribe por favor a L.R. Nelson Corporation, One Sprinkler Lane, Peoria, Illinois 61615, EE.UU. Atencion: Servicio al Ciente.
POLIZA DE RECLAMACION DE MERCANCIA DEFECTUOSA
Los products devueltos al vendedor al detalle o distribuidor y bajo reclamation de ser defectuosos deben ser inspeccionados por el representante deVentas de Nelson para determinar si se cumple con la garantia. Si se concede la aprobacion, los productos seran reparados o reemplazados, o se emitir un memorandum de credito cubriendo el precio de compra neto.

Acertar a data de hoye
SmartZone™ EZ permite très partidas por programa.
OBSERVACION: a programacao de DIAS DE REGA apagará qualquer calendario ja existente para o programa selecionado.
Corrente de entrada 0,52 A max.
ManualFácil