SmartZone EZ 8504 - Programador de riego Nelson - Manual de uso y guía de instrucciones gratis
Encuentra gratis el manual del aparato SmartZone EZ 8504 Nelson en formato PDF.
Preguntas de los usuarios sobre SmartZone EZ 8504 Nelson
0 pregunta sobre este aparato. Responde a las que conoces o haz la tuya.
Hacer una nueva pregunta sobre este aparato
Descarga las instrucciones para tu Programador de riego en formato PDF gratis! Encuentra tus instrucciones SmartZone EZ 8504 - Nelson y toma tu dispositivo electrónico nuevamente en la mano. En esta página están publicados todos los documentos necesarios para el uso de su dispositivo. SmartZone EZ 8504 de la marca Nelson.
MANUAL DE USUARIO SmartZone EZ 8504 Nelson
GUÍA DE INSTALACIÓN Y PROGRAMACIÓN
Para los modelos:
8504
8506
8508
8512
8514
8516
8518
8522
8574
8576
8578
8582

text_image
TO PROGRAM PLACE THE MODE DIAL IN THE PROCESSED POSITION PROGRAM ON: OFF LARGE DIAL POSITION SELECT: 12 START TIME A. SWITCH START DAY CONTENTS BENDYLE THE PROGRAM DIAL CAN IN PA, B, AND START OF THE SWITCHCASEONE. RETURN MODE DIAL TO LOW POSITION WHEN PROGRAMMING OR COMPLETE TO RUN & POST. NOTE MANUAL, CYCLE AND PROCESSED ARE NOT BE CHAPED IN THE PROCESSED MODE TO RUN & POST. NOTE TEST PLACE THE MODE DIAL IN THE MODE PROGRAM ON: OFF LARGE DIAL POSITION SELECT: 12 START TIME NOT PROGRAMMATIC CICLE NOT PROGRAMMATIC SYNGE SAVE MODE DIAL IN 'OK' POSITION WHEN COMPLETED PROGRAM ALL RUN AS PROCESSED. NOTE: Streaming SELECT or while the MANUAL set is coming off assistant by Windows The Active Center and SET to end on the home! NELSON® SmartZone™ EZ 6:34PM Sub-Run Time Start Time Start Time Start Time Water Days Grid/Run Time Select Adjust Auto + OFF Mode Program B C ProgramGRACIAS por comprar el programador de riego SmartZone™ EZ. Usted descubrirá muy pronto por qué lo llamamos "EZ" (suena como "easy", "sencillo" en inglés). Estamos seguros de que será el programador de riego más sencillo y fiable que usted usará en su vida. Es un programador multifunciones tan fácil de usar que es posible que usted lo pueda instalar y programar sin leer las instrucciones. Sin embargo, le recomendamos que antes de instalarlo y programarlo, lea este manual cuidadosamente para aprovechar al máximo todas las ventajas que SmartZone™ EZ le ofrece.
Si tiene alguna pregunta, problema o comentario sobre su nuevo SmartZone™ EZ, llame por favor a nuestro Departamento de Servicios Técnicos al número de acceso gratuito 1-800-NELSON8.
Líderes en el riego de céspedes desde 1911
NOTA: Dados nuestros esfuerzos continuos de mejorar y actualizar nuestros productos, las características y especificaciones en este manual pueden cambiarse sin aviso previo.
CONTENIDO
Funciones 3
Instrucciones de instalación 4-9
Regletas de conexión 5
Conectar la válvula maestra o relevador de arranque de la bomba 5
Cableado del transformador 5-6
Conectar el sensor de lluvia y de humedad 7
Conectar la pila y reinicializar (reponer) el programador 8-9
Instrucciones de programación 10-19
Vista global 10
Diseño del panel frontal 11-12
Fijar la hora del día 13
Fijar el día actual 13
Fijar la fecha de hoy 13
Seleccionar zonas y fijar sus tiempos de ejecución 13-14
Fijar las horas de inicio 15
Fijar % del volumen de agua 15
Fijar calendarios de riego 16-17
Fijar la opción día de riego 17
Fijar la opción día impar y par 18
Fijar la opción intervalo 18
Revisión del programa 19
Para apagar el programador 19
Funciones avanzadas
Ejecución manual de una zona 20-21
Ejecución manual de un programa de riego 21
Ejecución de una prueba de tres minutos (jeringa) 21
Datos técnicos 22-24
Detección y corrección de fallas, y servicio 25
Reglas de la Comisión Federal de Comunicaciones de EE.UU. (FCC) 26
Garantía 27
FUNCIONES
- Clase profesional
- Teclas y botones fáciles de usar en la programación
- Pantalla de cristales líquidos (LCD, en inglés) grande y clara
- Memoria no volátil para la retención de los programas sin alimentación CA ni pilas
• 3 programas independientes - 3 horas de inicio por programa (9 en total)
- 3 opciones de programación (7 días calendarios, impares y pares, e intervalo de 1 a 30 días)
- 3 ciclos de prueba (manual, ciclo, prueba de 3 minutos)
• % de volumen de agua - Horas de operación programables desde 1 minuto hasta 9 horas 59 minutos
- Programación de Seleccionar/Ajustar (Select&Adjust) exclusiva
- Transformador interno
- Garantía de 2 años en los materiales y la mano de obra
INSTRUCCIONES DE INSTALACIÓN
NOTA: Estas instrucciones son válidas para uso en interiores o exteriores.
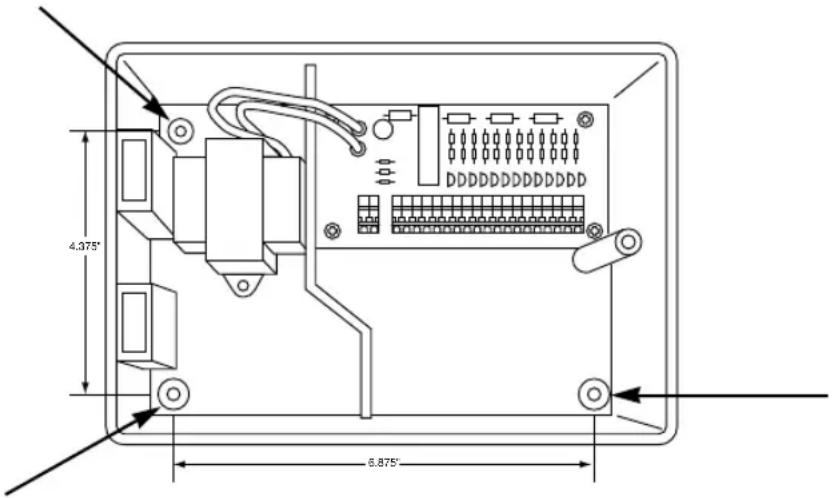
Designar un lugar cerca de un tomacorriente de 110 V (220 V para 8574, 8576, 8578 y 8582) o una fuente de cableado de 110 V. Instalar el SmartZone™ EZ tan al nivel de la vista como sea posible. Abrir el panel frontal aflojando el tornillo que lo asegura y tirando de la lengüeta a la derecha del panel frontal para abrirlo sobre sus bisagras. Utilizar las tres perforaciones en la caja para marcar y pretaladrar los agujeros para las guías de los tornillos en la pared. Los dos agujeros guía de la izquierda en el SmartZone™ EZ están alineados verticalmente para montar el programador en un poste. (Vea la Figura 1) Insertar los tornillos a través de las perforaciones en la caja y ajustarlos en el orificio guía correspondiente en la pared.
NOTA: El panel frontal puede retirarse para facilitar la instalación quitando la banda de conexión de la tarjeta de interconexiones y tirando del panel frontal fuera de sus bisagras.
FIGURA 1

text_image
4.375" 6.875"INSTRUCCIONES DE INSTALACIÓN
Regletas de conexión
Todas las conexiones de los alambres de zona, bomba y sensor hechas dentro del SmartZone™ EZ utilizan conectores de simple encaje (sin necesidad de herramientas). Aplicar presión sobre las palancas en la regleta de conexiones terminales con un bolígrafo o un destornillador pequeño e insertar el alambre hasta el fondo. La regleta de conexiones terminales del programador SmartZone™ EZ acepta alambres de 12 AWG (4,8 mm) o más pequeños.
Conectar la válvula maestra o relevador de arranque de la bomba
El SmartZone™ EZ viene equipado con un circuito compartido para operar ya sea un relevador de arranque o una válvula maestra. Conectar un alambre del relevador de arranque a la terminal COM (común) y el otro alambre a la terminal PMP/MV (bomba/válvula maestra) en la regleta de conexiones. Consultar el manual del fabricante del relevador de arranque para mayores detalles sobre la instalación específica.
Cableado del transformador\*
*110 V de CA en Estados Unidos, Canadá y México; 220 V de CA en Europa y Australia.
NOTA: Consulte y cíñase a los códigos locales si son diferentes de lo indicado en este manual.
PRECAUCIÓN: Desconecte la fuente de alimentación de 110 V (220 V para los modelos 8574, 8576, 8578 y 8582) antes de conectar el transformador. Complete todo el cableado y la instalación antes de conectar el transformador a la alimentación. Ésto evitará corto-circuitos accidentales que pudieran dañar el programador.
INSTRUCCIONES DE INSTALACIÓN
Para los modelos 8504, 8506, 8508, 8512:
Con el panel frontal abierto para tener acceso al transformador interno, subir los alambres de 110V a través de la perforación de conducto de 1/2" en la parte inferior de la caja. (Para hacer la conexión de campo, los alambres de CA deben tener un aislante clasificado a un mínimo de 75°C). El conducto debe quedar asegurado a la caja (siga los códigos lacales). Unir los alambres de CA a los alambres del transformador utilizando tuercas para alambre. Asimismo, asegurarse de unir el alambre de conexión a tierra al alambre correspondiente en la terminal verde-amarilla. Revisar por favor los codigas locales para informarse de los requistos de conexión a tierra en su área. Enrolle el cordón dentro del lazo plástico y apriételo para prevenir que el alambrado toque circuitos secundarios. El transformador está ahora cableado. No encender todavía la alimentación.
Para los modelos 8574, 8576, 8578, 8582:
Con el panel frontal abierto para tener acceso al transformador interno, subir los alambres de 110V a través de la perforación de conducto de 1/2" en la parte inferior de la caja. Para hacer la conexión de campo, los alambres de CA deben tener un aislante clasificado a un mínimo de 75°C). El conducto debe quedar asegurado a la caja (siga los códigos lacales). Conecte los alambres de corriente alterna (AC) al conector proporcionado y apriete los tornillos. Tenga cuidado de la polaridad de los alambres cuando los instale (ej: L1, L2 y negativo). Enrolle el cordón dentro del lazo plástico y apriételo para prevenir que el alambrado toque circuitos secundarios. El transformador está ahora cableado. No encender todavía la alimentación.
NOTA: Si la unidad no se conecta a tierra adecuadamente, se podrían causar daños graves al programador y/o daños materiales y personales, y anular la garantía.
Para los modelos 8514, 8516, 8518 y 8522:
El transformador ha sido precableado con un cordón eléctrico de CA de 6 pies (1,8 m) con una clavija de conexión a tierra. Le recomendamos no alterar esta conexión. El reemplazo de este cordón debe ceñirse a los códigos locales y en todos los casos la unidad debe estar debidamente conectada a tierra.
INSTRUCCIONES DE INSTALACIÓN
Conectar el sensor de lluvia y de humedad
El SmartZone™ EZ viene equipado para operar un sensor con conductores que están cerrados normalmente. El puerto del sensor en el SmartZone™ EZ es el primer conector de simple encaje en la tarjeta de interconexiones (vea la Figura 2). Para instalar un sensor, retirar del conector del sensor el alambre de empalme instalado en fábrica en la regleta de conexiones terminales e insertar los alambres del sensor. Consultar los detalles de instalación específicos en el manual proporcionado por el fabricante del sensor.
FIGURA 2

text_image
Puerto del sensorSi un sensor ha suspendido el riego, el segmento indicador del sensor aparecerá así en la pantalla LCD: 🎨. El símbolo se apagará cuando el sensor esté seco o cuando el programador sea ajustado en uno de los modos manuales (vea las páginas 23-25). El SmartZone™ EZ reanudará su funcionamiento de acuerdo con el programa seleccionado.
INSTRUCCIONES DE INSTALACIÓN
Conectar la pila y reinicializar (reponer) el programador
Conectar una pila alcalina de 9 V a la pinza del conector e insertarla dentro del compartimiento correspondiente atrás del panel frontal. La pila habilita al SmartZone™ EZ para ser programado sin alimentación de CA y mantiene el reloj de tiempo real en caso de una interrupción de la alimentación eléctrica. Si no se instala una pila, el programador perderá el tiempo real en caso de una interrupción de la alimentación. La pila debe ser reemplazada cada año.
PRECAUCIÓN: Utilice únicamente una pila alcalina de 9 V. Una pila NiCad de 9 V podría causar una fuga o explotar causando lesiones personales o daños materiales.
Después de instalar la pila, oprimir el botón de reinicialización (reposición) negro en la parte de atrás del panel frontal para reinicializar el programador (no afecta(n) el (los) programa(s)). Para reinicializar el programador a sus ajustes por omisión (default), oprimir el botón negro de reinicialización y la tecla SELECCIONAR a la vez. Soltar el botón de reinicialización (reposición) antes de soltar la tecla Seleccionar. Cerrar el panel frontal, asegurándose de no dañar los alambres. Si los alambres están rígidos, le podría convenir predoblarlos. Ajustar el tornillo del panel para sujetar el panel frontal en la caja. Enchufar el cordón de CA del transformador o encienda la fuente de alimentación.
NOTA: Dado que todos los programas se almacenan en memoria no volátil, no se perderán los ajustes de los programas durante una falla eléctrica, aun en caso de que no se haya instalado una pila.
INSTRUCCIONES DE INSTALACIÓN
Figura 3

text_image
Botón de reinicialización (reposición)¡Ya está usted listo para empezar la programación!
INSTRUCCIONES DE PROGRAMACIÓN
Vista global
Antes de programar el SmartZone™ EZ, podría serle útil familiarizarse con algunos lineamientos de programación generales:
- Si un(os) segmento(s) en la pantalla LCD destella(n), éso significa que puede(n) ser modificado(s) por el usuario.
- Al usar las teclas o mantener oprimido el botón durante tres segundos para comenzar un repaso rápido de las opciones.
- Asegurarse de que la letra adecuada del programa esté en pantalla en el momento de programar; los cambios en la programación son específicos para la letra del programa que aparece en la pantalla LCD.
- No hay tecla "INTRO(DUCIR)". Al oprimir una tecla o ajustar un botón, estos ajustes se almacenan automáticamente.
- Al introducir un cambio en la programación mientras el programa está en ejecución, el programa finaliza de inmediato. El nuevo programa comienza en la siguiente hora de inicio programada.
- Cuando no está ejecutando ningún programa, el programador mostrará en pantalla la hora y día actuales.
- Durante las operaciones manuales, hay un retraso de 10 segundos antes de que comience la operación. Durante este lapso, usted puede alterar los ajustes. Cada vez que usted introduce un cambio, el retraso se reajusta a 10 segundos.
- Los procedimientos MANUAL, CICLO y PRUEBA DE 3 MINUTOS sólo funcionan con el botón Programa en la posición AUTO.
- Después de ejecutar el procedimiento de prueba, el programador regresa al procedimiento AUTO y ejecuta el siguiente programa fijado.
- Los procedimientos de prueba ignoran la conexión del sensor; ésto le permite regar o ejecutar su programa, aun si el sensor ha suspendido la operación.
INSTRUCCIONES DE PROGRAMACIÓN
Diseño del panel frontal
De frente al panel frontal (vea la Figura 4), usted ve una pantalla LCD grande, 4 botones de goma, un botón giratorio grande y dos botones giratorios pequeños. Los botones de goma están marcados como "SELECCIONAR" y "AJUSTAR" y son el corazón del exclusivo sistema de programación SELECT&ADJUST™ (SELECCIONAR/AJUSTAR) de Nelson. Las teclas están identificadas con los símbolos para incrementar o reducir el segmento en el que está trabajando.
SELECT&ADJUST™ funciona bajo el principio de que usted SELECCIONA primero lo que desea fijar y, luego, AJUSTA las variables que seleccionó. Por ejemplo, si desea una duración del riego de 10 minutos en la zona 5, usted tendría que usar las teclas SELECCIONAR para seleccionar la zona 5 y, una vez en la zona 5, usted utilizaría las teclas AJUSTAR para ajustar la duración del riego a 10 minutos.
Hay casos en los que sólo se requiere usar SELECCIONAR y AJUSTAR. Estos casos se explicarán en esta guía en el lugar correspondiente. Como regla general, SELECCIONAR escogerá las zonas o una hora de inicio específica (1, 2 o 3). AJUSTAR fijará las horas, fechas y el volúmen de agua. Vea en la tarjeta para colgar dentro de la tapa del SmartZone™ EZ una referencia rápida sobre los botones a utilizarse para las diferentes posiciones de los botones.
FIGURA 4

text_image
D SVJXML IMPAR PAR INTERV. A B C PM 05 Zona/Duración Hora de Inicio % Volumen de agua Días de niego Imper/Par Intervalo Hora Día corriente Fecha Manual Ciclo Cicl de prueba de 3 minutos PROGRAMACIÓN AUTO APAGADO B A C Modo Programa NELSON® SmartZone™ EZNOTA: El botón de MODO debe estar en la posición "Programación".
NOTA: Cada vez que se oprime la tecla 0, el tiempo se incrementa o reduce en un minuto. Mantenga la tecla 0, oprimida durante tres segundos para iniciar un repaso rápido de las opciones.
NOTA: Consulte por favor en la sección de datos técnicos una explicación de los segmentos de la pantalla LCD.
INSTRUCCIONES DE PROGRAMACIÓN
Fijar la hora del día
Girar el botón grande a la posición HORA. Oprimir AJUSTAR +7 para cambiar y ajustar la hora correcta. No hay indicador de A.M.
Fijar el día actual
Girar el botón grande a la posición DÍA ACTUAL. Oprimir SELECCIONAR ▲ para desplazar el indicador ▼ del día actual y ponerlo sobre el día actual. SELECCIONAR ▲ desplazará el indicador ▼ hacia la derecha; SELECCIONAR ▼ lo desplazará ▼ hacia la izquierda.
Fijar la fecha de hoy
Girar el botón grande a la posición FECHA. Oprimir las teclas AJUSTAR + - para cambiar y ajustar la fecha actual. El AÑO avanzará automáticamente al pasar por 12/31 [31 de diciembre].
NOTA: Se requiere una FECHA únicamente si busca utilizar programación IMPAR/PAR o fijar una fecha de inicio que no sea la fecha corriente para la programación INTERVALO.
Seleccionar zonas y fijar sus tiempos de ejecución
El tiempo de ejecución del riego de zona determina la duración o lapso en que se ejecutará un programa para una zona.
Girar el botón grande a la posición ZONA/DURACIÓN. Oprimir SELECCIONAR +- para seleccionar la zona que desee para el programa seleccionado (A, B o C). Con el número de zona mostrado en la pantalla LCD, oprimir AJUSTAR +- para ajustar la DURACIÓN del riego para esa zona. La DURACIÓN se puede ajustar desde 1 minuto hasta 9 horas y 59 minutos. Seguir seleccionando las zonas y ajustando las duraciones hasta que tenga todas las zonas deseadas en el programa seleccionado.
INSTRUCCIONES DE PROGRAMACIÓN
Después de la última zona y antes de la primera, se proporciona una suma total de la DURACIÓN del riego. Ésto es útil para determinar el tiempo de ejecución de un programa. La pantalla LCD muestra las letras "ALL" [TOTAL] y aparece la DURACIÓN total. El tiempo mostrado en pantalla es una suma total de todas las DURACIONES de riego para el programa seleccionado (a 100% del volumen de agua total). (Ejemplo: Un programa tiene una duración de 5 minutos en la zona 1, 12 minutos en la zona 2; y 6 minutos en la zona 4. La pantalla en esta posición muestra ALL [TOTAL] y una duración de 23 minutos).
FIGURA 5

text_image
A B C IMPAR PAR INTERV D SVJXML Zona/Duración Hora Hora de inicio % Volumen de agua Dia corriente Fecha Días de nego Manual Impar/Par Ciclo Intervalo Ciclo de prueba de 3 minutos Programa AUTO APAGADO Modo Programa A B C NELSON® SmartZone™ EZINSTRUCCIONES DE PROGRAMACIÓN
Fijar las horas de inicio
HORA DE INICIO es el tiempo del día en que un programa comienza a ejecutarse. El SmartZone™ EZ permite tres horas distintas de inicio por programa.
Girar el botón grande a la posición HORAS DE INICIO. Oprimir SELECCIONAR +- para seleccionar la hora de comienzo que desea programar (1, 2 o 3). Oprimir AJUSTAR +- para ajustar la hora del día en que el programa comenzará. Repetir este procedimiento, según se necesite.
Fijar % del volumen de agua
El % de VOLUMEN DE AGUA cambia la duración de los tiempos de ejecución de un programa según el porcentaje introducido de 5 a 200% (por ejemplo, el tiempo de ejecución del riego de 10 minutos a un 50% del volúmen de agua dura 5 minutos). Esta función es útil cuando ocurren cambios climáticos. Si es extraordinariamente seco, usted querrá extender la duración del riego para cada zona en un programa. Con % de volumen de agua, usted puede cambiar un número y todas las duraciones del riego en el programa se ajustan.
Girar el botón grande a la posición % VOLUMEN DE AGUA. Aparecerá un símbolo "%" en la pantalla LCD para indicarle que está ajustando la cantidad porcentual del volumen de agua. Oprima AJUSTAR para seleccionar el porcentaje deseado.
INSTRUCCIONES DE PROGRAMACIÓN
Si el % de volumen de agua se ajusta para 110% o más, el SmartZone™ EZ dividirá la duración del riego a la mitad para reducir el despilfarro de agua. La mitad de la duración del riego calculada funcionará para cada zona en ese programa, seguido por la segunda mitad de la duración para cada zona.
Recuerde, el % de volumen de agua cambia de un programa a otro. Si usted está programando en A, B y C, usted debe introducir tres valores de volumen de agua si desea que cada uno de los programas se cambie.
FIJAR CALENDARIOS DE RIEGO
Una nota rápida sobre programación y SmartZone™ EZ ...
El programador SmartZone™ EZ tiene tres opciones de programación de calendarios de riego:
- DÍAS DE RIEGO o diariamente, le permite seleccionar los días de la semana en que desea regar (por ejemplo, lunes, miércoles y viernes únicamente).
- IMPAR Y PAR le indica al programador regar en días impares o pares del mes (por ejemplo, el programador regará los días 31 y 1 cuando se elige un día IMPAR.
- INTERVALO riega cada cierto número de días (de 1 a 30 días) (por ejemplo, regar cada tres días, regar cada 10 días, etc). Un valor de 1 en una programación de intervalo indica regar diariamente. Cuando se usa la opción de intervalo, usted tiene la flexibilidad de decirle al programador qué día comenzar el programa de intervalo (hasta 30 días).
INSTRUCCIONES DE PROGRAMACIÓN
NOTA: El botón de MODO debe estar en la posición "Programa" para fijar un horario o día de riego.
Cuando el botón se fija en cualquiera de las opciones de programación de horarios o días de riego, la pantalla muestra el programa actualmente fijado (por omisión (default) es un intervalo de un día con la fecha de hoy como fecha de inicio). Asegurarse de que el botón PROGRAMA se haya ajustado en el programa que usted desea cambiar (A, B o C) y de que usted quiere cambiar el horario o calendario actual. Una opción de programación se selecciona después de oprimir un botón, ya sea SELECCIONAR o AJUSTAR. El viejo calendario es reemplazado por el nuevo. Si usted desea retornar al viejo calendario, es fácil reprogramar a través de los procedimientos siguientes.
Fijar la opción días de riego
Girar el botón grande a la opción de programación DÍAS DE RIEGO. La última opción de programación seleccionada para el programa actual o la opción de programación de intervalos de 1 día por omisión aparecerá en la pantalla. Oprimir el botón SELECCIONAR para seleccionar ese día para riego u oprima SELECCIONAR para días sin riego.
Un indicador destellando ▼ aparecerá sobre el día que usted está por fijar. Gotas de lluvia ♠ aparecerán sobre los días seleccionados para riego. El indicador ▼ se desplaza automáticamente un día a la derecha después de oprimir una tecla Ⓔ SELECCIONAR. Seguir seleccionando o rehusando los días que desee que el programador riegue hasta que complete su conjunto calendario de 7 días.
NOTA: La programación de un calendario DÍAS DE RIEGO borra cualquier otro calendario para el programa seleccionado.
INSTRUCCIONES DE PROGRAMACIÓN
Fijar la opción día impar y par
Girar el botón grande a la posición IMPAR/PAR. La última opción de programación seleccionada para el programa actual o la opción de programación de intervalos de 1 día por omisión aparecerá en pantalla. Para seleccionar un calendario de días impares o pares, oprima el botón SELECCIONAR (se debe seleccionar una fecha para riego en días impares o pares). Una flecha aparecerá en pantalla cerca del calendario apropiado (impar o par). Los botones SELECCIONAR actían como teclas alternantes y se alternarán entre impares y pares.
NOTA: La programación de calendarios IMPAR Y PAR borra cualquier otro calendario para el programa seleccionado.
Fijar la opción intervalo
Girar el botón grande a la posición INTERVALO. La última opción de programación seleccionada para el programa actual o la opción de programación de intervalos de 1 día por omisión aparecerá en pantalla. Oprimir SELECCIONAR para seleccionar los días de intervalo entre riegos (1-30). La fecha mostrada es el primer día del calendario de intervalos (la fecha de hoy, si se selecciona 1). Según se requiera, cambiar la fecha para el primer día del calendario de intervalos utilizando AJUSTAR ▲▽ (sólo se puede ajustar hasta un intervalo de 30 días entre riegos).
Repetir los procedimientos anteriores para cada programa (A, B o C) que usted requiera.
¡Éso es todo! Su SmartZone™ EZ está ahora programado. Gire el botón de MODO a la posición AUTO para ejecutar el programa seleccionado.
NOTA: La programación de cualquier calendario INTERVALO borra cualquier otro calendario seleccionado para el programa.
INSTRUCCIONES DE PROGRAMACIÓN
REVISAR EL PROGRAMA
Para revisar el programa actual, girar el botón de MODO a la posición PROGRAMA y girar el botón grande al ajuste que desee revisar (por ejemplo, girar el botón grande a HORA para revisar el tiempo seleccionado para el programador). Cuando necesite ver zonas o duraciones de riego diferentes (1, 2, 3), utilizar únicamente los botones SELECCIONAR
NOTA: Dado que usted se halla en el modo de programa, existe la posibilidad de cambiar el programa de manera accidental.
PARA APAGAR EL PROGRAMADOR
Hay casos en los que usted querrá suspender el riego, ya sea por períodos cortos (mientras está lloviendo, si no tiene un sensor conectado) o períodos largos (durante el invierno). Para facilitar ésto, se puede "apagar" el SmartZone™ EZ. Girar el botón de MODO a la posición APAGADO. Esto suspende todas las operaciones de riego (incluyendo los procedimientos manuales y de prueba). El reloj sigue manteniendo la hora y la fecha corrientes y su(s) programa(s) se retiene(n) hasta que usted desee ejecutarlo(s) de nuevo. Para ejecutar su programa, volver a colocar el botón de MODO en la posición AUTO.
NOTA: La memoria no volátil de su SmartZone™ EZ mantendrá su programa aun sin alimentación eléctrica. Si no hay una pila puesta y se suspende la alimentación, se perderá el tiempo real del reloj. Se tendrá que volver a programar la hora.
FUNCIONES AVANZADAS
El SmartZone™ EZ incorpora tres procedimientos manuales y de prueba para verificar el funcionamiento del programador o para permitirle saltarse el programa actual para regar de inmediato. La sección siguiente le mostrará cómo ajustar el programador para:
- ejecutar una zona manualmente
- ejecutar un programa manualmente
- ejecutar una prueba de 3 minutos de todas las zonas programadas
NOTA: Todos los procedimientos de prueba se ejecutan con el botón de MODO en la posición AUTO. Ésto permite al programador reinicializar o sea reponer el ajuste AUTOMÁTICO después de ejecutar un procedimiento manual y de prueba. Le permite también dejar sólo el programador después de programar un procedimiento manual y de prueba, y no tener que regresar a reinicializar el programador a AUTO.
NOTA: Todos los procedimientos manuales y de prueba ignoran la conexión del sensor. Por ende, usted puede regar utilizando uno de los procedimientos manuales y de prueba aun si el sensor ha suspendido su programa fijado.
Ejecución manual de una zona
Girar el botón grande a la posición MANUAL. Los valores por omisión, zona 01 y 00:10 minutos, destellarán (recuerde que esto significa que puede cambiarlos). Oprimir SELECCIONAR ▲▼ para seleccionar el número de zona que desea regar. Oprimir AJUSTAR ▲▼ para ajustar la duración del riego para la zona seleccionada. El programador retrasará 10 segundos antes de comenzar la zona.
FUNCIONES AVANZADAS
El SmartZone™ EZ incorpora la característica ManualAdvance™ de Nelson en el procedimiento MANUAL. ManualAdvance™ le permite suspender la zona en ejecución actualmente y avanzar de inmediato a cualquier nueva zona que usted seleccione. Con el procedimiento MANUAL ejecutando una zona, oprimir SELECCIONAR para desplazarse a una nueva zona. La última duración introducida aparecerá en pantalla. Oprimir AJUSTAR +- para introducir una nueva duración para la nueva zona (el programador retrasará 10 segundos antes de comenzar la nueva zona).
Ejecución manual de un programa de riego
Girar el botón grande a la posición CICLO. La letra del programa actual destellará. Para cambiar a un programa diferente, girar el botón PROGRAMA al programa deseado (A, B o C). El programador retrasará 10 segundos antes de comenzar el programa seleccionado. Después de la ejecución, el botón restablece el procedimiento AUTOMATICO.
NOTA: CICLO ejecuta de inmediato el programa actual. No se pueden introducir cambios al programa durante el procedimiento CICLO.
Ejecución de una prueba de tres minutos (jeringa)
Girar el botón grande a la posición CICLO DE PRUEBA DE 3 MINUTOS. A B C destellarán en la pantalla (no se pueden cambiar). Ésto es para indicar que el programador revisará los tres programas y ejecutará una prueba de 3 minutos en únicamente aquellas zonas en que ha sido programado. A ésto le llamamos SmartSyringe™.
Esta función permite al programador saltarse zonas que no han sido programadas. Éstas pueden ser zonas no conectadas, ahorrándole así su bomba (si la tiene).
DATOS TÉCNICOS
1. Transformador
Transformador interno de 24 V de CA; 20 VA, 0,83 A para zonas y lógica. El transformador puede operar una bomba o válvula maestra y una válvula de zona, como máximo.
2. Protección contra picos eléctricos
MOV de 7 julios a través de los circuitos secundarios. (Ver Disyuntor más abajo.)
3. Operación de sensor
El SmartZone™ EZ está configurado para operar el programador con o sin un sensor. Los sensores deben tener normalmente conexiones cerradas (conductores). El alambre de empalme instalado de fábrica debe estar en su sitio si no se utiliza sensor.
4. Líneas de zona
El SmartZone™ EZ operará a un máximo de cos (2) slidas al mismo tiempo, una de ellas siendo lo bomba principal de la válvula. La salida de cada zona puede operar con un soleniode.
I consomo de corriente con carga .52A max
I consumo de corriente constante .40A max
DATOS TÉCNICOS
5. Rango de temperaturas
En funcionamiento: de -5° a +55° C (de 23° a 131° F)
En almacén: de -30° a +85° C (de -22° a 185° F)
6. Pantalla

text_image
Hora, fecha, duración del riego, hora de inicio, % (símbolo), fecha de inicio del intervalo Símbolo de sensor suspendido Símbolo de falta de alimentación eléctrica CA Día actual Letra del programa A, B o C Indicador de PM IMPAR PAR INTERVALO Año, número de zona, número de hora de inicio, % de volúmen de agua, Número de intervalo Días de riego D L M X J V S7. Pilas
Se requiere una pila alcalina de 9 V. No utilizar pilas NiCad.
8. Retención del programa
Se utiliza memoria no volátil para retener programas cuando se pierde la energía de las pilas y el suministro de CA. La memoria no volátil se actualiza cuando se cambia el programa y a intervalos de 5 minutos. La memoria no volátil funcionará durante un mínimo de 5 años, en el peor de los casos.
9. Dimensiones de la caja (aproximadas)
6" de altura x 9,5" de ancho x 3,75" de largo (la tapa se puede quitar sin herramientas).
DATOS TÉCNICOS
10. Programa por omisión (ajustes de fábrica)
12:00 AM (no hay indicador "AM" en la pantalla)
Domingo
La fecha es 01/01 96
Sin tiempos de ejecución (zona 01, --:--)
Sin horas de inicio (número de inicio 01, --:--)
Volumen de agua al 100%
Calendario de riego diario (intervalo = 01; fecha de inicio = hoy)
El botón de Modo está en posición de APAGADO
El botón de Programa está en programa A
3 segundos de retraso entre zonas (no se puede cambiar)
11. Disyuntor
Un interruptor electrónico "poly-switch" está incorporado en el PCB de interconexión del programador. Este tipo de disyuntor no requiere de reinicialización ni de reemplazo por parte del usuario.
DETECCIÓN Y CORRECCIÓN DE FALLAS, Y SERVICIO
SÍNTOMA CAUSA POSIBLE SOLUCIÓN
Sin salida a la zona, bomba • CA desconectada • Verifique la fuente de alimentación CA. o válvula maestra Si el programador no detecta CA, el
indicador de no CA estará encendido

Sin CA y pantalla en blanco • Sin pila o pila gastada • Reemplace la pila y oprima reinicializar
Pantalla en blanco • Sin CA ni pila • Instalar una pila para volver a tener uso de
- El cable de banda está desconectado la pantalla, verificar la CA para asegurar salida al campo
- Asegurarse de que el cable de banda entre el panel frontal y la tarjeta programadora esté conectado en ambos extremos
La pantalla muestra signos raros • El programador necesita ser reinicializado o tiene segmentos apagados sigue con signos raros, oprimir el botón de
- Oprimir el botón de reinicializar. Si la pantalla reinicializar y el botón Seleccionar + al mismo tiempo (regresa a los ajustes de fábrica)
Aparece "M-X" en pantalla cuando trata de ejecutar una zona manualmente • El botón de MODO se halla en posición de programa
- Colocar el botón de MODO en posición AUTO para ejecutar una zona manualmente
Aparece "C-X" en pantalla cuando trata de dar CICLO a un programa - El botón de MODO se halla en posición de programa
- Coloque el botón de MODO en posición AUTO para dar ciclo a un programa
Aparece "S-X" en pantalla cuando trata de ejecutar una PRUEBA DE 3 MINUTOS - El botón de MODO se halla en posición de programa
- Colocar el botón de MODO en posición AUTO para ejecutar la PRUEBA DE 3 MINUTOS
El programador no ejecuta una PRUEBA DE 3 MINUTOS • Sin programas en A, B o C
- Introducir un programa con tiempos de ejecución para las zonas que necesite. La PRUEBA DE 3 MINUTOS sólo ejecuta aquellas zonas con tiempos de ejecución programados en ellas
Aparece Er1 en pantalla - Ésto es un error de comunicación entre el microprogramador y la memoria no volátil
- Oprima reinicializar. Si el error no se despeja, reemplace la tarjeta
Aparece Er2 en pantalla - Ésto indica al usuario que hay más de 24 horas de duración del riego programadas
- Revisar su duración del riego total en todos los programas - O BIEN -
- Oprimir reinicializar y seleccionar + al mismo tiempo para regresar a los ajustes de fábrica.
PIEZAS DE REPUESTO
- Transformador
- Banda de interconexión
- Panel frontal
• Cordón de CA de 6'
• Tarjeta de interconexión
REGLAS DE LA COMISIÓN FEDERAL DE COMUNICACIONES DE EE.UU. (FCC)
Este programador de riego electrónico genera y utiliza energía de frecuencia de radio y si no se instala y usa adecuadamente, es decir, de estricto acuerdo con las instrucciones del fabricante, puede causar interferencias a la recepción de radio y televisión. Su tipo ha sido puesto a prueba y se ha encontrado que cumple con los límites para dispositivos de ordenadores de Clase B de acuerdo con las especificaciones en Subparte J de la Parte 15 de las Reglas de la FCC, las cuales están diseñadas para ofrecer una protección razonable contra tales interferencias en una instalación residencial. Sin embargo, no hay garantía de que no ocurrirán interferencias en una determinada instalación. Si el programador causa interferencias a la recepción de radio o televisión, lo que se puede determinar apagando y encendiendo el programador, se sugiere al usuario que trate de corregir las interferencias tomando una o más de las medidas siguientes:
Reorientar la antena receptora
Reubicar el programador alejándolo del receptor
Enchufar el programador en un tomacorriente diferente, para que el programador y el receptor se hallen en diferentes circuitos ramales
Si es necesario, el usuario debe consultar al distribuidor o a un técnico de radio y televisión experimentado para obtener sugerencias adicionales. El usuario puede encontrar útil el siguiente folleto elaborado por la Comisión Federal de Comunicaciones:
"Cómo identificar y resolver problemas de interferencia de radio y televisión"
Este folleto está disponible en la Oficina de Publicaciones del Gobierno de Estados Unidos, Washington, DC 20402. Artículo No. 004-000-00345-4.
REGLAMENTOS CANADIENSES SOBRE INTERFERENCIAS DE RADIO
NOTA: Este aparato digital no excede los límites de Clase B para emisiones de ruido de radio de aparatos digitales según lo estipulan los reglamentos sobre interferencias de radio del Departamento de Comunicaciones de Canadá.
GARANTÍA
Garantía limitada
L.R. Nelson Corporation ("Nelson") garantiza que todos los productos electrónicos están libres de defectos de materiales y mano de obra por un período de dos (2) años a partir de la fecha original de compra. En caso de tales defectos, Nelson reparará o reemplazará, a su discreción, el producto o la parte defectuosa.
Esta garantía no se extiende a daños a un producto o pieza de repuesto de Nelson que resulten de un accidente, mal uso, alteración, negligencia, abuso, instalación inadecuada o deterioro y desgaste normal, o a su apariencia exterior y color. Esta garantía cubre únicamente al usuario original del producto Nelson.
Si surge un defecto en un producto o pieza de repuesto de Nelson dentro del período cubierto por la garantía, usted debe comunicarse con su contratista de instalación, vendedor al detalle o distribuidor de Nelson, o a L.R. Nelson Corporation a uno de los siguientes lugares:
One Sprinkler Lane 1961 Miraloma Ave. 3462 Maggie Blvd.
Peoria, IL 61615 Suite B Orlando, FL 32811
(309) 690-2200 Plancetia, CA 92670 (407) 648-1020
Fax (309) 692-5847 (714) 993-0496 Fax (407) 648-0924
Fax (714) 993-0496
Nelson puede, a su discreción, requerir que el producto o parte de él sea devuelto a un punto de servicio de Nelson o a su vendedor al detalle o distribuidor. Nelson determinará si el defecto reclamado está cubierto por la garantía. Si hay cobertura, el producto será reparado o reemplazado. Permita por favor de 4 a 6 semanas para llevar a cabo las reparaciones o el reemplazo y la devolución del producto o pieza. Si se reemplaza el producto o la pieza, el reemplazo está garantizado únicamente para el período de garantía restante del producto o pieza original.
Esta garantía le concede derechos legales específicos, y es posible que usted cuente con otros derechos, los cuales pueden ser diferentes de un estado a otro. L.R. Nelson Corporation no autoriza a ninguna persona a crear para la compañía ninguna otra obligación ni responsabilidad en relación con los productos Nelson.
EN LA MEDIDA PERMITIDA POR LA LEY, CUALQUIER GARANTÍA IMPLÍCITA O DE COMERCIABILIDAD O DE IDONEIDAD PARA UN PROPÓSITO PARTICULAR APLICABLE A LOS PRODUCTOS NELSON ESTÁN LIMITADAS EN DURACIÓN A LA DURACIÓN DE LAS PRESENTES GARANTÍAS POR ESCRITO. NI L.R.NELSON CORPORATION NI SUS DISTRIBUIDORES O CONCESIONARIOS SE HARÁN RESPONSABLES POR LA PÉRDIDA DE TIEMPO, INCONVENIENCIA, PÉRDIDA ECONÓMICA O DAÑOS INCIDENTALES O CONSECUENTES QUE RESULTEN DE LA VENTA O DISTRIBUCIÓN DE LOS PRODUCTOS NELSON YA SEA POR INCUMPLIMIENTO DE LA PRESENTE GARANTÍA O POR NEGLIGENCIA O AGRAVIO. Algunos estados no permiten las limitaciones en la duración de una garantía implícita, ni la exclusión o limitación de los daños incidentales o consecuentes, por lo cual las limitaciones o exclusiones anteriores podrían no aplicarse en su caso.
Si tiene alguna pregunta en relación con la garantía o su aplicación, escriba por favor a L.R. Nelson Corporation, One Sprinkler Lane, Peoria, Illinois 61615, EE.UU. Atención: Servicio al Cliente.
PÓLIZA DE RECLAMACIÓN DE MERCANCÍA DEFECTUOSA
Los productos devueltos al vendedor al detalle o distribuidor y bajo reclamación de ser defectuosos deben ser inspeccionados por el representante de ventas de Nelson para determinar si se cumple con la garantía. Si se concede la aprobación, los productos serán reparados o reemplazados, o se emitirá un memorándum de crédito cubriendo el precio de compra neto.

Teste de 3 minutos (Seringa)
Corrente de entrada 0,52 A max.
Sem horas de partida (nº de partida 01, —:—)
APÓLICE DE MERCADORIA DEFEITUOSA
ManualFácil