SmartZone EZ 8504 - Programador de rega Nelson - Manual de utilização gratuito
Encontre gratuitamente o manual do aparelho SmartZone EZ 8504 Nelson em formato PDF.
Perguntas dos utilizadores sobre SmartZone EZ 8504 Nelson
0 pergunta sobre este aparelho. Responda às que conhece ou faça a sua.
Faça uma nova pergunta sobre este aparelho
Baixe as instruções para o seu Programador de rega em formato PDF gratuitamente! Encontre o seu manual SmartZone EZ 8504 - Nelson e retome o controlo do seu dispositivo eletrónico. Nesta página estão publicados todos os documentos necessários para a utilização do seu dispositivo. SmartZone EZ 8504 da marca Nelson.
MANUAL DE UTILIZADOR SmartZone EZ 8504 Nelson
Português ..... pgs. 29-57
GUIA DE INSTALAÇÃO E PROGRAMAÇÃO
Para modelos:
8504
8506
8508
8512
8514
8516
8518
8522
8574
8576
8578
8582

text_image
TO PROGRAM PLACE THE MODE DIAL WITH THE PROCESSED POSITION PROGRAM ON OFF LARGE DIAL POSITION SELECT +2 TIME START TIME START DAY CONVENUE SCHEDULE THE PROGRAM DIAL can be PA, B, and 50% of the automobile above. RETURN MODE DIAL, TO WIN POST/THE WHEN PROCESSED OR COMPLETE TO RUN & STOP. NOTE MANUAL CYCLE AND PROCESSED EXISTED IN THIS BUTTON TO RUN & STOP NOTE TEST PLACE THE MODE DIAL IN THIS DB POSITION PROGRAM ON OFF LARGE DIAL POSITION SELECT +1 TIME TIME TIME NOT PROCESSED CIRCLE NOT PROCESSED SYNGNE LEAVE MODE DIAL IN 'OK' POSITION WHEN COMPLETE. PROGRAM ALL RUNS SCHEDULED. NOTE: Drilling SELECT +1, while the MANUAL, last is coming up supervisory Windows The Active Date and End to end on the next NELSON® SmartZone™ EZ 6:34PM SUM T W Th F S END DAY MT. Start Time Start Time Start Time Start Time Start Time Start Time Start Time Start Time Start Time Start Time Start Time Start Time Start Time Start Time Start Time Start Time Start Time Start Time Start Time Start Time Start Time Start Time Start Time Start Time Start Time Start Time Start Time Start Time Start Time Start Time Start Time Start Time Start Time Start Time Program Select Adjust AUTO + OFF Mode Program B C Nelson SmartZone EZAGRADECEMOS a sua escolha do programador eletrônico de rega SmartZone™ EZ. ("EZ", do inglês "easy" significa "fácil"). Estamos confiantes de que este é o programador de maior facilidade de uso que já se viu. Por ser fácil de usar, o usuário talvez não necessite de instruções, porém recomendamos que as leia com atenção para se valer de todas as vantagens que SmartZone™ EZ oferece.
Para consultas, problemas ou comentários sobre o SmartZone™ EZ, ligue grátis para o nosso Departamento de Serviços Técnicos no 1-800-NELSON8 (válido nos EUA).
Campeões de irrigação e rega de relvas desde 1911
OBSERVAÇÃO: no empenho de estar sempre atualizando e aprimorando constantemente os nossos produtos, as características e especificações deste manual poderão ser alteradas sem aviso prévio.
ÍNDICE
Características 32
Instruções de instalação 33-38
Chapa de bornes 34
Ligação da válvula principal ou relê de partida da bomba 34
Fiação do transformador 34-35
Ligação do sensor de chuva/umidade 36
Ligação da pilha e reinicialização do programador 37-38
Programação do SmartZone™ EZ 39-48
Síntesê da programação 39
Organização do painel frontal 40-41
Como acertar a hora do dia 42
Acertar o dia da semana 42
Acertar a data de hoje 42
Seleção de zonas e duração da rega 42-43
Programação das partidas 44
Determinação da porcentagem de alocação de água 44
Fixar calendários 45-46
Determinação dos dias de rega 46
Para fixar o calendário ímpar/par 47
Para fixar o calendário de intervalo 47
Revisão da programação 48
Desligar o programador 48
Procedimentos avançados 49-50
Executar uma zona manualmente 49-50
Executar um programa manualmente 50
Executar um teste de 3 minutos (para cada zona programada) 50
Dados técnicos 51-53
Diagnose de falhas/revisão 54
Regulamentos da FCC dos EUA 55
Garantia 56
CARACTERÍSTICAS
- Qualidade profissional
- Seletores e botões de fácil manuseio
- Visor grande e nítido de LCD com cristais líquidos
- Memória não-volátil retem os programas mesmo sem pilhas ou CA
• 3 programas independentes - 3 partidas por programa (total de 9 partidas)
- 3 calendários opcionais (calendário de 7 dias, regime ímpar/par, intervalo de 1 a 30 dias)
- 3 ciclos de testes (manual, ciclo, teste de 3 minutos)
- Alocação de água
- Tempos de rega programáveis de 1 minuto a 9 horas e 59 minutos
- Programação exclusiva Select&Adjust™ (Seleccionar & Ajustar)
- Transformador interno
- Garantia de 2 anos em materiais e fabricação
INSTRUÇÕES DE INSTALAÇÃO
OBSERVAÇÃO: as instruções são para instalação em ambiente interno ou ao ar livre.
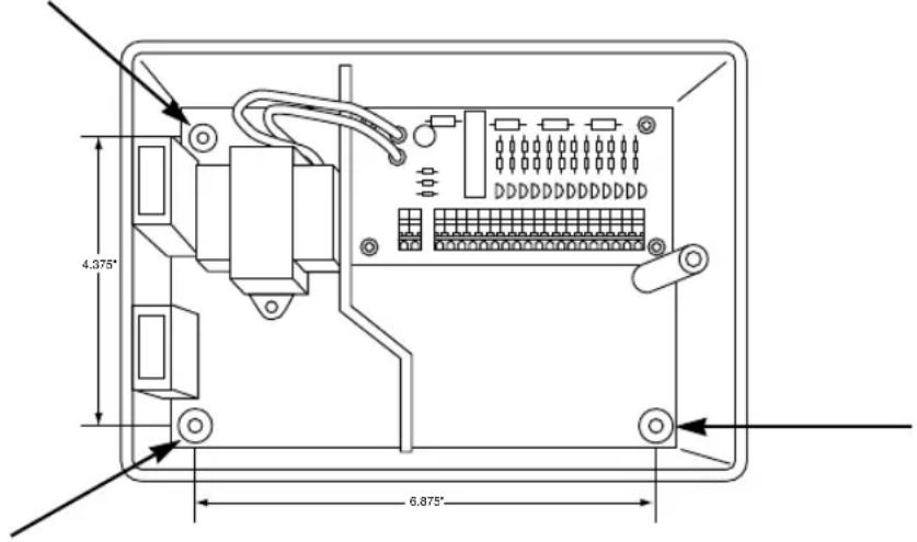
Escolha um local próximo a uma tomada ou alimentação de 110 V (220 V para os modelos 8574, 8576, 8578 e 8582). Sempre que possível instale o SmartZone™ EZ à altura dos olhos. Abra o painel frontal desapertando o parafuso de travamento e puxando a lingüeta do lado direito no painel para que articule nas dobradiças. Utilize os três furos da caixa para marcar e perfurar furos-guia na parede. Os dois furos à esquerda no SmartZone™ EZ têm alinhamento vertical, possibilitando a montagem do programador a um montante (veja Figura 1). Parafuse por dentro a caixa à parede utilizando os respectivos furos-guia.
OBSERVAÇÃO: o painel frontal pode ser retirado para simplificar a instalação retirando-se o conector de fita da tomada no cartão de interconexão, desarticulando em seguida o painel de suas dobradiças.
FIGURA 1

text_image
4.375" 6.875"INSTRUÇÕES DE INSTALAÇÃO
Chapa de bornes
Todas as conexões de zona, bomba e fiação dos sensores no interior do SmartZone™ EZ utilizam conexões que dispensam o uso de ferramentas. Pressione a alavanca da chapa de bornes com uma caneta ou pequena chave de fenda, inserindo o fio na parte inferior. As chapas de bornes nos programadores SmartZone™ EZ aceitam fios de 4,8 mm (AWG 12) ou menores.
Ligação da válvula principal ou relê de partida da bomba
O SmartZone™ EZ vem munido de um circuito compartilhado para operar um relê de partida da bomba ou então uma válvula principal (válvula-mestra). Ligue um dos fios do relê de partida da bomba ao COM (comum) na chapa de bornes, e o outro ao PMP/MV (bomba/válvula mestra) na chapa de bornes. Consulte as instruções do fabricante do relê de partida da bomba para detalhes específicos de instalação.
Fiação do transformador\*
*110 V CA nos EUA, Canadá e México; 220 V CA na Europa e Austrália.
OBSERVAÇÃO: consulte e observe as normas locais quando forem diferentes destas instruções.
CUIDADO!
Desligue a alimentação de 110 V CA (220 V CA para os modelos 8574, 8576, 8578 e 8582) antes de iniciar a fiação do transformador. Complete toda a fiação e instalação antes de ligar o transformador à alimentação elétrica, evitando assim os curtos-circuitos acidentais que poderiam danificar o programador.

AVISO: O material isolante primário será exposto quando se abre o painel frontal. Deslique a corrente elétrica antes de remover êste painel.
INSTRUÇÕES DE INSTALAÇÃO
Para os modelos 8504, 8506, 8508, 8512:
Com o painel frontal aberto de modo a acessar o transformador interno, introduza os cabos de 110 V por baixo pelo furo de 13 mm no fundo da caixa. (Para ligação ao ar livre, a fiação CA deverá possuir um isolamento nominal de, no mínimo, 75°C). O electroduto deve ser afixado á terra (observe as normas locais). Conecte o cabo elétrico CA aos fios do transformador utilizando porcas de fios. Certifique-se também de que o fio de terra esteja conectado ao fio verde de terra com listas amarelas. Verifique as normas locais de ligação à terra para a sua área. Junte os fios e prenda-os com cinta de ligação para evitar que a fiação solta toque nos circuitos secundários. A fiação do transformador agora está completa. NÃO energize a alimentação ainda.
Para os modelos 8574, 8576, 8578, 8582:
Com o painel frontal aberto de modo a acessar o transformador interno, introduza os cabos de 220 V por baixo pelo furo de 13 mm no fundo da caixa. (Para ligação ao ar livre, a fiação CA deverá possuir um isolamento nominal de, no mínimo, 75°C). O electroduto deve ser afixado á terra (observe as normas locais). Ligue a fiação CA no conector fornecido e aperte os parafusos. Observe a polaridade correta dos fios quando instalá-los (isto é, L1, L2 e terra). Junte os fios e prenda-os com a cinta de ligação para evitar que a figação solta toque nos circuitos secundários. A fiação do transformador agora está completa. NÃO energize a alimentação ainda.
OBSERVAÇÃO: a ligação à terra incompleta ou a omissão em ligar a unidade à terra poderá provocar danos sérios ao transformador e/ou à propriedade e anulará a garantia.
Para os modelos 8514, 8516, 8518 e 8522:
O transformador vem já ligado a um cabo elétrico CA de dois metros com pino ligador à terra. Recomendamos ao usuário que não altere esta conexão. A substituição deste cabo deverá atender à todas as normas locais e, em todo o caso, a unidade necessita estar devidamente ligada à terra.
INSTRUÇÕES DE INSTALAÇÃO
Ligação do sensor de chuva/umidade
O SmartZone™ EZ vem equipado para operar um sensor com fios de ligação normalmente fechados. A saída deste sensor no SmartZone™ EZ é a primeira conexão no cartão de interconexão (veja a Figura 2). Para instalar o sensor, retire o fio de derivação (instalado pela fábrica) do conector de sensor na chapa de bornes e coloque os fios do sensor. Consulte as instruções do fabricante do sensor para detalhes específicos de instalação.
FIGURA 2

text_image
Porto do sensorCaso o sensor tenha interrompido a rega, o segmento indicador do sensor aparecerá no visor LCD. Este símbolo desaparecerá assim que o sensor seque ou quando for acionado algum modo manual do programador (veja a página 112). O programador SmartZone™ EZ voltará a funcionar com base no programa selecionado.
INSTRUÇÕES DE INSTALAÇÃO
Ligação da pilha e reinicialização do programador
Conecte uma pilha alcalina de 9 V à presilha de pilha e coloque-a no encaixe da pilha no verso do painel frontal. Esta pilha permite a programação do SmartZone™ EZ sem tensão CA e energiza o relógio para a eventualidade da interrupção de corrente. Sem a pilha instalada, o programador perderá a hora em casos de interrupção da corrente. Esta pilha deve ser substituída uma vez cada ano.
AVISO! Utilize apenas uma pilha alcalina de 9 V. As pilhas de níquel-cádmio de 9 V poderão vazar ou explodir, provocando lesões ou danos
Instalada a pilha, pressione o botão preto de reinicialização no verso do painel frontal para reinicializar o programador (isto não afetará os a programa(s)). Para voltar o programador aos ajustes originais, pressionar ao mesmo tempo o botão preto de reinicialização e o botão
SELECIONAR A: Feche o painel frontal com cuidado para não danificar a fiação. Caso os fios não estejam flexíveis, talvez seja necessário conformá-los de antemão. Aperte o parafuso do painel, afixando-o assim à caixa. Ligue o pino do cabo do transformador na tomada ou energize a alimentação.
OBSERVAÇÃO: uma vez que todos os programas estão gravados em memória não-volátil, os ajustes programados não se perdem numa interrupção de energia - mesmo que a pilha não esteja instalada.
INSTRUÇÕES DE INSTALAÇÃO
Figura 3

text_image
Botão de reinicializaçãoVocê agora está pronto para começar a programação.
INSTRUÇÕES DE PROGRAMAÇÃO
Síntese da programação
Antes de programar o SmartZone™ EZ, recomendamos ao usuário familiarizar-se com algumas orientações gerais:
- Se algum segmento do visor LCD estiver piscando, isto significa que o usuário pode alterá-lo.
- Ao utilizar os botões e expressione-os e mantenha-os pressionado durante três segundos para ativar a paginação rápida.
- Ao programar, certifique-se de que a letra correspondente ao programa aparece no visor; as mudanças afetam o programa relacionado àquela letra que aparece no visor.
- Não há tecla "INTRO". Os toques dos botões e os ajustes dos seletores são gravados automaticamente.
- Caso sejam feitas alterações enquanto o programa estiver em execução, este encerrará de imediato, iniciando-se o novo programa quando da próxima partida fixada.
- Enquanto desocupado, o programador mostra a hora e o dia atuais.
- Durante as operações manuais, há uma demora de 10 segundos antes do início da operação. Durante este período pode-se mudar os ajustes. Cada vez que uma mudança é feita, este período de 10 segundos é reativado.
- Os procedimentos MANUAL, CICLO e TESTE de 3 MINUTOS se executam apenas quando o seletor de Programa está na posição AUTO.
- Depois de executado o procedimento do teste, o programador reverte ao procedimento AUTO e executa o próximo programa fixado.
- Os procedimentos de teste ignoram a conexão do sensor, permitindo assim regar ou executar o seu programa, mesmo que o sensor tenha interrompido a operação.
INSTRUÇÕES DE PROGRAMAÇÃO
Organização do painel frontal
O painel frontal (Figura 4) possui um visor LCD grande, 4 botões emborrachados, um seletor giratório grande e dois seletores giratórios menores. Os botões emborrachados estão marcados "SELECIONAR" e "AJUSTAR", sendo estes os comandos principais de programação SELECT & ADJUST™ exclusiva da Nelson. Os botões estão identificados com + - para aumentar ou diminuir o segmento no qual se está trabalhando.
O SELECT & ADJUST™ opera considerando de primeiro, deve-se selecionar o que se deseja fixar, depois ajustar as variáveis no segmento selecionado. Por exemplo, para um tempo de rega de 10 minutos na zona 5, você utilizaria os botões SELECIONAR para selecionar a zona 5 e, a seguir, utilizaria os botões AJUSTAR + - para fixar o ciclo de rega em 10 minutos.
Haverá ocasiões em que será necessário usar apenas o botão SELECIONAR ou apenas o botão AJUSTAR. Isto será explicado posteriormente no manual. Regra prática: o botão SELECIONAR escolherá as zonas ou uma determinada hora de partida (1, 2 ou 3). O botão AJUSTAR fixará o horário, as datas e a % de alocação de água. Veja o cartão de referência no interior da tampa do SmartZone™ EZ para uma consulta rápida sobre quais os botões que devem ser utilizados para os diversos ajustes dos seletores giratórios.
INSTRUÇÕES DE PROGRAMAÇÃO
FIGURA 4

text_image
A B C IMPAR PAR INTERI D 2° 3° 4° 5° 6° S Zona/Duração de rega Partidas % Alocação de água Dias de rega Impar/Par Intervalo Hora Dia atual Data Manual Ciclo Teste de 3 Minutos PROGRAMAÇÃO AUTO DESLIGA A B C MODO PROGRAMA NELSON® SmartZone™ EZObs.: o seletor MODO deverá estar na posição "Programação".
Obs.: cada vez que o botão ou é pressionado, o tempo aumentará ou diminuirá em um minuto. Mantenha apertado o botão ou durante 3 segundos para iniciar a paginação rápida.
Obs.: veja a seção Dados Técnicos para uma explicação dos segmentos do visor.
INSTRUÇÕES DE PROGRAMAÇÃO
Como acertar a hora do dia
Posicione o seletor grande em HORA. Pressione AJUSTAR ▲▼ para pagar para a hora certa. Não há indicador AM.
Acertar o dia da semana
Posicione o seletor grande em DIA ATUAL. Pressione SELECIONAR + para posicionar o indicador ▼ do dia sobre o dia atual da semana. O botão SELECIONAR + avançará à direita o indicador ▼; o botão SELECIONAR ▼ avançará à esquerda o indicador ▼.
Acertar a data de hoje
Posicione o seletor grande em DATA. Pressione o botão AJUSTAR +7 para pagar para a data de hoje. O ANO se ajustará automaticamente ao passar de 31/12.
OBSERVAÇÃO: a DATA só se torna necessária se o usuário pretende utilizar o calendário ÍMPAR/PAR (dia sim, dia não), ou marcar uma data de partida, que não a atual, para a programação de INTERVALO.
Seleccionar zonas e acertar as durações da rega
O tempo de execução da zona determina a duração de rega da zona selecionada.
Posicione o seletor maior em ZONA/DURAÇÃO. Pressione SELECIONAR ▲▼ para escolher a zona para o programa selecionado (A, B ou C). Com o número da zona exibido no visor, pressione AJUSTAR ▲▼ para fixar a DURAÇÃO DA REGA para aquela zona. As DURAÇÕES DA REGA podem ser fixadas desde 1 minuto até 9 horas e 59 minutos. Continue selecionando zonas e ajustando-lhes as durações até incluir as que interessam no programa selecionado.
INSTRUÇÕES DE PROGRAMAÇÃO
Terminada a última zona ou antes da primeira, aparecerá um extrato somando a DURAÇÃO DE REGA. Este dispositivo é de muita utilidade na determinação do tempo total em que executará o programa. O visor exibe "TODO", indicando a DURAÇÃO DE REGA total. Este tempo que aparece é um total de toda a DURAÇÃO DE REGA para o programa selecionado (com alocação de água de 100%). (Por exemplo: determinado programa tem uma duração de 5 minutos na zona 1; 12 minutos na zona 2; e 6 minutos na zona 4. O visor nesta posição exibe "TODO" e um tempo de rega total de 23 minutos).
FIGURA 5

text_image
A B C IMPAR PAR INTERV D 2" 3" 4" 5" 6" S Zona/Duração de rega Partidas % Alocação de água Dias de rega IMPAR/Par Intervalo Hora Dia atual Data Manual Ciclo Teste do 3 Minutos PROGRAMAÇÃO AUTO DESLIGA A B C MODO PROGRAMA NELSON® SmartZone™ EZINSTRUÇÕES DE PROGRAMAÇÃO
Programação das partidas
A PARTIDA é a hora do dia em que determinado programa começará a ser executado. O
SmartZone™ EZ permite três partidas por programa.
Posicione o seletor grande em PARTIDAS. Aperte SELECIONAR ▲▼ para marcar a partida desejada (1, 2 ou 3). Pressione AJUSTAR ▲▼ para fixar a hora do dia em que o programa será executado. Repita conforme necessário.
Fixar a % de alocação de água
% ALOCAÇÃO altera a duração dos tempos de rega do programa na porcentagem escolhida de 5% a 200% (ou seja, um ciclo de rega de 10 minutos com alocação de 50% durará 5 minutos). Este dispositivo oferece vantagens quando as condições climáticas mudam. Durante a seca, pode-se aumentar o ciclo para cada zona incluída no programa. Com a opção % alocação, basta mudar um único número para ajustar todos os tempos de rega do programa.
Posicione o seletor grande em % ALOCAÇÃO. O símbolo % aparecerá no visor, indicando ajuste de alocação percentual. Pressione AJUSTAR + - para escolher a porcentagem desejada.
INSTRUÇÕES DE PROGRAMAÇÃO
Quando a alocação de água está fixada em 110% ou mais, o SmartZone™ EZ dividirá em dois o tempo de execução para diminuir o escoamento. Em cada zona haverá meio ciclo de operação, seguido da segunda metade para cada zona.
Vale observar que a porcentagem de alocação pode ser selecionada de forma independente para cada programa. Se houver programas A, B e C, será necessário dar a entrada de três valores de alocação de água para fixar os regimes hídricos nos três programas.
FIXAR CALENDÁRIOS
Algumas observações sobre a programação de calendários opcionais do SmartZone™ EZ...
O SmartZone™ EZ tem três opções de programação de calendários:
- DIAS DE REGA, ou diário, permite a escolha dos dias da semana em que será efetuada a rega (por ex. somente segunda, quarta e sexta).
- ÍMPAR/PAR ajusta o programador para efetuar a rega somente nos dias ímpares ou pares do mês (por ex. o programador efetuará a rega nos dias 31 e 1, e demais dias ímpares, se for selecionado o calendário ÍMPAR).
- INTERVALO efetua a rega a cada X dias (de 1 a 30 dias, ou seja, regar a cada 3 dias, a cada 10 dias, etc.). A entrada do valor 1 como intervalo significa rega diária. Esta opção de intervalo também oferece ao usuário a flexibilidade de designar o dia em que iniciará o calendário de rega por intervalos (com até 30 dias de antecedência).
INSTRUÇÕES DE PROGRAMAÇÃO
OBSERVAÇÃO: O seletor MODO deverá estar na posição "Programa" para a seleção do calendário.
Quando o seletor é ajustado em qualquer uma das opções de programação de calendários, o visor exibirá o programa fixado (o pré-fixado da fábrica tem intervalo de 1 dia a partir da data de hoje). Certifique-se de que o seletor PROGRAMA está ajustado para o programa que você quer alterar (A, B ou C), e que você quer mesmo mudar o programa atual. Para selecionar uma opção de programação de calendário basta apertar o botão SELECIONAR ou AJUSTAR. O novo calendário substituirá o antigo. Caso queira de volta o antigo calendário, é fácil reprogramá-lo seguindo os procedimentos abaixo.
Fixar os dias de rega
Gire o seletor grande para a opção DIAS DE REGA. Aparecerá no visor o regime atualmente em vigor, que na ausência de outra programação será do INTERVALO de rega diária que veio pré-selecionado da fábrica. Pressione o botão SELECIONAR para escolher o dia indicado para a rega ou pressione SELECIONAR para selecionar os dias nos quais não ocorrerá a rega.
Um indicador piscando ▼ aparecerá sobre o dia que o usuário está prestes a selecionar. Aparecerão gotas ♠ sobre os dias selecionados para rega. O indicador ▼ avança automaticamente um dia para a direita, após cada toque do botão SELECIONAR ou . Continue selecionando ou excluindo os dias de rega até completar o calendário semanal.
OBSERVAÇÃO: a programação de DIAS DE REGA apagará qualquer calendário já existente para o programa selecionado.
INSTRUÇÕES DE PROGRAMAÇÃO
Para fixar o calendário impar/par
Posicione o seletor grande em impar/par. O visor mostrará o último programa selecionado ou a opção de intervalo de 1 dia (pré-selecionado pela fábrica). Para fixar um calendário de dias ímpar ou par, pressione SELECIONAR (ê necessário fixar uma data para a rega em regime ímpar/par). Aparecerá uma seta no visor junto ao calendário indicado (Ímpar ou par). Os botões SELECIONAR funcionam como teclas alternativas entre as seleções ímpar e par.
OBSERVAÇÃO: a programação do calendário ÍMPAR/PAR apagará qualquer calendário já existente para o programa selecionado.
Para fixar o calendário de Intervalo
Posicione o seletor grande em INTERVALO. O visor mostrará a última opção de programação selecionada ou a opção de intervalo de 1 dia (pré-selecionado pela fábrica). Para fixar os dias por intervalos entre regas (1 a 30), pressione o botão SELECIONAR. A data exibida representa o primeiro dia do calendário por intervalos, (sendo a data de hoje, se fixada durante a programação). Se necessário, mude a data inicial do intervalo programado com AJUSTAR até, no máximo, daqui a trinta dias.
Repita os procedimentos acima descritos para cada programa desejado (A, B ou C).
É só! O seu SmartZone™ EZ agora está programado. Posicione o seletor MODO em AUTO para executar o programa escolhido.
OBSERVAÇÃO: a programação de INTERVALO apagará qualquer calendário já existente para o programa selecionado.
INSTRUÇÕES DE PROGRAMAÇÃO
REVISÃO DA PROGRAMAÇÃO
Para rever o programa selecionado, gire o seletor MODO para a posição PROGRAMAR, e selecione com o seletor grande a variável que se deseja rever (p. ex. posicione o seletor grande em HORA para rever a hora fixada para o programador). Para rever as diversas zonas ou tempos de execução (duração) (1,2,3), utilize apenas os botões SELECIONAR
OBSERVAÇÃO: quando o modo de programação estiver selecionado, tenha cuidado para não alterar o programa inadvertamente.
DESLIGAR O PROGRAMADOR
Quando o usuário quiser, poderá interromper a rega, quer por intervalos curtos (enquanto chove, sem sensor instalado) ou por períodos maiores (durante o inverno). Para tanto, o SmartZone™ EZ poderá ser desligado. Posicione o seletor MODO na posição DESLIGA. Este ajuste interrompe toda a operação de rega (inclusive os procedimentos manuais/de teste). O relógio continuará marcando a hora e a data atuais, sendo retidos também o(s) programa(s) para eventual utilização. Para executar o seu programa, posicione o controle MODO de volta em AUTO.
OBSERVAÇÃO: a memória não-volátil do SmartZone™ EZ manterá gravado o seu programa mesmo sem estar energizada. Ocorrendo interrupção de energia sem que a pilha esteja instalada, o relógio perderá a hora e terá de ser reprogramado.
PROCEDIMENTOS AVANÇADOS
O programador SmartZone™ EZ possui três procedimentos avançados para verificação do funcionamento ou para bloquear o programa vigente e regar de imediato. A seção que segue explica como ajustar o programador para:
- Executar uma zona manualmente
- Executar um programa manualmente
- Executar um teste de 3 minutos para cada zona programada
OBSERVAÇÃO: todos os procedimentos de teste são executados com o seletor MODO na posição AUTO. Isto permitirá ao programador a retomada do ajuste AUTO tão logo concluído o procedimento de teste/manual. Por ser automático, não existe a necessidade para o operador voltar e reajustar o programador para AUTO após a conclusão de eventuais testes.
OBSERVAÇÃO: os procedimentos manuais/de teste ignoram a conexão do sensor, permitindo a rega manual/de teste mesmo quando o sensor tiver suspendido a execução do programa.
Executar uma zona manualmente
Posicione o seletor grande em MANUAL. O piscar da zona 01 e dos 00:10 minutos significa que estes valores podem ser ajustados. Pressione SELECIONAR para escolher o número da zona que você quer regar. Pressione AJUSTAR para fixar a duração da rega para a zona selecionada. Haverá uma demora de 10 segundos para o início do ciclo para a zona selecionada.
PROCEDIMENTOS AVANÇADOS
O SmartZone™ EZ da Nelson oferece no procedimento MANUAL o dispositivo ManualAdvance™. Esta opção ManualAdvance™ permite a interrupção da zona sendo executada atualmente e o avanço imediato para qualquer outra zona que você selecionar. Com o procedimento MANUAL a vigorar, pressione SELECIONAR para avançar para uma outra zona. Aparecerá no visor o último período de execução fixado. Pressione AJUSTAR para introduzir um novo ciclo para esta nova zona. Haverá uma demora de 10 segundos antes do início da execução da nova zona.
Executar um programa manualmente
Posicione o seletor maior em CICLO, e a letra do programa vigente piscará. Para mudar de programa, gire o seletor PROGRAMA para a posição desejada (A, B ou C). Haverá uma demora de 10 segundos antes do início da execução. Rodado o programa, o programador retomará automaticamente o procedimento AUTO.
OBSERVAÇÃO: o modo CICLO executa imediatamente o programa vigente. O programa não pode ser alterado durante o procedimento de CICLO.
Posicione o seletor maior em TESTE DE 3 MINUTOS. O visor exibirá o A, B e C, inalteráveis. Isto indica que o programador verificará os três programas, executando o teste de 3 minutos apenas nas zonas já programadas. Isto nós chamamos de SmartSyringe™.
Este dispositivo permite ao programador deixar de lado as zonas que não foram programadas, poupando assim a sua bomba, quando for o caso, se estas zonas ainda não foram conectadas.
DADOS TÉCNICOS
1. Transformador
Transformador interno de 24 V CA; 20 VA, 0,83 A para as zonas e a lógica. O transformador pode controlar, no máximo, uma bomba ou válvula principal e uma válvula de zona.
2. Proteção contra picos de tensão
MOV de 7 joules entre os secundários (veja Disjuntor abaixo)
3. Operação do sensor
O SmartZone™ EZ vem configurado para operar com ou sem sensor. Os sensores devem ter conexões normalmente fechadas (fios condutores). O fio de derivação deve estar instalado se nenhum sensor estiver conectado.
4. Fios das zonas
O SmartZone™EZ pode operar até duas (2) saídas ao mesmo tempo, desde que uma seja a válvula mestra/bomba. Cada saída de zona pode operar um solenóide.
Corrente de mantenção 0,40 A max.
DADOS TÉCNICOS
5. Faixa de temperatura
Operacional: -5°C a +55°C (23°F a 131°F)
Armazenamento: -30^ a +85^ ( -22^ a 185^ )
6. Visor

text_image
Hora, data, ciclo, partida, % (símbolo), data inicial do intervalo Símbolo de sensor interrompido Símbolo de falta de CA Dia atual Letras do programa A, B ou C Indicador PM IMPAR PAR INTERV. Ano, número de zona, número da partida, % alocação de água, número de intervalo D 2a 3a 4a 5a 6a S Dias de rega7. Pilhas
Uma pilha alcalina de 9 V. Não utilize pilhas de níquel-cádmio.
Aviso: Ainda que o seu funcionamento não será afetado, é necessário tomar cuidado para não tocar o visor LCD de cristais líquidos. Altos níveis de ESD podem mudar alguns segmentos do visor.
8. Retenção do programa
A memória não-volátil retém os programas quando da perda de tensão CA e da pilha. Esta memória e atualizada sempre que o programa é alterado e a cada 5 minutos. A memória não-volátil funcionará, no mínimo, durante 5 anos na pior das hipóteses.
DADOS TÉCNICOS
9. Dimensões aproximadas da caixa
15 cm de altura, 24 cm de largura, 10 cm de fundo (a tampa pode ser retirada sem ferramentas)
10. Programa fixado na fábrica
Zero horas (não há indicador A.M. no visor LCD)
Domingo
Data: 01.01.96
Sem Tempos de execução (zona 01, —:—)
Alocação de água de 100%
Rega diária (Intervalo = 01; Data inicial = hoje)
Seletor de MODO na posição DESLIGA
Seletor de Programa ajustado em A
Demora de 3 segundos entre zonas (não pode ser alterado)
11. Disjuntor
Uma chave múltipla elétrica está incorporada no cartão de circuitos impressos de interconexão do programador. Este tipo de disjuntor não requer reinicialização ou substituição pelo usuário.
DIAGNOSE DE FALHAS/REVISÃO
| SINTOMA POSSÍVEL CAUSA SOLUÇÃO | ||
| Nenhum sinal para as zonas, bomba ou válvula principal programador não detectar tensão, aparecerá | • CA desligada | • Verifique a alimentação CA; se o o símbolo de falta de CA ✉ |
| Sem CA e sinal apagado no painel | • Sem pilha ou pilha gasta | • Troque a pilha e pressione o botão de reinicialização (Veja a página 96) |
| Visor em branco • Sem CA e sem pilha • | • Cabo de fita desconectado | Instale a pilha para reativar o visor; verifique a alimentação CA para assegurar saída para o campo• Verifique se as duas extremidades do cabo de fita entre o painel frontal e a cartão eletrônico do programador estão conectadas |
| Visor confuso ou faltando segmentos | • É necessário reinicializar o programador | • Pressione o botão de reinicialização. Se continuar confusa, pressione ao mesmo tempo o botão de reinicialização e o botão SELECCIONAR + (o que retorna à programação original da fábrica) |
| "M-X" aparece no visor ao se tentar operação manual de uma zona | • Seletor MODO está na posição programação | • Posicione o seletor MODO na posição AUTO para rega manual de uma zona |
| "C-X" aparece no visor ao se tentar iniciar CICLO em uma zona | • Seletor MODO está na posição programação | • Posicione o seletor MODO na posição AUTO para executar um programa |
| "S-X" aparece no visor ao se tentar executar um TESTE DE 3 MINUTOS | • Seletor MODO está na posição programação | • Posicione o seletor MODO na posição AUTO para executar o teste de 3 minutos |
| O programador não executa o TESTE DE 3 MINUTOS | • Não há programas no A, B ou C | • Introduzir um programa, inclusive com os ciclos para as zonas desejadas. O TESTE DE 3 MINUTOS opera apenas sobre nas zonas que contêm tempos de execução programados |
| Er1 aparece no visor | • Houve erro de comunicação entre o microprogramador e a memória não-volátil Se o erro | • Pressione o botão de reinicialização. continuar, substitua o cartão |
| Er2 aparece no visor | • Há mais de 24 horas de ciclos programados | • Verifique o total dos tempos de execução programados para todos os programas e faça as correções - OU -• Pressione ao mesmo tempo o botão de reinicialização e SELECCIONAR + para retornar à programação original da fábrica. |
PECAS SUBSTITUÍVEIS
- Transformador
- Fita de interconexão
- Painel frontal
• Cabo elétrico de 2 metros
- Cartão de interconexão
REGULAMENTOS DA FCC DOS EUA
Este programador eletrônico de irrigação gera e utiliza energia de frequência de rádio e, se não instalado e utilizado corretamente, isto é, em perfeita conformidade com as instruções do fabricante, poderá provocar interferência com a recepção de rádio e televisão. O aparelho passou por ensaio de enquadramento e enquadrou-se, assim, nas normas para um dispositivo de informática Classe B em conformidade com as especificações constantes da alínea J da Parte 15 das Normas da Comissão Federal de Comunicações dos EUA, as quais foram lavradas com o intuito de proporcionar proteção razoável contra tal interferência em instalações residenciais. Ressalva-se que não existe garantia de que nenhuma interferência ocorrerá em determinada instalação. Caso este programador interfira com a recepção de rádio ou televisão, fato que pode ser determinado pelo desligamento e reativação do programador, recomenda-se ao usuário que tente corrigir a interferência adotando uma ou mais das providências a seguir:
- reorientando a antena de recepção;
- deslocando o programador em relação à posição do aparelho receptor;
- afastando o programador do aparelho receptor;
- ligando o cabo em outra tomada para que o programador e aparelho receptor estejam em circuitos derivados diferentes.
Se necessário, o usuário deverá consultar a distribuidora ou um técnico habilitado em consertos de rádios e televisores para outras sugestões. O usuário poderá obter informações adicionais do livreto preparado pela Comissão Federal de Comunicações:
"How to Identify and Resolve Radio-TV Interference Problems" ("Como Identificar e Solucionar Problemas de Interferência com Rádio e Televisão"). Este livreto é distribuído pelo U.S. Government Printing Office, Washington, DC, 20402, EUA. N° de estoque 007-000-00345-4.
REGULAMENTAÇÃO CANADENSE SOBRE RADIOINTERFERÊNCIA
OBSERVAÇÃO: este aparelho digital não ultrapassa dos limites da Classe B para emissões de aparelhos digitais constantes dos regulamentos de radiointerferência do Departamento de Comunicações do Canadá.
GARANTIA
Garantia limitada
A L.R. Nelson Corporation ("Nelson") garante que todos os produtos eletrônicos estão livres de defeitos de material e de fabricação, por um período de 2 (dois) anos a partir da data da compra original. No evento de tais defeitos ocorrerem, a Nelson conservará ou substituirá, conforme critérios próprios, o produto ou a peça defeituosa.
Esta garantia não cobre danos em um produto Nelson ou peça resultante de um acidente, erro no uso, alteração, negligência, abuso, instalação inadequada, desgaste normal ou da aparência exterior e da cor. Esta garantia é válida apenas ao usuário original do produto Nelson.
Se o defeito surgir em um produto Nelson ou peça dentro do período da garantia, o usuário deve contatar o fornecedor, distribuidor Nelson, ou a L.R. Nelson Corporation em um dos seguintes endereços:
One Sprinkler Lane 1961 Miraloma Ave. 3462 Maggie Blvd.
Peoria, IL 61615 Suite B Orlando, FL 32811
(309) 690-2200 Placentia, CA 92670 (407) 648-1020
Fax (309) 692-5847 (714) 993-0496 Fax (407) 648-0924
Fax (714) 993-0496
A Nelson pode, se assim optar, exigir que o produto ou peça seja enviada a uma de suas oficinas, ao seu fornecedor ou ao distribuidor. A Nelson determinará se a reclamação de defeito é coberta pela garantia. Se tiver cobertura, o produto será convertado ou substituído. O prazo para a conclusão dos reparos ou substituição e retorno do produto ou peça é de 4 a 6 semanas. Se um produto ou peça for substituído, a substituição é garantida apenas pelo término da garantia original.
Esta garantia lhe dá direitos específicos legais, e talvez outros direitos que variam de estado para estado. A L.R. Nelson Corporation não autoriza nenhum indivíduo a criar obrigações ou responsabilidade em conexão com os produtos Nelson.
NA EXTENSÃO PERMITIDA PELA LEI, QUALQUER GARANTIA IMPLÍCITA DE COMERCIALIZAÇÃO OU APTIDÃO PARA UM CERTO PROPÓSITO APLICÁVEL AOS PRODUTOS NELSON É LIMITADA À DURAÇÃO DESTAS GARANTIAS ESCRITAS. NEM A L R NELSON CORPORATION NEM OS SEUS DISTRIBUIDORES OU COMERCIANTES SERÃO RESPONSÁVEIS POR PERDA DE TEMPO, INCONVENIÊNCIA, PERDA ECONÔMICA OU DANOS EMERGENTES OU DE LUCROS CESSANTES RESULTANTES DA VENDA OU DISTRIBUIÇÃO DOS PRODUTOS NELSON, SEJA POR QUEBRA DE GARANTIA DO CONTRATO VIGENTE OU POR NEGLIGÊNCIA OU DANO. Alguns estados não permitem limitações na duração de uma garantia implícita ou a exclusão ou limitação de danos emergentes ou de lucros cessantes. Nestes casos, as limitações e exclusões acima mencionadas podem não lhe ser pertinentes.
Se tiver qualquer pergunta sobre a garantia e suas aplicações, por favor escreva para:
L. R. NELSON Corporation
One Sprinkler Lane
Peoria, Illinois 61615 EUA
Os produtos devolvidos ao varejista ou distribuidor como sendo defeituosos devem ser inspecionado pelo representante de vendas da Nelson para determinação de conformidade com a garantia. Se a aprovação for dada, os produtos serão convertados ou substituídos, ou um memorando de crédito cobrindo o preço líquido de compra será emitido.

ManualFácil