1PB100BL - Bateria portátil FRESH N REBEL - Manual de utilização gratuito
Encontre gratuitamente o manual do aparelho 1PB100BL FRESH N REBEL em formato PDF.
Perguntas dos utilizadores sobre 1PB100BL FRESH N REBEL
0 pergunta sobre este aparelho. Responda às que conhece ou faça a sua.
Faça uma nova pergunta sobre este aparelho
Baixe as instruções para o seu Bateria portátil em formato PDF gratuitamente! Encontre o seu manual 1PB100BL - FRESH N REBEL e retome o controlo do seu dispositivo eletrónico. Nesta página estão publicados todos os documentos necessários para a utilização do seu dispositivo. 1PB100BL da marca FRESH N REBEL.
MANUAL DE UTILIZADOR 1PB100BL FRESH N REBEL
-
Carregue totalmente o Powerbank antes de utilizá-lo.
-
Ligue o Powerbank ao equipamento que pretende carregar.
-
Prima o botão para começar a carregar. O LED de carga acende vermelho.
-
Quando o equipamento está totalmente carregado, o LED apaga-se.

O EQUIPAMENTO ESTÁ PRONTO PARA VOLTAR À ACÇÃO!

text_image
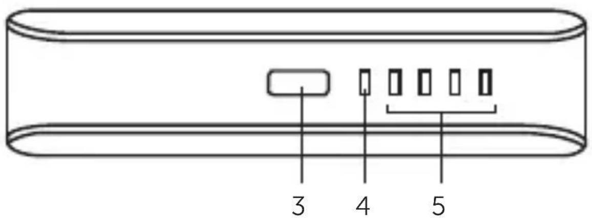
1 2
text_image
3 4 51. 1 Amp USB porta
Carregue os seus equipamentos
2. Porta micro USB
Carregue o Powerbank
3. Botão
Prima para começar a carregar
Prima para ver o estado da bateria
4. LED de carga
Vermelho = a carregar o Powerbank
Apagado = Powerbank totalmente carregado
1 luz = 25% de carga disponível
2 luzes = 50% de carga disponível
3 luzes = 75% de carga disponível
4 luzes = 100% de carga disponível
INSTRUÇÕES DE SEGURANÇA IMPORTANTES
Aviso!
As diretrizes de segurança foram criadas para usufruíres do melhor desempenho dos teus produtos Fresh 'n Rebel em segurança. Para assegurar um funcionamento fiável:
- Segue sempre estritamente todas as instruções e avisos.
- Lê atentamente todas as instruções do manual do utilizador antes de utilizares o produto.
- Não abras o equipamento, pois não existem peças no interior que necessitem da tua intervenção e ao fazê-lo anulas a garantia.
- Não utilizes o produto em ambientes ou condições de humidade.
- Não utilizes o transformador perto de fontes de calor excessivo, saídas de ar quente ou exposto à luz solar direta durante longos períodos. O produto deve ser utilizado com temperaturas entre 5 °C e 35 °C (41 °F – 95 °F).
- Não cubras o produto com papel ou outros materiais. Isso pode impedir a capacidade de arrefecimento do produto.
Garantia e Limitações
O produto está garantido contra defeitos de material e fabrico em condições normais de utilização por um período de 2 anos a partir da data de compra. Durante esse período, os produtos com defeito podem ser entregues para reparação ou substituição na loja onde foram comprados. A garantia não cobre danos acidentais, desgaste, perda acidental ou utilização para além das instruções do manual do utilizador.
Especificações do produto
- Capacidade da bateria: 2600 mAh
- Entrada: 5 V / 1,5 A (máx.)
- Potência de saída: 5W
• USB Saída: 5 V / 1 A - Dimensões: 31 X 95 X 24 mm
- Peso do produto: 72 g
- Proteção múltipla incorporada: sobrecorrente, sobretensão, sobreaquecimento, sobrecarga de potência e curto-circuito
ManualFácil