2PB100PT - Bateria portátil FRESH N REBEL - Manual de utilização gratuito
Encontre gratuitamente o manual do aparelho 2PB100PT FRESH N REBEL em formato PDF.
Perguntas dos utilizadores sobre 2PB100PT FRESH N REBEL
0 pergunta sobre este aparelho. Responda às que conhece ou faça a sua.
Faça uma nova pergunta sobre este aparelho
Baixe as instruções para o seu Bateria portátil em formato PDF gratuitamente! Encontre o seu manual 2PB100PT - FRESH N REBEL e retome o controlo do seu dispositivo eletrónico. Nesta página estão publicados todos os documentos necessários para a utilização do seu dispositivo. 2PB100PT da marca FRESH N REBEL.
MANUAL DE UTILIZADOR 2PB100PT FRESH N REBEL
Drucken, um zu laden
- Carreque totalmente o Powerbank antes de'utilizá-lo.
- Lique o Powerbank ao equipamento que pretende correbar.
- Prima o botão para fazer a carregar. O LED de entrega acende vermelho.
- Quando o equipamento está totalmente carregado, o LED apaga-se.




O EQUIPAMENTO ESTÁ PRONTO PARA VOLTAR À ACÇÃO!


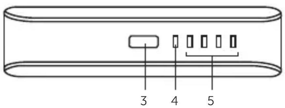
- 1Amp USB porta
Carregue os seu equipamentos
- Porta micro USB
Carregue o Powerbank
- Botão
Prima para fazer a carregar
Prima para ver o estado da bateria
- LED dearga
Vermelho = a corregar o Powerbank
Apagado = Powerbank totalmente_carregado
2 Luzes = 50% de energia disponível
3 Luzes = 75% de entrega disponible
4 luzes = 100% de energia disponível
INSTRUÇÉS DE SEGURANÇA IMPORTANTES

iso!
As diretrizes de segurar foram criadas para usufruíres do melhor desempenho dos teus produits Fresh 'n Rebel em segurar. Para assegurar um functimento fiavel:
- Segue sempre estritamente todas as instruções e avisos.
- Lé atentamente todas as instruções do manual do utiliser antes de utilizes o produits.
- Não abras o equipamento, País não existem peças no interior que necessitem da tua intervenção e ao fazê-lo anulas a garantia.
- Não utilizes o produto em ambientes ou condições de humidade.
- Não utilizes o transformador perto de fontes de calor excessivo, saidas de ar quente ou exposto à luz solar direta durante longos periodos. O produits deve serutilizzato com temperaturas entre 5 °C e 35 °C (41 °F - 95 °F).
- Não cubras o produto com papel ou outros materiais. Isso pode impedir a capacidade de arrefecimento do produto.
Garantia e Limitações
O produit está garantido contra defeitos de material e fabrico em condições normais de utilizesçao por um periodo de 2 anos a partir da data de compra. Durante esse periodo, os produits com defeito podem ser entrega para reparacao ou substituicao na loja ond foram comprados. A garantia não cobre danos acidentais, desgaste, perda acidental ou utilizescão para lem das instruções do manual do uso.
Especificações do produits
- Capacidade da bateria: 2600 mAh
- Entrada: 5 V / 1,5 A (max.)
- Potência de sinaça: 5W
- USB Saída: 5 V / 1 A
- Dimensoes: 31 X 95 X 24 mm
- Peso do produto: 72 g
- Proteção multipla incorpORA: sobrecorrente, sobretensão, sobreaquecimento, sobrecarga de potência e curto-circuito
ManualFácil