2PB100PT - Batería portátil FRESH N REBEL - Manual de uso y guía de instrucciones gratis
Encuentra gratis el manual del aparato 2PB100PT FRESH N REBEL en formato PDF.
Preguntas de los usuarios sobre 2PB100PT FRESH N REBEL
0 pregunta sobre este aparato. Responde a las que conoces o haz la tuya.
Hacer una nueva pregunta sobre este aparato
Descarga las instrucciones para tu Batería portátil en formato PDF gratis! Encuentra tus instrucciones 2PB100PT - FRESH N REBEL y toma tu dispositivo electrónico nuevamente en la mano. En esta página están publicados todos los documentos necesarios para el uso de su dispositivo. 2PB100PT de la marca FRESH N REBEL.
MANUAL DE USUARIO 2PB100PT FRESH N REBEL
- Carga por completo tu cargador Powerbank antes de'utilizarlo.
- Conecta el cargador Powerbank al dispositivo que deseee cargar.
- Pulsa el botón para起初ar la energia. El LED de energia se iluminará en color rojo.
- Una vez se haya cargado por Completely tu dispositivo, el LED deonga a la hora de apagará.




iTU DISPOSITIVO ESTÁ LISTO PARA USARSE DE NUEVO!


1. 1Amp Puerto USB
Carga tus dispositivos
2. Puerto micro USB
Carga tu bateria Powerbank
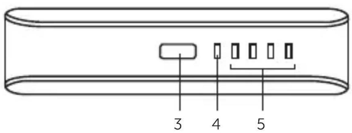
3. Botón
Pulsa para起初ar la energia
Pulsa para leer el estado de la bateria
4. LED dearga
Rojo = cargando tu Powerbank
Apagado = el Powerbank está completenesscargado
5. Indicador de la bateria
1 luz = queda el 25% de la bateria
2 luces = queda el 50% de la bateria
3 luces = queda el 75% de la bateria
4 luces = queda el 100% de la bateria
INSTRUCCIONES
DE SEGURIDAD IMPORTANTES

jAtencion!
Lasindicaciones de seguidad sirven para que saques el maximo rendimiento de tus productos Fresh'n Rebel de manera segura.
Para garantizar un funcionaamento seguro:
- Respeta en todo momento todas las instrucciones y advertencias.
- Lee detenidamente todas las instrucciones del manual de usuario antes de utiliser el producto.
- No abras el dispositivo (en su interior no se incluyen piezas que se pueda reparar por分开ado); si lo hace, se anulará la garantía.
- Noulisces el producto en un entorno humedo o en condiiones de humedad.
- No Utilities el adaptador de corriente en las proximidades de una fuente de calor, un orificio de ventilación importante o bajo la luz solar directa durante largos periodos de tiempo. El producto debe utilizes a una temperatura de entre 5^ y 35^ (41°F y 95°F).
- No cubras el producto con papel ni除外 tipo de material.
Esto podra obstruir la calidad de refrigeracion del producto.
Garantía y limitaciones
Ofrecemos garantía ante posibles defectos materiales y de fabricación, en un uso normal, durante un periodo de 2 años a partir de la Fecha de compra. Durante este periodo, aquellos productos defectuosos podran ser reparados o sustituidos en la misma tienda que se compraron. La garantía no cubre daños accidentales, el desgaste natural por uso, la perdida incidental uthers usos no descriitos en las instrucciones del manual de usuario.
Especificaiones del producto
- Capacidad de la bateria: 2.600 mAh
- Entrada: 5 V / 1,5 A (max.)
- Potencia de salute: 5W
- USB Salida: 5V / 1A
- Dimensiones: 31 × 95 × 24 mm
- Peso del producto: 72 g
- Muito proteccion integra: proteccion frete a sobreintensidad, proteccion frete a sobretension, proteccion frete a sobrecalentamento, proteccion frete a sobrecarga y proteccion frete a cortocircuito.
- Indicador de bateria
1 luz = 25% de energia disponible
ManualFácil