1PB100BL - Batería portátil FRESH N REBEL - Manual de uso y guía de instrucciones gratis
Encuentra gratis el manual del aparato 1PB100BL FRESH N REBEL en formato PDF.
Preguntas de los usuarios sobre 1PB100BL FRESH N REBEL
0 pregunta sobre este aparato. Responde a las que conoces o haz la tuya.
Hacer una nueva pregunta sobre este aparato
Descarga las instrucciones para tu Batería portátil en formato PDF gratis! Encuentra tus instrucciones 1PB100BL - FRESH N REBEL y toma tu dispositivo electrónico nuevamente en la mano. En esta página están publicados todos los documentos necesarios para el uso de su dispositivo. 1PB100BL de la marca FRESH N REBEL.
MANUAL DE USUARIO 1PB100BL FRESH N REBEL
- Carga por completo tu cargador Powerbank antes de utilizarlo.
- Conecta el cargador Powerbank al dispositivo que desee cargar.
- Pulsa el botón para iniciar la carga. El LED de carga se iluminará en color rojo.
- Una vez se haya cargado por completo tu dispositivo, el LED de carga se apagará.

¡TU DISPOSITIVO ESTÁ LISTO PARA USARSE DE NUEVO!

text_image
1 2
text_image
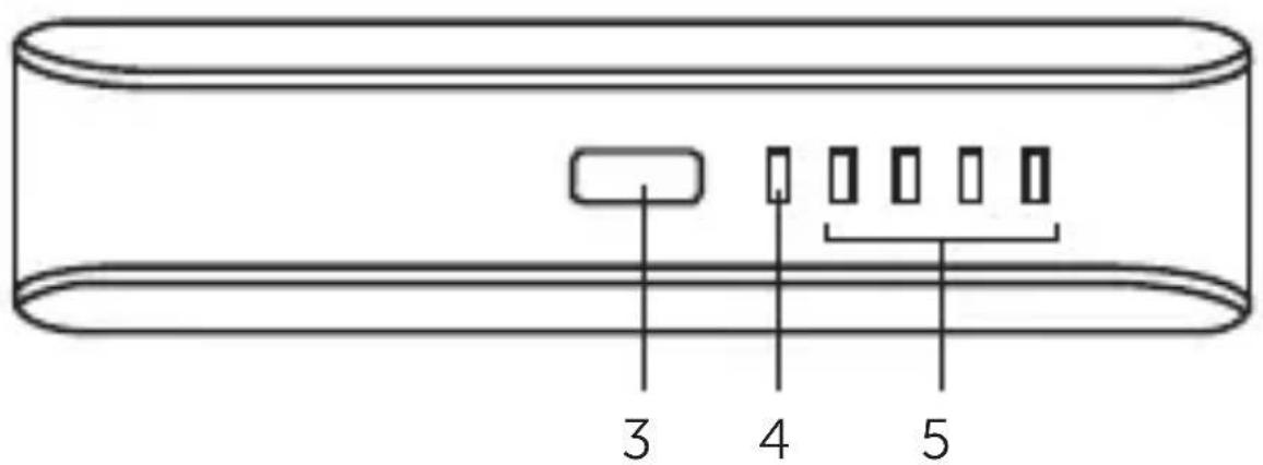
3 4 51. 1 Amp Puerto USB
Carga tus dispositivos
2. Puerto micro USB
Carga tu batería Powerbank
3. Botón
Pulsa para iniciar la carga
Pulsa para leer el estado de la batería
4. LED de carga
Rojo = cargando tu Powerbank
Apagado = el Powerbank está completamente cargado
5. Indicador de la batería
1 luz = queda el 25% de la batería
2 luces = queda el 50% de la batería
3 luces = queda el 75% de la batería
4 luces = queda el 100% de la batería
INSTRUCCIONES
DE SEGURIDAD IMPORTANTES

¡Atención!
Las indicaciones de seguridad sirven para que saques el máximo rendimiento de tus productos Fresh 'n Rebel de manera segura.
Para garantizar un funcionamiento seguro:
- Respeta en todo momento todas las instrucciones y advertencias.
- Lee detenidamente todas las instrucciones del manual de usuario antes de utilizar el producto.
- No abras el dispositivo (en su interior no se incluyen piezas que se puedan reparar por separado); si lo haces, se anulará la garantía.
- No utilices el producto en un entorno húmedo o en condiciones de humedad.
- No utilices el adaptador de corriente en las proximidades de una fuente de calor, un orificio de ventilación importante o bajo la luz solar directa durante largos periodos de tiempo. El producto debe utilizarse a una temperatura de entre 5 °C y 35°C (41 °F y 95 °F).
- No cubras el producto con papel ni otro tipo de material. Esto podría obstruir la capacidad de refrigeración del producto.
Garantía y limitaciones
Ofrecemos garantía ante posibles defectos materiales y de fabricación, en un uso normal, durante un periodo de 2 años a partir de la fecha de compra. Durante este periodo, aquellos productos defectuosos podrán ser reparados o sustituidos en la misma tienda que se compraron. La garantía no cubre daños accidentales, el desgaste natural por uso, la pérdida incidental u otros usos no descritos en las instrucciones del manual de usuario.
Especificaciones del producto
- Capacidad de la batería: 2.600 mAh
- Entrada: 5 V / 1,5 A (máx.)
- Potencia de salida: 5W
- USB Salida: 5 V / 1 A
• Dimensiones: 31 X 95 X 24 mm
- Peso del producto: 72 g
- Múltiple protección integrada: protección frente a sobreintensidad, protección frente a sobretensión, protección frente a sobrecalentamiento, protección frente a sobrecarga y protección frente a cortocircuito.
ManualFácil