VN-731PC, VN-731PC DNS, VN-731 PC, VN-731 PC, VN-731PC- DNS, VN 731PC - Dictaphone numérique OLYMPUS - Notice d'utilisation et mode d'emploi gratuit
Retrouvez gratuitement la notice de l'appareil VN-731PC, VN-731PC DNS, VN-731 PC, VN-731 PC, VN-731PC- DNS, VN 731PC OLYMPUS au format PDF.
| Type de produit | Dictaphone numérique |
| Caractéristiques techniques principales | Enregistrement stéréo, qualité audio 44,1 kHz, format WAV et MP3 |
| Capacité de mémoire | 4 Go de mémoire interne, extensible via carte microSD |
| Alimentation électrique | 2 piles AAA, autonomie d'environ 30 heures |
| Dimensions approximatives | 104 x 36 x 15 mm |
| Poids | Environ 100 g |
| Compatibilités | Compatible avec Windows et Mac OS |
| Type de batterie | Piles alcalines ou rechargeables AAA |
| Tension | 1,5 V par pile |
| Fonctions principales | Enregistrement, lecture, suppression, indexation des fichiers |
| Entretien et nettoyage | Essuyer avec un chiffon doux, éviter l'humidité |
| Pièces détachées et réparabilité | Réparation limitée, pièces disponibles via le service après-vente |
| Sécurité | Ne pas exposer à des températures extrêmes, éviter les chocs |
| Informations générales utiles | Idéal pour les étudiants, journalistes et professionnels de l'audio |
FOIRE AUX QUESTIONS - VN-731PC, VN-731PC DNS, VN-731 PC, VN-731 PC, VN-731PC- DNS, VN 731PC OLYMPUS
Questions des utilisateurs sur VN-731PC, VN-731PC DNS, VN-731 PC, VN-731 PC, VN-731PC- DNS, VN 731PC OLYMPUS
0 question sur cet appareil. Repondez a celles que vous connaissez ou posez la votre.
Poser une nouvelle question sur cet appareil
Téléchargez la notice de votre Dictaphone numérique au format PDF gratuitement ! Retrouvez votre notice VN-731PC, VN-731PC DNS, VN-731 PC, VN-731 PC, VN-731PC- DNS, VN 731PC - OLYMPUS et reprennez votre appareil électronique en main. Sur cette page sont publiés tous les documents nécessaires à l'utilisation de votre appareil VN-731PC, VN-731PC DNS, VN-731 PC, VN-731 PC, VN-731PC- DNS, VN 731PC de la marque OLYMPUS.
MODE D'EMPLOI VN-731PC, VN-731PC DNS, VN-731 PC, VN-731 PC, VN-731PC- DNS, VN 731PC OLYMPUS
Utilisation avec un ordinateur
5
Autres informations
6
Merci d'avoir porté votrechoix sur cet enregistreur vocal numérique Olympus.
Lisez ce mode d'emploi pour utiliser l'appareil correctement et en toute sécurité.
Conserve-les à portée de main pour toute question ultérieure.
Identification des éléments 4
Enregistreur 4
Affiche 5
1 Préparatifs
Installation 7
Insertion de la pile 8
Demarrage de I'enregistreur 9
Réglage de l'heure et de la date 9
Selection du mode 10
Cable USB portable 10
Insertion/Retrait d'une carte microSD. 11
Insertion d'une carte microSD 11
Retrait d'une carte microSD. 12
Limitation des manipulations accidentelles 13
Configuration du mode HOLD 13
Sortie du mode HOLD 13
Mise hors tension de I'enregistreur 14
Mise hors tension de I'enregistreur 14
Selection des dossiers et des fischers 15
Utilisation de la fonction Recherche par calendrier pour trouver un ficher 15
2 Enregistrement
Enregistrement. 16
Procedure d'enregistrement basique 16
Pause/Reprise de I'enregistrement 18
Vérification rapide de l'enregistrement. 18
Verification pendant l'enregistrement 18
Enregistrement avec un microphone externe. 20
Enregistrement avec un microphone externe 20
Enregistrement à partir d'un autre périhérique connecté. 21
Enregistrement du son d'un autre périmétrie avec cet enregistreur 21
Changement de la situation d'enregistrement [Rec Scène] 23
Changement de la situation d'enregistrement 23
3 Lecture
Lecture 24
Procedure de lecture basique 24
Lecture avec les écouteurs 25
Avance rapide 25
Retour rapide 26
Passage au début du fichier 26
Modification de la vitesse de lecture 29
Marques d'index/Marques temporaires 31
Insertion d'une marque d'index/temporaire 31
Suppression d'une marque d'index/temporaire 31
Suppression de fichiers 32
Suppression de fichiers 32
4 Menu
Configuration des éléments du menu 34
Fonctions basiques 34
Menu fichier [Menu fichier] 37
Protection contre les suppressions accidentelles de fiéchier [Fichier bloque] 37
Division d'un filcher [fichier divisé] 37
Affiche des informations concernant le fichier [Propriete] 37
Menu d'enregistrement [Menu enregist.] 38
Réglage de la sensibilité d'enregistrement [Niveau Rec] 38
Réglage du mode d'enregistrement [Mode Enregistr]. 38
Réduction du bruit pendant l'enregistrement [Filtre] 39
Fonction d'enregistrement activé par la voix VCVA 39
Fonction d'enregistrement par synchronisation vocale [V-Sync. Rec] 40
Menu de lecture [Menu Lecture] 42
Réduction du bruit pendant la lecture [Annuler bruit] 42
Réglée des segments à faible volume pendant la lecture [BalancierVocal] 42
Renforcement pour des voix plus claires [Filtre vocal] 42
Selection des modes de lecture [Mode lecture] 42
Configuration d'un espace [espace] 43
Menu LCD/Son [Menu LCD/Son] 45
Réglage du contraste [Contraste] 45
Configuration duvoyant LED [LED]. 45
Activation/Desactivation des sons [Signal] 45
Modification de la langue d'affichage [Langage(Lang)] 45
Menu de l'appareil [Menu système] 46
Choix d'un support d'enregistrement [Sectememoire] 46
Configuration de la date et de l'heure [Heure et Date] 46
Selection du mode [Mode Select] 47
Configuration de la connexion USB [RéglagesUSB] 47
Réinitialisation des paramètres par défaut [MAJ réglage] 47
Formatage d'un support d'enregistrement [Format] 48
Verification des informations du support d'enregistrement [Mémoire [info] ... 49
Verification des informations de l'emploiurk vocal [Info Système] 49
5 Utilisation avec un ordinateur
Environnement d'exploitation de l'ordinateur 50
Connexion/Deconnexion de I'ordinateur 51
Connexion de I'enregistrure vocal a un ordinateur. 51
Déconnexion de l'enregistreur vocal d'un ordinateur 52
Chargement d'un fichier sur un ordinateur 53
6 Autres informations
Listedes messagesd'alarme. 54
Dépannage 55
Accessoires (en option) 56
Droits d'auteur et marque de fabrique 57
Précautions de sécurité 58
Specifications 62
Indications utilisées dans ce manuel
REMARQUE
Décrit les précautions et les opérations à éviter absolument lors de l'utilisation de l'enregistreur vocal.
CONSEIL
Décrit les informations utiles et les astuces qui vous permettront d'utiliser votre enregistreur vocal de manière optimale.

Indique les pages de reférence qui contiennent des détails ou des informations connexes.
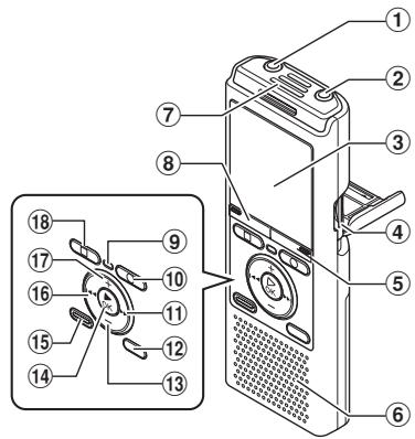
Enregistreur


① Prise EAR (écouteur)
② Prise MIC (microphone)
③ Écran
④ Fente pour carte*1
⑤ Touche SCENE/CALENDAR1 Touche SCENE2
Haut-parleur intégré
⑦ Microphone intégré
⑧ Touche MENU
⑨ Voyant LED
⑩ Touche REC(enregister) (●)
⑪ Touche▶
⑫ Touche FOLDER/INDEX
13 Touche -
⑭ Touche OK
15 Touche ERASE
Touchel
17 Touche +
18 Touche STOP (■)
19 Couvercle du logement de la pile
20 Cache du connecteur de carte/USB (également utilisé comme support)
② Commutateur POWER/HOLD
22 Connecteur USB
Passage pour la sangle
1 Modèles VN-733PC et VN-732PC uniquement
2 Modèle VN-731PC uniquement
Affichage

Mode Normal

Mode Simple
1 Nom du fichier
Témoin de charge de la pile
3 Témoin du dossier, Numéro du fichier ouvert dans le dossier/ Nombre total de fichiers enregistrés dans le dossier et témoin de verrouillage de fichier
4 Témoin d'etat de l'enregistrement vocal
□:Témoin d'enregistrement
Témoin de pause d'enregistrement
[T] : Témoin d'arrêt
[▶]: Témoin de lecture
[+] : Témoin de lecture rapide
[B] : Témoin de lecture lente
[ ] : Témoin d'avance rapide
[ ] : Témoin de retardrapide
Durée d'enregistrement ou de lecture écoulée
6 Témoin du support d'enregistrement
[ ] : Mémoire interne
:cartemicroSD*1
Temps d'enregistrement restant
Signification des témoins affichés dans la zone des témoins
[1]: Niveau Rec
:Filtre
[LV]:Balancier vocal*2 Filtre vocal*3
:Mode lecture
3 Témoin de format d'enregistrement
9 Longueur du fichier
10 Barre de progression de la lecture
1 Sonomètre ou longueur du fichier
1 Modèles VN-733PC et VN-732PC uniquement
2 Modèle VN-733PC uniquement
* 3 Modèle VN-732PC uniquement
Affichage
CONSEIL
- Maintenir la touche STOP (■) enforcée lorsque l'enregistreur vocal est en mode d'arrêt permet d'afficher les paramètres [Heure et Date] et [Validator] (durée d'enregistrement restante). Si le paramètre date/heure n'est pas configuré correctement, voir « Configuration de la date et de l'heure [Heure et Date] » (€35 P.46).

Installation
Déballez l'enregistreur vocal et procédez comme suit pour le préparer à fonctionner.

Insérez la pile.
Allumez I'enregistreur.
Réglage de l'heure et de la date.
Réglez l'horloge de l'enregistreur vocal afin de pouvoir gérer les fichiers.
Sélection du mode.
Choisissez le mode normal ou le mode simple.

Retiree la protection transparente de I'ecran.
Insertion de la pile
Avant d'utiliser l'enregistreur vocal, inserez la pile dans le compartment et pile de l'enregistreur.
1 Faites glisser le couvercle du logement de la pile tout en appuyant légrement dessus.

2 Insérez une pile AAA en positionnant correctement les bornes positive et négative. Pour fermer le logement de la pile, faites glisser le couvercle.

Insérez d'abord la borne négative de la pile.
Pour les utilisateurs en Allemagne
Souscieux de pouvoir éliminer les piles sans polluier, Olympus a conclus en Allemagne un contrat avec GRS (système collectif de reprise des piles et des batteries).
Témoin de charge de la pile
À mesure que la pile se décharge, le témoin indique le niveau de charge restant :

indique qu'il reste peu de charge. Remplacez la pile par une neue. Lorsque la pile est decharge, et [Alim. Faible] apparaissent et I'appareil s'esteint.
Précautions concerning la pile
- L'enregistreur vocal ne prend pas en charge les piles au manganese.
- Éteignez toujours l'appareil lorsqu vous remplacez la pile. Les fischiers peuvent être endommages si la pile est retiree alors que I'enregistre etait en cours d'enregistrement ou alors qu'une operation, telle que la suppression de fischiers, etait effectue.
- Si vous n'utilise pas l'enregistreur vocal pendant une longue période, retirez toujours la pile avant de ranger l'appareil.
La durée d'utilisation continue varie en fonction de la performance de la pile utilisée (P63).
Démarrage de l'enregistreur
1 Lorsque l'enregistreur vocal est eteint, faites glisser le commutateur POWER/HOLD dans le sens de la flèche.

CONSEIL
Lorsque [Langage(Lang)] apparait a l'écran après la mise sous tension, appuyez sur la touche + / - pour modifier la langue d'affichage, puis sur la touche OK pour confirmer le réglage.
Réglage de l'heure et de la date
1 Appuyez sur la touche▶ ou ↓ pour sélectionner la variable à modifier.


2 Appuyez sur la touche + / - pour modifier la valeur.
Pour modifier une autre variable, appuyez sur la touche ouafin de déplacer le curseur, puis appuyez sur la touche ^+ ou - pour modifier la valeur.
3 Appuyez sur la touche OK pour sauvegarder le paramètre.
CONSEIL
Si vous souhaitez conserver les valeurs déjà saissies et demarrer l'horloge, appuyez sur la touche OK pendant la procedure de configuration.
Selection du mode
1 Appuyez sur la touche + / - pour modifier le mode.


[Mode Normal]:
Il s'agit du mode standard dans lequel toutes les fonctions sont disponibles.
[Mode Simple]:
Ce mode liste les fonctions fréquement utilisées. Le texte affché apparait en caractères plus gros pour faciliter la lecture.
2 Appuyez sur la touche OK pour sauvegarder le paramètre.
CONSEIL
Vous pouvrez changer de mode même apres avoir effectue la configuration. «Selection du mode [Mode Select]» (P47).
Cable USB portable
Vou puevez fixer le cable USB portable dans le trou de courroie pour le transport.

Modèles VN-733PC et VN-732PC uniquement
1 Retirez une courroie du cable USB portable.

- Retirez la couroie tout en appuyant sur la partie connecteur.
Fixez une courroie à l'enregistreur vocal.

3 Fixez une courroie au cable USB portable.
CONSEIL
- Le cable USB portable doit être retire de la couroie chaque fois que vous utilisez une connexion USB (E&P P.51).
L'enregistreur vocal possède sa propre mémoire interne et prend également en charge les cartes microSD (microSD, microSDHC), vendues séparément.

Modèles VN-733PC et VN-732PC uniquement
Insertion d'une carte microSD
1 Une fois l'enregistreur en mode d'arrêt, ouvrez le cache du connecteur de carte/USB.

2 Insérez une carte microSD et vérifie qu'elle est correctement insérée, tel qu'indiqué ci-dessous.

- Inséré la carte microSD face à la fente, tout droit.
- Insérer la carte microSD incororrectement ou de biais pourrait endomager sa surface de contact ou la bloquer dans la fente.
- Si vous n'insérez pas entièrement la carte microSD (jusqu'à ce qu'elle soit enclenchée et émette un click), celle-ci n'enregistra pas les données.
3 Fermez le cache du connecteur de carte/USB.
Lecran de selection des supports d'enregistrement s'affiche une fois qu'une carte microSD a ete inserede.
Pour enregistrer sur une carte microSD, appuyez sur la touche + / - et selectionnez [Oui].


5 Appuyez sur la touche OK pour sauvegarder le paramètre.
CONSEIL
- Vous pouze également scélectionner la mémoire interne en tant que support d'enregistrement (€3 P.46).
REMARQUE
- Il est possible que l'enregistreur vocal ne puisse pas reconnaître une carte microSD formative (initialise) pour un ordinateur ou un autre periphérique. Avant d'utiliser une carte microSD, initiaizez-la无数次 sur l'enregistreur vocal (P.48).
Retrait d'une carte microSD
1 Une fois l'enregistreur en mode d'arrêt, ouvrez le cache du connecteur de carte/USB.

2 Retirez la carte microSD en la poussant légèrement et en la laissant sorting lentement.

- La carte microSD sort légèrement de la fente et s'arrête. Retirez-la du bout des doiguits.
- Si [Désect mémoire] a été paramétré pour [Carte microSD], [Mémoire Interne sélectionné] s'affiche à l'écran une fois que la carte microSD a été retiree.
3 Fermez le cache du connecteur de carte/USB.
REMARQUE
- Les cartes microSD peuvent sortir vivement si vous appuyez dessus ou si vous retirez cette doigt trop rapidement après avoir inséré une carte.
- En fonction du type de carte et du fabricant, certaines cartes microSD et microSDHC ne sont pas entierement compatibles avec l'enregistreur vocal et ne sont pas correctement reconnaues.
- Pour obtenir la liste des cartes microSD dont Olympus a vérifié la compatibilité, contacté notre assistance clientèle via le site :
http://www.olympus-europa.com Notez que notre assistance clientèle fournit des informations concernant les fabricants et les types de cartes microSD dont Olympus a vérifié le fonctionnement mais ne peut garantir leurs performances.
Notez également qu'il est possible que certaines cartes ne seront pas reconnues correctement par l'enregistreur vocal si le fabricant apporte des modifications aux specifications des cartes.
- Si vous utilisez une carte microSD, lisez les instructions de fonctionnement fournies avec la carte.
Si une carte microSD n'est pas reconnue par l'enregistreur vocal, essayez de retirer la carte puis de l'insérer de nouveau. - La vitesse de traitement peut être lente pour certains types de carte microSD. La performance de traitement peut également être diminuée par l'écriture ou la suppression fréquence de données sur la carte. Dans ce cas, réinitialisez la carte (P.48).
Limitation des manipulations accidentelles
Paramétrer l'enregistreur vocal en mode HOLD permet de conserver le fonctionnement en cours et de verrouiller les touches. Le mode HOLD est une fonction pratique pour empêcher toute pression involontaire sur les touches lorsque l'enregistreur vocal est transporté dans un sac ou une poche. Cette fonction est également utile pour empêcher l'enregistreur vocal d'être arrêté accidentellement pendant un enregistrement.
Configuration du mode HOLD
1 Faites glisser le commutateur POWER/HOLD en position [HOLD].
![OLYMPUS VN-731PC, VN-731PC DNS, VN-731 PC, VN-731 PC, VN-731PC- DNS, VN 731PC - Faites glisser le commutateur POWER/HOLD en position [HOLD]. - 1](/content/2024/11/84139/images/bb1bb0e17d2fbc3c3e66341636af3b18dd6934578ce5b8d432a337837098ee27.jpg)
- [Hold] s'affiche à l'écran et l'enregistreur passée en mode HOLD.
Sortie du mode HOLD
1 Faites glisser le commutateur POWER/HOLD en position A, comme indiqué ci-dessous.

REMARQUE
- Si aucune touche n'est enclenchée pendant le mode HOLD, [Hold] s'affiche à l'écran pendant 2 secondes. Aucune autre action n'est effectuee.
- Paramétrre le mode HOLD pendant la lecture (ou l'enregistrement) poursuit la lecture (ou l'enregistrement) et empêche toute autre action. L'enregistreur s'arrête lorsque la lecture est terminée ou l'enregistrement s'arrête lorsqu'il n'y a plus de mémoire disponible.
Mise hors tension de l'enregistreur
Les données existantes, réglages des modes et de l'horloge sont sauvégardés lorsque l'enregistreur est étèint.
1 Faites glisser le commutateur POWER/HOLD dans le sens de la flèche pendant au moins une demi-seconde.

- La position au moment de l'arrêt de la lecture est enregistrée.
CONSEIL
- Éteindre l'enregistreur vocal lorsqu'il n'est pas utilisé permet de minimiser la consommation de la pile.
Mode Économie d'énergie
Lorsque l'enregistreur vocal est arrêté au moins 5 minutes après avoir été allumé, l'écran disparait et l'enregistreur passa automatiquement en mode Économie d'énergie.
Pour quitter le mode Economie d'energie, appuyez sur n'importe quelle touche.
L'enregistreur est doté de cinq dossiers, [A], [B], [C], [D] et [E]. Chaque dossier peut stocker jusqu'à 200 fisiers.
1 Appuyez sur la touche FOLDER/INDEX pendant que l'enregistreur vocal est en mode d'arrêt.


(a) Numéro de fichier
b Temoin de dossier
- Le dossier change chaque fois que vous appuyez sur la touche FOLDER/INDEX.
2 Appuyez sur la touche l ou <4 pour selectionner le fichier souhaite.
- Juste après la sélection d'un fichier, la date et l'heure enregistrées s'affichent pendant seulement 2 secondes.
Utilisation de la fonction Recherche par calendrier pour trouver un fjichier
Voussoupiezrechercheurunfichiervocalpar sa date d'enregistrement.En effet,siyouvaseoubliedansqueldossierestenregisterunfichier,ceftonctionvouspermetd'y accederapidementensaisissantssa date d'enregistrement.

Modèles VN-733PC et VN-732PC uniquement
1 Appuyez sur la touche SCENE/CALENDAR pendant que l'enregistreur vocal est en mode d'arrêt.


2 Appuyez sur la touche + / - , ou l<4 pour selectionner la date souhaitee.


a Nombre de fichiers sauvégardés (enregistrés) à la date sélectionnée
Date à laquelle le fichier a été enregistré
Date selectionnee
Date du jour
- Les dates auxquelles des fichiers ont ete sauvegardes sont soulignees.
Touche ou
Permet de passer à la date précédente/ suivante. Appuyez et maintenez enfontée pour passer à la date suivante à laquelle un filiard a été enregistré.
Touche + / - :
Permet de passer à la semaine precedente/suivante.
3 Appuyez sur la touche OK.
4 Appuyez sur la touche + / - pour selectionner le fichier souhaite.


Enregistrement
L'enregistreur vocal possede cinq dossiers ([h] à [E]) dans lesquels les fichiers enregistrres peuvent etre sauvegardes. Ces dossiers sont tres pratiques pour trier les enregistements par catégorie (professionnel et loisir, par exemple).
Procedure d'enregistrement basique
1 Sélectionnez le dossier dans lequel sauvégarder l'enregistrement (P.15).
- Chaque nouveau fjichier audio enregistré est sauvégarde dans le dossier sélectionné.
2 Dirigez le microphone intégré en direction du son à enregistrer.

- Vous pouvez utiliser le cache du connecteur de carte/USB comme support au besoin.
3 Appuyez sur la touche REC (●) pour démarrer l'enregistrement.


包 Mode d'enregistrement
Durée d'enregistrement écoulée
Sonomètre (change selon les paramètres de volume de l'enregistrement et de la fonction d'enregistrement)
Durée maximale d'enregistrement restante
Niveau d'enregistrement
Levoyant LED s'allume.
4 Appuyez sur la touche STOP ( ) lorsque vous souhaitez arrêté l'enregistrement.


① Longueur du fichier
Les fichiers audio enregistrés avec l'enregistreur vocal sont automatiquement nommés selon le format suivant.

① Date d'enregistrement
Indique l'année, le mois et le jour ou l'enregistrement a ete effectue.
② Numéro de fichier
Les nombres de fiéchier attribués sont consécutifs, sans lien avec le déplacement des fichiers.
③ Extension
Extension de fichier indiquant le format dans lequel le fichier a ete enregistré par l'enregistreur vocal.
Format MP3: «.MP3 »*
FormatWMA: 四 _ · .WMA
- Modèles VN-733PC et VN-732PC uniquement
CONSEIL
- [Mode Enregist.] doit être défini lorsqu'el'enregistreur vocal est arrêté (eP.38).
REMARQUE
Pour éviter que le début de l'enregistrement ne soit coupé, commencez à enregistrer seulement lorsque levoyant LED est allumé ou lorsque le témoin d'enregistrement est affché à l'écran.
- Lorsque le temps d'enregistrement restant est de 60 secondes, le voyant LED commence à clignoter. Il clignote de plus en plus rapidement à mesure que la durée d'enregistrement restante diminue (lorsqu'il ne reste que 30 secondes, puis 10 secondes).
Lorsque [Dossier plein] s'affiche, il n'est plus possible d'enregistrer. Pour pouvoir enregistrer, vous devez selectionner un autre dossier ou supprimer des fichiers inutiles (P32).
Si [Mémoire pleine] s'affiche, la mémoire de l'enregistreur vocal est saturée. Vous nevez supprimer des fichiers inutilles afin d'avoir de la place pour enregistrer (E-3 P.32).
- Il est recommandé d'initialiser le support d'enregistrement avant d'effectuer un enregistrement important.
- Les performances peuvent être réduites lorsquelles données ont été écrites et suprimées du support d'enregistrement à mainre reprises. Dans ce cas, veuillez initiaiser le support d'enregistrement (P.48).
Modèles VN-733PC et VN-732PC uniquement :
- Si vous utilisez une carte microSD dans l'enregistreur vocal, vérifie qu'un paramètre de support d'enregistrement ([Mémoire intern] ou [Carte microSD]) a bien été selectionné (P.46).
Pause/Reprise de l'enregistrement
1 Appuyez sur la touche REC (●) pendant l'enregistrement.


- L'enregistrement est mis en pause et le message clignotant [PAUSE] apparait à l'écran.
- L'enregistrement est automatiquement arrêté si la pause dure au moins 60 minutes.
2 Appuyez de nouveau sur la touche REC (●) pendant que l'enregistrement est en pause.
L'enregistrement reprend a partir du moment où il avait ete mis en pause.
Vérification rapide de l'enregistrement
1 Appuyez sur la touche OK pendant l'enregistrement.
Verification pendant l'enregistrement
YououpouvezverifierI'enregistrement queyoueffectueenzI'ecoutant avec desécouteursbranches surla priseEAR deI'enregistreurvocal.Useise la touche + / - pourreglerlevolume du moniteur d'enregistrement.
- Les écouteurs sont facultatifs.
1 Branchez les écouteurs sur la prise EAR de l'enregistreur vocal.

- Modifier le volume n'affectora pas le niveau d'enregistrement.
REMARQUE
Pour éviter que le son ne soit trop fort dans les écouteurs, réglez le volume à [00] avant de brancher les écouteurs.
Pour eviter les effets Larsen, ne place pas les écouteurs prés du microphone pendant un enregistrement.
Paramètres d'enregistrement
Divers paramètres d'enregistrement vous permettent d'adapter l'enregistrement aux différentes conditions.
| [Niveau Rec] (€3 P.38) | Régle la sensibilité d'enregistrement. |
| [Mode Enregist.] (€3 P.38) | Régle la qualité sonore de l'enregistrement. |
| [Filtre] (€3 P.39) | Réduit le bourdonnement des équipements tels que la climatisation ou les rétroprojecteurs. |
| [VCVA] (€3 P.39) | Régle le seuil de déclenchement par la voix (VCVA) de l'enregistrement. |
| [V-Sync. Rec]* (€3 P.40) | Régle le seuil de déclenchement de l'enregistrement par synchronisation vocale. |
| [Rec Scène] (€3 P.23) | Utilisé pour sélectionner l'un des multiples modéles pré-enregistrés de paramétrage d'enregistrement. Une fois sélectionné, chaque modèle applique divers paramétres adaptés à un lieu ou à une condition d'enregistrement particulier, en une seule action. |
- Modèles VN-733PC et VN-732PC uniquement
Enregistrement avec un microphone externe
Voupez enregistrer une entree audio a l'aide d'un microphone externe ou d'un autre periphérique branché sur la prise microphone de I'enregistrure vocal. Ne branchez pas ou ne débranchez pas les periphériques des prises de I'enregistrure vocal pendant un enregistrement.
1 Branchez un microphone externe dans la prise MIC de l'enregistreur vocal.


Vers la prise MIC
Exemple:Capteur téléphonique TP8 (en option)
2 Appuyez sur la touche REC (●) pour démarrer l'enregistrement.
CONSEIL
Lorsque you utilisez le microphone du telephone (capteur téléphonique TP8), reglez [Rec Scène] sur [Enreg. Tél.]. Ceci permet d'enregistrer clairement des conversations sur des telephones mobiles et fixes (P23).
Reportez-vous à la section « Accessoires (en option) » (P.56) pour savoir quels sont les microphones externes compatibles.
REMARQUE
- Le microphone intégré est désactivement que vous branchez un microphone externe dans la prise MIC de l'enregistreur vocal.
- Les microphones avec alimentation séparée peuvent être utilisés.
- Si [Mode Enregist.] est défini sur stéroy, l'enregistrement avec un microphone mono externe s'effectue uniquement sur le canal gauche (€35 P.38).
- Si [Mode Enregist.] est définir sur mono, seule l'entrée du canal gauche du microphone est enregistrée lorsqu'un microphone stéreo externe est utilisé (ESE P.38).
Enregistrement du son d'un autre péripérisque avec cet enregistrateur
Le son peut être enregistré en connectant la prise de sortie audio (prise écouteur) d'un autre péripérique et la prise MIC de l'enregistrreur à l'aide du cable de connexion KA333 (en option) pour copie.
1 Quand l'enregistreur est en mode d'arrêt, appuyez sur la touche SCENE/CALENDAR et maintenez-la enfoncée.
Pour le VN-731PC :
Appuyez sur la touche SCENE pendant que l'enregistreur vocal est en mode d'arrêt.
2 Appuyez sur la touche + / - pourCHOISIR [Duplication (sépar. auto)] ou [Duplication (minuteur)].


[Duplication (sépar. auto)]:
Les fischiers sont automatiquement divisés par chanson lors de l'enregistrement.
[Duplication (minuteur)]:
L'enregistrement est sauvegarde dans un fisier et s'interrrompt une fois que le temps precedemment définit est ecoule.
3 Appuyez sur la touche OK.
4 Appuyez sur la touche + / - pour modifier le paramètre.
Si [Duplication (sépar. auto)] a été sélectionné :
[Cassette]:
Convient aux sources audio avecbeaucoup de bruit de fond commeles cassettes audio enregistréesdepuis un CD ou un disque vinyle.
[CD]:
Convient aux sources audio avec peu de bruit de fond comme un CD.
Si [Duplication (minuteur)] a été sélectionné :
Voupez selectionner le temps utilise pour la duplication parmi les parametes suivants: [Off], [30 min], [60 min], [90 min] et [120 min].
5 Appuyez sur la touche OK pour sauvegarder le paramètre.
6 Appuyez sur la touche STOP (■) pour quitter l'écran de menu.
Enregistrement du son d'un autre périhérique avec cet enregistrure
7 Connectez l'enregistreur vocal a un autre périhérique à l'aide du câble de connexion KA333.
Vers la prise de sortie audio d'un autre periphérique

8 Appuyez sur la touche REC (●) pour démarrer l'enregistrement.
9 Commencez la lecture sur l'autre péripérisque.
10 Une fois la duplication terminée, appuyez sur la touche STOP (■) pour arrêté l'enregistrement.
- Si le paramètre [Duplication (minute)] a été sélectionné, l'enregistrement s'arrête automatiquement une fois le temps défini écoué.
REMARQUE
- Ne branchez pas ou ne débranchez pas les périphériques des prises de l'enregistreur vocal pendant un enregistrement.
- Réglez le niveau d'enregistrement sur l'autre périhérique.
- Nous vous recommendons de tester la fonction d'enregistrement et le volume avant l'utilisation pour obtenir de bons enregistements.
- Dans [Duplication (separ. auto)], un enregistrement d'origine est copiedé pour séparer les fichiers divisés en chansons par le niveau de signal ou de bruit d'un segment silencieux. Lorsque le niveau de signal est trop faible ou lorsque le bruit est important, l'enregistrement et la division risquent de ne pas être effectuels correctement.
Si tel est le cas, selectionnez [Duplication (minuteur)] et démarrez et arrêtez manuellement l'enregistrement.
- Si le cable de connexion n'est pas branché lors de la sélection du paramètre [Duplication], le message [Connector un cable audio à la prise micro] apparait.
Changement de la situation d'enregistrement
L'enregistre vocal possède des modèles pré-enregistrés de paramètres ideaux adaptés à diverses situations d'enregistrement telles que des conférences ou des dictées. Lorsque vous scétionnez l'un de ces modèles, vous reglez, en une seule action, de différents paramètres recommendés pour votre situation d'enregistrement.
1 Quand l'enregistreur est en mode d'arrêt, appuyez sur la touche SCENE/CALENDAR et maintenez-la enfoncée.
Pour le VN-731PC :
Appuyez sur la touche SCENE pendant que l'enregistreur vocal est en mode d'arrêt.


2 Appuyez sur la touche +/- pour selectionner la situation d'enregistrement souhaitée.


- Vou pouvez的选择器 [Dictée], [Réunion], [Conference], [Duplication (sepár. auto)] (P.21), [Duplication (minuteur)] (P.21), [Enreg. Tél.] (P.20), [DNS] ou [Off].
CONSEIL
- Vous pouvez également régler [Rec Scène] depuis le menu (P.34).
REMARQUE
- Les paramètres du menu d'enregistrement ne peuvent pas été modifiés lorsque le paramètre [Rec Scène] a été sélectionné. Pour utiliser ces fonctions, vous devze définir le paramètre [Rec Scène] sur [Off].
- En mode simple, vous ne pouvez pas régler [Rec Scène] sur [Off].
Lecture
Outre les fichiers enregistrés par l'enregistreur vocal, vous pouvez également dire des fischiers au format MP3* et WMA transférés depuis un ordinateur.
- Modèles VN-733PC et VN-732PC uniquement
Procedure de lecture basique
1 Choisissez le fichier à dire depuis le dossier dans lequel il est placé (P.15).
2 Appuyez sur la touche OK pour lancer la lecture.


(a) Nom du fichier et témoin du dossier
Durée de lecture écoulée/Durée du fichier
Barre de progression de la lecture
3 Appuyez sur la touche + / - pour régler le volume au niveau souhaité.


Le volume peut être régle entre [00] et [30]. Plus le nombre est élevé, plus le son est fort.
4 Appuyez sur la touche STOP (■) pour arrêté la lecture.
- La lecture du fjichier en cours est immédiatement arrêtée. La fonction de reprise sauvégarde automatiquement la position du curseur de lecture au moment de l'arrêt. Celle-ci est sauvégédée même si l'appareil est eteint. La prochaine fois que l'appareil sera allumé, la lecture pourrait être reprise à l'endroit exact où elle avait ete arrêtée.
Lecture avec les écouteurs
Vou pueze brancher les écouteurs sur la prise EAR de l'enregistreur vocal afin d'écouter la lecture.
1 Branchez les écouteurs sur la prise EAR de l'enregistreur vocal.

2 Appuyez sur la touche OK pour lancer la lecture.
CONSEIL
Lorsque les écouteurs sont branchés, le haut-parleur n'émet aucun son.
REMARQUE
Pour éviter que le son ne soit trop fort dans les écouteurs, réglez le volume à [00] avant de les brancher.
- Ne réglez pas le volume trop fort lorsqu vous écoutez avec les écouteurs car cela pourrait provoquer des problèmes ou des pertes d'audition.
Avance rapide

Avance rapide pendant que l'enregistreur est en mode d'arrêt
1 Une fois l'enregistreur vocal arrêté, appuyez sur la touche et maintenez-la enforcée.
- Relâchéz la touche▶I pour arrêté l'avance rapide. Appuyez sur la touche▶OK pour commencer la lecture à l'endetroit où s'arrête le curseur de lecture.
Avance rapide pendant la lecture
1 Appuyez sur la touche▶pendant la lecture et maintenez-la enfonnée.
Quandyourelachezla touche▶I,la lecturedebutea/lenroitouo'sarrêtelecurseledlecture.
Si une marque d'index ou une marquetemporaire du fidchier est atteinte,1'avance rapide s'arrete a la marque (P.31).
- L'avance rapide s'arrête lorsque la fin du fichier est atteinte. Appuyez de nouveau sur la touche et maintenez-la enforcée pour avancer rapidement au début du fichier suivant.
Retour rapide

Retour rapide pendant que l'enregistreur est en mode d'arrêt
1 Une fois l'enregistreur vocal arrêté, appuyez sur la touche « et maintenez-la enforcée.
- Quand vous relâchéz la touche «, le retard rispe de s'arrete. Appuyez sur la touche OK pour commencer la lecture à l'endetroit où s'arrete le curseur de lecture.
Retour rapide pendant la lecture
1 Appuyez sur la touche | et maintenez-la enfoncée pendant la lecture.
- Quand vous relâchéz la touche à l'lecture débute à l'endetroit où s'arrêté le curseur de lecture.
Si une marque d'index ou une marquetemporaire du fichier est atteinte,le retour rapide s'arrête à la marque (P.31).
Le retard rapide s'arrête lorsque le début du fichier est atteint. Appuyez de nouveau sur la touche et maintenez-la enforcée pour revenir rapidement à la fin du fichier précédent.
Passage au début du fichier

Passage au début du fichier suivant
1 Appuyez sur la touche▶l lorsque l'enregistreur vocal est en mode d'arrêt ou pendant la lecture.
Passage au début du fichier en cours
1 Appuyez sur la touche l▲ lorsque l'enregistreur vocal est en mode d'arrêt ou pendant la lecture.
Passage au début du fichier précédent
1 Appuyez sur la touche | l'après le curseur de lecture est au début du fichier.
Pour passer au début du fjichier precedent pendant la lecture, appuyez deux fois de suite sur la touche I
REMARQUE
- Pendant la lecture, si une marque d'index ou une marque-temporaire est atteinte lors du passage au début d'un fichier, la lecture débute à partir de la position de la marque. La marque est忽略了iyoupassaseau débutd'unfichier alors que l'enregistreur vocal est mode d'arrêt (P31).
- Si un paramètre différent de [Saut filchier] est défini pour [espace], la lecture débute une fois que la période définie a été passée (avance ou return). La lecture ne saute pas au début du filchier.
Fichiers musicaux
S'il est impossible de dire un fichier musical transféré sur l'enregistreur vocal, vérifie que la plage des valeurs de fréquence d'échantillonnage et du débit binaire est respectée. Le tableau ci-dessous présente les combinaisons de fréquence d'échantillonnage et de débit binaire pris en charge par l'enregistreur vocal pour la lecture de fichiers musicaux.
| Format de fichier | Fréquence d'échantillonnage | Débit binaire |
| Format MP3* | MPEG 1 Layer 3: 32 kHz, 44,1 kHz, 48 kHz MPEG 2 Layer 3: 16 kHz, 22,05 kHz, 24 kHz | 8 à 320 kbps |
| Format WMA | 8 kHz, 11 kHz, 16 kHz, 22 kHz, 32 kHz, 44,1 kHz, 48 kHz | 5 à 320 kbps |
- Modèles VN-733PC et VN-732PC uniquement
- Les fichiers MP3 avec des débits binaires variables (débit binaire converti en un seul fichier de manière variable) peuvent ne pas etre lus correctement.
- Meme si le format du fichier est compatible pour la lecture sur cet enregistrure, ce dernier ne prend pas en charge tous les encodages.
Paramètres de lecture
Vous pouvez désirer différentes méthodes de lecture de filchier adaptées aux différents goûts et applications.
| [Annuler bruit]1(€3 P.42) | Permet de nouveaux discerner les voix enregistrées assourdies par le bruit d'un projeteur ou d'un son similaire. |
| [BalancierVocal]1(€3 P.42) | Compense les segments à faible volume des fichiers audio enregistrés, pendant la lecture. |
| [Filtre vocal]2(€3 P.42) | Supprime les fréquences hautes et basses, renforçant ainsi les voix afin qu'elles soient plus claires. |
| [Mode lecture](€3 P.42) | Permet deCHOISIR un mode de lecture parmi les trois proposés. |
| [espace](€3 P.43) | Fonction pratique pour déplacerrapidement la position du curseur de lecture et dire de courts segments plusieurs fois. |
1 Modèle VN-733PC uniquement
2 Modèle VN-732PC uniquement
Modification de la vitesse de lecture
Modifier la vitesse de la lecture est pratique pour accélérer les conférences ou pour ralentir les éléments difficibles à comprendre lorsque vous apprenez une langue.
1 Appuyez sur la touche OK pendant la lecture.


2 Appuyez sur la touche + / -


- Permet de régler la vitesse de lecture.
3 Appuyez sur la touche OK.
CONSEIL
- Si vous modifie la vitesse de lecture, les fonctions de lecture telles que arrêt de la lecture, passage au début d'un fichier et insertion de marques d'index/temporaires sont les mêmes que lors d'une lecture normale.
REMARQUE
- Les paramètres modifiés de la vitesse de lecture sont sauvégardés même après arrêt de l'enregistreur.
- Modifier la vitesse de lecture décharge la pile plus rapidement.
- La fonction ci-dessous ne peut pas etre utilisée si vous changez la vitesse de lecture.
[Annuler bruit] (P.42)
Limitations en lecture rapide
En fonction de leur fréquence déchantillonnage et de leur débit binaire, il est possible que certains fischiers ne soient pas lus correctement. Dans ce cas, vousdezve réduire la vitesse de lecture.
Lecture A-B repétée
L'enregistreur vocal dispose d'une fonction qui vous permet de repeter la lecture d'une portion (segment) du fichier actuellement lu.
1 Choisissez un fichier pour la lecture A-B repétée et démarrez la lecture.
2 Appuyez sur la touche REC (●) lorsque le point de départ souhaïte pour la lecture A-B répétée est lu.


CONSEIL
- Vous pouvez modifier la vitesse de lecture (E&P P29) et effectuer une avance/un retour rapide (E&P P25, P26) lorsque le témoin [1] clignote.
- Si le fjichier est entiement lu alors que le témoin [+] clignote, la fin du fjichier est considérée comme le point final du segment et la lecture est repétée depuis le début.
3 Appuyez de nouveau sur la touche REC (●) lorsque le point final souhaité pour la lecture A-B répétée est lu.


Le segment A-B est défini et la lecture A-B repétée est lancée.
4 Appuyez sur la touche STOP (■).
- La lecture s'arrête. Le segment à dire défini pour cette fonction est sauvagedé.
REMARQUE
- Si une marque d'index ou une marque-temporaire est ajoutée ou supprimée pendant la lecture repétée A-B, la lecture repétée A-B est annulée et l'enregistreur vocal revient en mode de lecture normale.
Annulation de la lecture A-B repétée
1 Appuyez sur la touche STOP (■) pendant que l'enregistreur vocal est en mode d'arrêt.
REMARQUE
- Si vous appuyez sur la touche REC (●) pendant la lecture repétée A-B, le réglage est annulé sans interrompré la lecture.
Marques d'index/Marques temporaires
L'insertion d'une marque d'index ou d'une marque temporaire dans un fisier vous permet d'accederrapidement à ce point du fisier. La procédure d'insertion d'une marque est la même que celle de l'avance/dur回头 rapide ou du passage au début du fisier. Les marques d'index peuvent uniquement être insérées dans les fisiers créés avec l'enregistreur vocal Olympus. Pour les fisiers créés avec d'autres apparéils, vous pouvez temporairement sauvégarder les positions souhaitées à l'aide de marqueurs temporaires.
Insertion d'une marque d'index/ temporaire
Suppression d'une marque d'index/ temporaire
1 Lorsque la position souhaïée a été atteinte pendant l'enregistrement ou la lecture, appuyez sur la touche FOLDER/INDEX pour insérer une marque d'index ou une marque-temporaire.


REMARQUE
- Les marques temporaires sont automatiquement effacés si vous scéléctionnez un autre fjichier, si vous transfrez le fjichier vers un ordinateur ou si vous déplacez le fjichier sur un ordinateur.
- Vous pouvez insérer jusqu'à 99 marques d'index/temporaires dans un même fjichier. Le message [Index Plein] ou [Durée complète] s'affiche si vous tentez d'insérer plus de 99 marques.
- Il est impossible d'insérer ou de supprimer des marques d'index/temporaires dans des fichiers qui ont ete verrouillEs à I'aide de la fonction deverrouillage des fichiers (P.37).
1 Sélectionnez un fjichier contenant une marque d'index ou une marque-temporaire que vous souhaitez supprimer et lancez la lecture.
2 Utilisez la touche l ou pour selectionner la marque que vous souhaitez supprimer.


3 Appuyez sur la touche ERASE lorsque le numero de la marque d'index/temporaire à supprimer s'affiche à l'écran (pendant 2 secondes environ).
- Toutes les marques d'index/temporaires suivantes sont automatiquement renumererées.
Cette section déscrit comment supprimer des fichiers du dossier individuellement ou d'un seul bloc.
Suppression de fichiers
1 Sélectionnez le fichier que vous souhaitez supprimer (P.15).
2 Appuyez sur la touche ERASE pendant que l'enregistreur vocal est en mode d'arrêt.


- L'enregistreur vocal repasse en mode d'arrêt si aucune action n'est effectue dans les 8 secondes suivantes.
3 Appuyez sur la touche + / - pourCHOISIR [Supp ds doss.] ou [Fichier efface].


[Supp ds doss.]:
Permet d'effacer tous les fisiers sauvégardés dans le même dossier que le fjicher sélectionné.
[Fichier efface]:
Permet d'effacer uniquement le fjichier sélectionné.
4 Appuyez sur la touche OK.


5 Appuyez sur la touche + pour sélectionner [Début].


6 Appuyez sur la touche OK.


- [Effacer !] s'affiche à l'écran et le processus de suppression commence.
[Effacement OK] s'affiche lorsque la suppression est terminée.
REMARQUE
- Une fois supprimés, les fichiers ne peuvent pas être restaurés. Soyez donc vigilant lorsque vous supprimez un fournier.
- Vous ne pouvez pas effacer les dossiers via l'enregistreur.
- Avant de supprimer un fisier, remplacez la pile pour être certain qu'elle ne se déchargeras pas avant la fin du processus. Celui-ci dure environ 10 secondes. Pour ne pas risquer d'endommager les données, ne tentez jamais d'effectuer les actions suivantes avant la fin du processus de suppression:
① Retrait de la pile
② Retrait de la carte microSD (si le support d'enregistrement a ete parametre sur [Carte microSD]) (Modetes VN-733PC et VN-732PC uniquement).
Modèles VN-733PC et VN-732PC uniquement:
Lorsqu'une carte microSD est inscréée dans l'enregistreur vocal, vérifie si le support d'enregistrement sur lequel a lieu la suppression est [Mémoire intern] ou [Carte microSD] (E5-P.46).
Configuration des éléments du menu
Fonctions basiques
En mode normal, les éléments du menu sont organisés par anglets. Vous pouvez aussi configurerrapidementles élémentssouhaitésenélectionnant unonglet,puis en sélectionnant l'élement souhaïte.Procedezemecsimutpourt paramétruenulement du menu.
1 Pendant un enregistrement/une lecture ou lorsque l'enregistreur vocal est en mode d'arrêt, appuyez sur la touche MENU.


- En mode normal passez à l'etape 2, et en mode simple passez à l'etape 4.
CONSEIL
- Certains menus contiennent des éléments qui peuvent être configurés pendant un enregistrement/une lecture (ESP P.36).
2 Appuyez sur la touche + / - pour selectionner I'onglet contenant I'élement que vous souhaitez paramétrer.


- Déplacer le curseur d'un onglet à l'autre fait défiler les écran de menu affichés.
3 Appuyez sur la touche OK pour déplacer le curseur sur l'élément de configuration souhaïte.


- Vous pouvez également utiliser la touche▶ pour effectuer cette action.
4 Appuyez sur la touche + / - pour selectionner I'elément de configuration souhaite.


Fonctions basiques
5 Appuyez sur la touche OK.


Le paramètre de l'élément sélectionné s'affiche.
- Vous pouvez également utiliser la touche▶ pour effectuer cette action.
6 Appuyez sur la touche + / - pour modifier le paramètre.


7 Appuyez sur la touche OK pour sauvegarder le paramètre.


- Un message s'affiche pour indiquer que le paramètre a bien eté modifié.
- Vous pouvez annuler la modification du paramètre et revenir à l'écran précédent en appuyant sur la touche au lieu de la touche OK.
8 Appuyez sur la touche STOP (■) pour quitter l'écran de menu.

- Si l'écran de menu s'affiche pendant l'enregistrement ou la lecture, appuyez sur la touche MENU pour revenir à l'écran précédent sansmettre fin à l'enregistrement/la lecture.
REMARQUE
Pour la configuration du menu effectuee alors que l'enregistreur vocal etait en mode d'arrét, l'appareil quitte le menu et repasse en mode d'arrêt si aucune action n'est effectuée pendant 3 minutes.Dans ce cas,l'element de configuration selectionné n'est pas modifie.
Pour la configuration du menu effectuee pendant un enregistrement ou une lecture, l'enregistreur vocal quitte le menu si aucune action n'est effectuee pendant 8 secondes.
Fonctions basiques
| Éléments du menu pouvant être configurés pendant un enregistrement | Éléments du menu pouvant être configurés pendant une lecture | |
| Mode normal uniquement | Mode Normal | Mode Simple |
| [Niveau Rec] [VCVA] [Filtre] [LED] | [Propriété] [Annulier bruit]*1 [Bancier/Vocal]*1 [Filtre vocal]*2 | [Mode lecture] [espace] [LED] [space] |
1 Modèle VN-733PC uniquement
2 Modèle VN-732PC uniquement
| Éléments du menu pouvant être configurés en mode simple |
| [Rec Scène] [espace] [Sélect mémoire]*1 [Heure et Date] [Signal] [RéglagesUSB]*2 [Mode Select] [Langage(Lang)] |
1 Modèles VN-733PC et VN-732PC uniquement
2 Modèle VN-733PC uniquement
Protection contre les suppressions accidentelles de fichier [Fichier bloqué]
La fonction de verrouillage d'un fichier vous permect de verrouiller des fischiers importants afin de ne pas les supprimer accidentellement. Une fois verrouille, un fichier ne peut pas etre suprimede,simouslesfichierscontenus dans le même dossier sont supprimes en une seule action (P.32).
1 Sélectionnez le fichier que vous souhaitez verrouiller (P.15).
[On]:
Le fichier est verrouillé.
[Off]:
Le fichier est déverrouillé.
Division d'un fjichier [fichier divisé]
Les gros fisiers et les fisiers dont la durée d'enregistrement est longue peuvent etre divisés pour faciliter la gestion et la révision.
![OLYMPUS VN-731PC, VN-731PC DNS, VN-731 PC, VN-731 PC, VN-731PC- DNS, VN 731PC - Division d'un fjichier [fichier divisé] - 1](/content/2024/11/84139/images/df14fe0c14e3b18b863813b6a445688a3b8b9780503962f023313aadc5f292bb.jpg)
Modèles VN-733PC et VN-732PC uniquement
REMARQUE
Seuls les fichiers aux formats MP3 enregistrés sur cet enregistrure peuvent être divisés.
1 Lancez la lecture du fichier et arrêtez-la à l'endetroit où vous souhaitez diviser le fichier.
2 Sélectionnez [fichier divisé] dans le menu [Menu fichier].
3 Appuyez sur la touche + pour sélectionner [Début].
4 Appuyez sur la touche OK.
- Le message [Diviser I] s'affiche à l'écran et le processus de division du fisier commence.
Le message [Fichier total divisé] s'affiche lorsque le processus est terminé.
CONSEIL
- Une fois le fichier divisé, la première moitié du fichier est renommée « Nom du fichier_1 » et la seconde moitié « Nom du fichier_2 »
REMARQUE
- Les fichiers ne peuvent pas etre divisés s'il y a plus de 199 fichiers dans le dossier.
- Les fichiers verrouillés ne peuvent pas etre divisés.
- Il n'est pas toujours possible de divisier certains fischiers MP3 avec des durées d'enregistrement très courtes.
Pour évierer tout risque d'endommagement des données, ne retirez jamais la pile pendant la division d'un fjichier.
Affichage des informations concernant le fjichier [Propriété]
Vous pouvez afficher les informations d'un fichier à partir d'un écran de menu.
1 Appuyez sur la touche + / - pour afficher I'ecran.
- Les informations des éléments suivants sont affichées : [Nom], [date], [Taille] et [Taux bit].
Réglage de la sensibilité d'enregistrement [Niveau Rec]
Vous pouvez modifier le niveau d'enregistrement (sensibilité) de manière à ce qu'il soit adapté à cette situation d'enregistrement.
[Haute]:
Adaptée à l'enregistrement de cours, de grandes conférences ou d'autres situations où la source sonore est distante ou peu audible.
[Basse]:
Adaptée à l'enregistrement de dictées.
CONSEIL
- Pour enregistrer clairement la voix de l'orateur, paramétrz (Niveau Rec) sur [Basse] et place le microphone intégré de l'enregistrur vocal près de la bouche de l'orateur (à une distance de 5 à 10 cm).
Réglage du mode d'enregistrement [Mode Enregist.]
Yououpouvezétabliresdprisioritéspourla qualité sonore ou la durée d'enregistrement.Sélectionnez le mode d'enregistrement qui correspondle plus àvoitrésultat d'enregistrement.
[MP3 192 kbps]
[MP3 128 kbps]*
[WMA 64 kbps]*2
[WMA 32 kbps mono]*3
[WMA 5 kbps mono]
1 Modèles VN-733PC et VN-732PC uniquement
2 Modèle VN-731PC uniquement
*3 Enregistrement mono
CONSEIL
- Plus la valeur de la vitesse d'enregistrement est élevée, mieux sera la qualité sonore.
-
Configurer une vitesse d'enregistrement plus élevée augmente la taille du fisier. Vérifie qu'il reste suffisamment de place dans la mémoire avant l'enregistrement.
Pour enregistrer des conférences et des presentations clairément, il est recommendé de définir le paramètre [Mode Enregist.] sur [MP3 128kbps]* ou plus. -
Pour VN-731PC, réglez [WMA 64kbps].
REMARQUE
Lorsque [Mode Enregist.] est défini sur stéreo, l'enregistrement avec un microphone mono externe connecté s'effectue uniquement sur le canal gauche.
Réduction du bruit pendant l'enregistrement [Filtre]
La fonction filtré BASSE fréquence de l'enregistreur vocal vous permet de réduire les bourdonnements de la climatisation ou lessons de BASSE fréquence d'équipements tels que des projecteurs.
[On]:
Active le filtrte basse fréquence.
[Off]:
Désactive le filtré BASSE fréquence.
Fonction d'enregistrement activé par la voix [VCVA]
La fonction d'enregistrement déclenché par la voix (VCVA) lance automatiquel enregistreurs lorsqu'un son plus fort que le niveau d'activation vocale prédefini est détecté. La fonction met également en pause l'enregistrement lorsque le volume sonore diminue. Utilisez cette fonction pour ignorer automatiquement les segments de silences inutiles lors d'une enregistrement (teIs que les longs silences lors d'une confere). Cela permet de=gagner de la place dans la mémoire.
[On]:
Active la fonction VCVA. Vous pouvez régler le niveau d'activation vocale pour la fonction VCVA.
[Off]:
Désactive la fonction VCVA. Le mode d'enregistrement redevient normal.
Réglage du niveau d'activation vocale pour un enregistrement activé par la voix
1 Appuyez sur la touche REC (●) pour démarrer l'enregistrement.
- L'enregistrement est automatiquement mis en pause environ une seconde après que l'entrée sonore soit devenue plus silencieuse que la sensibilité d'activation prédéfinie.
Le message [Veille] clignote à l'écran.
Le voyant LED s'allume lorsque
l'enregistrement est activé et clignote
lorsqu'il est mis en pause.
2 Appuyez sur la touche▶l ou l▲ pour régler le niveau d'activation vocal.


a Niveau d'activation vocale (se déplace de gauche à droite pour correspondre au niveau prédéfini)
Sonomètre (change en fonction du volume sonore de l'enregistrement)
- Ce paramètre peut être régle entre [01] et [15].
CONSEIL
Augmenter la valeur du paramètre augmente la sensibilité d'activation de la fonction VCVA, ce qui permet d'activer le début de l'enregistrement avec dessons plus silencieux.
- Réglez le niveau d'activation vocale VCVA afin qu'il corresponde à la situation d'enregistrement (gestion des niveaux élevés de bruit environnant, par exemple).
- Afin d'éviter toute erreur d'enregistrement, il est recommendé d'effectuer un test prétable afin de régler le niveau d'activation vocal.
REMARQUE
- La fonction suivante est désactivée lorsque vous utilise la fonction VCVA:
[Rec Scène] (P.23)
[V-Sync. Rec]
Fonction d'enregistrement par synchronisation vocale [V-Sync. Rec]
La fonction d'enregistrement par synchronisation vocale lance automatiquement l'enregistreur lorsqu'un son plus fort que le niveau predefini d'enregistrement par synchronisation vocale (niveau de détction) est détecté. La fonction arrête également l'enregistrement lorsque le volume sonore diminue. Si vous copiez de la musique à partir d'un autre peripériérique connecté à l'enregistreur vocal, utilisez la fonction d'enregistrement par synchronisation vocale pour détecter les intervals silencieux entre les morceaux de musique et ainsi séparer chaque morceau en un fichier distinct.
![OLYMPUS VN-731PC, VN-731PC DNS, VN-731 PC, VN-731 PC, VN-731PC- DNS, VN 731PC - Fonction d'enregistrement par synchronisation vocale [V-Sync. Rec] - 1](/content/2024/11/84139/images/9cf6d69480ec51738a771cd3a1eefdd5d1f4301d27bdff9a47e7c69741afbc85.jpg)
Modèles VN-733PC et VN-732PC uniquement
[1seconde], [2seconds], [3seconds], [5seconds]:
Définissez la durée de détention.
L'enregistreur vocal passe en mode de veille si l'entrée sonore (niveau d'enregistrement) est inférieure au niveau prédéfini pendant au moins la durée de détéction définie.
[Off]:
L'enregistrement est effectué normalement.
Réglage du niveau de synchronisation vocale pour un enregistrement par synchronisation vocale
1 Appuyez sur la touche REC (●) pour préparer l'enregistrement.
2 Appuyez sur la touche▶l ou ↓ pour régler le niveau de synchronisation vocale.


a Niveau de synchronisation vocale (se déplace de gauche à droite pour correspondre au niveau prédéfini)
Celui-ci peut'être régèle entre [01] et [15].
Augmenter la valeur du paramètre augmente la sensibilité d'activation, ce qui permet d'activer le début de l'enregistrement avec dessons plus silencieux.
3 Appuyez de nouveau sur la touche REC (●).
- Le message [Veille] clignote à l'écran et le voyant LED clignote.
- L'enregistrement démarre automatiquement si l'entrée sonore est plus forte que le niveau de synchronisation vocale.
CONSEIL
- L'enregistreur vocal arrêtecomatamiquement l'enregistrement et repasse en mode de veille si l'entree sonore est inférieure au niveau de synchronisation vocale pendant au moins la durée de détction predefinie. Chaque fois que I'enregistreur vocal passe en mode de veille, le fichier en cours est fermé.Des qu'un son est detecté,I'enregistrement se poursuit dans un nouveau fichier.
- Appuyez sur la touche STOP (■) pour terminer la session d'enregistrement par synchronisation vocale.
REMARQUE
La fonction suivante est désactiveré lorsqu'ellesutilisez la fonction [V-Sync.Rec]:
[Rec Scène] (E85 P.23)
VCVA (E8 P.39)
Réduction du bruit pendant la lecture [Annuler bruit]
Utilize la fonction [Annulbruitt] pour réduire le bruit lorsqu'il est difficile de discerner une voix enregistrée.
![OLYMPUS VN-731PC, VN-731PC DNS, VN-731 PC, VN-731 PC, VN-731PC- DNS, VN 731PC - Réduction du bruit pendant la lecture [Annuler bruit] - 1](/content/2024/11/84139/images/ea0aa0b843eb5a6d354bb9e169949c701d6e127c0873888e341da7ad4ad4312e.jpg)
Modèle VN-733PC uniquement
[Haut] [Bas]:
Permet de réduire le bruit environnant
afin de produit une lecture de
meilleure qualité sonore.
[Off]:
La fonction d'annulation du bruit est désactivée.
Réglage des segments à faible volume pendant la lecture [BalancierVocal]
La fonction [BalancierVocal] permet de réglier les segments des fichiers audio enregistrés dont le volume est faible afin d'en augmenter le volume.
Utilisez-la pourrendreplusforts etplusclairs les segments de conversations ou d'autres fichiers audio enregistrres dontlevolumeestafoble.
![OLYMPUS VN-731PC, VN-731PC DNS, VN-731 PC, VN-731 PC, VN-731PC- DNS, VN 731PC - Réglage des segments à faible volume pendant la lecture [BalancierVocal] - 1](/content/2024/11/84139/images/bdb6674efe3dcc385eb0d96effd3ac2c37e3340ca4147369d7e93c0c9af9065d.jpg)
Modèle VN-733PC uniquement
[On]:
Permet de régler les segments à faible volume Presents dans un fisier audio afin de les rendre plus audibles pendant la lecture.
[Off]:
La fonction BalancierVocal est désactivée.
REMARQUE
L'utilisation de la fonction [BalancierVocal] décharge la pile plus rapidement.
Renforcement pour des voix plus claires [Filtre vocal]
Pendant la lecture normale, rapide ou lente, la fonction de filtré vocal supprime lessons haute et bassé fréquence et renforce les voix afin de les rendre plus claires et plus audibles.
![OLYMPUS VN-731PC, VN-731PC DNS, VN-731 PC, VN-731 PC, VN-731PC- DNS, VN 731PC - Renforcement pour des voix plus claires [Filtre vocal] - 1](/content/2024/11/84139/images/704bb1ea96570d484f6e9cca418170ee3bc1dc9de7236c25cae6b5102e8d02bb.jpg)
Modèle VN-732PC uniquement
[On]:
Active la fonction de filtrre vocal.
[Off]:
Désactive la fonction de filtré vocal.
REMARQUE
L'utilisation de la fonction [Filtre vocal] décharge la pile plus rapidement.
Sélection des modes de lecture [Mode lecture]
Plusieurs modes de lecture sont disponibles pour différents styles d'écoute.
![OLYMPUS VN-731PC, VN-731PC DNS, VN-731 PC, VN-731 PC, VN-731PC- DNS, VN 731PC - Sélection des modes de lecture [Mode lecture] - 1](/content/2024/11/84139/images/0fdf16424046af0104f231ef2021dc967ec66b3bcd257b6d5ca62de60786b365.jpg)
Appuyez sur la touche + / - pour selectionner [Zone lecture] ou [repeter].
[Zone lecture]:
Permet de specifier un groupe de fichier à生存.
[repéter]:
Permet de dire en boucle le groupe de fichiers sélectionné.
2 Appuyez sur la touche + / - pour selectionner un parametre.
Si [Zone lecture] a été sélectionné :
[Fichier]:
Permet d'arrête la lecture une fois le fichet actuel entertient lu.
[Dossier]:
Permet de dire à la suite tous les fichiers du dossier actuellément ouvert et d'arrête la lecture une fois le dernier fichier du dossier entièrement lu.
Si [repeter] a ete selectionne:
[On]:
Les fichiers du groupe de lecture spécifique sont lus en boucle.
[Off]:
Permet d'annuler la lecture repétée.
REMARQUE
Lorsque [Zone lecture] est défini sur [Fichier], le paramètre [Fin] clignote pendant 2 secondes à l'écran une fois que le dernier fichier du dossier a été lu, puis la lecture s'arrête au début du dernier fichier.
Lorsque [Zone lecture] est défini sur [Dossier], le paramètre [Fin] clignote pendant 2 secondes à l'écran une fois que le dernier fichier du dossier a été lu, puis la lecture s'arrête au début du premier fichier du dossier.
Configuration d'un espace [espace]
La fonction [espace] vous permet de sauter une durée prédictinie dans un morceau, en冲动 (avance) ou en aval (retour), pendant la lecture. Cette fonction est pratique pour déplacer rapidement le curseur de lecture ou pour la lecture repétée d'un court segment.
Si [Mode Normal] a été sélectionné
1 Appuyez sur la touche + / - pour selectionner [Saut avant] ou [Saut arrête].
![OLYMPUS VN-731PC, VN-731PC DNS, VN-731 PC, VN-731 PC, VN-731PC- DNS, VN 731PC - Appuyez sur la touche + / - pour selectionner [Saut avant] ou [Saut arrête]. - 1](/content/2024/11/84139/images/1da844e153f7d39c0ef3d0765187e422be9fb4418e38811d24f0086393c84cd4.jpg)
![OLYMPUS VN-731PC, VN-731PC DNS, VN-731 PC, VN-731 PC, VN-731PC- DNS, VN 731PC - Appuyez sur la touche + / - pour selectionner [Saut avant] ou [Saut arrête]. - 2](/content/2024/11/84139/images/8924179407e288748ff15148266a5b410a49d8b4a1f363fd7b940c6ef521b27c.jpg)
[Saut avant]:
Permet de début la lecture une fois le curseur de lecture avancé de la durée prédéfinition.
[Saut arrête]:
Permet de début la lecture une fois le curseur de lecture reculé de la durée prédéfiènie.
2 Appuyez sur la touche + / - pour selectionner un parametre.
Si [Saut avant] a eté sélectionné :
[Saut fichier], [Saut 10sec.], [Saut 30sec.], [Saut 1min.], [Saut 5min.], [Saut 10min.]
Si [Saut arrière] a eté sélectionné :
Si [Mode Simple] a été sélectionné
1 Appuyez sur la touche + / - pour selectionner [Saut fichier],
[5sec
10sec▶l] ou
[5min
10min▶▶I].
![OLYMPUS VN-731PC, VN-731PC DNS, VN-731 PC, VN-731 PC, VN-731PC- DNS, VN 731PC - Appuyez sur la touche + / - pour selectionner [Saut fichier], - 1](/content/2024/11/84139/images/284cd789307fe9292b70edf15dbfb9b090938145a7f0afa9c762ab0d66af824b.jpg)
![OLYMPUS VN-731PC, VN-731PC DNS, VN-731 PC, VN-731 PC, VN-731PC- DNS, VN 731PC - Appuyez sur la touche + / - pour selectionner [Saut fichier], - 2](/content/2024/11/84139/images/58d3c163553187bd3a0ec02c784cbe73aa807ce20ce90d9ba4618b5d08501596.jpg)
[Saut fichier]:
Permet d'effectuer un saut de fichiers.
15sec
10sec▶▶l]:
Appuyer sur la touche permit un return rapide de 5 secondes; appuyer sur la touche permit une avance rapide de 10 secondes, puis la lecture commence.
[5min
10min▶▶l]:
Appuyer sur la touche I 一 一 permit unretour rapide de 5 minutes; appuyer sur la touche 一 一 permit une avance rapide de 10 minutes, puis la lecture commence.
REMARQUE
- Si la fonction saut avant/arrête est effectué sur un segment qui contient une marque d'index/temporaire ou le début d'un fichier, elle s'arrête à la marque ou au début du fichier.
Lecture du saut avant/arrière
1 Appuyez sur la touche OK pour lancer la lecture.
2 Appuyez sur la touche▶l ou l▲ pendant la lecture.
- La lecture débute une fois le saut avant ou arrêté effectué.
Réglage du contraste [Contraste]
You pouvez regler le contraste de l'écran grâce aux 12 niveaux disponibles.
- Ce paramètre peut être régle de [01] à [12].
Configuration duvoyant LED [LED]
Vous pouvez configurer le voyant LED de maniere à ce qu'il ne soit pas allumé.
[On]:
Permet d'allumer levoyant LED.
[Off]:
Permet d'eteindre le voyant LED.
L'enregistreur vocal émet dessons lorsquevous appuyez sur les touches ou pourvous prévenir en cas d'erreur. Vous pouzeconfigurer l'enregistreur pour qu'il émette ounon dessons.
[On]:
Active les sons.
[Off]:
Désactive lessons.
Modification de la langue d'affichage [Language(Lang)]
You pouvezCHOISIR la langueutilisée par l'enregistreur vocal.
[Cestina], [Dansk], [Deutsch], [English], [Espanol], [Francais], [Italiano], [Nederlands], [Polski], [Pycckni], [Svenska], [簡体中文], [繁體中文].
CONSEIL
- Le choix des langues diffère selon le lieu d'achat de l'enregistreur.
Choix d'un support d'enregistrement [Sélect mémoire]
Si une carte microSD est insérée dans l'enregistreur vocal, vous pouvez désir d'enregistrer dans la mémoire interne ou sur la carte microSD (E83-P.11).
![OLYMPUS VN-731PC, VN-731PC DNS, VN-731 PC, VN-731 PC, VN-731PC- DNS, VN 731PC - Choix d'un support d'enregistrement [Sélect mémoire] - 1](/content/2024/11/84139/images/07de78265669100ca983a4e78d432f84f67f54ae7d64faa2262aa83f4568c5aa.jpg)
Modèles VN-733PC et VN-732PC uniquement
[Mémoire intern] :
Permet d'enregistrer dans la mémoire interne de l'enregistrreur vocal.
[Carte microSD]:
Permet d'enregistrer sur la carte microSD.
Configuration de la date et de l'heure [Heure et Date]
Configure la date et l'heure au préalable afin de facilititer la gestion des fichiers enregistrés.
1 Appuyez sur la touche ou pour selectionner I'elément de configuration souhaite.


2 Appuyez sur la touche + / - pour modifier la valeur.


Pour modifier un autre element, appuyez sur la touche ou afin de déplacer le curseur, puis appuyez sur la touche + ou - pour modifier le chiffre.
3 Appuyez sur la touche OK pour sauvegarder le paramètre.
CONSEIL
Lorsque vous reglez les heures et les minutes, chaque fois que vous appuyez sur la touche FOLDER/INDEX, l'affchage passé du format AM/PM au format 24 heures.
Exemple : 10:38 PM
10:38PM

22:38
-format par défaut)
Lorsque vous reglez l'année, le mois ou la date, chaque fois que vous appuyez sur la touche FOLDER/INDEX, l'ordre d'affichage de la date change.
Exemple: 24 mars 2014
3M 24J 2014A (format par défaut)

24J 3M 2014A
14A 24J 3M
REMARQUE
- Meme si l'enregistreur vocal n'est pas utilisé pendant une longue période, lorsque la pile est usée, vous neveze de nouveau saisser la date et l'heure.
L'heure clignote automatiquement lors du remplacement de la pile.
Sélection du mode [Mode Select]
Voupez utilise cet enregistrure en mode normal et mode simple, qui contient les fonctions fréquement utilisées. En mode simple, le texte affché apparait en gros caractères pour simplifier la lecture.
[Mode Normal]:
Il s'agit du mode standard dans lequel toutes les fonctions sont disponibles.
[Mode Simple]:
Ce mode liste les fonctions fréquement utilisées. Le texte affché apparait en caractères plus gros pour faciliter la lecture.
Configuration de la connexion USB [RéglagesUSB]
Le paramètre [PC] permet de connecter l'enregistreur vocal à un ordinateur afin de transférer des fjchiers; le paramètre [Adaptateur AC] permet de l'alimenter via un adaptateur secteur USB (modèle A514 en option).
![OLYMPUS VN-731PC, VN-731PC DNS, VN-731 PC, VN-731 PC, VN-731PC- DNS, VN 731PC - Configuration de la connexion USB [RéglagesUSB] - 1](/content/2024/11/84139/images/8ceea2f8457db4b8a8fe9b43a6542bc01ac01fd67f86026cf344d70b57da90e6.jpg)
Modèle VN-733PC uniquement
[PC]:
Paramètre à sélectionner pour connecter l'enregistreur vocal à un ordinateur. L'enregistreur vocal sera connecté en tant que périphérique de stockage.
[Adaptatateur AC]:
Paramètre a sélectionner pour alimenter l'enregistreur à partir d'un ordinateur ou d'un adaptateur secteur.
[Option]:
Paramètre à selectionner pour confirmer la méthode de connexion lors de chaque demande de connexion USB.
CONSEIL
Si l'enregistreur n'est pas reconnu par I'ordinateur en tant que périphérique de stockage externe, changez le paramètre [RéglagesUSB] sur [PC].
- Si [Adaptateur AC] est défini pour [RéglagesUSB], l'enregistreur vocal ne sera pas reconqu par un ordinateur.
REMARQUE
- Déconnectez le cable USB lorsque l'enregistreur vocal est à l'arrêt.
Réinitialisation des paramètres par défaut [MAJ réglage]
La fonction [MAJ réglage] réinitialise toutes les fonctions de l'enregistreur vocal (réglage d'usine par défaut). Le réglage de l'heure et les nombres de fidier restent inchanges.
1 Appuyez sur la touche + pour sélectionner [Début].
Menu enregist.:
Niveau Rec : Haute
Mode Enregist.: MP3 128 kbps*1
WMA 64 kbps*4
Filtre : Off
VCVA:Off
V-Sync. Rec*1: Off
Rec Scène: Off
Menu Lecture :
Annuler bruit*2: Off
BalancierVocal*2:Off
Filtre vocal*3: Off
Mode lecture :
Zone lecture : Fichier
repeter: Off
espace:
Saut avant : Saut fichier
Saut arrêté : Saut fichier
Menu LCD/Son :
Contraste : Niveau 06
LED:On
Signal: On
Langage(Lang) : English
Menu système :
Selct mémoire*1:Mémoire intern
1 Modèles VN-733PC et VN-732PC uniquement
2 Modèle VN-733PC uniquement
3 Modèle VN-732PC uniquement
4 Modèle VN-731PC uniquement
Formatage d'un support d'enregistrement [Format]
Formater un support d'enregistrement supprime tous les fichiers existants sauvégardés dessus. Veillez à transférer tous les fichiers importants sur un ordinateur avant d'effectuer un formatage. Pour VN-731PC, passez l'étape 3.
1 Appuyez sur la touche + / - pour selectionner le support d'enregistrement a formater.
[Mémoire intern]:
Permet de formater la mémoire interne.
[Carte microSD]*:
Permet de formater la carte microSD.
- Modèles VN-733PC et VN-732PC uniquely
2 Appuyez sur la touche OK.
3 Appuyez sur le touche + pour selectionner [Début], puis appuyez sur le touche OK.
4 Appuyez sur la touche + pour reselectionner [Début], puis appuyez sur la touche OK.
- Le message [Format!] s'affiche à l'écran et le formatage débute.
- Le message [Format OK] s'affiche lorsque le processus est terminé.
CONSEIL
- Pour restaurer les valeurs par défaut de tous les paramétres de l'enregistreur vocal, utilisez la fonction [MAJ réglage] (€a P.47).
REMARQUE
- Ne formatez jamais l'enregistreur a partir d'un ordinateur.
- Le formatage efface toutes les données existantes, y compris les fichiers verrouillés et les fichiers en lecture seule.
- Avant de procéder au formatage, remplacez la pile pour être certain qu'elle ne se déchargeras pas avant la fin du processus. Celui-ci peut durer jusqu'à 10 secondes. Pour ne pas risquer d'endommager les données, ne tentez jamais d'effectuer les actions suivantes avant la fin du processus de formatage :
① Retrait de la pile
② Retrait de la carte microSD (si le support d'enregistrement a initiliser est une [Carte microSD]) (Modèlees VN-733PC et VN-732PC uniquement).
Modèles VN-733PC et VN-732PC uniquement:
Si une carte microSD est insereed dans l'enregistreur vocal, vérifie que [Mémoire intern] ou [Carte microSD] a bien été sélectionné comme le support d'enregistrement à effacer (c45 P.46).
- Meme lorsque la suppression ou le formatage est terminé(e) (P.32), seules les informations de gestion du fisquier de la mémoire interne et/ou de la carte microSD sont mises à jour; les données enregistrées ne sont pas complètement effacées. Si vous jetez une carte microSD, détruisez-la, formatez-la et enregistrez le silence jusqu'à ce que la durée d'enregistrement maximum soit atteinte ou effectue une action similaire afin d'empêcher toute utilisation d'informations personnelles.
Vérification des informations du support d'enregistrement [Mémoire Info.]
Depuis l'écran de menu, vous pouvez afficher la capacité et l'espace mémoire restant sur le support d'enregistrement.
REMARQUE
- Une petite part de la capacité de mémoire du support d'enregistrement est utilisée comme zone de gestion. La capacité actuelle utilisable est donc légèrement moindre par rapport à celle affichée.
Vérification des informations de l'enregistreur vocal [Info Système]
Depuis l'écran de menu, vous pouvez afficher les informations de l'enregistreur vocal.
- Les informations suivantes sont affichées : [Modèle], [Version] (version du système) et [N° Série].
Utilisation avec un ordinateur
Connector votre enregistrureur vocal à un ordinateur vous permet d'effectuer les actions suivantes :
- Lire sur un ordinateur les fischiers musicaux et d'apprentissage linguistique téléchéargés aux formats WMA et MP3*, à l'aide de Windows Media Player ou iTunes.
Utiliser l'appareil non seulement comme enregistreur vocal et lecteur de musique mais également comme periphérique de stockage externe de I'ordinateur afin de sauvegarder ou de dire des données de I'ordinateur.
- Modèles VN-733PC et VN-732PC uniquement

Environnement d'exploitation de l'ordinateur
Windows
Système d'exploitation
Microsoft Windows XP/Vista/7/8
Ordinateur Windows avec au moins un port USB disponible
Macintosh
Système d'exploitation
Mac OS X 10.5 à 10.9
Ordinateur Apple Macintosh avec au moins un port USB disponible
REMARQUE
- Les conditions représentées ci-dessus sont les environnementes d'exploitation nécessaires à l'utilisation d'une connexion USB permettant de sauvégarder sur un ordinateur les fichiers enregistrés par l'enregistreur vocal.
- Mème si ces conditions d'environnement d'exploitation sont respectées, la garantie ne couvre pas les versions mises à jour du système d'exploitation, les environnements à amortçage multiple et les ordinateurs que vous auriez vous-même modifiés.
- Lorsque you chargez ou tetechargez un fisier vers ou a partir de l'enregistre vocal, le transfert des données se poursuit tant que le voyant LED de l'enregistre clignote, et cela même si I'ecran de transmission des données de I'ordinateur disparait. Ne débranche jamais un connecteur USB avant la fin de transmission des données. Utilisez always la procEDURE détaillée P.52 pour débrancher un connecteur USB. Il est possible que les données ne soient pas transmises correctement si vous débranche le connecteur avant l'arrêt du pilote.
- Ne formatez (initialisez) pas le pilote de l'enregistreur vocal a partir d'un ordinateur. En effet, le formatage effectué depuis un ordinateur ne sera pas réalisé correctement. Utilisé le menu [Format] de l'enregistreur vocal pour effectuer le formatage (135 P.48).
Connexion de I'enregistreur vocal a un ordinateur
1 Demarrez l'ordinateur.
2 Connectez l'enregistreur vocal et l'ordinateur à l'aide du cable USB portable.


Pour VN-731PC, utilisez le cable USB.
Cable USB portable: (Modèle VN-733PC et VN-732PC uniquement)
Voue peut acquer conserver la carte microSD de rechange dans le cable USB portable. Meme si une carte microSD est inséré, vous ne pouce pas l'utiliser en tant que périphérique de mémoire USB.
① Branchez le cable USB portable sur le port USB de I'ordinateur.
② Vérifiez que l'enregistreur vocal est en mode d'arrêt, puis branchez le cable USB portable.
- Le message [Commande] apparait sur l'écran de l'enregistreur vocal lorsque le connecteur USB est branché.
CONSEIL
- Windows : L'enregistreur vocal est reconnu et affiché dans le dossier [Poste de travail] avec le nom du modele comme nom est de pilote. Si une carte microSD est insérée dans l'enregistreur vocal, elle peut être utilisée comme [Disque amovible].
Macintosh:Lenregistreur vocal est reconnu et affiche sur le bureau avec le nom du modele comme nom de pilote. Si une carte microSD est insereedans I'enregistreur vocal, elle est affichee comme [Sans titre].
Pour en savoir plus sur le port USB de l'ordinateur, consultez le manuel utilisateur de votre ordinateur.
REMARQUE
- L'enregistreur vocal ne doit pas etre en mode HOLD.
- Insérez correctement le connecteur USB. Le fonctionnement ne sera pas normal si la connexion n'est pas correctement établie.
Utiliser un hub USB pour connecter l'enregistreur vocal risque de perturber le fonctionnement de ce dernier. N'utilisez pas de hub USB si le fonctionnement est incertain. - Utilisé uniquement un cable USB Olympus compatible. Le fonctionnement n'est pas garanté si le cable d'un autre fabricant est utilisé. Utilisé uniquement la rallonge USB Olympus avec l'enregistreur vocal et n'utilisés jamais ce dernier avec un produit d'un autre fabricant.
Déconnexion de l'enregistreur vocal d'un ordinateur
Windows
1 Sur la barre des tâches, dans le coininérieur droit de l'écran, cliquez sur l'icone [ ] puis sélectionnez [Retirer Périhérique de stockage de masse USB en toute sécurité].
Retirer Pependique de stockage de masse USB - Lecteurs (F; G) en toute sicuret
- La dette utilisé pour identifier le pilote différent selon les ordinateurs.
- Fermez la fenetre indiquant que vous pouvez-retirer le matériel en toute sécurité.
2 Vérifiez que levoyant LED de l'enregistreur vocal est eteint avant de le débrancher de I'ordinateur.
Macintosh
1 Sélectionnez et déposez l'icone du disque amovible de l'enregistreur vocal affichée sur le bureau sur l'icone de la poubelle.

2 Vérifiez que levoyant LED de l'enregistreur vocal est eteint avant de le débrancher de I'ordinateur.
REMARQUE
- Pour éviter tout risque d'endommagement des données, ne retirez jamais l'enregistreur vocal du port USB alors que levoyant LED clignote.
- Dans l'environnement d'exploitation Mac OS, les fischiers au format WMA ne peuvent pas etre lus.
Chargement d'un fichier sur un ordinateur
Les cinq dossiers de l'enregistreur vocal sont affichés sur l'ordinateur sous les noms [FOLDER_A], [FOLDER_B], [FOLDER_C], [FOLDER_D] et [FOLDER_E]. Vous pouvez copier les dossiers de l'enregistreur dans n'importe quel dossier de l'ordinateur.
Windows
1 Branchez l'enregistreur vocal sur l'ordinateur (P.51).
2 Ouvrez l'explorateur Windows.
- Lorsque vous ouvrez [Poste de travail], l'enregistreur vocal est reconnu et affiché avec le nom du modele comme nom de pilote.
3 Cliquez sur le dossier portant le nom du modele de l'enregistreur.
4 Copiez les données souhaitemes sur I'ordinateur.
5 Debranchez l'enregistreur vocal de I'ordinateur (P.52).
Macintosh
1 Branchez I'enregistreur vocal sur l'ordinateur (P.51).
Lorsque l'enregistreur vocal est reconnu par le systeme d'exploitation Macintosh, il est affché sur le bureau avec le nom du modele comme nom de pilote.
Double-cliquez sur I'icone du disque amovible portant le nom du modele de I'enregistreur.
3 Copiez les données souhaitemes sur I'ordinateur.
4 Debranchez l'enregistreur vocal de I'ordinateur (P.52).
Noms du pilote et des dossiers de l'enregistreur vocal sur l'ordinateur
Mémoire interne

Carte microSD

- Nom du pilote reconnu/affiché par l'enregistreur vocal.
REMARQUE
Pour éviter tout risque d'endommagement des données, ne déconnectez jamais l'enregistreur vocal du port USB alors que le voyant LED clignote.
- Les fichiers WMA ne peuvent pas etre lus avec le systeme d'exploitation Macintosh standard.
Autres informations
Liste des messages d'alarme
| Message | Signification | Action à effectuer |
| Alim. Faible | La charge restante de la pile est faible. | Remplacez la pile (€° P.8). |
| Protection fisier | You've tenté de supprimer un fisier verrouillé. | Vous devez déverrouiller le fisier avant de le supprimer (€° P.37). |
| Index Plein | La quantité maximum de marques d'index (99) a été atteinte dans le fisier. | Supprimez les marques d'index inutiles (€° P.31). |
| Durée complête | La quantité maximum de marques temporaires (99) a été atteinte dans le fisier. | Supprimez les marques temporaires inutiles (€° P.31). |
| Dossier plein | Le nombre maximum de fisiers (200) a été atteint dans le dossier. | Supprimez les fisiers inutiles (€° P.32). |
| Erreur mémoire | Une erreur s'est produit dans la mémoire interne. | Contactez le centre de service après-vente d'Olympus (€° différent page). |
| Erreur carte | Modèles VN-733PC et VN-732PC uniquement | |
| La carte microSD n'a pas été reconnue correctement. | Retirez la carte microSD et insérez-la de nouveau (€° P.11, P.12). | |
| Mémoire pleine | Il n'y a plus de place dans la mémoire. | Supprimez les fisiers inutiles (€° P.32). |
| Pas fisier | Il n'y a aucun fisier dans le dossier. | Sélectionnez un autre dossier (€° P.15). |
| Erreur format | Une erreur de formatage est survenue. | Formatez de nouveau la mémoire (€° P.48). |
| Problème | Cause probable | Solution |
| Rien n'apparait à l'écran. | La pile est mal insérée. | Vérifiez que les bornes positive et négative de la pile sont correctement placées (€3 P.8). |
| La charge restante de la pile est faible. | Remplacez la pile (€3 P.8). | |
| L'alimentation est coupée. | Allumez l'appareil (€3 P.9). | |
| Impossible d'utiliser l'enregistreur vocal. | La charge restante de la pile est faible. | Remplacez la pile (€3 P.8). |
| L'alimentation est coupée. | Allumez l'appareil (€3 P.9). | |
| L'enregistreur vocal est en mode HOLD. | Quittez le mode HOLD (€3 P.13). | |
| Enregistrement impossible. | Il n'y a plus de place dans la mémoire. | Suprimez les fichiers inutiles (€3 P.32). |
| Le nombre maximal de fichiers qu'il est possible d'enregistrer a été atteint. | Sélectionnez un autre dossier (€3 P.15). | |
| Pas de tonalité de lecture. | Les écouteurs ne sont pas branchés sur la prise EAR. | Pour envoyer le son vers le haut-parleur intégré, débranchez les écouteurs. |
| Le volume est réglié sur [00]. | Réglez le volume (€3 P.24). | |
| Suppression du fichier impossible. | Le fichier est verrouillé. | Youve dévez déverrouiller le fichier avant de le supprimer (€3 P.37). |
| Le fichier est en lecture seule. | Déverrouillez le fichier ou annulez le paramètre de lecture seule sur l'ordinateur. | |
| Impossible d'insérer des marques d'index/temporaires. | Le nombre maximum de marques (99) est atteint. | Suprimez les marques inutiles (€3 P.31). |
| Le fichier est verrouillé. | Déverrouillez le fichier (€3 P.37). | |
| Le fichier est en lecture seule. | Déverrouillez le fichier ou annulez le paramètre de lecture seule sur l'ordinateur. | |
| L'ordinateur ne reconnait pas l'enregistreur vocal. | Modèle VN-733PC uniquement | |
| La valeur [Adaptateur AC] a été sélectionnée pour le paramètre [RéglagesUSB]. | Sélectionnez [PC] pour [RéglagesUSB] (€3 P.47). | |
Les accessoires des enregistrurs vocaux Olympus peuvent etre achetés directement aproupe de notre boutique en ligne sur le site Web Olympus.
La disponibilité des accessoires diffère selon les pays.
Ce microphone intégré possède un large diamètre pour un enregistrement stéreo sensible.
Microphone zoom compact (unidirectionnel) ME34
Livre avec un trépied intégré idéal pour placer le microphone sur une table lorsque vous enregistrez des événements éloignés (conference ou cours, par exemple).
Microphone périphérique ME33
Ce microphone est idéal pour enregistrer des conférences. De plus, vous pouvez en connecter jusqu'à trois sur le canal gauche et trois sur le canal droit.
Cette connexion en cascade permet aux canaux gauche et droit d'être connectés sur 12 mètres maximum afin de capturer le son sur une large portée.
Microphone mono (unidirectionnel) ME52W
Conc qu'enregistrer lessons éloignés tout en réduisant l'impact des bruits environnants.
Microphone cravate mono (omnidirectionnel) ME15
Petit microphone discreet avec pince à cravate.
Capteur téléphonique TP8
Microphone et oreillette qui peuvent être portés dans l'oreille pendant les appeals téléphoniques. Capture clairément les voix et les conversations pendant les appeals téléphoniques.
Adaptatour secteur USB A514
Adaptateur secteur equiped'un port USB,avecension de sortiede 5V c.c. (100 - 240V c.a., 50 / 60Hz)
Cable de connexion KA333
Cable de connexion résistant avec mini prises stéreo (3,5 mm de diamètre) à chaque extrémité. Utilisé pour connecter la sortie de la prise des écouteurs à l'entrée du microphone lors de l'enregistrement. Livré avec des adaptateurs de prise (PA331/PA231) compatibles avec les mini prises mono (3,5 mm et 2,5 mm de diamètre).
- Les informations de ce document sont susceptibles d'être modifiées sans préavis. Contactez le centre de service après-vente d'Olympus pour connaître les noms des derniers modèles, les références des modèles et d'autres informations.
- Les captures d'écran et les illustrations de l'enregistreur vocal représentées dans ce manuel peuvent ne pas correspondre au produit réel. Malgré les mesures prises pour assurer l'exactitude des informations de ce manuel, des erreurs peuvent apparaître. Adressez vos questions ou remarques concernant des informations erronées, des erreurs ou des omissions au centre de service après-venture d'Olympus.
- Olympus Corporation et Olympus Imaging Corp. sont les détenteurs des droits d'auteur de ce manuel. La loi relative aux droits d'auteur interdit la reproduction non autorisée de ce manuel ou la distribution non autorisée de ses reproductions.
- Notez qu'Olympus décline toute responsabilité en cas de dommages, pertes financières ou toute plainte de tiers résultat d'une utilisation inappropriée de ce produit.
Marques de fabrique et marques de fabrique déposées
- IBM et PC/AT sont des marques de fabrique ou des marques de fabrique déposées d'International Business Machines Corporation.
- Microsoft, Windows et Windows Media sont des marques de fabrique déposées de Microsoft Corporation.
- microSD et microSDHC sont des marques de fabrique de SD Card Association.
Macintosh et iTunes sont des marques de fabrique d'Apple Inc. - Ce produit utilise la technologie de codage audio MP3 dont la licence appartient à Fraunhofer IIS et Thomson.
- Le produit utilise la technologie de suppression du bruit sous licence de NEC Corporation.
Les autres noms de produits et de marques cités dans ce manuel sont des marques de fabrique ou des marques de fabrique déposées de leurs propriétaires respectifs.


Avant d'utiliser l'enregistreur vocal, lisez attentivement ce manuel afin d'utiliser le produit correctement et en toute sécurité. Conservez ce manuel dans un endroit facilement accessible afin de vous y reférer en cas de besoin.
Précautions de sécurité importantes
- Dans ce manuel, les précautions de sécurité importantes sont accompanies des symboles et mentions suivantes. Respectez toujours les consignes de précautions afin de vous protégéz-vous même et les autres et pour éviter tout dommage matériel.
- Chaque type de précaution est expliqué ci-dessous.

DANGER
Danger imminent risquant d'entrainer la mort ou des blessures graves si l'appareil n'est pas utilisé correctement.

AVERTISSEMENT
Situation potentiellement susceptible d'entraigner la mort ou des blessures graves si l'appareil n'est pas utilisé correctement.

ATTENTION
Situation potentiellement susceptible d'entrainer des blessures ou des dégats matériels si l'appareil n'est pas utilisé correctement.
Précautions de sécurité relatives à l'enregistreur vocal

AVERTISSEMENT
N'utilisez pas l'enregistreur vocal dans une atmophere pouvantContainir des gaz inflammbles ou explosives.
Risque d'incendie ou d'explosion.
N'essayez pas de démonter, de réparer ou de modifier vous-même l'enregistreur vocal.
Risque de décharge électrique ou de blessure.
N'utilise pas l'enregistreur vocal pendant la conduite d'un vehicule (tel que bicyclette, moto ou voiture).
Risque d'accident de la route.
- Ne laïsez pas l'enregistreur vocal dans un endroit accessible aux nourrissons et enfants.
Soyez vigilant lorsquecouvusutilisez enregistrurevocalaproximied'enfants ou de nourissons et ne laissez jamais l'appareil sans surveillance. Les enfants et les nourissons ne sont pas en mesure de comprendre les consignes de sécurité et sont exposés aux risques suivants:
- Strangulation provoquee par un nœud accidentel du cable de l'écouteur autour du cou.
- Erreur de manipulation provoquant des blessures ou une décharge électrique.
N'utilisez que des cartes mémoire microSD/microSDHC. N'insérez jamais d'autres types de cartes dans l'enregistreur vocal.
Si un autre type de carte est accidentellement inséré dans l'appareil, n'essayez pas de forcer pour la retirer. Contactez a un centre de service ou de réparation Olympus.
Si I'enregistreur vocal est tombé à l'eau ou si des éléments étrangers (eau, métal, combustible) sont entrés dans l'appareil :
① Retirez immédiatement la pile.
② Contactez le commerce ou vous avez achete l'enregistreur ou un centre de service Olympus pour faire réparer l'appareil. Si vous continuez à utiliser l'appareil, vous vous exposez à un incendie ou à une décharge électrique.
N'tutilisez pas I'enregistreur vocal dans les avions, Hopitaux et autres lieux ou l'usage des appeareils electroniques est restreint. Le cas échéant, respectez la reglementation en vigueur.
- Arrêtez immédiatement d'utiliser l'enregistreur vocal si vous remarquez une odeur, un bruit anormal ou de la fumée provenant de l'enregistreur.
Risque d'incendie ou de brûlures. Retirez immédiatement la pile en prénant garde de ne pas vous brûler. Contactez le commerce où vous ave acheté l'enregistreur ou un centre de service ou de réparation Olympus. (Ne touche pas la pile à main rue lorsque vous la retiriez. Retireze la pile dehors et à distance des objets inflammables.)
Lorsque yous transportez I'enregistreur vocal par sa sangle, voirlez a ce qu'il ne soit pas heures.

ATTENTION
- N'augmentez pas le volume avant d'effectuer une action.
Risque de problèmes auditifs ou de perte de l'audition.
Piles

DANGER
- Ne placez pas la pile à proximite des sources d'inflammation.
- Ne brûlez pas la pile, ne la chauffez pas et ne la démonze pas. Ne court-circuitez pas les electrodes négative et positive de la pile.
Risque d'incendie, d'éclatement, de combustion ou de surchauffe.
- Ne soudez pas les connexions directement sur la pile. Ne déformez pas la pile, ne la modifiez pas et ne la démontez pas.
- Ne connectez pas les bornes négative et positive de la pile.
Risque de surchauffe, de décharge électricque ou d'incendie.
Lorsque yous transportez ou stockez la pile, placez-la tousds dans un boitier et protegez les bornes. Ne transportez pas et ne stockez pas la pile avec des elements en metal précieux tels que des trousseaux de clés.
Risque de surchauffe, de décharge électricou d'incendie.
- Ne branchez jamais directement la pile sur une prise de courant ou l'allume-cigare d'un vehicule.
N'tutilisez pas et ne laisses pas la pile dans lieu chaud (exposition directe au soleil, dans un vehicule par forte temperture ou pres d'une chauffage, par exemple).
Risque d'incendie, de brûlures ou de blessures provoquées par la fuite de la pile, de surchauffe ou d'éclatement.

AVERTISSEMENT
- Ne touchez jamais et ne portez jamais une pile si vos mains sont mouillées.
Risque de décharge électrique ou de dysfonctionnement.
N'utilise pas la pile si elle est endommagée.
Risque d'éclatement ou de surchauffe.
N'insérez pas la pile en inversant les bornes positive et négative.
Risque de fuite, de surchauffe, de combustion ou d'éclatement.
N'utilise pas la pile si son joint d'etanchete est endommage (couche isolante).
- Retirez toujours lapile lorsquel enregistreur vocal n'est pas utilisez pendant une longue période.
- Lorsque vous jevtze les piles usagées, isolez les bornes avec de l'adhesif et jevtze-les avec les déchets ordinaires conformément aux lois en vigueur dans leur région.
Retirez la pile de l'enregistreur vocal des qu'elle est usée. Risque de fuite.
Risque de cécité en cas de projection du liquide de la pile dans les yeux. En cas de projection de liquide de pile dans les yeux, ne vous frotte pas les yeux. Rincez-les abondament sous l'eau du robinet ou avec de l'eau potable. Consultez immédiatement un médecin.
N'essayez pas de recharger des piles alcalines, au lithium ou autres piles non-rechargeables.
- Conservez les piles hors de portée des enfants et des nourrissons.
La pile peut être avalee par un enfant ou un nourisson. Dans ce cas, consultez immediatement un medecin.
Si vous remarquez un bruit anomal, de la chaleur, de la fumée ou une odeur de brûlé provenant de l'enregistreur vocal pendant l'utilisation, procédez comme suit :
① Retirez immédiatement la pile en prénant garde de ne pas vous blesser.
② Faites réparer l'enregistreur vocal par le commerce dans lequel vous avez acheté l'appareil ou dans un centre de service Olympus. Si vous continue à utilisez l'appareil, vous expose à un incendie ou à des brûlures.
- Ne plongez pas la pile dans de l'eau douce ou salée et ne mouillez pas les bornes.
N'tutilisezplus la pile si des problemes apparaissent (fuite, decoloration ou deformation).
Le liquide de pile sur les vétements ou la peau peut provoquer des dégats. Rincez immédiatement la tâche avec de l'eau du robinet ou de l'eau potable.

ATTENTION
- Ne jetez pas la pile et ne la soumettez pas à de gros chocs.
- Le recyclage des piles permet d'économiser les ressources. Quand vous jetez des piles usages, assurez-vous de recouvrir les bornes et respectez toujours la réglementation locale.
Précautions d'utilisation
- Ne laïsez pas l'enregistreur vocal dans des endroits chauds ou humides (exposition directe au soleil, dans un vehicule ou sur la plage en été).
- Ne stockez pas l'enregistreur vocal dans un endroit humide ou poussiereux.
Si l'enregistreur est mouillé ou humide, essayez-le immédiatement avec un chiffon doux. Évitez particulièrement le contact avec de l'eau salée.
- Ne placez pas l'enregistreur vocal a proximite ou sur une télévision, un réfrigerateur ou tout autre équipement électrique.
- Protégez l'enregistreur vocal du sable et de la boue. Dans le cas contraire, le produit ne serait pas répárable.
- Ne soumette pas l'enregistre à des chocs ou des vibrations intenses.
- N'utilise pas l'enregistreur vocal dans des endroits humides.
- Ne place pas de carte magnétique (carte bancaire, par exemple) à proximé du haut-parleur ou des écouteurs au risque de provoquer des erreurs dans les données stockées sur la carte magnétique.
- Les contenus enregistrés dans la mémoire interne et sur la carte microSD peuvent être détruits ou perdus pour différentes raisons : erreur d'utilisation, defaillance ou réparation de l'appareil.
C'estpourquoi, lorsquel le contenu est sauvégarde dans la mémoire pendant une longue période ou est fréquament utilisé, il peut ne pas être possible d'effectuer des actions telles que l'écriture, la lecture ou la suppression des contenus. - Il est recommandé d'effectuer une sauvegarde des informations importantes enregistrées et de les sauvegarder sur le disque dur d'un ordinateur ou sur un autre support d'enregistrement.
- Notez qu'Olympus n'est pas responsable des dommages ou pertes financières resultant de la perte ou de la dégradation de données enregistrées,quelle qu'en soit la nature ou la cause.
- Notez qu'Olympus n'est pas responsable de la suppression ou de l'impossibilité de lecture des fichiers enregistrés provoquee par une défaience de l'enregistreur vocal ou de l'ordinateur.
L'enregistrement de supports soumis à des droits d'auteur est uniquement autorisé en cas d'enregistrement dans le cadre d'une utilisation personnelle. Tout autre type d'utilisation sans la permission du déteur des droits d'auteur est interedit par la législation relative aux droits d'auteur.
- Meme après le formatage (P.48). ou la suppression (P.32), seules les informations de gestion du fichier de la mémoire interne et/ou la carte microSD sont mises à jour; les données enregistrées ne sont pas complètement effacées.
Si vous mettez une carte microSD ou l'enregistreur vocal au rebut, détruiresez, formatez-le et enregistrez le silence jusqu'à ce que la durée d'enregistrement maximum soit atteinte ou effectuez une action similaire afin d'empêcher toute utilisation d'informations personnelles.
Entretien
Extérieur
Essuyez doucement avec un chiffon doux. Si l'enregistreur est très sale, trempez le chiffon dans de l'eau légarèment savonnexe et essorez-le bien. Essuyez l'enregistreur avec le chiffon humide puis séchez-le avec un chiffon sec.
- Écran
Essuyez doucement avec un chiffon doux.
REMARQUE
N'utilise pas de benzène, d'alcool ou d'autres solvants forts, ni de chiffon de nettoyage impregné de produit chimique.
Généralités
- Formats d'enregistrement
Format MP3 (MPEG-1 Audio Layer 3) Format WMA (Windows Media Audio)
Fréquence d'échantillonnage
Format MP3*1
| 192 kbps | 44,1 kHz |
| 128 kbps | 44,1 kHz |
Format WMA
| 64 kbps*2 | 44,1 kHz |
| 32 kbps | 44,1 kHz |
| 5 kbps | 8 kHz |
Puisance de travail maximale
320 mW (haut-parleur 8 Ω)
■ Puissance maximale de sortie des écouteurs
≤ 150 mV (conformément à la norme EN 50332-2)
Support d'enregistrement*
Mémoire flash interne NAND
Modèle VN-733PC:4Go
Modèle VN-732PC : 4 Go
Modèle VN-731PC:2Go
Carte microSD*1
(Prend en charge des cartes d'une capacité de 2 à 32 Go.)
- Une petite part de la capacité de mémoire du support d'enregistrement est utilisée comme zone de gestion. La capacité actuelle utilisable est donc légarement moindre par rapport à celle affichée.
Haut-parleur
Haut-parleur dynamique rond intégré, 028mm
Prise MIC
0 3,5 mm, impédance : 2 kΩ
Prise EAR
3,5 ~mm , impédance: 8 minimum
Alimentation
Pile:
Pile AAA sèche (modèle LR03) x2
Alimentation externe :
Adaptateur secteur USB (modèle A514, 5 V c.c.)
Dimensions extérieures
108× 39× 16,8mm (hors protubérances)
Poids
71 g (pile incluse)
Température de fonctionnement
0^à 42^
*1 Modèlees VN-733PC et VN-732PC uniquement
*2 Modèle VN-731PC uniquement
Réponse en fréquence
Enregistrement avec prise MIC
Format MP3*1
| 192 kbps | 70 Hz à 19 kHz |
| 128 kbps | 70 Hz à 17 kHz |
Format WMA
| 64 kbps*2 | 70 Hz à 15 kHz |
| 32 kbps | 70 Hz à 13 kHz |
| 5 kbps | 70 Hz à 3 kHz |
1 Modèles VN-733PC et VN-732PC uniquement
2 Modèle VN-731PC uniquement
Enregistrement avec le microphone stéreo intégré
70 Hz à 16 kHz (La limite de réponse en fréquence est définie par le mode d'enregistrement pendant l'enregistrement au format MP3/WMA.)
During playback
20 Hz à 20 kHz (Les limites inférieures et supérieures des caractéristiques de fréquence variant toute fois en fonction de chaque format d'enregistrement)
Durée de vie de la pile
Les chiffres ci-dessous sont disponibles à titre indicatif.
Pile alcaline sèche
| Mode d'enregistrement | Pendant un enregistrement avec le microphone stéroy intégré | Lecture avec haut-parleur | Lecture avec écouteur | |
| Format MP3*1 | 192 kbps | 68 heures (environ) | 16 heures (environ) | 70 heures (environ) |
| 128 kbps | 70 heures (environ) | 16 heures (environ) | 70 heures (environ) | |
| Format WMA | 64 kbps*2 | 74 heures (environ) | 17 heures (environ) | 75 heures (environ) |
| 5 kbps | 100 heures (environ) | 17 heures (environ) | 75 heures (environ) | |
1 Modèles VN-733PC et VN-732PC uniquement
2 Modèle VN-731PC uniquement
REMARQUE
- Les durées de vie de lapile indiquées ici ont été déterminées à l'aide d'une méthode de test Olympus. Les durées de vie réelles varient énormément selon la pile utilisée et les conditions d'utilisation (Modifier la vitesse de lecture, ou l'utilisation des fonctions [BalancierVocal] et [Filtre vocal] peuvent affecter la durée de vie de lapile).
Modèle VN-733PC et VN-732PC uniquement
- La durée de vie de la pile est plus courte si vous utilisez une carte microSD.
Durée d'enregistrement
Les chiffres ci-dessous sont disponibles à titre indicatif.
Format MP3
| Support d'enregistrement | Mode d'enregistrement | ||
| 192 kbps | 128 kbps | ||
| Mémoire interne | VN-733PC/VN-732PC(4 Go) | 43 heures, 30 minutes (environ) | 65 heures (environ) |
| Carte microSD *1 | 32 Go | 353 heures (environ) | 530 heures (environ) |
| 16 Go | 176 heures (environ) | 264 heures (environ) | |
| 8 Go | 87 heures (environ) | 131 heures (environ) | |
Format WMA
| Support d'enregistrement | Mode d'enregistrement | ||||
| 64 kbps | 32 kbps | 5 kbps | DNS*2 | ||
| Mémoire interne | VN-733PC/VN-732PC(4 Go) | — | 256 heures(environ) | 1 600 heures(environ) | 64 heures(environ) |
| VN-731PC(2 Go) | 63 heures(environ) | 126 heures(environ) | 790 heures(environ) | — | |
| Carte microSD *1 | 32 Go | — | 2 070 heures(environ) | 12 960 heures(environ) | 515 heures(environ) |
| 16 Go | — | 1 030 heures(environ) | 6 460 heures(environ) | 258 heures(environ) | |
| 8 Go | — | 510 heures(environ) | 3 210 heures(environ) | 128 heures(environ) | |
1 Modèles VN-733PC et VN-732PC uniquement 2 Rec Scène
REMARQUE
- Les durées d'enregistrement réelles peuvent être inférieures à celles indiquées ici si vous effectuez fréquement de courts enregistements (les durées d'enregistrement éçoulées/restantes affichées par l'enregistreur vocal doivent être considérées comme des valeurs indicatives).
Modèle VN-733PC et VN-732PC uniquement
- La durée d'enregistrement restante varie également en raison des différences de capacité de mémoire disponibles des différentes cartes microSD.
Durée d'enregistrement maximale par fichier
- La taille maximale d'un fichier est limite à 4 Go pour les formats WMA et MP3.
- Indépendamment de l'espace mémoire restant, la durée d'enregistrement maximale par fichier est limitée aux valeurs suivantes:
Format MP3 *1
| Mode d'enregistrement | Durée d'enregistrement |
| 192 kbps | 49 heures, 40 minutes (environ) |
| 128 kbps | 74 heures, 30 minutes (environ) |
*1 Modèles VN-733PC et VN-732PC uniquement
FormatWMA
| Mode d'enregistrement | Durée d'enregistrement |
| 64 kbps*2 | 26 heures, 40 minutes (environ) |
| 32 kbps | 26 heures, 40 minutes (environ) |
| 5 kbps | 148 heures, 40 minutes (environ) |
*2 Modèle VN-731PC uniquement
Notez que l'apparance et les specifications relatives à l'enregistreur vocal sont susceptibles d'être modifiées sans information préalable pour amélioration des performances ou pour d'autres mises à niveau.
Pour les clients résident en Europe :

L'indication « CE » signifie que ce produit est conforme aux exigences européennes concernant la sécurité, la santé, l'environnement et la protection du consommateur.

Ce symbole [poubelle sur roues/barree d'une croix WEEI annexe IV] indique une collecte séparée des déchets d'équipements électriques et électroniques dans les pays de l'UE. Veuillez ne pas jeter l'équipement dans les ordures domestiques. Pour la mise au rebut de ce produit, utilisez les systèmes de traitement et de collecte disponibles dans votre pays.
Produits concernés : VN-733PC/VN-732PC/VN-731PC

Ce symbole [poubelle sur roues barrée d'une croix Directive 2006/66/CE, annexe II] indique une collecte séparée des piles usages dans les pays de l'UE. Veuillez ne pas jeter les piles dans les ordures domestiques. Pour la mise au rebut des piles usages, utilisez les systèmes de traitement et de collecte disponibles dans votre pays.
OLYMPUS
OLYMPUS IMAGING CORP.
2951 Ishikawa-machi, Hachioji-shi, Tokyo 192-8507, Japan.
OLYMPUS EUROPA SE & CO. KG
Locaux:
Wendenstrasse 14-18, 20097 Hamburg, Allemagne.
Tel.: +49 40 - 23 77 3 - 0 / Fax: +49 40 - 23 07 61
Livraisons de marchandises:
Modul H, Willi-Bleicher Str. 36, 52353 Duren, Allemagne.
Adresse postale:
Postfach 10 49 08, 20034 Hamburg, Allemagne.
Visitez notre site à l'adresse http://www.olympus-europa.com
ouappelez le NUMERO D'APPEL GratisT*:00800-67108300
pour l'Autriche, la Belgique, la République chèque, le Danemark, la Finlande, la France, l'Allemagne, le Luxembourg, les Pays-Bas, la Norvège, la Pologne, le Portugal, la Russie, l'Espagne, la Suede, la Suisse, le Royaume-Uni.
- Notez que certains opérateurs de services de téléphonie (mobile) n'autorisent pas l'accès ou exigent un préfixe supplémentaire pour les numérores commencer par +800.
Pour tous les pays européens non mentionnés ou si vous ne pouvrez pas obtenir la communication avec le nombre ci-dessus, appepelez l'un des nombres suivants
NUMÉROS D'APPEL PAYANTS: + 49 40 - 237 73 899.
Notice Facile