EDVI 23 - Plaque de cuisson ESSENTIELB - Notice d'utilisation et mode d'emploi gratuit
Retrouvez gratuitement la notice de l'appareil EDVI 23 ESSENTIELB au format PDF.
| Type de table | Induction |
| Nombre de foyers | 2 |
| Puissance totale | Non précisé |
| Commandes | Touches sensitives |
| Minuterie | Oui |
| Fonction booster | Oui |
| Affichage | LED |
| Dimensions (L x P) | Non précisé |
| Installation | Encastrable |
| Sécurité enfants | Oui |
| Détection de récipient | Oui |
| Arrêt automatique | Oui |
| Matériau de surface | Verre céramique |
| Couleur | Noir |
| Type d'alimentation | Électrique |
FOIRE AUX QUESTIONS - EDVI 23 ESSENTIELB
Téléchargez la notice de votre Plaque de cuisson au format PDF gratuitement ! Retrouvez votre notice EDVI 23 - ESSENTIELB et reprennez votre appareil électronique en main. Sur cette page sont publiés tous les documents nécessaires à l'utilisation de votre appareil EDVI 23 de la marque ESSENTIELB.
MODE D'EMPLOI EDVI 23 ESSENTIELB
| Informations de sécurité | 19 | Entretien et nettoyage | 30 |
| Consignes de sécurité | 21 | En cas d'anomalie de fonctionnement | 31 |
| Description de l'appareil | 24 | Installation | 34 |
| Utilisation quotidienne | 26 | Caracteristique techniques | 36 |
| Conseils | 28 | Rendement énergétique | 37 |
Sous réserve de modifications.
INFORMATIONS DE SECURITÉ
Avant d'installer et d'utiliser cet apparéil, lisez soigneusement les instructions fournies. Le fabricant ne pourra être tenu pour responsable des blessures et dégât s resultant d'une mauvaise installation ou utilisation. Conservez toujours les instructions dans un lieu sur et accessible pour vous y référer ultérieurement.
Sécurité des enfants et des personnes vulnérables
- Cet apparéil peut être utilisé par des enfants âgés d'au moins 8 ans et par des personnes ayant des capacité physiques, sensorielles ou mentales réduites ou dénuées d'expérience ou de connaissance, s'ilts (si elles) sont correctement surveillé(e)s ou si des instructions relatives à l'utilisation de l' apparéil en toute sécurité leur ont été données et si les risques encourus ont été appréhendés.
- Ne laissez pas les enfants jouer avec l'appareil.
- Ne laissez pas les emballages à la portée des enfants et jetez-les convenablement.
- Tenez les enfants et les animaux éloignés de l'appareil lorsqu'il est en cours de fonctionnement ou lorsqu'il refroidit. Les parties accessibles sont chaudes.
- Si l'appareil est équipé d'un dispositif de sécurité enfants, nous vous recommendons de l'activer.
- Le nettoyage et l'entretien par l'usage ne doit pas etre effectués par des enfants sans surveillance.
- Les enfants de moins de 3 ans doivent être tenus éloignés de l'appareil en permanence lorsqu'il est en fonctionnement.
Sécurité générale
- AVERTISSEMENT : L'appareil et ses parties accessibles deviennent chauds pendant son fonctionnement. Veillez à ne pas toucher les éléments chauffants. Les enfants de moins de 8 ans doivent être tenus à l'écart, à moins d'être surveillés en permanence.
- Ne faites pas fonctionner l'ordinate avec un minuteur externe ou un système de commande à distance.
- AVERTISSEMENT : Il peut être dangereux de laisser chauffer de laGRAISSÉ ou de l'huile sans surveillance sur une table de cuisson car cela pourrait provoquer un incendie.
- N'essayez JAMAIS d'éteindre un feu avec de l'eau. Éteignez l'appareil puis couvrez les flammes, par exemple avec un couvercle ou une couverture ignifuge.
- ATTENTION: Toute cuisson doit être surveillée. Une cuisson courte doit être surveillée en permanence.
- AVERTISSEMENT: Risque d'incendie! N'entreposez rien sur les surfaces de cuisson.
- Ne posez pas d'objets métalliques tels que couteaux, fourchettes, cuillères ou couvercles sur la table de cuisson car ils pourraient chauffer.
- N'utilisez pas de nettoyeur vapeur pour nettoyer l'appareil.
- Àprousutilisation,éteigneztoujourslazonedecuisson à l'aide de la manette de commande correspondante et ne vous fiez pas à la détction des recipients.
- Si la surface vitrocéramique / en verre est fissurée, éteignez l'appareil et débranchez-le. Si l'appareil est branché à l'alimentation secteur directement en utilisant une boîte de jonction, retirez le fusible pour déconnecter l'appareil de l'alimentation secteur. Dans tous les cas, contactez le service après-vente agréé.
-
Si le cable d'alimentation est endommagé, il doit être remplaçé par le fabricant, un service de maintenance agrée ou un technicien qualifié afin d'éviter tout danger.
-
AVERTISSEMENT : Utilisez uniquement les dispositifs de protection pour table de cuisson concus ou indiqués comme adaptations par le fabricant de l'appareil de cuisson dans les instructions d'utilisation, ou les dispositifs de protection pour table de cuisson intégrés à l'appareil. L'utilisation de dispositifs de protection non adaptations peut entraîner des accidents.
CONSIGNES DE SECURITÉ
Installation

AVERTISSEMENT! L'appareil doit être installé uniquement par un professionnel qualifié.

AVERTISSEMENT! Risque de blessure corporelle ou de dommages matériels.
- Retirez l'intégralité de l'emballage.
- N'installez pas et ne branchez pas un apparéil endommagé.
- Suivez scrupuleusement les instructions d'installation fournies avec l'appareil.
- Respectez l'espacement minimal requis par rapport aux autres apparéils et éléments.
- Soyez toujours vigilants lorsque vous déplacez l'appareil car il est lourd. Utilisez toujours des gants de sécurité et des chaussures fermées.
- Isolez les surfaces découpées à l'aide d'un matériel d'étanchéité pour éviter que la moisissure ne provoque de gonflements.
- Protégez la partie inférieure de l'appareil de la vapeur et de l'humidité.
- N'installez pas l'appareil pres d'une porte ou sous une fenêtre. Les recipients chauds risqueraient de tomber de l'appareil lors de l'ouverture de celles-ci.
- Si l'appareil est installé au-dessus de tiroirs, assurez-vous qu'il y a suffisamment d'espace entre le fond de l'appareil et le tiroir supérieur pour que l'air puisse circuler.
Le dessous de l'appareil peut devenir très chaud. Veillez à installer un panneau de séparation sous l'appareil pour en bloquer l'accès. Ce panneau peut être en contreplaqué, provenir d'un autre meuble de cuisine, et doit être composé d'un matériel non inflammable.
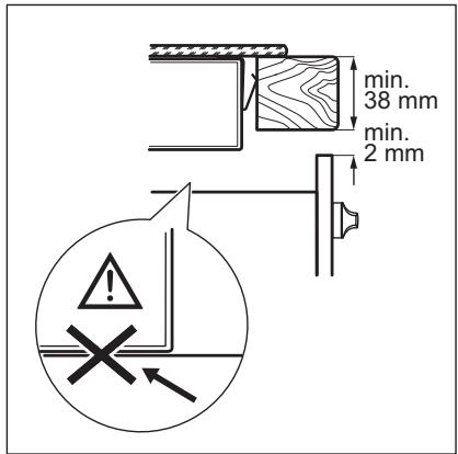
Assurez-vous de laisser un espace de ventilation de 2 mm entre le plan de travail et l'avant de l'appareil qui est installé dessous. La garantie ne couvre pas les dommages causés par l'absence d'un espace de ventilation ajustat.
Branchement électrique

AVERTISSEMENT! Risque d'incendie ou d'électrocution.
L'ensemble des branchements électriques doit être effectué par un technicien qualifié.
L'appareil doit etre relié à la terre.
- Avant toute intervention, assurez-vous que l'appareil est débranché.
- Vérifiez que les données électriques figurant sur la plaque signalétique correspondent à celles de votre réseau. Si ce n'est pas le cas, contactez un électricien.
Assurez-vous que l'appareil est bien installé. Un cable d'alimentation lâche et inapproprié ou une fiche (si présente) non serrée peuvent être à l'origine d'une surchauffe des bornes.
Utilisez le cable d'alimentation électrique approprié.
- Ne laissez pas le cable d'alimentation s'emmêler.
Assurez-vous qu'une protection antiélectrocution est installée.
Utilisez un collier anti-traction sur le cable.
Assurez-vous que le cable d'alimentation ou la fiche (si présente) n'entrent pas en contact avec les surfaces brûlantes de l'appareil ou les recipients brûlants lorsque vous branchez l'appareil à des prises électriques situées à proximité. - N'utilisez pas d'adaptateurs multiprises ni de rallonges.
- Veillez à ne pas endommager la fiche secteur (si présente) ni le cable d'alimentation. Contactez notre service après-vente agréé ou un électricien pour remplaçer le cable d'alimentation s'il est endommagé.
- La protection contre les chocs des parties sous tension et isolées doit être fixée de telle manière qu'elle ne peut pas'être enlevée sans outils.
- Ne branchez la fiche d'alimentation à la prise de courant qu'à la fin de l'installation. Assurez-vous que la prise de courant est accessible une fois l'appareil installé.
- Si la prise de courant est l'âche, ne branchez pas la fiche d'alimentation secteur.
- Ne tirez jamais sur le cable d'alimentation pour débrancher l'appareil. Tirez toujours sur la fiche.
- N'utilisez que des systèmes d'isolation appropriés : des coupe-circuits, des fusibles (les fusibles à visser doivent être retirés du support), un disjoncteur différentiel et des contacteurs.
- L'installation électrique doit être équipée d'un dispositif d'isolement à coupure omnipolaire. Le dispositif d'isolement doit partager une distance d'ouverture des contacts d'au moins 3 mm.
Utilisation

AVERTISSEMENT! Risque de blessures, de brûlures ou d'électrocution.
- Avant la première utilisation, retirez les emballages, les étiquettes et les films de protection (si présents).
Utilisez cet apparéil dans un environnement domestique. - Ne modifies pas les caractéristiques de cet apparéil.
Assurez-vous que les orifices de ventilation ne sont pas bouchés. - Ne laïsez jamais l'appareil sans surveillance pendant son fonctionnement.
- Éteignez les zones de cuisson après chaque utilisation.
- Ne vous fiez pas uniquement au détecteur de récipient.
- Ne posez pas de couverts ou de couvercles sur les zones de cuisson. Elles sont chaudes.
- N'utilisez jamais cet apparéil avec les mains mouillées ou lorsqu'il est en contact avec de l'eau.
- N'utilisez jamais l'appareil comme plan de travail ou comme plan de stockage.
- Si la surface de l'appareil présente des fêlures, débranchez immédiatement l'appareil. pour éviter tout risque d'électrocution.
- Les porteurs de pacemakers doivent rester à une distance minimale de 30 cm des zones de cuisson à induction lorsque l'appareil est en cours de fonctionnement.
Lorsque you versez un aliment dans de l'huile chaude, elle peut élabousser.

AVERTISSEMENT! Risque d'incendie et d'explosion.
-
Les graisses et l'huile chaudes peuvent dégager des vapeurs inflammables. Tenez les flammes ou les objets chauds éloignés des graisses et de l'huile lorsque vous vous en servez pour cuisiner.
-
Les vapeurs dégagées par l'huile très chaude peuvent provoquer une combustion spontanée.
L'huile qui a servi contient des restes d'aliments pouvant provoquer un incendie à température plus faible que l'huile n'ayant jamais servi. - Ne placez pas de produits inflammables ou d'éléments imbibés de produits inflammables à l'intérieur ou à proximé de l'appareil, ni sur celui-ci.

AVERTISSEMENT! Risque d'endommagement de l'appareil.
- Ne laïsez pas de récipients chauds sur le bandeau de commande.
- Ne posez pas de couvercle de casserole chaud sur la surface en verre de la table de cuisson.
- Ne laïsez pas le contenu des recipients de cuisson s'évaporer complètement.
- Prenez soit de ne pas laisser tomber d'objets ou de recipients sur l'appareil. Sa surface risque d'être endommagée.
- Ne faites jamais fonctionner les zones de cuisson avec des recipients de cuisson vides ou sans aucun recipient de cuisson.
- Ne placez jamais de papier aluminium sur l'appareil.
- N'utilisez pas de recipients en fonte ou en aluminium, ni de recipients dont le fond est endommagé et rugueux. Ils risqueraient de rayer le verre ou la surface vitrocéramique. Soulevez toujours ces objets lorsque vous devez les déplacer sur la surface de cuisson.
- Cet apparéil est exclusivement destiné à un usage culinaire. Ne l'utilise pas
pour des usages autres que celui pour lequel il a eté concu, à des fins de chauffage par exemple.
Entretien et nettoyage
Nettoyez régulierement l'appareil afin de maintainir le revêtement en bon état.
- Éteignez l'appareil et laissersez-le refroidir avant de le nettoyer.
- Débranchez l'appareil de l'alimentation électrique avant toute opération de maintenance.
- Ne pulveriséz pas d'eau ni de vapeur pour nettoyer l'appareil.
- Nettoyez l'appareil avec un chiffon doux humide. Utilisez uniquement des produits de lavage neutres. N'utilise pas de produits abrasifs, de tampons à recycler, de solvants ni d'objets métalliques.
Mise au rebut

AVERTISSEMENT! Risque de blessure ou d'asphyxie.
- Contactez votre service municipal pour Obtir des informations sur la marche à suivre pourmettre l'appareil au rebut.
- Débranchez l'appareil de l'alimentation électrique.
- Coupez le cable d'alimentation au ras de l'appareil et mettez-le au rebut.
Maintenance
Pour réparer l'appareil, contactez un service après-vente/agréé.
Utilisez exclusivement des pièces d'origine.
Description de la table de cuisson

1 Zone de cuisson à induction
2 Bandeau de commande
Description du bandeau de commande

Les touches sensitives permettent de faire fonctionner l'appareil. Les affichages, les voyants et les signaux sonores indiquent les fonctions activées.
| Touchesensitive | Fonction | Commentaire | |
| 1 | ① | MARCHE/ARRÊT | Pour allumer et éteindre la table de cuisson. |
| 2 | ① | Verrouillage / Dispositif de sécurité enfants | Pour verrouiller ou déverrouiller le bandeau de commande. |
| 3 | || | STOP+GO | Pour activer et désactiver la fonction. |
| 4 | - | Indicateur du niveau de cuisson | Pour indiquer le niveau de cuisson. |
| 5 | - | Voyants du minuteur des zones de cuisson | Pour indiquer la zone à laquelle se réfère la durée sélectionnée. |
| 6 | - | Affichage du minuteur | Pour indiquer la durée, en minutes. |
| 7 | ∅ | - | Pour désir la zone de cuisson. |
| 8 | +/- | - | Pour augmenter ou diminuer la durée. |
| 9 | +/- | - | Pour sélectionner un niveau de cuisson. |
| 10 | ○P | Fonction Booster | Pour activer et désactiver la fonction. |
Indicateurs de niveau de cuisson
| Affichage | Description |
| Ø | La zone de cuisson est désactivée. |
| I - Σ/Σ - Σ | La zone de cuisson est activée. Le point indique que le niveau de cuisson a changé de moins. |
| ω | La fonction STOP+GO est activée. |
| R | La fonction Démarrage automatique de la cuisson est activée. |
| P | Fonction Booster est activée. |
| E + chiffre | Une anomalie de fonctionnement s'est produit. |
| H | Une zone de cuisson est encore chaude (chaleur résiduelle). |
| L | La fonction Verrouillage /Dispositif de sécurité enfants est activée. |
| F | Le récipient est inapproprié ou trop petit, ou bien il n'y a pas de récipient sur la zone de cuisson. |
| - | La fonction Arrêt automatique est activée. |
Voyant de chaleur résiduelle

AVERTISSEMENT! La chaleur résiduelle peut etre source de brûlures.
Les zones de cuisson à induction générent la chaleur nécessaire directement sur le fond des plats de cuisson. La table vitrocéramique est chauffée par la chaleur des recipients.
UTILISATION QUOTIDIENNE

AVERTISSEMENT! Reportez-vous aux chapitres concernant la sécurité.
Activation et désactivation
Appuyez sur ① pendant 1 seconde pour activer ou désactiver la table de cuisson.
Arrêt automatique
Cette fonction arrête la table de cuisson automatiquement si :
toutes les zones de cuisson sont désactivées,
- vous ne reglez pas le niveau de cuisson après avoir allumé la table de cuisson,
- vous avez renversé quelque chose ou place un objet sur le bandeau de commande pendant plus de 10 secondes (une casserole, un torchon, etc.). Un signal sonore retentit et la table de cuisson s'eteint. Retirez l'objet du bandeau de commande ou nettoyez celui-ci.
- la table de cuisson surchauffe (par ex. lorsqu'un recipient chauffe à vide). Laissez refroidir la zone de cuisson avant de réutiliser la table de cuisson.
- vous avez utilisé un réseau inadapté. Le symbole s'allume et la zone de cuisson se désactive automatiquement au bout de 2 minutes.
- vous ne désactiverz pas la zone de cuisson ou ne modifiez pas le niveau de cuisson. Au bout de quelques instants, s'allume et la table de cuisson s'éteint.
La relation entre le niveau de cuisson et la durée après laquelle la table de cuisson s'estint :
| Niveau deuisson | La table deuis-son s'eteint aubout de |
| ☐, 1 - 2 | 6 heures |
| 3 - 4 | 5 heures |
| 5 | 4 heures |
| 6 - 9 | 1,5 heures |
Niveau de cuisson
Appuyez sur + pour augmenter le niveau de cuisson. Appuyez sur - pour diminuer le niveau de cuisson. Appuyez simultanément sur + et - pour désactiver la zone de cuisson.
Démarrage automatique de la cuisson
Cette fonction vous permet d'atteindre le niveau de cuisson sélectionné en un temps plus court. Cette fonction active le niveau de cuisson le plus élevé pendant un certain temps puis redescend au niveau sélectionné.

Pour activer la fonction, la zone de cuisson doit être froide
Pour activer la fonction pour une zone de cuisson: appuyez sur O^ (s'allume). Appuyez immédiatement sur + (s'allume). Appuyez immédiatement sur - jusqu'à ce que le niveau de cuisson réglé s'affiche. Au bout de 3 secondes, s'allume.
Pour désactiver la fonction : appuyez sur —.
Fonction Booster
Cette fonction vous permet d'augmenter la puissance des zones de cuisson à induction. La fonction peut être activée pour la zone de cuisson à induction uniquement pour une durée limite. Lorsque cette durée est ecoullee, la zone de cuisson à induction revient automatiquement au niveau de cuisson le plus elevé.
i Reportez-vous au chapitre « Caracteristiques techniques »
Pour activer la fonction pour une zone de cuisson: appuyez sur O^ . s'allume.
Pour désactiver la fonction : appuyez sur O^P ou —.
Minuteur
Minuteur dégressif
Vou pousse utiliser cette fonction pour régler la durée de fonctionnement de la zone de cuisson, uniquement pour une session.
Sélectionnez d'abord le niveau de cuisson de la zone de cuisson, puis réglez la fonction.
Pour selectionner la zone de cuisson: appuyez sur à plusieurs reprises jusqu'à ce que l'indicateur de la zone de cuisson correspondante s'affiche.
Pour activer la fonction ou modifier la durée : appuyez sur la touche + ou — du minuteur pour régler la durée (de 00 à 99 minutes). Lorsque le voyant de la zone de cuisson commence à clignoter lentement, le décompte commence.
Pour voir le temps restant : selectionnez la zone de cuisson à l'aide de .Le voyant de la zone de cuisson clignote rapidement. L'affichage indique la durée restante.
Pour désactiver la fonction : sélectionnéz la zone de cuisson avec© et
appuyez sur —. Le temps restant est décompté jusqu'à 00. Levoyant de la zone de cuisson s'éteint.
Lorsque la durée est écoulée, un signal sonore retentit et 00 clignote. La zone de cuisson se désactive.
Pour arrêté le signal sonore : appuyez sur
Minuterie
Vouspouvezutiliser cettefonction comme Minuterielorsque la table de cuisson est allumée mais que les zones de cuisson ne sont pas activées.L'affichage du niveau de cuisson indique
Pour activer la fonction : appuyez sur ①. Appuyez sur la touche + ou — du minuteur pour regler la durée. Lorsque la durée s'est écoulée, un signal sonore retentit et 00 clignote.
Pour arrêté le signal sonore : appuyez sur
i Cette fonction est sans effet sur le fonctionnement des zones de cuisson.
STOP+GO
Cette fonction seLECTIONne le niveau de cuisson le plus bas pour toutes les zones de cuisson activées.
Lorsque la fonction est en cours, vous ne pouvez pas modifier le niveau de cuisson.
La fonction ne désactive pas les fonctions du minuteur.
Pour activer la fonction : appuyez sur | . s'allume.
Pour désactiver la fonction : appuyez sur Il . Le niveau de cuisson précédent s'allume.
Verrouillage
Vou puez verrouiller le bandeau de commande pendant que les zones de
cuisson fonctionnent. Vous évitezrez ainsi une modification accidentelle du réglage du niveau de cuisson.
Réglez d'abord le niveau de cuisson.
Pour activer la fonction: appuyez sur 1. L s'affiche pendant 4 secondes.Le minuteur reste activé.
Pour désactiver la fonction : appuyez sur .Le niveau de cuisson precedent s'allume.

Lorsque vous éteignez la table de cuisson, cette fonction est également désactivée.
Dispositif de sécurité enfants
Cette fonction permet d'eviter une utilisation involontaire de la table de cuisson.
Pour activer la fonction: allumez la table de cuisson en appuyant sur ①. Ne seLECTIONnez pas de réglage de niveau de cuisson. Appuyez sur ② pendant 4 secondes. L s'allume. Éteignez la table de cuisson en appuyant sur ①.
Pour désactiver la fonction: allumez la table de cuisson en appuyant sur ①. Ne sélectionnez pas de réglage de niveau de cuisson. Appuyez sur pendant 4 secondes. s'allume. Éteignez la table de cuisson en appuyant sur ①.
Pour désactiver la fonction le temps d'une cuisson: allumez la table de cuisson en appuyant sur ①. L s'allume.
CONSEILS

AVERTISSEMENT! Reportez-vous aux chapitres concernant la sécurité.
Appuyez sur pendant 4 secondes.
Réglez le niveau de cuisson dans les 10 secondes qui suivent. Vous pouvez utiliser la table de cuisson. Lorsque vous éteignez la table de cuisson avec ①, la fonction est de nouveau activée.
Fonction Gestionnaire de puissance
- Toutes les zones de cuisson sont reliées à une phase. Reportez-vous à l'illustration.
La phase dispose d'une charge électrique maximale de 3700 W.
La fonction répartit la puissance entre les zones de cuisson. - La fonction s'active lorsque la charge électrique totale des zones de cuisson dépasse 3700 W.
La fonction diminue la puissance des autres zones de cuisson.
L'affichage du niveau de cuisson des zones à puissance réduite oscille entre deux niveaux.

Sur les zones de cuisson à induction, un champ electromagnetique puissant chauffe les recipients très rapidement.

Utilisez des reçipients adaptés aux zones de cuisson à induction.
Matériaux des recipients
- adaptations : fonte, acier, acier émailé, acier inoxydable, fond multicouche (homologué par le fabricant).
- inadaptés : aluminium, cuivre, laiton, verre, céramique, porcelain.
Les plats de cuisson convennent pour l'induction si :
- une petite quantité d'eau contue dans un réseau chauffe dans un bref laps de temps sur une zone de cuisson régée sur le niveau de cuisson maximal.
- un aimant adhére au fond du récipient.

Le fond de l'ustensile de cuisson doit être aussi plat et écais que possible.
Dimensions de l'ustensile
Les zones de cuisson à induction s'adaptent automatiquement au diamètre du fond du écipient utilisé, jusqu'à une certaine limite.
L'efficacité de la zone de cuisson est liée au diamètre du récipient. Un récipient plus petit que le diamètre minimal recommendé ne recoit qu'une petite partie de la puissance généree par la zone de cuisson.

Reportez-vous au chapitre « Caracteristiques techniques »
Bruits pendant le fonctionnement
Si vous entendez :
- un craquement : le récipient est composé de différents matériaux (conception « sandwich »).
- un sifflement : vous utilisez la zone de cuisson avec un niveau de puissance élevé et le recipient est composé de différents matériaux (conception « sandwich »).
- un bourdonnement : vous utilisez un niveau de puissance élevé.
- unCLIENTIS : des commutations électriques se produit.
- un sifflement, un bourdonnement : le ventilateur fonctionne.
Ces bruits sont normaux et n'indiquent pas une anomalie de la table de cuisson.
Exemples de cuisson
Le rapport entre le niveau de cuisson et la consommation energetique de la zone de cuisson n'est pas linéaire. Lorsque vous augmentez le niveau de cuisson, l'augmentation energetique de la zone de cuisson n'est pas proportionnelle. Cela signifie que la zone de cuisson utilisée a un niveau de cuisson moyen utilise moins de la moitié de sa puissance.

Les valeurs figurant dans le tableau suivant sont fournies à titre indicatif.
| Niveau de cuisson | Utilisation : | Durée (min) | Conseils |
| u - 1 | Conserve les aliments cuits au chaud. | au be-soin | Placez un couvercle sur le ré-cipient. |
| 1 - 2. | Sauce hollandaise, faire fon-dre : beurre, chocolat, gélatine. | 5 - 25 | Mélangez de temps en temps. |
| 1 - 2. | Solidifier : omelettes, oeufs co-cotte. | 10 - 40 | Couvrez pendant la cuisson. |
| 2. - 3. | Faire moyen des plats à base de riz et de laitage, réchauffer des plats cuisinés. | 25 - 50 | Ajoutez au moins deux fois plus d'eau que de riz. Remuez les plats à base de lait durant la cuisson. |
| 3. - 4. | Cuire à la vapeur des légu-mes, du poisson et de la vian-de. | 20 - 45 | Ajoutez quelques cuillerées de liquide. |
| 4. - 5. | Cuire des pommes de terre à la vapeur. | 20 - 60 | Utilisez max. ¼ l'eau pour 750 g de pommes de terre. |
| 4. - 5. | Cuire de grandes quantités d'aliments, des ragôuts et des soupes. | 60 - 150 | Ajoutez jusqu'à 3 litres de li-queide, plus les ingrédients. |
| 5. - 7 | Faire revenir : escalopes, cor-dons bleus de veau, côtelettes, rissolettes, saucisses, foie, roux, øeufs, crêpes, beignets. | au be-soin | Retournez à la moitié du temps. |
| 7 - 8 | Cuisson à température élevée des pommes de terre riso-lées, fillets, steaks. | 5 - 15 | Retournez à la moitié du temps. |
| 9 | Faire bouillir de l'eau, cuire des pâtes, griller de la viande (goulasch, bœuf braisé), cuire des frites. | ||
| O P | Faire bouillir une grande quantité d'eau. La fonction Booster est activée. | ||
ENTRETIEN ET NETTOYAGE

AVERTISSEMENT! Reportez-vous aux chaprites concernant la sécurité.
Informations generales
- Nettoyez la table de cuisson après chaque utilisation.
Utilisez toujours un plat de cuisson dont le fond est propre. - Les rayures ou les taches sombres sur la surface n'ont aucune incidence sur le fonctionnement de la table de cuisson.
Utilisez un nettoyant spécialément adaptable à la surface de la table de cuisson.
Utilisez un racloir spécial pour la vitre.
Nettoyage de la table de cuisson
Enlevez immédiatement : plastique fondu, films plastiques, sucre et alimentés contenant du sucre. Sinon, la saleté pourrait endommager la table de cuisson. Veiliez à ne pas vous brûler. Tenez le racloir spécial incliné sur la surface vitrée et faites glisser la lame du racloir pour enlever les salissures.
- Une fois que la table de cuisson a suffisamment refroidi, enlevez : traces de calcaire et d'eau, projections de graisse, décolorations métalliques Luisantes. Nettoyez la table de cuisson à l'aide d'un chiffon humide et d'un détergent non abrasif. Àpès le
nettoyage, séchez la table de cuisson à l'aide d'un chiffon doux.
Pour refirer les décolorations métalliques brillantes : utilisez une
solution d'eau additionnée de vinaigre et nettoyez la surface vitrée avec un chiffon humide.
EN CAS D'ANOMALIE DE FONCTIONNEMENT

AVERTISSEMENT! Reportez-vous aux chapitres concernant la sécurité.
En cas d'anomalie de fonctionnement
| Anomalie | Cause possible | Solution |
| Vous ne pouvez pas metre en fonctionnement la table de cuisson. | La table de cuisson n'est pas connectée à une source d'alimentation électrique ou le branchement est incor-rect. | Vérifiez que la table de cuisson est correctement branchede à une source d'alimentation électrique. Reportez-vous au schéma de branchement. |
| Le fusible a disjoncté. | Vérifiez que le fusible est bien la cause de l'anomalie. Si les fusibles disjonctent de manière répétée, faites apel à un électricien qualifié. | |
| Allumez de nouveau la table de cuisson et réglez le ni-veau de cuisson en moins de 10 secondes. | ||
| Vous avez appuyé sur pluseurs touches sensitives en même temps. | N'appuyez que sur une seule touche sensitive à la fois. | |
| La fonction STOP+GO est activée. | Reportez-vous au chapitre « Utilisation quotidienne » . | |
| Il y a de l'eau ou des taches deGRAisse sur le bandeau de commande. | Nettoyez le bandeau de commande. | |
| Un signal sonore retentit et la table de cuisson s'éteint. Un signal sonore retentit lorsque la table de cuisson est éteinte. | Vous avez recouvert une ou plusieurs zones sensitives. | Retirez l'objet des touches sensitives. |
| La table de cuisson est dés-activée. | Vous avez posé quelque chose sur la touche sensiti-ve ①. | Retirez l'objet de la touche sensitive. |
| Levoyant de chaleur rési-duelle ne s'allume pas. | La zone n'est pas chaude parce qu'elle n'a fonctionné que peu de temps. | Si la zone a eu assez de temps pour chauffer, faites appel à votre service après-venture. |
| La fonction de démarrage automatique de la cuisson ne fonctionne pas. | La zone est chaude. | Laissez la zone refroidir suf-fisamment. |
| Le niveau de cuisson le plus élevé est réglé. | Le niveau de cuisson maxi-mum offre la même puissance-ce que la fonction. | |
| Le niveau de cuisson oscille entre deux niveaux. | Le dispositif de gestion de la puissance est activé. | Reportez-vous au chapitre « Utilisation quotidienne » . |
| Les touches sensitives sont chaudes. | Le rècipient est trop grand ou vous l'avez placé trop premes des commandes. | Placez les récipients de grande taille sur les zones arrêtere, si possible. |
| - s'affiche. | La fonction Arrêt automati-que est activée. | Éteignez la table de cuisson puis allumez-la de nouveau. |
| Lsaffiche. | Le dispositif de sécurité en-fants ou de verrouillage est activé. | Reportez-vous au chapitre « Utilisation quotidienne » . |
| Fssaffiche. | Il n'y a pas de rècipient sur la zone. | Placez un rècipient sur la zone. |
| Le rècipient n'est pas adap-té. | Utilisez un rècipient adapté. Reportez-vous au chapitre « Conseils » . | |
| Le diamètre du fond du réci-pient de cuisson est trop pe-tit pour la zone. | Utilisez un rècipient de di-mensions appropriées.Reportez-vous au chapitre « Caractéristiques techni-ques » . | |
| et un chiffre s'affichent. | Une erreur s'est produit dans la table de cuisson. | Débranchez la table de cis-son de l'alimentation électri-que pendant quelques minu-tes. Déconnectez le fusible de l'installation domestique.Rebranchez l'appareil. Si F s'affiche à nouveau, faites appel au service après-ven-te. |
| É4 s'affiche. | Une erreur s'est produit dans la table de cuisson car un réseau aCHAUFFÉ à vi de. La fonction Arrêt automatique et la protection anti-surchauffe des zones sont activées. | Éteignez la table de cuisson. Enlevez le réseau chaud. Au bout d'environ 30 secondes, remettez la zone en fonctionnement. Si le réseau était bien le problème, le message d'erreur dispa-rait. Le voyant de chaleur résiduelle peut rester allu-mé. Laissez le réseau re-froidir suffisamment. Vérifiez que votre réseau est compatible avec la table de cuis-son. Reportez-vous au chapitre « Conseils ». |
Si vous ne trouvez pas de solution...
Si vous ne trouvez pas de solution au problème, veuillez contacter votre revendeur ou un service après-vente/agréé. Veuillez lui fournir les informations se trouvant sur la plaque signalétique. Donnez également la combinaison à 3 lettres et chiffres pour la vitrocéramique (située dans un descoins de la surface en verre) et le message d'erreur qui s'affiche.
Assurez-vous d'utiliser correctement l'appareil. En cas d'erreur de manipulation de la part de l'utilisateur, le déplacement du technicien du service après-vente ou du vendeur pourra être facturé, même en cours de garantie. Les instructions relatives au service après-vente et aux conditions de garantie figurent dans le livre de garantie.
Étiquettes fournies dans le sachet des accessoires
Collez les étiquettes adhésives comme indiqué ci-dessous :

A. Collez-la sur la carte de garantie et envoyez cette partie (le cas échéant).
B. Collez-la sur la carte de garantie et conservez cette partie (le cas échéant).
C. Collez-la sur la notice d'utilisation.
INSTALLATION

AVERTISSEMENT! Reportez-vous aux chapitres concernant la sécurité.
Avant l'installation
Avant d'installer la table de cuisson, notez les informations de la plaque signalétique ci-dessous. La plaque signalétique se trouve au bas de la table de cuisson.
Modèle
PNC
Numéro de série
Tables de cuisson intégrées
Les tables de cuisson encascrables ne peuvent être mises en fonctionnement qu'après avoir été installées dans des meubles et sur des plans de travail homologués et adaptations.
Câble d'alimentation
- La table de cuisson est fournie avec un cable d'alimentation.
Pour replacer le cable d'alimentation endommagé, utilisez le type de cable suivant : H05V2V2-F qui doit supporter une température minimale de 90^ . Contactez votre service après-vente.
Installation du joint
- Nettoyez la zone de découvert du plan de travail.
- Placez le joint fourni sur le bord inférieur de la table de cuisson, le long du bord externe de la surface vitrocéramique. N'etirez pas le joint. Assurez-vous que les extrémités du
Montage


joint se trouvent au milieu d'un bord
lateral de la table de cuisson.
- Lorsque vous découvertez le joint, ajoutez quelques millimétres de longueur.
- Rassemblez les deux extrémites du joint.






CHARACTERISTIQUES TECHNIQUES
Caracteristiques des zones de cuisson
| Zone de cuisson | Puisance nominale (ré-glage de cha-leur maxi-mum) [W] | Fonction Booster [W] | Fonction Booster durée maximale [min] | Diamètre de l'ustensile de cuisson [mm] |
| Avant centrale | 2300 | 3700 | 10 | 180 - 210 |
| Arrière centra-le | 1400 | 2500 | 4 | 125 - 145 |
La puissance des zones de cuisson peut etre légèrement différente des données indiquées par la table. Elle change avec le matériel et les dimensions du plat de cuisson.
Pour des résultats de cuisson optimaux, utilisez un plat de cuisson de dimension supérieure au diamètre de la zone de cuisson.
Informations sur le produit selon la norme EU 66/2014
| Identification du modèle | EDVI23 | |
| Type de table de cuisson | Table de cuisson intégrée | |
| Nombre de zones de cuisson | 2 | |
| Technologie de chauffage | Induction | |
| Diamètre des zones de cuisson circulaires (Ø) | Avant centrale | 21,0 cm |
| Arrière centrale | 14,5 cm | |
| Consommation d'énergie selon la zone de cuisson (EC electric cooking) | Avant centrale | 176,9 Wh / kg |
| Arrière centrale | 179,0 Wh / kg | |
| Consommation d'énergie de la table de cuisson (EC electric hob) | 178,0 Wh / kg |
EN 60350-2 - Appareils de cuisson domestiques électriques - Partie 2: Tables de cuisson - Méthodes de mesure des performances
Économie d'énergie
Vou puez economiser de I'energie au quotidien en suivant les conseils suivants.
-
Si vous faiteschauffer de I'eau, ne faiteschauffer que la quantité dont vous avez réellement besoin.
-
Si possible, couvrez toujours les recipients de cuisson avec un couvercle pendant la cuisson.
- Activez toujours la zone de cuisson après avoir posé le écipient dessus.
- Placez les plus petits récipients sur les plus petites zones de cuisson.
- Posez directement le réseau au centre de la zone de cuisson.
- Vous pouvez utiliser la chaleur résiduelle pour conserver les alimentés au chaud ou pour faire fondre.
EN MATIÈRE DE PROTECTION DE L'ENVIRONNEMENT
Recyclez les matériaux portant le symbole
Déposez les emballages dans les conteneurs prévus à cet effet. Contribuez à la protection de l'environnement et à votre sécurité, recyclez vos produits électriques etlectroniques. Ne jetez pas
les apparèils portant le symbole avec les ordures ménagères. Emmenez un tel produit dans votre centre local de recyclage ou contactez vos services municipaux.
EDVI23

Protection de l'environnement
Ce symbole apposé sur le produit signifie qu'il s'agit d'un apparéil dont le traitement en tant que déchet est soumis à la réglementation relative aux déchets
d'équipements électriques et électroniques (DEEE). Cet apparéil ne peut donc enaucun cas être traité comme un déchet menager, et doit faire l'objet d'une collecte spécifique à ce type de déchets. Des systèmes de reprise et de collecte sont mis à votre disposition par les collectivités locales (déchéterie) et les distributeurs. En orientant votre apparéil en fin de vie vers sa filière de recyclage, vous contribuerez àprotégerl'environnement et empêcherez toute conséquence nuisible pour votre santé.
essential
Service Relation Clients
Avenue de la Motte
CS 80137
59811 Lesquin cedex
Art. 8003461
Réf. EDVI23
FABRIQUE EN EUROPE
SOURCING & CREATION
21 Avenue de l'Harmonie
59650 Villeneuve d'Ascq Cedex

Testé dans nos laboratoires
Garantie valde a partir de la date d'achat (ticket de caisse faisant fjoi). Cette garantie ne couve pas les vices ou les dommages resultant d'une mauvaise installation, d'une utilisation incorrecte, ou de l'usure normale du produit.

Faites un geste
eco-citoyen.
Recyclece産uit
en fin de vie.



Notice Facile