CT160 - Tondeuse autoportée HUSQVARNA - Notice d'utilisation et mode d'emploi gratuit
Retrouvez gratuitement la notice de l'appareil CT160 HUSQVARNA au format PDF.
| Intitulé | Valeur / Description |
|---|---|
| Type de produit | Tracteur de jardin |
| Caractéristiques techniques principales | Moteur à essence, 4 temps, refroidi par air |
| Alimentation électrique | Non applicable (moteur à essence) |
| Dimensions approximatives | Longueur : 175 cm, Largeur : 90 cm, Hauteur : 110 cm |
| Poids | Environ 200 kg |
| Compatibilités | Accessoires Husqvarna compatibles |
| Type de batterie | Non applicable |
| Tension | Non applicable |
| Puissance | Environ 6,5 kW |
| Fonctions principales | Tonte de pelouse, ramassage des déchets, mulching |
| Entretien et nettoyage | Vérification régulière de l'huile, nettoyage du filtre à air, affûtage des lames |
| Pièces détachées et réparabilité | Disponibilité de pièces détachées via revendeurs agréés |
| Sécurité | Équipements de sécurité recommandés : lunettes, gants, chaussures de sécurité |
| Informations générales utiles | Garantie de 2 ans, utilisation recommandée pour les jardins jusqu'à 2000 m² |
FOIRE AUX QUESTIONS - CT160 HUSQVARNA
Questions des utilisateurs sur CT160 HUSQVARNA
0 question sur cet appareil. Repondez a celles que vous connaissez ou posez la votre.
Poser une nouvelle question sur cet appareil
Téléchargez la notice de votre Tondeuse autoportée au format PDF gratuitement ! Retrouvez votre notice CT160 - HUSQVARNA et reprennez votre appareil électronique en main. Sur cette page sont publiés tous les documents nécessaires à l'utilisation de votre appareil CT160 de la marque HUSQVARNA.
MODE D'EMPLOI CT160 HUSQVARNA
Manuel d'instructions
Merci de lire très attentivement le manuel d'instructions. Assurez-vous d'avoir tout compris avant d'utiliser ce tracteur.
Description du fonctionnement.
Entretien, réglages.
Recherche des pannes.
Nous nroresvons le droit d'apporter des modifications sans vis prealable.
- Lisez toutes les instructions soigneusement. Familiarisez-vous avec les commandes pour apprendre à utiliser efficacement cette machine.
- N'autorisez jamais les enfants ou les personnes qui ne connaissent pas le manuel d'instructions à utiliser cette tondeuse. La réglementation locale peut de plus interdire l'utilisation de la tondeuse à partir d'un certain âge.
- Ne tondez jamais à proximité de personnes, enfants ou animaux.
- N'oubliez pas que tout utilisateur est responsable des accidents ou dommages causés à une autre personne ou aux objets de sa propriété.
- Tous les utilisateurs doivent rechercher et obtenir une formation personnelle sérieuse et pratique qui devra insister sur:
- la nécessité absolue d'être attentif et concentré lorsqu'on utilise une autoportée,
- Le fait qu'une autoportée glissant sur une pente ne s'arrête pas lorsqu'on appuie sur la pédale de frein.
Les raisons principales d'une perte de contrôle sont:
a) l'adhérence insuffisante des pneus, b) une conduite trop rapide, c) un freinage insuffisant, d) une tondeuse non adaptée aux conditions d'utilisation, e) une mauvaise appréciation des contraintes résultant du type de terrain à entretenir et, tout particulièrement de la présence de pentes sur ce terrain, f) l'accrochage incorrect d'une remorque et la mauvaise répartition du poids.
II. PREPARATION
- Pendant que vous tondez, portez uniquement des chaussures solides et des pantalons longs. Ne tonde jamais pieds nus ou en sandales.
- Contrôlez systématiquement et soigneusement l'état de la surface à tondre et enlevez tous les objets susceptibles de devenir des projectiles lors du passage de la machine.
- ATTENTION - L'essence est très inflammable.
- Utilisez exclusivement les récipients approuvés.
- Remplissez toujours le réservoir à essence à l'air libre et ne fumez pas pendant que vous le remplissez.
- Remplissez le réservoir d'essence avant de démarrer le moteur. N'enlevez jamais le bouchon du réservoir d'essence et ne rajoutez jamais d'essence quand le moteur est en marche ou pendant qu'il est chaud.
- Si vous avez renversé de l'essence, poussez la tondeuse hors du lieu où l'essence a été renversée avant de démarrer le moteur. Ne démarrez aucun outil où l'essence a été renversée avant qu'elle ne s'évapore.
- Remplacez les pots d'échappement défectueux.
- Avant d'utiliser votre Autoportée, vérifie toujours que les lames, les boulons de lame et l'unité de coupe ne soient pas usés ou endommagés. Toujours replacer les deux lames ensemble de façon à éviter tout problème d'équilibrage.
- Avant d'intervenir sur le carter de coupe, vérifiez always que les lames sont toutes à l'arrêt.
III. Utilisation
- Ne démarrez jamais le moteur à l'intérieur d'un bâtiment où des vapeurs dangereuses de monoxyde de carbone pourraient s'être accumulées.
- Tondez uniquement à la lumière du jour ou avec une bonne lumière artificielle.
- Avant de démarrer le moteur, assurez-vous que toutes les commandes du tracteur sont bien au point mort, notamment l'embrayage des lames et le levier de boîte de vitesses.
- N'utilisez pas votre tracteur sur des pentes de plus de 10 degrés.
- Rappelez-vous qu’il n’existe pas de pente "sûre". Il faut faire très attention quand vous conduis
- ne vous arrêtez pas ou ne démarrez pas brutalement dans une pente,
- embrayez doucement et n’arrêtez jamais votre tracteur dans une pente, spécialement quand vous la descendez,
- conduisez toujours lentement dans les pentes, tout comme dans les virages étroits,
- faites attention aux irrégularités du terrain,
- ne tondez jamais en travers d'une pente, à moins que la tondeuse n'ait été spécialement conçue à cet effet.
- Faites attention quand vous tirez des charges ou lorsque vous utilisez un équipement lourd.
- N'utilise que les points de charnière de la barre d'attelage approuvés.
- Limitez-vous aux charges que vous pouvez contrôler avec sécurité.
- Ne tournez pas trop brutalement. Soyez très prudent quand vous conduisez en marche arrière.
- N'utilise que les masses de roues ou contrepoids qui vous sont conseillés dans le manuel d'instructions.
- Faites attention à la circulation quand vous devez utiliser le tracteur près d'une route ou quand vous devez traverser une route.
- Arrêtez toujours les lames quand vous devez traverser une surface autre que du gazon.
- Quand vous montez des accessoires, ne les utilisez et déposez jamais à proximité de celui d'un.
- N'utilisez jamais le tracteur avec un bac, déflecteur ou insert broyeur défectueux ou encore sans bac ou déflecteur. Pourtant, même en fonction broyage, il faut impérativement pour votre sécurité que, soit le bac, soit le déflecteur (option), soient positionnés à l'arrêt du tracteur.
- Ne modifiez pas la vitesse de rotation du moteur et ne le faites pas fonctionner au-dessus de son régime normal car cela peut être dangereux. Avant de quitter le siège:
- débrayez les lames et abaissez le carter de coupe,
- mettez le levier de vitesse au point mort et enclenchez le frein de parking,
- arrêtez le moteur et enlevez les clés,
- D'ébrayez les lames, arrêtez le moteur, et débranchez le (s) fil (s) de la bougie d'allumage ou enlevez la clef de contact:
- avant de retirer l'insert broyeur ou avant de retirer la goulotte d'éjection pour la nettoyer.
- avant de contrôler, nettoyer ou travailler sur l'unité de coupe,
- avant de retirer un objet coincé dans la tondeuse. Dans ce cas inspectez aussitôt la machine pour vous assurer qu'elle n'est pas endommagée et, si nécessaire, faites ou faites faire impérativement les réparations avant de la remettre en marche et de la faire fonctionner.
- si la machine commence à vibrer anormalement. Dans ce cas vérifie immédiatement l'unité de coupe.
- Débrayez systématiquement les lames quand le tracteur n'est pas utilisé ou quand vous doivent le transporter.
- Débrayez les lames puis arrêtez le moteur:
- avant de faire le plein d'essence,
- avant d'enlever le collecteur.
- avant de régler la hauteur de coupe à moins que ce réglage ne puisse s'effectuer du poste de conduite.
- Une fois le démarriage effectué, réduisez les gaz grâce à la commande correspondante et positionnez cette commande dans l'encoche correspondant à la position de tonte. Quand vous avez fini de tandre, abaiser la commande de gaz au minimum avant de couper le moteur.
Si le moteur est fourni avec une vanne d'arrêt, fermez l'arrivée d'essence quand vous avez fini de tondre.
Entretien et entreposage
Assurez-vous que tous les écrous, boulons et vis sont bien serrés pour être certain que l'équipement est prêt à refonctionner dans de bonnes conditions. - N'entreposez jamais le tracteur avec de l'essence dans le réservoir, dans un bâtiment où les vapeurs pourraient s'enflammer au contact d'une flamme ou d'une étincelle d'allumage. - Attendez le refroidissement du moteur avant d'entreposer le tracteur dans un espace clos. Pour supprimer les risques d'incendie assurez-vous que le moteur, le pot d'échappement, le logement de la batterie et du réservoir d'essence ne sont pas encrassés par l'herbe, les feuilles ou la graisse. - Vérifiez souvent le collecteur pour vous assurer qu'il est propre et qu'il n'est pas endommagé. - Pour votre sécurité, remplacez systématiquement les pièces usées ou détériorées. - Si le réservoir d'essence doit être vidangé, procédez à cette opération à l'extérieur. - Sur les tondeuses multi-lames, n'oubliez pas que la rotation d'une lame peut entraîner celle des autres. - Quand le tracteur est garé, inactif ou tout simplement non utilisé, régalez la hauteur de coupe dans la position la plus basse.

ATTENTION: Débranchez toujours le fil de bougie d'allumage et pour prévenir les démarrages accidentels, posez-le de telle sorte qu'il ne puisse en aucun cas entrer en contact avec la bougie d'allumage lors du montage, du transport, des réglages et des réparations.

- Monter la balleunge d'arbre de direction sur les orifices souhaités puis installer la vis hexagonale et l'écrou frein, bien serrer le tout,
- Positionner le cache sur la colonne de direction. S'assurer que les ergots du cache colonne de direction sont bien clipsés dans les quatre orifices du tableau de bord,
- Enlevez le manchon de direction du volant de direction et glissez le manchon sur l'arbre de rallonge. Vérifiez que les roues avant sont bien alignées droit vers l'avant et positionnez le volant sur le moyeu.
- Positionner la grande rondelle plate, la rondelle frein et le boulon hexagonal 3/8ème. Visser fortement,
- Encliqueter le cache volant dans le volant de direction.
ARBRE d'extension
Enlevez le bouton de réglage et la rondelle plate qui fixent le siège à l'emballage de carton et mettez-les de côté pour l'assemblage du siège au tracteur.
Pivotez le siège vers le haut et enlevez-le de l'emballage de carton. Débarrasssez-vous de l'emballage de carton.
Placez le siège sur sa cuvette pour positionner le boulon à épaulement sur le gros orifice fendu placé dans la cuvette. Poussez sur le siège pour accrocher le boulon à épaulement dans le trou oblong et tirez le siège vers l'arrête du tracteur.
Le siège peut être ajusté individuellement par rapport à la pédale de frein et d'embrayage. Ajustez le siège pour avoir une position assise correcte en le déplaçant vers l'avant ou vers l'arrière. Serrez à fond la vis de réglage (2).


Vérifier que le cordon est correctement branché à l'interrupteur et sécurité (3) sur le support du siège.

(F) 1. Cache batterie
- Vis
- Câble positif (+)
- Câble négatif (-)
- Capot
- Polarités de la batterie
- Batterie

- Accudeksel
- Schroef
- Kabel positive (+)
- Kabel négative (-)
- Stootwand
- Accuklem
- Accu


REMARQUE: Si la batterie est en service après le mois et l'année indiqués sur l'étiquette, charger la batterie durant une heure au moins à 6-10 ampères.

DANGER: Avant d'installer la batterie, prenez la précaution d'enlever gourmette, montre-bracelet, bague, etc... Leur contact avec la batterie pourrait causer des brûlures.
Enlever le cache batterie

DANGER: La borne positive doit être connectée la première pour éviter les étincelles dues à une mise à la masse accidentelle.
Enlever les capuchons de protections des bornes et les mettre de côté. Positionner la batterie dans son logement. Les polarités de la batterie doivent être tournées vers l'extérieur. Commencer par brancher le câble rouge au pole positif puis le câble noir de la masse au pole négatif. Fixer les deux câbles à l'aide des vis et des écrous. Lubrifier les bornes de la batterie avec de la graisse résistante à l'eau. Remettre de nouveau le cache batterie.


- Manche de décharge
- 3/8 Écrou
- Rondelle Plate
- Retirer la goulotte d’éjection d’herbe. Pour ce faire, libérer les deux attaches à l’arrière du tracteur et tirer la goulotte d’éjection hors de son logement.
- Enlever les deux écrous de 3/8 et les rondelles plates, des boulons placés sur la plaque arrêté du tracteur.

- Contre Écrou
- Rondelle plate
- Tube de support
- paille de l'herbe sur la plaque postérieure, comme le montre la figure.

- Porte (Trappe) Arrière
- Console de support
- Boulon de support 3/8
- Contre-écrou 3/8
- Boulon à tête hexagonale 3/8 × 63,5
- Rondelle plate 10,3 (13/32")
- En maintainant la trappe d'éjection ouverte, fixer les deux bras de liaison sur l'arrière du tracteur, en utilisant les boulons de support 3/8 × 19 ~mm et les écrous prévus à cet effet. Bien serrer.
- Assembler les deux étriers de support sur l'extérieur du tube de soutien du dispositif de récolte de l'herbe, à l'aide de deux boulons diamètre intérieur de 13/32" et des contre-écrous de 3/8 x 63,5mm des côtés du sachet.

- Crochets
- Manche de décharge
- Fente de la plaque arrière
- Replacer la goulotte d’éjection d’herbe dans son logement. La fixer avec les deux attaches.
REMARQUE: le crochet de courroie doit passer par le trou de la glissière de déchargement. Ne laissez pas le crochet s'encrocher l'intérieur de la fente de la plaque arrière du tracteur. Ceci permettra que la glissière de déchargement flotte avec le carter de tondeuse pendant la tonte d'un terrain inégal.
- Tube antéuri
- Tube inférieur d'ensacheur
- Boulons 1/4 × 50,8
- Contre-écrous 1/4


- Tube antréieur
- Boulons 1/4 × 50,8
- Contre-écrous 1/4
- Revêtement en vinyle
- Tube de la poignée décharge
- Ressort de fixation
- Goupille de fixation
- Les surfaces supérieures nivellées
- Support de réglage horizontal
- Support de réglage vertical



Pour assembler le collecteur
REMARQUE: Pour faciliter l'assemblage, vous pouvez obtenir l'aide d'une autre personne en remontant le ramasseherbe.
- Assembliez les tubes d'avant et inférieurs du ramasse-herbe en utilisant les quatre (4) 1/4 × 50,8mm boulons de chariot et écrous fournis. Serrez solidement.
- Glissez l'assemblage d'avant et inférieur du tube à l'intérieur du ramasse-herbe.
- Assemblez les tubes d'avant et supérieurs du ramasse-herbe en utilisant les quatre (4) 1/4 × 50.8mm boulons de chariot et écrous frein fournis. Serrez solidement.
- Mettez tous les revêtements en vinyle sur les tubes d'ensacheur.
- Insérez la poignée pour la décharge d'ensacheur dans l'ouverture de la partie supérieure d'ensacheur, assemblez la goupille de fixation et fixez-la avec le dessort de fixation.
REMARQUE: Pour une utilisation ultérieure, la goupille de fixation peut être enlevée de manière que la poignée pourrait être utilisée pour la décharge de la manche au cas où celle-ci est bouchée.
Adjustement du collecteur
Pour un bel aspect et un fonctionnement optimisé du collecteur, il faut l'ajuster. Il doit y avoir un jeu de 6 mm (1/4") - 9 mm (3/8") entre le collecteur et la partie arrière du tracteur, et le capot du collecteur doit se situer au même niveau que le capot arrière du tracteur.
Réglage horizontal
- Desserrez légèrement les écrous qui fixent les supports du côté droit et du côté gauche du réglage horizontal. Desserrez assez pour que les supports gardent leur position, mais permettent leur déplacement.
- Déplacez les supports en avant ou vers l'arrière à la quantité que vous désirez que l'ensemble du ramasseherbe puisse se déplacer. Bien resserrez les écrous.
Réglage vertical
- Desserrez légèrement les écrous qui fixent les supports du réglage vertical. Desserrez assez pour que les supports gardent leur position, mais permettent leur déplacement.
- Déplacez les supports vers l'haut ou vers le bas à la quantité que vous désirez que l'ensemble du ramasse herbe puisse se déplacer. Bien resserrez les écrous.
- Positionner le bac sur les plaques d'accrochage afin d'en vérifier l'ajustement. Si le résultat n'est pas conforme aux instructions, répéter l'opération jusqu'à obtenir un ajustement parfait.
Pour assembler l'insert broyeur
- Enlever l'arrêt-ressort et le pivot de la poignée.
- Insérer la tête de l'insert dans la poignée. Vérifier si les lettres (A) et (B) sont du même côté sur la tête de l'insert et sur la poignée, et si elles sont visibles du dessus une fois l'insert posé sur le sol.
- Insérer l'axe et le fixer avec la goupille réservée à cet effet. Pour installer l'insert, se reporter (pour passer d'une

Les supports de roue sont bien régés quand ils se trouvent un peu hors du terrain pendant que la tondeuse soit dans la position de hauteur de coupe désirée.
- Réglez les supports de roue quand le tracteur est sur un terrain plat.
- Réglez la tondeuse à la hauteur de coupe désirée.
- Quand la tondeuse est à la position désirée pour la hauteur de coupe, les supports de roue devraient être montés afin qu'ils soient un peu au-dessus de la terre. Installez le support de roue dans le trou approprié avec un boulon à épaulement, une rondelle 3/8 et un écrou frein 3/8-16 et serrez à fond.
- Répétez pour l'autre côté. Installez le support de roue dans le même trou réglable.


- Interrupteur des phares.
- Commande de démarrage et starter.
- Pédale de frein et d'embrayage.
- Lever de changement de vitesse.
- Embrayage et débrayage de l'unité de coupe.
- Abaissement et relevé du plateau de coupe.
- Serrure de contact.
- Frein de parking.
- Réglage de la hauteur de coupe.
F 2. commande de et starter
La commande de gaz permet de régler le régime moteur et donc la vitesse de rotation des lames. En poussant la manette tout en haut, on enclenche le starter. Quand on ramène la manette tout en bas, le moteur tourne au ralenti. Entre ces deux positions maxima, se trouve le régime optimal pour la tonte, signalé par une encoche dans le rail où se déplace la manette.
3. Pédale de frein et d'embrayage
En enfonçant cette pédale, on freine et en même temps on débraye la transmission.

4. Levier de changement de vitesses
La boîte de vitesses a des rapports en marche avant, une position neutre et une marche arrière. Le passage de vitesses peut se faire du point neutre jusqu'à la vitesse maximale sans s'arrêter à chaque position intermédiaire. Il est indispensable d'appuyer sur la pédale d'embrayage (et donc de débrayer) à chaque fois qu'on passe d'une vitesse à l'autre! Le démarrage du tracteur pouvant intervenir indépendamment de la position du levier de vitesses, bien vérifier que le levier de vitesses est au point mort avant d'actionner le clef.
Attention!
Arrête la machine avant de passer de la marche arrière à un rapport de marche avant et réciproquement. Le passage entre les différents rapports de marche avant ne doit pas se faire lorsque la machine se déplace. Ne forcer jamais pour faire passer une vitesse.

- Embrayage et débrayage de l'unité de coupe

6. Abaissement et relèvement du plateau d’écoulement
Tirer le levier vers l'arrière pour relever rapidement le carter de coupe quand il passe sur une surface accidentée. Pour le transport, le carter de coupe doit être dans sa position la plus haute (relevé au maximum). Pour cela, tirer le levier vers l'arrière jusqu'à ce qu'il se bloque. Pour abaisser le carter de coupe, tirer tout à l'arrière le levier vers l'arrière (1), puis enfoncer le bouton pouvoir positionné au-dessus du levier (2), et enfin ramener le levier vers l'avant (3).

7. Serrure de contact
La clé de contact peut être à trois positions :
OFF Le courant électrique est coupé
ON Le courant électrique est branché
START Le démarreur est en circuit
Attention!
Quand la machine reste sans surveillance, ne jamais laisser la clef de contact dans le contacteur.

Pour enclencher le frein de parking :
- Enfoncer à fond la pédale de frein/embrayage.
- En même temps, relever vers le haut le levier du frein de parking et le maintenir dans cette position.
- Relacher la pédale de frein.
Pour déserrer le frein de parking, il suffit ensuite d'enfoncer à nouveau la pédale de frein/embrayage.

9. Réglage de la hauteur de coupe
Pour régler la hauteur de coupe, tirer le levier d'abaissement/relevage du carter de coupe vers l'arrière, et tourner simultanément la molette de réglage. En tournant la molette dans le sens des aiguilles d'une montre, la hauteur de coupe augmente. En la tournant dans le sens inverse, la hauteur de coupe diminue.

4. Avant de démarrer.
Utiliser de l'essence pure (pas de mélange d'huile) sans plomb. Faire le plein d'essence jusqu'au bord inférieur de l'orifice de remplissage, pas au-delà.
Attention!
L'essence est un produit inflammable. Prendre les précautions nécessaires et faire le plein à l'extérieur. Ne pas fumer à proximité et ne pas faire le plein lorsque le moteur est chaud. Ne pas trop remplir le réservoir, penser à l'expansion de l'essence qui risquerait de déborder. Conserver l'essence dans un endroit frais et dans un réservoir spécifique conçu à cet usage. Vérifier le réservoir d'essence et le circuit de distribution du carburant.
L'orifice de remplissage d'huile, qui contient aussi la jauge, est accessible après avoir fait basculer le capot moteur vers l'avant. Le niveau d'huile dans le moteur doit être vérifié à chaque utilisation. S'assurer que la machine est bien sur terrain plat. Dévisser le bouchon, retirer la jauge d'huile et l'essuyer. Remettre la jauge, la visser. L'enlever de nouveau et relever le niveau d'huile sur la jauge.


Le niveau d'huile doit se couvrir entre les deux repères sur la jauge. Sinon, faire l'appoint avec de l'huile moteur SAE 30 jusqu'au repère maxi (FULL). En hiver (au-dessous de ), il faut utiliser de l'huile moteur SAE 5 W-30.

Vérifier régulièrement la pression de gonflage des pneus. La pression d'air dans les pneus doit être de 1 bar à l'avant et de 0,8 bar à l'arrière.
S'assurer que le carte de coupe est en position de transport (en position supérieure) et que le levier pour l'embrayage/débrayage du carte de coupe est en position de débrayage.
Tourner la clef de contact en position de démarrage "START".
Attention!
Ne pas faire tourner le démarreur pendant plus de 5 secondes à la fois. Si le moteur ne démarre pas, attendre une dizaine de secondes avant de refaire un essai de démarriage.
Laisser revenir la clé de contact à la position "ON" lorsque le moteur a démarré. Amener la manette de gaz à la position de régime moteur désiré. Pour la coupe, positionner la manette dans l'encoche correspondant au régime moteur optimal pour la tonte (accélération maximale du moteur).
La machine est équipée d'un interrupteur de sécurité qui arrête immédiatement le moteur si celui-ci tourne encore lorsque le conducteur quitte son siège. Votre carter de coupe est équipé d'une sécurité qui empêche d'embrayer les lames lorsque le collecteur ou le déflecteur ne sont pas correctement montés à l'arrière du tracteur.

Abaisser le carter de coupe en ramenant le levier vers l'avant. Embrayer les lames. Bien vérifier, pendant la tonte, que la commande de gaz se trouve bien dans l'encoche correspondant au régime moteur optimal pour la tonte. Relâcher doucement la pédale de frein/embrayage.
- Enlever les pierres et autres objets se trouvant sur la pelouse et risquant devenir des projectiles au contact des lames.
- Localiser les pierres et autres obstacles à éviter pendant le parcours.
- Commencer par tendre haut puis diminuer progressivement la hauteur de coupe jusqu'à obtenir le résultat.
- Le meilleur résultat s'obtient au régime moteur maxi (les lames tournent vite) et à petite vitesse. Si l'herbe n'est pas trop haute, ni trop dure, la vitesse de tonte peut être augmentée sans modifier notablement la qualité de coupe.
- Les plus belles pelouses sont les pelouses régulièrement tondues. La coupe est plus régulière tout comme la répartition de l'herbe. Le temps passé à tondre n'est pas nécessairement plus important puisque la vitesse de conduite peut être augmentée sans que l'aspect de la pelouse ne s'en ressente.
- Eviter de tondre une pelouse mouillée. La pelouse ne peut être tondue correctement car les roues du tracteur s'enfoncent dans le sol.
- Nettoyer le carter de coupe après chaque utilisation, de préférence avec une raclette pour décoller l'herbe fraîche restée dans le carter et la goulotte d'éjection.

Votre tracteur est équipé d'une alarme sonore qui vous avertit lorsque le bac est plein. Pour arrêter l'alarme, débrayez les lames.
- Amener le tracteur là où vous souhaitez le décharger.
- Mettre le levier de boîte de vitesses au point mort et tirer le frein à main.
- Tirer le levier de vidange du bac vers le haut puis vers l'avant afin d'ouvrir le bac et vider l'herbe coupée.
- Remettre ensuite le levier dans sa position initiale. Vérifier que le collecteur est bien refermé et qu'il se trouve dans la bonne position avant de réembrancher les lames.
Pour passer d'une fonction à l'autre:
Les fonctions (broyage) et (ejection arrêté) nécessitent la mise en place de dispositifs appropriés.
Pour broyer
- Régler le carter sur la position de coupe la plus haute,
- Déposer le collecteur ou le déflecteur (option),
- Décrocher les deux attaches et tirer la goulotte d'éjection hors de son logement :
- Insérer l'insert broyeur tout entier dans la trappe d'éjection et vérifier que la tête vient bien fermer le carter de coupe,
- Une fois l'insert installé, l'immobiliser en accrochant les deux attaches situées de part et d'autre de la poignée dans les points d'ancrage prévus à cet effet de part et d'autre de la trappe d'éjection,
- Replacer le collecteur ou le déflecteur (option) à sa place à l'arrière du tracteur. Ceci est indispensable pour le contacteur de sécurité situé à l'arrière du tracteur.
Pour éjecter
- Régler le carter sur la position de coupe la plus haute, Déposer le collecteur ou l'insert broyeur,
- Réinstaller la goulotte d'éjection dans le tracteur, accrocher la goulotte d'éjection de part et d'autre de la trappe d'éjection avec les attaches réservées à cet effet,
- Installer le déflecteur à l'arrêt du tracteur en vissant les quatre écrous-papillons dans les orifices filetés.
- Bien desserrer les écrous-papillons.
Pour ramasser
- Régler le carter sur la position de coupe la plus haute, Déposer le déflecteur ou l'installateur broyeur,
- Réinstaller la goulotte d'éjection dans le tracteur. Accrocher la goulotte d'éjection de part et d'autre de la trappe d'éjection avec les attaches réservées à cet effet,
- Installer le bac à l'arrière du tracteur.

- Ne pas conduire sur un terrain incliné de plus de. Le risque de se renverser est très important.
- Ne jamais conduire le tracteur parallèlement à la pente à cause du risque de se renverser. Toujours conduire le tracteur perpendiculaire à la pente, pour monter comme pour descendre.
- Ne jamais arrêter ou démarrer le tracteur sur une pente.
- Sur une pente, immobiliser le tracteur pour passer les vitesses. Le changement de vitesse, si le tracteur n'est pas à l'arrêt, peut endommager la boîte de vitesses.

Amener la commande de gaz en position (ralenti), vers le bas "". Débrayer les lames, relever le carter de coupe, laisser le moteur tourner au ralenti pendant 1 à 2 minutes pour qu'il refroidisse avant de l'arrêter après un travail pénible, puis tourner la clef de contact en position (off).

Ne jamais laisser la clé de contact sur la machine lorsqu'elle reste sans surveillance afin d’éviter que des enfants ou autres personnes non autorisées ne puissent démarrer l’outil.

Avant toute intervention sur le moteur ou l'unité de coupe, suivre les instructions ci-après:
- Enfoncer la pédale de frein/embrayage pour permettre le frein de parking.
- Mettre le levier de vitesses sur la position neutre.
- Débrayer les lames.
- Arrête le moteur.
- Débrancher le câble d'allumage de la bougie.

Soulever le capot. - Déconnecter les phares, - Se placer devant le tracteur, prendre le capot par les côtes, l'incliner à l'avant, puis le soulever pour le libérer des encoches qui le fixent au châssis. Pour réinstaller le capot, repositionner les ergots du capot dans les encoches réservées à cet effet. Rebrancher la connexion des phares et refermer le capot.
ATTENTION: Le tracteur doit être périodiquement entretenu afin d'obtenir un rendement efficace.

DANGER: Avant toute intervention: réparation, examen ou mesure d'entretien, débrancher le fil de bougie pour éviter toute mise en marche intempestive.
Avant chaque usage:
- Vérifier le niveau d'huile, et lubrifier au besoin les points d'articulation,
- Vérifier que tous les écrous, boulons et goupilles sont en place et solidement fixés,
- Vérifier la batterie, les polarités et l'évent. Recharger au besoin à 6 A, Nettoyer le grille de ventilation du moteur, Nettoyer le filtre à air
- Retirer du tracteur la poussière et les brindilles qui risqueraient d'endommager le moteur ou de provoquer un échauffement,
- Vérifier l'état des freins.

Afin de réaliser l'entretien du moteur
Se référer au mode d'emploi du moteur.
Soupape de vidange de l'huile
- Enlever le bouchon et introduire le tube de vidange.
- Afin d'ouvrir la soupape, appuyer légèrement, tourner en sens contraire aux aiguilles d'une montre et enlever.
- Afin de fermer la soupape, appuyer et tourner en sens des aiguilles d'une montre. Enlever le tube de vidange et visser le bouchon.
- Bouchon
- Tube de vidange

Indiquer les dates après chaque mesure d'entretien
| Selon besoins | Toutes les 8 h. | Toutes les 25 h. | Toutes les 50 h. | Toutes les 100 h. | Toutes les 200 h. | |
| Vidange d'huile moteur | ● | |||||
| Graissage des articulations | ● | |||||
| Vérification des freins | ||||||
| Nettoyage de la grille d'aération | ||||||
| Nettoyage du filtré à air et du pré-filtre | ||||||
| Remplacement de la cartouche du filtré à air | ● | |||||
| Nettoyage des ailettes de refroidissement moteur | ● | |||||
| Remplacement de la bougie | ● | |||||
| Vérification du gonflage des pneus | ● | |||||
| Remplacement du filtré à carburant | ||||||
| Nettoyage des polarités et connexions de la batterie | ● | |||||
| Vérification du pot d'échéppement | ● | |||||
| Graissage des joints | ● | |||||
| Réglage du parallélisme | ||||||
| Réglage du carburateur |

Les lames doivent être bien affûtées pour avoir une belle coupe. L'affûtage peut se faire avec une lime ou avec une meule.
Attention!
Il est très important d'affûter en même temps et de façon identique les deux extrémités de la lame pour éviter tout déséquilibrage.

(Eng) 5-Star pattern blade w/ right hand threaded bolt D Messerbohrung mit fünfeckiger Aussparung, Gewindebolzen mit Rechtsgewinde. F Lame avec orifice de fixation central (étoile à cinq branches) avec pas de vis à droite Esp Filo cortador de orificio-estrella de cinco puntas y un tornillo dextrogiro Lama affettata con apertura stella cinque (5) punte e bollone filettato a destra NL Mes met 5-hoekige ster en rechtsgangig schroefdraad
6-Star pattern blade w/ left hand threaded bolt D Messerbohrung mit sechseckiger Aussparung, Gewindebolzen mit Linksgewinde F Lame avec orifice de fixation central (étoile à 6 six branches) avec pas de vis à gauche Esp Filo cortador de orificioestrella de seis punatas y un tornillo levogiro Lama affettata con aperture stella a sei (6) punte e bollone filettato a sinistra NL Mes met 6- hoeleige ster en linksgangig schroefdraad

ATTENTION: Les deux lames de la tondeuse sont différentes et chacune d'entre elles doit être installée à sa place dans le carter de coupe. Il est vivement conseillé de travailler sur une lame à la fois pour s'assurer du bon assemblage des composants.

- Boulon de type hexagonal avec filetage à droite
- Circlips
- Rondelle plate
- Lame
- 5 Star Center Hole
- 5 Star Pattern
- TrailingEdge
- Mandrel Assembly
- Hintere (Hilfsschneid-) Kante
- Orifice de fixation central (étoile) à cinq branches.
- Moyeu
- Volute
- Support de lame


- Boulon de type hexagonal avec filetage à gauche
- Circlips
- Rondelle plate
- Lame
- Orifice de fixation central (étoile) à six branches
- Moyeu
- Volute
- Support de lame.

Lame avec orifice de fixation central (étoile à cinq branches):
Cette lame est fixée au moyen d’un boulon avec filetage à droite. On desserre le boulon en le faisant tourner dans le sens inverse des aiguilles d’une montre et on le resserre en le faisant tourner dans le sens des aiguilles d’une montre.

Lame avec orifice de fixation central (étoile à six branches)
Cette lame est fixée au moyen d'un boulon avec filetage à gauche. On déserre le boulon en le faisant tourner dans le sens des aiguilles d'une montre et on le resserre en le faisant tourner dans le sens inverse.


Pour avoir une bonne qualité de coupe, il est indispensable d'avoir des lames bien affûtées. Changer les lames défectueuses ou tordues.
Pour retirer les LAMES.
- Redressez la machine à sa position la plus haute pour avoir accès aux lames coupantes.
- Desserrer le boulon à tête hexagonale, le circlip et la rondelle plate fixant la lame sur le moyeu.
- Installer une nouvelle lame ou la lame d'origine réaffûtée avec le tranchant tourné vers le haut du carter comme indiqué sur le dessin
ATTENTION: Pour que la lame soit bien montée, l'orifice central en forme d'étoile de la lame doit être parfaitement emboîté sur l'étoile du moyeu.
- Remonter le boulon à tête hexagonale, le circlip et la rondelle plate dans l'ordre exact, comme indiqué.
- Resserer le boulon avec un couple de serrage de 3,7 à 4,9 mKg.
ATTENTION: Le boulon de lame a été traité thermiquement - classe 8. Bien respecter le couple de serrage.
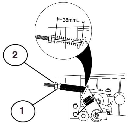
Le frein se situe à l'avant de la roue arrière côté droit. La roue doit être déposée pour avoir une bonne accessibilité.
- Avant toute intervention, enfoncer la pédale de frein/embrayage et engager le frein de parking.
Ne pas oublier de serrer l'écrou de verrouillage après le réglage.

Mesurer la distance entre le levier de frein et l'écrou de réglage.
- La distance doit être de 38mm.
- Si nécessaire, ajuster la distance en commençant par dévisser l'écrou de verrouillage (2) puis en réglant avec l'écrou (1).
Travailler à partir du côté droit du tracteur.
- Déposer ensuite la courroie de la poulie du moteur (1).
- Enlever les deux ressorts arrière en forme d'épingle à cheveux (2) et chasser les axes avec un marteau.
F 3. Enlever les ressorts en forme d'épingle à cheveux (3), (4), (5) et les axes respectifs.
- Tirer le levier pour lever/abaisser le groupe de coupe vers l'arête.
- Retirer le groupe de coupe de la machine.
Pousser le groupe de coupe sous la machine. - Le montage se fait dans l'ordre inverse au démontage.
Changement de la courroie d'entraînement du carter de coupe
- Déposer le carter de coupe (voir chapitre précédent).
- Retirer la courroie en partant de la poulie gauche du carter de coupe, puis des autres poulies.
- Retirer ensuite la courroie de l'unité de coupe.
- Monter la courroie neuve dans l'ordre inverse. Vérifier que la courroie est correctement positionnée devant tous les guides.

A. réglage latéral
- Vérifier que la pression est correcte dans les quatre pneus.
- S'assurer que la machine est sur un terrain plat.
- Relever le carter de coupe dans la position la plus haute.
- Mesurer les distances A et B.
Pour avoir le meilleur résultat de coupe, le bord avant du carter de coupe (B) doit être de 10 mm en dessous du bord arrière (A). Pour relever le bord arrière, procéder de la façon suivante:
- Dévisserez l'écrou (1) sur les supports avant gauche et droit du carter de coupe.
- Visser exactement de la même façon les écrous (2) sur les supports avant du carter de coupe.
- Lorsque la distance (A) est correcte, bloquer le réglage avec l'écrou (1).
Relever le carter de coupe dans sa position la plus haute. - Calculer la distance au sol à partir des milieux des bords extérieurs gauche et droite du carter de coupe. La distance A doit être la même des deux côtés à 6 mm après. - Si le réglage est nécessaire, ne régler qu'un seul des deux côtés par rapport à l'autre. - Soulever ou baisser un côté de la tondeuse en ajustant l'écrou de réglage sur ce côté.
ATTENTION: Chaque trois tours de l'écrou de réglage changera la hauteur de la tondeuse environ 0,3 cm (1/8").
- Révériser la distance au sol après le réglage.
Échange de la courroie d'entraînement moteurboite
- Déposer le carter de coupe du tracteur.
- Déposer le limiteur de déplacement pour l'embrayage (1).
- Serrer le frein de stationnement et enlever la courroie de la poulie de guidage (2), puis de la poulie d'embrayage (3).
- Enlever la courroie en commençant par la poulie sur l'essieu arrêté (4).
- Desserrer ensuite la courroie de la poulie du moteur (5).
F 1. Levier De Contrôle Du Mouvement
- Point Mort Vanne De Fermeture
- Boulon De Réglement

La boîte de vitesse mécanique à différentiel et traction antérieure doit être au "point mort" quand le levier de changement est dans la position (N) (vanne de fermeture). Cette condition est établie par le producteur au moment de la fabrication. Si d'autres réglages sont nécessaires, procédez la façon suivante:
- Vérifier que la boîte de vitesses à différentiel et traction postérieure soit en position de “point mort” (N).
ATTENTION: quand les roues antérieures du tracteur bougent librement, la boîte de vitesses est toujours au "point mort".
- Desserrer le boulon de réglage sur la partie antérieure de la roue postérieure droite
- Placer le levier de changement au point mort (N)
- Serrer à fond le boulon de réglage.
ATTENTION: déplacer le niveau de travail de la faucheuse dans la position la plus BASSE pour augmenter le jeu afin d'accéder au boulon de réglage.

- Manque d'essence dans le réservoir.
- Bougie d'allumage défectueuse.
- Raccord de bougie défectueux.
- Impuretés dans le carburateur ou la canalisation de carburant
Le démarrage n'entraîne pas le moteur
- La batterie est déchargée.
- Mauvais contact entre le câble et la polarité de la batterie.
- Le levier d'embrayage/débrayage n'est pas en bonne position.
- Le fusible principal est endommagé.
- Le contacteur est endommagé.
- Le contact de sécurité pour la pédale de frein/embrayage est endommagé.
- La pédale de frein/embrayage n'est pas enfoncée.
Le moteur ne tourne pas régulièrement
- Trop grande vitesse enclenchée.
- La bougie est défectueuse.
- Le carburateur est mal réglé.
- Le filtre à air est colmaté.
- L'aération du réservoir de carburant est colmatée.
- Le réglage de l'allumage est incorrect.
- Il y a des impuretés dans la canalisation de carburant.
Le moteur manque de puissance
- Le filtre à air est colmaté.
- La bougie d'allumage est défectueuse.
- Il y a des impuretés dans la canalisation de carburant.
- Le carburateur est mal réglé.
Le moteur chauffe
- Le moteur est surchargé.
- La prise d'air ou les ailettes de refroidissement sont colmatées.
- Le ventilateur est endommagé.
- Il y a trop peu ou pas d'huile dans le moteur.
- L'avance à l'allumage est défectueuse
- La bougie d'allumage est défectueuse ou inadaptée.
La batterie ne charge pas
- Le fusible est endommagé.
- Une ou plusieurs cellules sont endommagées.
- Il y a un mauvais contact entre les polarités de batterie et les câbles.
L'éclairage ne fonctionne pas
- Les ampoules sont grillées.
- L'interrupteur est défectueux.
- Il y a un court-circuit dans le fil.
La machine vitre
- Les lames sont mal fixées.
- Le moteur est mal fixé.
- Il y a un déséquilibrage de l'une ou des deux lames par suite de dégâts ou d'un mauvais équilibrage après l'affûtage.
Coupé irrégulièrement
- Les lames ne sont pas bien affûtées.
- Le carter de coupe n'est pas droit.
- L'herbe est longue et mouillée.
- L'herbe s'est accumulée dans le carter.
- La pression de gonflage des pneus n'est pas la même du côté gauche et du côté droit.
- La vitesse enclenchée est trop grande.
- La courroie d'entraînement moteur/lames patine.
Suivre la procédure suivante une fois la saison terminée:
- Nettoyer toute la machine, spécialement l'intérieur du carter de coupe. Faire les retouches de peinture nécessaires pour éviter la rouille. Faire la vidange moteur. Vider le réservoir d'essence. Mettre le moteur en route et le laisser tourner jusqu'à ce que le carburateur soit vide.
- Déposer la bougie et verser une cuillère à soupe d'huile dans le moteur. Faire tourner le moteur à la main pour répartir l'huile et remettre la bougie en place.
- Déposer la batterie. Laisser dans un endroit frais après l'avoir chargée. La protéger du grand froid. Ranger la machine au sec et à l'abri.
Attention!
Ne jamais utiliser d'essence pour le nettoyage. L'essence contient du plomb et du benzène. Utiliser un autre produit de dégraissage et de l'eau chaude.
Entretien et réparations
Indiquer le nom, l'année d'achat, l'année de fabrication, le modèle et le numéro de série de la machine lors de la commande de pièces détachées. Prendre contact avec votre revendeur le plus proche pour les révisions sous-garantie et pour les réparations. Toujours utiliser des pièces détachées d'origine.

Notice Facile