HEYTH 210KC - Tondeuse autoportée HUSQVARNA - Notice d'utilisation et mode d'emploi gratuit
Retrouvez gratuitement la notice de l'appareil HEYTH 210KC HUSQVARNA au format PDF.
| Type d'appareil | Tondeuse autoportée |
| Largeur de coupe | Non précisé |
| Hauteur de coupe | Réglable, plusieurs positions |
| Type de moteur | Essence, 4 temps |
| Puissance moteur | Non précisé |
| Transmission | Hydrostatique ou mécanique |
| Capacité du réservoir | Non précisé |
| Type de démarrage | Électrique |
| Nombre de lames | 1 ou 2 |
| Type de coupe | Mulching, éjection latérale ou ramassage |
| Dimensions (L x l x H) | Non précisé |
| Poids | Non précisé |
| Roues motrices | Arrière |
| Siège | Confortable avec dossier |
| Guidon/Volant | Volant ergonomique |
| Normes | CE |
FOIRE AUX QUESTIONS - HEYTH 210KC HUSQVARNA
Questions des utilisateurs sur HEYTH 210KC HUSQVARNA
0 question sur cet appareil. Repondez a celles que vous connaissez ou posez la votre.
Poser une nouvelle question sur cet appareil
Téléchargez la notice de votre Tondeuse autoportée au format PDF gratuitement ! Retrouvez votre notice HEYTH 210KC - HUSQVARNA et reprennez votre appareil électronique en main. Sur cette page sont publiés tous les documents nécessaires à l'utilisation de votre appareil HEYTH 210KC de la marque HUSQVARNA.
MODE D'EMPLOI HEYTH 210KC HUSQVARNA
Manuel d'instructions
Merci de lire très attentivement le manuel d'instructions. Assurez-vous d'avoir tout compris avant d'utiliser ce tracteur.
Description du fonctionnement.
Entretien, réglages.
Recherche des pannes.
Nous réservons le droit d'apporter des modifications sans visa préalable.
- Lisez toutes les instructions soigneusement. Familiarisez-vous avec les commandes pour apprendre à utiliser efficacement cette machine.
- Ne jamais autoriser les enfants ou les personnes qui n’auraient pas lu ce manuel d'utilisation à utiliser ce tracteur de pelouse. La réglementation locale peut de plus interdire l'utilisation de telle machine au-dessous d’un certain âge.
- Ne jamais tondre à proximité de personnes, d'enfants ou d'animaux.
- Ne pas oublier que tout utilisateur ou propriétaire d'un tracteur de pelouse est responsable des accidents ou dommages causés à une personne ou à ses biens.
- Ne transportez pas de passagers.
- Tous les utilisateurs doivent rechercher et obtenir une formation personnelle sérieuse et pratique qui devra insister :
- sur la nécessité absolue d'être attentif et concentré lorsqu'on utilise un tracteur de pelouse,
- le fait qu'un tracteur de pelouse glissant sur une pente ne pourra pas être arrêté en appuyant simplement sur la pédale de frein.
Les raisons principales de cette perte de contrôle sont :
a) l'adhérence insuffisante des pneus, b) une conduite trop rapide, c) un freinage insuffisant, d) un tracteur de pelouse inadapté aux conditions d'utilisation, e) une mauvaise appréciation des contraintes résultant de la nature du terrain à entretenir et, tout particulièrement de la présence de pentes sur ce terrain, f) l'attelage incorrect d'une remorque et la mauvaise répartition des masses.
II. PREPARATION
- Pendant la tonte, ne porter que des chaussures solides et des pantalons longs. Ne jamais tondre pieds nus ou chaussé de sandales.
- Contrôlez systématiquement et soigneusement l'état de la surface à tondre et éliminez
- ATTENTION - Le carburant est très inflammable.
- Pour transporter ou stocker le carburant, n'utiliser exclusivement que des récipients conçus et approuvés pour ces usages.
- Toujours remplir le réservoir de carburant à l'air libre et ne pas fumer pendant le remplissage.
- Remplir le réservoir de carburant avant de démarrer le moteur. Ne jamais retirer le bouchon du réservoir et ne jamais rajouter de carburant tant que le moteur est en fonctionnement ou qu'il est encore chaud.
- Si du carburant a été renversé, ne pas tenter de démarrer le tracteur, mais le pousser hors de la zone où le carburant a été renversé et éviter de créer une quelconque source de chaleur avant que les vapeurs de carburant ne se soient dissipées.
- Refermer avec précaution les bouchons des réservoirs ou des récipients contenant du carburant pour garantir la sécurité.
- Remplacer les pots d'échappement défectueux.
- Avant d'utiliser un tracteur de pelouse, toujours vérifier que les lames, les boulons de lame et le carter de coupe ne sont pas usés ou endommagés. Toujours replacer les lames et les boulons simultanément de façon à éviter tout problème d'équilibrage.
- Sur les tracteurs de pelouse multi-lames, ne pas oublier que la rotation d'une lame peut entraîner celle des autres.
III. Utilisation
- Ne jamais démarrer un moteur à l'intérieur dans un espace confiné où des émanations dangereuses de monoxyde de carbone pourraient s'accumuler. Tondre uniquement à la lumière du jour ou avec une bonne lumière artificielle.
- Avant de tenter de démarrer le moteur, s'assurer que les lames sont débrayées et que la boîte de vitesses est au point mort.
- Ne jamais utiliser un tracteur de pelouse sur des pentes supérieures à.
- Se souvenir qu’il n’est ’éviter tout risque de retournement du tracteur, appliquer avec soin les consignes suivantes :
- ne pas s'arrêter ou démarrer brusquement dans une pente,
- embrayer doucement et ne jamais arrêter le tracteur de pelouse dans une pente, et plus particulièrement dans le sens de la descente.
- conduire toujours lentement dans les pentes, tout comme dans les virages serrés,
- Faire attention aux irrégularités du terrain,
- ne jamais tondre en travers d'une pente, à moins que le tracteur de pelouse n'ait eté spécialement concu à cet effet.
- Faire attention lors de la traction de charges ou lors de l'utilisation d'équipements lourds.
- N'utiliser que des points d'attelage approuvés.
- Limiter les charges à celles qu'il est possible de contrôler avec sécurité.
- Ne pas tourner trop brusquement. Rester très prudent lors des conduites en marche arrière.
- Utiliser les masses de roues ou les contrepoids lorsqu'ils sont conseillés dans ce manuel d'utilisation.
- Faire attention à la circulation lorsque l'on doit utiliser le tracteur près d'une route ou lorsqu'on doit traverser une route.
- Toujours stopper la rotation des lames lorsqu'on doit traverser une surface autre que du gazon.
- Lors de l'utilisation d'accessoires, ne jamais les utiliser ou les déposer à proximité de quelqu'un.
- Ne jamais utiliser le tracteur de pelouse avec un bac, un déflecteur (option) ou un insert broyeur défectueux ou encore, sans qu'un bac ou un déflecteur ne soit monté sur le tracteur. Pourtant, même en fonction broyage, il faut impérativement, pour la sécurité de l'utilisateur que, soit le bac, soit le déflecteur (option), soient placés à l'arrêt du tracteur.
- Conserver le régime de rotation du moteur et ne jamais le faire fonctionner au-dessus de son régime nominal car cela peut être dangereux.
Avant de quitter le siège:
- débrayer les lames et abaisser le carter de coupe,
- mesure le levier de vitesse au point mort et enclencher le frein de parking,
- arrête le moteur et retire les clés,
- Débrayer les lames, arrêté le moteur, et débrancher le (s) fil (s) de (s) bougie (s) d'allumage ou retarder la cléf de contact :
- avant de retirer l'insert broyeur ou avant de retirer la goulotte d'éjection pour la nettoyer.
- avant de contrôler, nettoyer ou travailler sur le carter de coupe,
- avant de prisoner un objet coincide dans le tracteur de pelouse.
Dans ce cas, inspecter aussitôt la machine pour s'assurer qu'elle n'est pas endommagée et, si nécessaire, faire ou faire faire impérativement les réparations avant de la remettre en marche et de la faire fonctionner à nouveau.
- Si la machine commence à vibrer anormalement.
Dans ce cas vérifier immédiatement le carter de coupe.
- é. Débrayer les lames puis arrêter le moteur :
- avant de faire le plein d'essence,
- avant d'enlever le collecteur,
- avant de régler la hauteur de coupe à moins que ce réglage ne puisse s'effectuer du poste de conduite.
- d'un robinet d'arrêt du carburant, fermer celui-ci.
Entretien et entreposage
- S'assurer que tous les écrous, boulons et vis sont bien serrés pour être certain que l'équipement est prêt à fonctionner de nouveau, dans de bonnes conditions.
- Ne jamais entreprendre le tracteur de pelouse avec du carburant dans le réservoir, dans un bâtiment où les vapeurs pourraient s'enflammer au contact d'une flamme ou d'une étincelle de l'allumage.
- Attendre le refroidissement du moteur avant d'entreposer la tondeuse autoportée dans un espace fermé.
- Pour supprimer les risques d'incendie, s'assurer que le moteur, le pot d'échappement, le logement de la batterie et du réservoir de carburant ne sont pas encrassés par de l'herbe, des feuilles ou des surplus de graisse.
- Vérifier souvent le bac ou le collecteur pour vous assurer qu'il est propre et qu'il n'est pas endommagé.
- Pour plus de sécurité, remplacer systématiquement les pièces usées ou détériorées.
- Si le réservoir de carburant doit être vidangé, procéder à cette opération à l'extérieur.
- Sur les tracteurs de pelouse multi-lames, ne pas oublier que la rotation d'une lame peut entraîner celle des autres.
- Quand le tracteur de pelouse est garé, enterprises ou tout simplement inutilisé, régler la hauteur de coupe dans sa position la plus basse.

ATTENTION: Toujours débrancher le fil de la bougie d'allumage et le placer de telle sorte qu'il ne puisse, en aucun cas, entrer en contact avec la bougie afin de prévenir les démarrages accidentels, lors du montage, du transport, des réglages ou des réparations.

Ces symboles peuvent figurer sur le tracteur ou dans les publications fournies avec le produit. Apprenez à comprendre la signification de ces symboles.

Avant d'utiliser la tondeuse autoportée, certains éléments livrés dans l'emballage doivent être montés.
- Monter la rallonge de l'arbre de direction (1) en alignant bien les trous. Bien serrer la vis et l'écrou.
- Positionner le carénage sur la colonne de direction. S'assurer que les ergots du carénage sont bien placés dans les trous correspondants du tableau de bord.
- Retirer l'adaptateur cranté du volant et le glisser sur l'arbre de direction. Vérifier que les roues avant sont bien alignées selon l'axe d'avancement et positionner le volant sur l'adaptateur. La traverse du volant doit être perpendiculaire à l'axe d'avancement.
- Mettre en place la grande rondelle plate, la rondelle frein et la vis ou l'écrou hexagonal. Serrer fortement.
- Encliqueter l'enjoliveur de volant dans le centre du volant.
1. Rallonge de l'arbre de direction

Retirer le bouton de réglage et la rondelle plate qui fixent le siège à l'emballage de carton, le conserver pour le montage du siège sur le tracteur.
Basculer le siège vers le haut et le sortir de l'emballage de carton. Se débarrasser ensuite de l'emballage.
Placer le siège sur son embase de façon que la tête de la vis à épaulement se place dans le trou à l'extrémité de la large fente de l'embase (1).
Pousser le siège vers le bas pour engager la vis à épaulement dans la fente puis repousser le siège vers l'arrière du tracteur.
La position du siège seul, par rapport à la position de la pédale de frein et d’embrayage, est réglable. Rechercher une position aussi correcte en déplaçant le siège vers l’avant ou vers l’arrière. Serrer ensuite à fond la vis de réglage (2).

Vérifier que le câble électrique est bien connecté sur le contacteur de sécurité (3) placé sous l'embase du siège.
(ES) NOTA!
FR REMARQUE: Si la batterie est mise en service au-delà de l'année et du mois indiqués sur l'étiquette, recharger la batterie pendant une heure au moins à 6-10 A.
ATTENTION : Avant de mettre en place la batterie, prendre la précaution de retirer gourmette, montre-bracelet, anneau, etc. Leur contact avec la batterie pouvant entraîner des brûlures.
Retirer les capuchons de protection des bornes et les mettre de côté. Raccorder en premier le câble rouge (+) à la borne positive de la batterie puis le câble noir (-) à la borne négative. Fixer les deux câbles à l'aide des vis et des écrous fournis. Graisser les bornes de la batterie avec une graisse résistante à l'humidité (vaseline) afin d'éviter la corrosion.
ADVERTENCIA: Avant d'installer la batterie, prenez la précaution d'enlever gourmette, montre-bracelet, anneau, etc. Leur contact avec la batterie causerait des brûlures.
PERICOLO: Avant d'installer la batterie, prenez la précaution d'enlever gourmette, montre-bracelet, anneau, etc. Leur contact avec la batterie causerait des brûlures.
Les roulettes de jauge sont correctement régées lorsqu'elles se trouvent légèrement au-dessus du sol pendant la tonte, le carter de coupe étant à la hauteur désirée pour la coupe.
- Régler les roulettes de jauge lorsque le tracteur se trouve sur un terrain plat.
- Régler le carter de coupe à la hauteur de coupe désirée. Lorsque le carter de coupe est à la hauteur souhaitée, la roulette de jauge doit être placée légèrement au-dessus du sol. Fixer la roulette de jauge dans le trou approprié du support situé sur le carter de coupe à l'aide de la vis, de la rondelle plate 3/8 et de l'écrou frein 3/8-16. Serrer à fond.
- Répéter cette opération pour l'autre côté en plaçant la seconde roulette dans le trou correspondant à celui utilisé pour la première roulette de jauge.


3. Description du fonctionnement.
- Interrupteur de commande des phares
- Commande des gaz (Accélérateur)
- Pédale de frein
- Pédale de marche avant/marche arrière
- Embrayage/débrayage du carter de coupe
- Relevage et abaissement du carter de coupe
- Clé de contact/démarrage
- Frein de parking.
- Blocage/déblocage de la roue libre
- Réglage de la hauteur de coupe
- Starter.
- Lever de commande de la vitesse de croisière (Cruise control)
Commande des gaz
La commande des gaz permet de faire varier le régime du moteur et donc la vitesse de rotation des lames.
= Régime rapide = Ralenti =
2. Accelerator
En enfonçant cette pédale, on freine et en même temps on débraye la transmission.
ES 3. Pédale du frein
4. Pédale de marche avant/arrière
La direction et la vitesse du déplacement sont contrôlées par les pédales de marche avant et de marche arrêté.

- Commande d'embrayage et de débrayage du carter de coupe

6. Relevage et abaissement du carter de coupe
Tirer sur le levier vers l'arrière (1) pour relever rapidement le carter de coupe lors du passage sur une surface accidentée. Pour le transport, le carter de coupe doit être dans sa position la plus élevée (relevé au maximum). Pour cela, tirer le levier vers l'arrière jusqu'à sa butée. Pour abaisser le carter de coupe, tirer légèrement le levier vers l'arrière (1) puis enfoncer le bouton poussoir (2) situé sur le dessus du levier, ramener ensuite le levier vers l'avant (3) en maintenant la pression sur le bouton poussoir.

Clé de contact et de démarrage
La clé de contact possède trois positions :
OFF Le circuit électrique est coupé (éteint)
ON Le circuit électrique est fermé (allumé)
START Le démarreur du moteur est alimenté (Dés le démarriage du moteur, relâcher la clé qui revienda automatiquement sur la position "ON")
Attention!
Lorsque la machine doit rester sans surveillance, même pour un court instant, toujours arrêter le moteur, mettre le levier de commande de vitesse au point mort (Neutre) et retirer la clé de contact.
8. Frein de stationnement
Pour enclencher le frein de stationnement :
- Enfoncer à fond la pédale d'embrayage/frein.
- Relever vers le haut le levier du frein de stationnement et le maintenir dans cette position.
- Relâcher la pédale d'embrayage/frein. Relâcher le levier du frein de stationnement qui restera dans sa position verrouillée (en haut).
Pour desserrer le frein de parking, il suffit d'enclencher la pédale d'embrayage/frein pour que le levier du frein de parking soit déverrouillé et qu'il revienne automatiquement dans sa position de repos.

9. Blocage et déblocage de la roue libre
Pour remorquer ou déplacer le tracteur sans l'aide du moteur, la commande de roue libre, qui se trouve sur le tablier avant du châssis du tracteur, doit être tirée vers l'extérieur et bloquée dans cette position.

10. Réglage de la hauteur de coupe
Pour régler la hauteur de coupe, tirer vers l'arrière le levier de relevage du carter de coupe et faire tourner simultanément le bouton moité du système de réglage de la hauteur de coupe. Pour augmenter la hauteur de coupe, faire tourner le bouton moité dans le sens des aiguilles d'une montre. Pour la diminuer, le faire tourner en sens inverse.

12. Levier de commande de la vitesse de croisière (cruise control)
Le "Cruise Control" permet de conserver la vitesse de croisière sans avoir à appuyer sur la pédale de marche avant.
Le régulateur de vitesse ne devrait être utilisé que pour le fauchage ou le transport du tracteur sur des surfaces relativement lisses et droites. D'autres conditions telles que le repassage à de basses vitesses peuvent débrayer le régulateur de vitesse. N'utilisez pas le régulateur de vitesse sur les pentes, les mauvais terrains ou lors du repassage ou en changeant de direction.

11. Starter
Lorsque le moteur est froid, tirer le bouton de commande du starter avant d'essayer de démarrer. Dès que le moteur a démarré et tourne régulièrement, repousser le bouton de commande.

Utiliser de l'essence pure (sans ajouter d'huile) sans plomb. Remplir le réservoir jusqu'au bord inférieur de l'orifice de remplissage, jamais plus haut.
Attention!
L'essence est un produit inflammable. Prendre les précautions nécessaires et faire le plein en extérieur. Ne jamais fumer lors du remplissage du réservoir, ou à proximité, et ne pas refaire le plein tant que le moteur est encore chaud. Ne pas trop remplir le réservoir, penser à l'expansion de l'essence à la chaleur ce qui risquerait d'entraîner le débordement du réservoir. Toujours s'assurer, après le plein, que le bouchon du réservoir est correctement visser et serré. Conserver l'essence dans un récipient spécialement conçu à cet effet et dans un local frais et aéré. Vérifier régulièrement le réservoir et le circuit d'alimentation en carburant.
L'orifice de remplissage avec son bouchon/jauge est accessible après basculement du capot moteur vers l'avant. Le niveau d'huile du moteur doit être contrôlé avant chaque utilisation. S'assurer que le tracteur se trouve bien à plat, dévisser le bouchon avec sa jauge, essuyer cette dernière. Remettre en place le bouchon/jauge et le revisser. Attendre quelques secondes et retirer à nouveau la jauge. Contrôler le niveau de l'huile sur la jauge.

Le niveau atteint par l'huile doit se situer entre les deux repères sur la jauge. Si ce n'est pas le cas, faire l'appoint avec de l'huile moteur SAE 30 jusqu'au repère "maxi" (FULL), jamais au-dessus. En hiver, lorsque la température est inférieure à 0 °, utiliser de l'huile moteur SAE 5W30.

Pression de gonflage des pneus
Vérifier régulièrement la pression de gonflage des pneus. La pression de l'air dans les pneus doit être de 1 bar pour les roues avant et de 0,8 bar pour les roues arrière.

Démarrage du moteur
S'asseoir sur le siège en position de conduite, appuyer sur la pédale de frein et tirer le frein à main. S'assurer que le carter de coupe est en position de transport (en position relevée) et que la commande d'embrayage et de débrayage du carter de coupe est en position de débrayage.
Amener la clé de contact sur la position "Démarrage" ("START").
Remarque!
Ne pas laisser tourner le démarreur plus de 5 secondes à chaque fois. Si le moteur ne démarre pas immédiatement, attendre une dizaine de secondes avant d'effectuer une nouvelle tentative.
Pour assurer un fonctionnement et un rendement corrects, il est recommandé de purger la transmission avant d'utiliser le tracteur pour la première fois. Cette opération supprimera l'air emprisonné à l'intérieur de la transmission pendant le transport du tracteur.
ATTENTION! SI LA TRANSMISSION A ETE DEPOSE POURSON ENTRETIEN OUSON REMPLACEMENT, ELLE DEVRA ETRE PURGEE APRES SON REMONTAGE ET AVANT REUTILISATION DU TRACTEUR.
- Placer le tracteur sur une surface plane afin qu'il ne puisse pas rouler dans aucune direction. Le frein de stationnement doit être desserré pour effectuer les opérations suivantes.
- Débrayer la transmission en plaçant la commande de roue libre sur sa position de marche en roue libre (Se référer à la section "TRANSPORT" de ce livre).
- Démarrer le moteur et mettre la commande des gaz en position de ralenti. S'assurer que le frein de stationnement n'est pas serré.
- Déplacer à fond le levier de commande d'avancement en position de marche avant et le maintenir ainsi pendant 5 secondes. Déplacer ensuite à fond le levier en position de marche arrêté et le maintenir ainsi pendant 5 secondes. Répéter ces opérations 3 fois de suite.
- Arrêtez le moteur du tracteur en amenant la clé de contact sur sa position d'arrêt (OFF).
- Embrayer à nouveau la transmission en replaçant la commande de roue libre dans sa position "embrayée" (Voir section "TRANSPORT" de ce manuel).
- Redémarrer le moteur et placer la commande des gaz en position de ralenti.
- Faire avancer le tracteur de 1 à 2 mètres en marche avant, puis de la même distance en marche arrière. Répéter cette opération 3 fois de suite.
- Le tracteur est maintenant prêt pour une utilisation normale.
La machine est équipée d'un dispositif de sécurité qui arrête le moteur immédiatement, s'il est encore en fonctionnement, lorsque le conducteur quitte le siège du tracteur.

Pour avancer et pour reculer
La direction et la vitesse du déplacement sont contrôlées par les pédales de marche avant et de marche arrêté.
- Démarrer le tracteur et relâcher le frein de stationnement.
- Appuyer doucement sur la pédale de marche avant, ou sur celle de marche arrêté, pour que le tracteur commence à se déplacer. Plus la pédale est enfoncée, plus la vitesse augmente.
Comment utiliser le "cruise control" (contrôle de la vitesse de croisière)
La fonction "Cruise Control" n'est utilisable qu'en marche avant.
- Appuyer sur la pédale de marche avant jusqu'à ce que la vitesse désirée soit atteinte, pousser alors le levier de commande de "Cruise Control" sur "SET" et le maintenir tout en relevant le pied de la pédale de marche avant. Relâcher ensuite le levier de commande du "Cruise Control".
- Pour déverrouiller le "Cruise Control", tirer le levier de commande vers l'arrière sur la position "OFF" ou appuyer à fond sur la pédale de frein.
Coupe
Abaisser le carter de coupe en repoussant le levier de commande de releverage vers l'avant et embrayer le carter de coupe. Choisir la vitesse d'avancement en fonction du terrain et de la qualité de coupe désirée.


Conseils pour la tonte
- Retirer de la pelouse, les pierres et autres objets qui pourraient être propulsés par les lames et doivent ainsi des projectiles dangereux.
- Localiser et marquer les pierres et autres obstacles fixes afin d’éviter une éventuelle collision pendant la tonte.
- Commencer par couper assez haut, puis réduire progressivement cette hauteur de coupe jusqu'à l'obtention du résultat souhaité.
- Le meilleur résultat de coupe sera obtenu avec un régime de rotation du moteur élevé (Les lames tournent très vite) et une vitesse d'avancement réduite (Le tracteur avance lentement). Si l'herbe n'est pas trop haute, ni trop dense, la vitesse d'avancement du tracteur peut être augmentée, en choisissant le rapport de boîte de vitesses supérieur ou en réduisant le régime du moteur, sans affecter la qualité de la coupe.
- Les plus belles pelouses sont celles qui sont tondues souvent. La coupe est plus régulière et l'herbe est mieux répartie sur la surface. Le temps passé pour effectuer la tonte ne sera pas nécessairement plus important, car la vitesse d'avancement pourra être plus élevée sans que l'aspect de la pelouse n'en soit affecté.
- Eviter de to ncement des roues du tracteur dans le sol.
- Nettoyer le carter de coupe, et en particulier le fond, au jet ou au nettoyeur à haute pression, après chaque utilisation. Une raclette peut être utile pour décoller l'herbe fraîche du carter ou de la goulotte d'éjection.
- Ne jamais utiliser un tracteur sur des pentes excédant. Les risques de renversement étant alors très importants.
- Ne jamais rouler parallèlement à la pente du fait des risques de renversement. Toujours rouler perpendiculairement à la pente, aussi bien en montant qu'en descendant.
- Ne jamais arrêter ou démarrer un tracteur en pente.

Tondre en tournant vers la droite afin de rejeter l'herbe loin des massifs et des allées. Pour les grandes pelouses, changer de sens tous les 2 ou 3 tours pour que l'herbe soit rejetée sur la surface déjà tondue comme le montre la figure ci-dessus.

Arrêt du moteur
Amener la commande des gaz vers le bas en position de ralenti "". Débrayer les lames en abaissant le levier de commande d'embrayage des lames. Relever le carter de coupe et amener la clé de contact sur la position "OFF". Après des travaux difficiles, laisser le moteur tourner au ralenti pendant 1 à 2 minutes pour qu'il refroidisse avant de l'arrêter.
Ne jamais laisser la clé de contact sur la machine lorsqu'elle reste sans surveillance afin d'éviter que des enfants ou autres personnes non autorisées ne puissent démarrer le moteur.
Avant toute intervention sur le moteur ou l'unité de coupe, suivre les instructions ci-après:
- Enfoncer la pédale de frein pour permettre le frein de parking. Débrayer les lames.
- Arrête le moteur.
- Débrancher le câble d'allumage de la bougie.

Relever le capot, - Débrancher les phares, - Après s’être placé devant le tracteur, prendre le capot par les côtés, le faire basculer vers l’avant puis le soulever pour le libérer des encoches qui le retiennent au chassis. Pour le remettre en place, repositionner les ergots du capot dans les encoches du châssis. Rebrancher les phares et refermer le capot.
REMARQUE: Le tracteur doit être entretenu régulièrement afin de maintenir ses performances.

ATTENTION! Toujours débrancher le fil de la bougie, afin d'éviter tout démarrage accidentel, lors d'une réparation, d'une inspection ou d'une opération de maintenance.
Avant chaque utilisation :
- Contrôler le niveau d'huile et lubrifier, si nécessaire, les points d'articulation,
- Vérifier que tous les boulons, écrous et épinges sont en place et solidement fixés,
- Contrôler la batterie, ses cosses et sa mise à l'air libre. La recharger doucement à 6 ampères, si nécessaire. Nettoyer la grille de ventilation du moteur. Nettoyer le filtre à air.
- Nettoyer le tracteur afin d'évacuer la poussière et les brindilles qui risqueraient d'endommager le moteur ou de provoquer un échauffement anormal.
- Vérifier le fonctionnement du frein.
Nettoyage
N'utilisez pas de nettoyeur haute pression pour le lavage. L'eau pourrait s'infiltrer dans le moteur et abréger ainsi la durée de vie de l'appareil.

Pour assurer l'entretien du moteur
Se référer au manuel d'utilisation du moteur.
Vidange de l'huile du moteur
- Retirer le bouchon (1) et placer le tuyau de vidange (2). Pour ouvrir la soupape de vidange, repousser légèrement la soupape en la faisant tourner dans le sens contraire des aiguilles d'une montre pour sortir du cran, puis tirer sur la soupape pour libérer l'huile. Pour refermer la soupape de vidange, repousser la soupape et la faire tourner légèrement dans le sens des aiguilles d'une montre jusqu'au verrouillage du cran et relâcher la soupape.
- Retirer le tuyau de vidange et replacer le bouchon.
- Bouchon
- Tuyau de vidange

Consignez les dates d'intervention après chaque opération d'entretien.
| Selon les besoins | Toutes les 8 H | Toutes les 25 H | Toutes les 50 H | Toutes les 100 H | Toutes les 200 H | |
| Vidange de l'huile moteur(sans filtré à huile) | • | |||||
| Vidange de l'huile moteur(avec filtré à huile) | • | |||||
| Graissage des articulations | • | |||||
| Vérification des freins | ||||||
| Nettoyage de la grille d'aération | • | |||||
| Nettoyage du filtré à air et du pré-filtre | • | |||||
| Remplacement de la cartouche du filtré à air | • | |||||
| Nettoyage des ailettes defréroidissement moteur | • | |||||
| Remplacement de la bougie | • | |||||
| Vérification du gonflage des pneus | ||||||
| Remplacement du filtré à carburant | • | |||||
| Nettoyage des cosses de la batterie et des connexions | • | |||||
| Vérification du pot d'échéppement | • | |||||
| Graissage des joints | • | |||||
| Réglage du parallélisme | ||||||
| Réglage du carburateur |

Pour avoir une bonne qualité de coupe, il est indispensable d'avoir des lames bien affûtées. Changer les lames défectueuses ou tordues. L'affûtage peut se faire avec une lime ou avec une meule.
REMARQUE: Il est très important d'affûter en même temps et de façon identique les deux extrémités de la lame pour éviter tout déséquilibrage.
Pour retirer les LAMES
- Relever au maximum la machine pour avoir accès aux lames de coupe.
- Desserrer la vis à tête hexagonale qui fixe la lame sur le moyeu, sortir la vis ainsi que la rondelle frein, la rondelle plate et la lame.
- Mettre en place une lame neuve, ou la lame d'origine réaffutée, avec le tranchant tourné vers le haut (fond du carter de coupe), comme indiqué sur la figure.
ATTENTION: Le montage de la lame est correct lorsque l'alésage central en forme d'étoile est parfaitement emboîtée sur l'étoile se trouvant à l'extrémité du moyeu.
- Remettre en place la rondelle plate, la rondelle grower et la vis dans l'ordre indiqué.
- Resserrer la vis avec un couple de serrage de 3,7 à 4,9 mKg.
ATTENTION: La vis de fixation de la lame est traitée thermiquement en classe 8, bien respecter le couple de serrage.


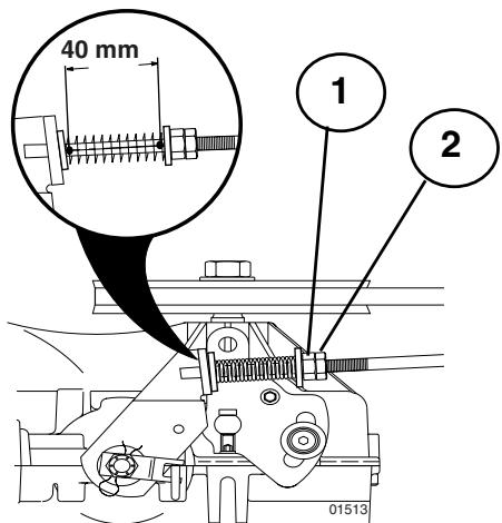
Le frein se trouve à l'avant de la roue arrière côté droit. La roue doit être déposée pour obtenir une bonne accessibilité.
- Avant toute intervention, enfoncer la pédale d'embrayage/frein et verrouiller le frein de parking.

Ne pas oublier de desserrer le contre-écrou (2) après avoir effectué le réglage.


- Mesurer la distance entre le levier de frein et l'écrou de réglage.
- La distance doit être de 40 mm.
- Si nécessaire, ajuster la distance en commençant par dévisser le contre-écrou (2) puis en réglant la position de l'écrou (1).

Effectuer l'intervention à partir du côté droit du tracteur.
- Sortir la courroie d'entraînement de la gorge de la poulie motrice (1).
- Retirer les deux épingles fixant les bras de suspension arrière et sortir les bras en tapotant sur leur axe à l'aide d'un marteau.
- Retirer les épingles (3), (4) et (5) et leur cheville respective.
- Tirer vers l'arrière le levier de commande de releverage du carter de coupe.
- Sortir le carter de coupe de sous le tracteur.

Mise en place du carter de coupe
- Pousser le carter de coupe sous le tracteur. Le déflecteur du canal d'éjection doit se trouver du côté droit.
- La mise en place se fait dans l'ordre inverse de celui de la dépose.

Remplacement de la courroie d'entraînement du carter de coupe
- Déposer le carter de coupe (voir chapitre précédent).
- Sortir la courroie d'entraînement des gorges de poulie en commençant par la poulie du côté gauche du carter de coupe, puis par les autres poulies.
- Retirer ensuite entièrement la courroie du carter de coupe.
- Pour la mise en place de la nouvelle courroie, procéder dans l'ordre inverse. Vérifier que la courroie est correctement positionnée devant tous les guides de courroie.

Réglage du carter de coupe a. réglage latéral
- Vérifier que la pression dans les quatre pneus est correcte.
- S'assurer que le tracteur est placé sur une surface plane.
- Relever au maximum le carter de coupe.
- Mesurer les distances A et B.

Pour obtenir la coupe la meilleure, le bord avant du carter de coupe (B) doit être situé à 10 mm au-dessous du plan du bord arrière (A). Pour régler la position du bord arrière, procéder de la manière suivante:
- Desserrer l'écrou (1) sur les biellettes de suspension avant, droite et gauche, du carter de coupe.
- Visser les écrous (2) exactement de la même façon sur les biellettes de suspension avant, droite et gauche.
- Lorsque la distance (A) est correcte, verrouiller ce réglage en desserrant l'écrou (1).
(1) Extrémités du carter de coupe (2) Écrou de réglage du bras de suspension arrière
Relever le carter de coupe au maximum. - À partir du milieu de chaque extrémité latérales du carter de coupe, mesurer la distance du bord du carter par rapport au sol. La distance (A) doit être la même des deux côtés à 6 mm près. Si un réglage est nécessaire, ne l'effectuer que d'un seul côté en se référant à l'autre côté. - Abaisser ou soulever un côté du carter de coupe en ajustant la position de l'écrou de réglage de ce côté.
REMARQUE: Trois tours complets de l'écrou de réglage correspondent à une variation de la hauteur au-dessus du sol, du carter de coupe, de 0,3 cm.
- Contrôler à nouveau la distance au sol après chaque opération de réglage.
Remplacement de la courroie d'entraînement
- Désaccoupler le carter de coupe du tracteur comme indiqué précédemment. (Chapitre 6.6).
- Débrancher le connecteur (1) du câble d'alimentation de l'embrayage électromagnétique.
- Démonter le limiteur de débattement de l'embrayage électromagnétique (2).
- Serrer le frein de stationnement et retirer la courroie d'entraînement de la poulie de guidage (3), puis de la poulie de tension (4).
- À l'arrière, faire passer la courroie entre deux pales de la turbine de refroidissement (5) et faire tourner à la main la turbine dans le sens inverse des aiguilles d'une montre pour dégager la courroie.
- Enfin, dégager la courroie de la poulie motrice (6).

La mise en place d'une courroie se fait dans l'ordre inverse de la dépose. Vérifier que la courroie est bien positionnée devant tous les guides de courroie. Utiliser exclusivement une courroie d'origine lors d’un remplacement.

Le ventilateur et les ailettes de refroidissement du carter de transmission doivent être maintenus propres pour assurer un refroidissement correct.
Ne pas essayer de nettoyer le ventilateur ou la transmission tant que le moteur est en fonctionnement ou que la transmission est chaude.
- Vérifier le ventilateur de refroidissement afin de s'assurer que ses pales sont en bon état et propres.
- Vérifier l'état des ailettes de refroidissement du carter de transmission qui ne doivent pas être couvertes de poussière, de résidus de coupe ou d'autres matériaux. Afin d'éviter des fuites eventuelles au niveau des joints, ne pas utiliser d'air comprimé ou de nettoyeur à haute pression pour nettoyer les ailettes.
FLUIDE de la POMPE hydraulique
La transmission est scellée en usine et il n'est donc pas nécessaire de contrôle ou de parfaire le niveau du fluide. Dans le cas où la transmission présenterait une fuite ou nécessiterait une intervention, contacter un réparateur agréé de la marque de la transmission.
- Manque de carburant dans le réservoir.
- Bougie d'allumage défectueuse.
- Le câblage de la bougie d'allumage est défectueux.
- Il y a des impuretés dans le carburateur ou dans le circuit du carburant.
Le démarreur n'entraîne pas le moteur
- La batterie est déchargée.
- Mauvais contact entre les cosses des câbles de batterie et les bornes de la batterie.
- Le levier de commande d'embrayage/débrayage n'est pas en bonne position.
- Le fusible principal est hors d'usage.
- Le contacteur de démarrage est endommagé.
- Le contacteur de sécurité sur la pédale d'embrayage/frein est défectueux ou endommagé.
- La pédale d'embrayage/frein n'est pas suffisamment enfoncée.
Le moteur ne tourne pas régulièrement
- Un rapport de vitesse trop élevé est enclenché.
- La bougie est défectueuse.
- Le carburateur est mal réglé.
- Le filtre à air est colmaté.
- La mise à l'air libre du réservoir est bouchée.
- Le réglage de l'allumage est incorrect.
- Il y a des impuretés dans le circuit de carburant.
Le moteur manque de puissance
- Le filtre à air est colmaté.
- La bougie d'allumage est déficiente
- Il y a des impuretés dans le circuit de carburant.
- Le carburateur est mal réglé.
Le moteur chauffe
- Le moteur est en surcharge.
- La prise d'air ou les ailettes de refroidissement sont colmatées.
- La turbine de refroidissement est endommagée.
- Le niveau d'huile est trop bas ou il n'y a pas d'huile dans le moteur.
- Le réglage de l'allumage est incorrect.
- La bougie d'allumage est défective.
La batterie ne charge pas
- Le fusible est hors d'usage.
- Une ou plusieurs cellules sont endommagées.
- Mauvais contact entre les bornes de la batterie et les cosses des câbles de batterie.
L'éclairage ne fonctionne pas
- Les ampoules sont grillées.
- L'interrupteur de commande est défectueux.
- Il y a un court-circuit dans le faisceau de raccordement.
Le tracteur vibre
- Les lames de coupe sont mal fixées ou mal positionnées.
- Le moteur est mal fixé.
- Un déséquilibre est apparu à la suite de l'endommagement d'une ou de plusieurs lames de coupe ou à la suite d'un mauvais affûtage.
Coupe irrégulière
- Mauvais affûtage des lames de coupe.
- Le carter de coupe n'est pas à l'horizontale.
- L'herbe est haute et humide.
- L'herbe est accumulée sous le carter de coupe.
- La pression de gonflage des pneumatiques n'est pas identique du côté droit et du côté gauche.
- Le rapport de vitesse enclenché est trop élevé.
- La courroie d'entraînement du carter de coupe patine.
- En fin de saison, suivre la procédure suivante pour le remisage. N'utilise pas de nettoyeur haute pression pour le lavage. L'eau pourrait s'infiltrer dans le moteur et abréger ainsi la durée de vie de l'appareil.
- Nettoyer l'ensemble de la machine et plus particulièrement l'intérieur du carter de coupe.
- Effectuer les retouches de peinture qui s'avéreraient nécessaires afin d'éviter la corrosion.
- Vidanger le moteur.
- Retirer la bougie d'allumage et verser une cuillère à soupe d'huile dans le moteur. Faire tourner le moteur à la main pour répartir l'huile et remettre la bougie en place.
- Déposer la batterie et la remettre dans un endroit frais après l'avoir rechargée. La protéger des grands froids.
- Remiser la machine à l'abri dans un endroit sec et protégé de la poussière.
Attention!
Ne jamais utiliser d'essence pour effectuer le nettoyage. Utiliser un détergent du commerce et de l'eau chaude.
Entretien et réparations
Pour commander des pièces de rechange, indiquer le nom du modèle, sa version, l’année d’achat, l’année de fabrication et le numéro de série de la machine. Prendre contact avec le revendeur local pour les révisions sous garantie et pour les réparations. Toujours utiliser des pièces de rechange d'origine.
Déclaré par la présente que la machinerie désignée ci-dessous:
- Catégorie............ Tondeuse rotative
- Niveau de puissance
Marque. HUSQVARNA
acoustique garantie 100 dB (A)
Modèle : HEYTH210KC
- Niveau de puissance
- Numéro de série (Plaque du modèle)
acoustique mesure 99 dB (A)
Dispositif de coupe..... Lame fixes
Testé par... EHP Orangeburg
Largeur de coupe 107 cm
Organisme notifié.. SNCH
et aux révisions actuelles
des directives européennes
suivantes:
98/37/EC
89/336/EEC
2000/14/EC: #e13*2000/
14 2000/14 0051*00
Procédure d'évaluation
conformité ; Annexe VIII
Complétez le: Electrolux Home Products
Directeur de certification
certification des produits
Notice Facile