W 1622 - Lave-linge MIELE - Notice d'utilisation et mode d'emploi gratuit
Retrouvez gratuitement la notice de l'appareil W 1622 MIELE au format PDF.
| Type de produit | Lave-linge frontal |
| Capacité de lavage | 7 kg |
| Vitesse d'essorage | 1400 tours/minute |
| Classe énergétique | A+++ |
| Consommation d'eau | 49 litres par cycle |
| Dimensions approximatives | 85 x 59.5 x 63.6 cm |
| Poids | 80 kg |
| Alimentation électrique | 230 V |
| Puissance | 2000 W |
| Fonctions principales | Programmes de lavage variés, fonction de départ différé, contrôle de la mousse |
| Entretien et nettoyage | Nettoyage régulier du filtre, entretien du tiroir à lessive |
| Pièces détachées et réparabilité | Disponibilité de pièces détachées Miele, service après-vente |
| Sécurité | Système de verrouillage de porte, protection contre les débordements |
| Informations générales | Fabrication allemande, garantie de 2 ans, options de financement disponibles |
FOIRE AUX QUESTIONS - W 1622 MIELE
Questions des utilisateurs sur W 1622 MIELE
Pour télécharger le manuel ou d'autres documents relatifs à votre lave-linge MIELE W 1622, suivez ces étapes simples :
- Accédez au site officiel de MIELE : Ouvrez votre navigateur internet et rendez-vous sur www.miele.fr.
- Recherchez votre modèle : Utilisez la barre de recherche en haut du site pour taper "W 1622" et sélectionnez votre lave-linge dans les résultats.
- Accédez à la section téléchargements : Sur la page dédiée à votre modèle, cherchez un onglet ou une section nommée "Téléchargements", "Documents", ou "Manuels".
- Téléchargez le document souhaité : Cliquez sur le lien du manuel d'utilisation ou autre document que vous souhaitez obtenir. Le fichier sera généralement au format PDF et pourra être enregistré sur votre appareil.
Cette méthode vous permet d'obtenir facilement toutes les informations officielles nécessaires pour utiliser et entretenir votre lave-linge MIELE W 1622.
Téléchargez la notice de votre Lave-linge au format PDF gratuitement ! Retrouvez votre notice W 1622 - MIELE et reprennez votre appareil électronique en main. Sur cette page sont publiés tous les documents nécessaires à l'utilisation de votre appareil W 1622 de la marque MIELE.
MODE D'EMPLOI W 1622 MIELE
Lisez impératifement ce mode d'emploi avant d'installer et de mettre en service cet apparéil. Vous vous protégerez ainsi et évitezrez de détériorer votre apparéil.
fr - FR
Votre contribution à la protection de l'environnement
Elimination de l'emballage
L'emballage protège les lave-linge des avaries de transport. Les matériaux utilisés sont choisis en fonction de critères ecologiques, de façon à en faciliter le recyclage.
Le recyclage de l'emballage économique les matières premières et réduit le volume des déchets à éliminer. En原則, le revendeur reprend l'emballage à sa mise en service.
Enlèvement de l'ancien apparéil
Les ancients apparèils électriques et électroniques contiennent souvent en-core des matériaux recyclables. Ils contiennent également des matériaux nocifs, nécessaires au bon fonctionnement et à la sécurité de l'appareil. Ces matériaux peuvent être dangereux pour les hommes et l'environnement s'ils restent dans la collecte de déchets ou s'ils sont mal manipulés. Ne jetez par conséquent enaucun cas votre apparèil avec les déchets.

Faites appel au service d'enlèvement mis en place par votre commune ou rapportez votre apparéil dans un point de collecte spécifique adapté à l'évacuation de ce type d' apparéils.
Gardez l'ancien apparéil hors de portée des enfants jusqu'à son enlevement, pour éviter tout accident.
Votrecombributiona protectionde l'environnement 2
Prescriptions de sécurité et mises en garde 6
Utilisation du lave-linge 10
Bandeau de commande 10
Première mise en service 12
Lavage ecologique 13
Consommation d'énergie et d'eau 13
Consommation de lessive. 13
Bonneutilisationdevoretelave-linge 14
Mode d'emploi rapide 14
Essorage 19
Vitesse d'essorage finale 19
Essorage intermediaire. 19
Désactiver l'essorage final (Arrêt cuve pleine/
Désactiver l'essorage intermédiaire et l'essorage final (sans ©). 19
Départ différé 20
Tableau des programmes 21
Options 23
Symboles d'entretien 24
Déroulement de programme 25
Modification du déroulement de programme 27
Annulation 27
Interruption 27
Modification 27
Ajout/Déchargement de linge 28
Sécurité enfants 28
Table des matieres
Lessive 29
Quelle lessive besoin ? 29
Anticalcaire 30
Utilisation de plusieurs produits de lavage 30
Amidon / assouplissant 31
Adjonction automatique d'assouplissant, de produit de tenue ou d'amidon liquide 31
Décolorer/Teinter 31
Nettoyage et entretien 32
Nettoyage du tambour 32
Nettoyage de la carrosserie et du bandeau de commande 32
Nettoyage de la boite à produits 32
Nettoyage des filtres dans le tuyau d'arrivée d'eau 34
Recherche des anomalies 35
Que faire si 35
impossible de démarrer un programme de lavage. 35
L'écran affiche le défaut suivant 36
Problèmes d'ordre général 37
Résultat de lavage insatisfaisant 38
La touche Porte est actionnée mais celle-ci ne s'ouvre pas. 39
Déverrouillage de portemanuel en cas de vidange obstruée
et/ou de panne de courant 40
Vidange obstruée 40
ServiceAprésVente 42
Réparations. 42
Actualisation de la programmation (diode PC) 42
Conditions et période de garantie 42
Accessoires en option 42
Installation et raccordement 43
Vue de face 43
Vue de l'arrière. 44
Lieu d'installation 45
Transport sur le lieu d'installation 45
Démontage des sécurités de transport 45
Mise en place des sécurités de transport 47
Calage 48
Devisage et blocage des pieds 48
Encastrement sous un plan de travail 49
Colonne lave-linge/sèche-linge 49
Le système Watercontrol Miele 50
Arrivée d'eau 51
Vidange 52
Branchementélectrique 53
Consommations 54
Remarque sur les essais comparatifs : 54
Ca racteristiques techniques 55
Fonctions optionnelles 57
Ouvr les fonctions optionnelles 57
Pour selectionner une fonction optionnelle. 57
Modification de la fonction optionnelle 57
Quitter la fonction optionnelle 57
Langue 57
Hydro plus 58
Rythme délicat 58
Refroidissement bain 58
Code 59
Unité de température 60
Signal sonore 60
Bip de validation 60
Luminosite 60
Contraste 60
Veille 61
Memoire 61
Infroissable 61
Prescriptions de sécurité et mises en garde
Ce lave-linge est conforme aux réglementations de sécurité en vigueur. Une utilisation non conforme comporte des risques pour les personnes et l'appareil.
Lisez attentivement ce mode d'emploi avant d'utiliser le lave-linge pour la première fois. Il vous fournit des informations importantes sur la sécurité, l'utilisation et l'entretien de l'appareil. Vous vous protégerez ainsi et évitez des déteriorations sur votre apparéil.
Conservez soigneusement ce mode d'emploi pour pouvoir le transmettre à un évientuel futur propriétaire.
Utilisation conforme
Ce lave-linge est exclusivement concu pour laver des textiles portant la mention "lavable en machine". Toute autre utilisation peut etre dangereuse. Miele n'est pas responsable de dommages causés par une utilisation incorructe, non conforme aux prescriptions.
Les personnes qui ne sont pas en mesure d'utiliser ce lave-linge en toute sécurité en raison de déficiencies physiques, sensorielles ou mentales, de leur inexperience ou manque de connaissances ne doivent pas l'utiliser sans la surveillance d'une personne responsable.
Précautions à prendre avec les enfants
Surveillance les enfants lorsquils jouent à proximé du lave-linge. Les enfants ne doivent pas journé avec le lave-linge.
Les enfants sont autorisés à utiliser le lave-linge sans surveillance uniquement si vous leur avez expliqué comment le manipulier sans danger. Ils doivent être conscients des risques encourus en cas de mauvaise manipulation.
N'oubliez pas que le hublot est très chaud lorsque vous lavez à températe elevée.
Empêchez les enfants d'y toucher pendant le fonctionnement du lave-linge.
Sécurité technique
Contrôlez si l'appareil ne présente pas de déteriorations visibles avant de l'installer.
N'installez pas et ne mettez pas en service un apparéil endommagé.
Comparez impératifement les données de branchement (fusible, tension et fréquence) portées sur la plaque signaletique avec celles du réseau électrique. Dans le doute, interrogez un électricien.
La sécurité électrique de cet apparéil n'est garantie que s'il est raccordé à un système de mise à la terre homologué.
Il est très important que cette condition de sécurité élémentaire, et, en cas de doute toute l'installation domestique, soient contrôlees par un professionnel. Miele ne peut être tenu responsable de dommages causés par une mise à la terre manquante ou défectueuse.
Pour des raisons de sécurité, n'utilis-sez pas de rallonge (risque d'incendie d'a la surchauffe).
Remplacer les pieces défectueuses uniquement par des pieces détachées d'origine Miele, que nous garantissons répondre totalement aux exigences de sécurité en vigueur.
Les réparations incorrectes peuvent entrainer de graves dangers pour l'utilisateur pour lesquels le fabricant décline toute responsabilité. Les interventions techniques ne doivent être exécutées que par des spécialistes.
Si le cordon d'alimentation électric et est endommagé, celui-ci doit imperativement être remplaced par un technicien SAV agrée par Miele afin d'eviter tout risque pour l'utilisateur.
Pour réparer, nettoyer ou entretenir l'appareil, déconnectez-le en :
- débranchant la fiche ou en
- déclenchant le fusible.
Il faut impératifement utiliser un jeu de tuyaux neufs pour le raccordement à l'eau. Les tuyaux usages sont pros-crits.
Prescriptions de sécurité et mises en garde
Le montage et la mise en service de cet apparéil sur des unités mobiles (des bateaux par exemple) ne peuvent être effectuels que par des entreprises spécialisées ou des professionnels, en veillant à ce que les conditions nécessaires au fonctionnement de l' apparéil en toute sécurité soient réunies.
Installation et utilisation
N'installez pas votre lave-linge dans une piece exposée au gel. Les tuyaux gelés peuvent se fendre ou éclater. Des températures en dessous de 0^ peuvent diminuer la fiabilité de la plaine électronique.
Enlevez la sécurité de transport à l'arrête de l'appareil avant la mise en service (voir chapitre "Installation et raccordement", "Démontage des sécurités de transport"). Une sécurité de transport non enlevée peut provoquer à l'essorage des déteriorations sur la machine et sur les meubles/appareils contigus.
Fermez le robinet d'eau en cas d'absence prolongée (vacances par ex.) sur tout s'il n'existe pas de vidange au sol (regard) à proximité de l'appareil.
Risque d'inondation!
Vérifiez que l'eau s'écoule suffisamment vite avant d'accrocher le tuyau de vidange dans un évier ou un lavabo.
Bloquez le tuyau de vidange pour éviter qu'il ne glisse. Autrement la force de refoulement de l'eau vidangée pourrait pousser le tuyau hors de l'évier.
Assurez-vous qu'il n'y a pas de corps étrangers dans votre linge avant de le laver (par ex. clous, épingles, pièces ou trombones) afin de ne pas le déterminer. Les corps étrangers peuvent également endommager certaines pièces de l'appareil (cuve, tambour par ex.) qui peuvent à leur tour déterminer le linge.
Il n'est pas nécessaire de détartrer l'appareil si vous dosez les lessives correctement. Si votre apparéil était malgré tout entartré, utilisez un détartrant avec protection anticorrosion disponible chez libre revendeur Miele ou auprès du service après-vente Miele. Suivez strictement les instructions d'utilisation.
Rincez les textiles traités aux produits contenant des solvants à l'eau claire avant de les laver dans l'appareil.
N'utilisez enaucun cas de détergents contenant des solvants par exemple du white-spirit, dans le lavelinge. Ils risquent de détériorer les pièces de l'appareil et de dégager des vapeurs nocives. Il y a en outre un danger d'incendie et d'explosion.
N'utilisez enaucun cas de détergents contenant des solvants par exemple du white-spirit, pour nettoyer la façade ou le dessus du lave-linge. Les surfaces en plastique pourraient être endommagées.
Les teintures que vous utilisez doivent être appropriées à une utilisation en machine. La fréquence des teintures doit correspondre à une utilisation domestique moyen. Respectez impérativement les instructions du fabricant de la teinture.
Les décolorants contiennent du sousfre, qui peut provoquer une corrosion de la machine. N'utilise pas de décolorants en machine.
Si de la lessive liquide est projetée dans les yeux, la rincer immédiatement abondament avec de l'eau tiède. En cas d'ingestion, prévenir immédiatement un médecin. Les personnes qui ont une peu sensible ou des lésions cutanées doivent éviter le contact avec la lessive liquide.
Accessoires
Montez uniquement des accessoires autorisés par Miele.
Le montage d'autres pieces exclut le bénéfice de la garantie.
Miele ne peut être tenu pour responsable des dégats dus au non-respect des prescriptions de sécurité et des mises en garde.
Bandeau de commande

① Ecran
Voutrouvezedavantage d'explica tionsauxpages suivantes.
② Touche Depart différé
pour démarrer le programme avec un-delai.
③ Touche Température
pour régler la température de lavage souhaïée.
④ Touche Essorage
pour régler la vitesse d'essorage fis
nale souhaitation ou encore (Arrêt
cuve pleine) ou sans (sans essorage).
⑤ Interface optique PC
sert de point de contrôle et de transfert au SAV (notamment pour la mise à jour des programmes).
⑥ Touche Start/Stop
démarre le programme de lavage et interrupt un programme démarré.
⑦ Touches Options
les programmes de lavage peuvent être complétés par plusieurs options.
⑧ Selecteur de programme
pour selectionner le programme de lavage. La diode du programme choisi s'allume. Se tourne indifféremment dans les deux sens.
⑨ Touche Porte
pour ouvrir la porte
10 Touche Marche/Arrêt
pour enclencher et arrêté le lavelinge.

Les fonctions suivantes doivent être sélectionnées sur l'écran :
- la température de lavage
- la vitesse d'essorage
- le département différé
- l'annulation de programme
- la sécurité enfants
- les fonctions optionnelles
En outre, l'écran affiche :
- le déroulement de programme
Départ différé
Le délambda de départ différé est affiché.
Une fois le programme lancé, le délambda de départ différé estdécompté parheure s'il est de plus de dix heures etpar minute à partir de 9h59 minutes restantes.
Une fois le temps écoulé, le programme commence et la durée du programme prévisible est affichée.
Fonctions optionnelles
Les fonctions optionnelles vous permettent d'adapter votre appareil à vos besoins propres. La fonction sélectionnée est affichée en mode de programmation.
Installer et raccorder l'appareil correctement avant la première mise en service. Veuillez lore le chapitre "Installation et raccordement".
Ce lave-linge a subi un test de fonctionnement complet, c'est pourquoi le tambour peutContainir un peu d'eau.
Pour des raisons de sécurité, il est impossible d'essorer avant la première mise en service. Pour activer l'essorage, il faut effectuer un programme de lavage sans linge ni lessive.
En cas d'utilisation de lessive, il peut se produit une formation excessive de mousse!
La vanne sphérique de la vidange est également activée. La vanne sphérique de vidange permet désormais d'utiliser complètement la lessive.
■ Enoncez la touche Marche/Arrêt.
Si vous enclenchez le lave-linge pour la première fois, le masque de bienvenue apparait.
Le masque de bienvenue n'est plus affché des qu'un lavage de plus d'une heures a ete effectue complètement.
Réglage de l'affichage de la langue
Voues etes priés de régler la langue souhaïée. Il est possible de modifier la langue à tout moment avec les fonctions optionnelles.
deutsch
■ Sélectionnez la langue souhaïée en tournant le sélecteur de programme. Validez la langue souhaïée en appuyant sur la touche Start/Stop
Rappel - sécurités de transport
Les sécurités de transport doivent être enlevées avant le premier programme de lavage afin d'éviter des dégats sur le lave-linge.
- Confirmez que les sécurités de transport ont bien été démonnées avec la touche Start/Stop.
Démarrer le premier programme de lavage
Le programme Coton 60^ est automatiquement selectionné. Lancez ce programme sans linge ni lessive à la première mise en service pour laver le tambour.
Ouvrez le robinet.
- Appuyez sur la touche Start/Stop.
- Arrêtez le lave-linge une fois le lavage terminé.
La première mise en service est terminée.
Consommation d'énergie et d'eau
- Utilisez la charge maximale de chaque programme.
La consommation d'énergie et d'eau est plus avantageuse pour une charge pleine. - Utilisez les programmes Automatic ou Express pour les petites quantités de linge.
- Si la quantité de linge est faible en programme Coton, la capacité variable automatique du lave-linge réduit la consommation en eau et en énergie et raccourcit la durée. Àsi, il peut se produit que le temps restant soit révisé à la baisse.
- Choisissez de préférence le programme Coton 60^ 只不过 que le programme Coton 95^ . Vous économiserez entre 35% et 45% d'énergie. Pour la plupart des salissures, cela suffit largement.
Consommation de lessive
- Ne dépassez pas les dosages de lessive indiqués sur l'emballage.
Lors du dosage, faites attention au degré de salissure du linge.
Réduisez la quantité de lessive pour les petites charges de linge (env. 1/3 de lessive en moins pour une demi-charge).
Comment sélectionner l'option (Court et Prélavage)
Sélectionnez pour :
- le linge peu sale sans taches visibles un programme avec l'option Court.
- le linge normalement ou très sale avec taches visibles un programme de lavage sans option.
les textiles avec des salissures importantes (p. ex. poussiere, sable), la fonction supplémentaire Préla-vage.
Conseil en cas de séchage en machine
Pour economiser de l'énergie lors du séchage, essorez le linge avec la vitesse d'essorage la plus élevé du programme de lavage.
Mode d'emploi rapide
Pour apprendre rapidement comment vous servir de votre lave-linge, reportez-vous aux instructions précédées d'un chiffre (1, 2, 3 ...).

1 Préparez le linge
Videz les poches.
Les corps étrangers (pièces de monnaie, vis, clous, trombones, etc.,) peuvent endommager le linge et certaines pièces de l'appareil.
Traitez les taches
Avant de laver les textiles, enlevez les taches de préférence tant qu'elles ne sont pas sèches. Tamponnez-les avec un chiffon blanc. Ne pas frotter!
Certaines taches (sang, oeuf, café, thé, etc.) peuvent parfois être enlevées avec des astuces. Si vous n'arrivez pas à vous débarrasser de certaines taches, posez la question à votre reven-deur Miele.
Si vous traitez le linge avec des produits nettoyants contenant des solvants (par exemple du white spirit), prenez garde de ne pas en verser sur les pieces en plastique.
N'utilisez enaucun cas des dé- tergents chimiques contenant des solvants dans cet appeareil !
Triez le linge
- Triez le linge par couleur, tout en prénant en compte le symbole figurant sur l'étiquette d'entretien (au col ou sur la couture latérale).
Les textiles fonçés déteignent souvent aux premiers lavages. Afin que rien ne déteigne, lavez le linge clair et foncé séparément.
Conseils
- Pour les voilages : enlevez les crochets et petits plombs ou placez-les dans un sac.
- Soutien-gorge : recoudre les baleines ou les enlever.
- Pour les tricots, jeans, pantalons et vêtements en maille : returnez-les lorsque le fabricant le recommande.
- Fermez les fermétures éclair, les boutons pression avant le lavage.
- Fermez les couettes et les oreillers afin que les petites pieces de linge ne se prennant pas dedans.
Ne lavez aucun textile marqu non la-vable (symbole d'entretien).
Enclencchez le lave-linge avec la touche Marche/Arrêt
Chargez le lave-linge
Ouvrez la porte avec la touche Porte
Chargez le linge déplié dans le tambour sans tasser. Mélanger les pièces de différentes tailles permet de renforcer l'efficacité du lavage et de mistrés répartir le linge à l'essorage.
Lorsque la charge maximale est atteinte la consommation d'énergie et d'eau rapportée à la quantité de linge est la plus faible. Une surcharge alteré le résultat de lavage et entraîne la formation de pris.
Veillez à ne rien bloquer entre la porte et le joint cuve-façade.

Fermez la porte en la poussant un peu.
Sélectionnez le programme

- Tournez le sélecteur de programme vers la gauche ou vers la droite pour le positionner sur le programme souhaité. Une diode s'allume à côté du programme choisi pour indiquer qu'il est sélectionné.
Sélectionnez la température/vitésse d'essorage
Vous pouvez modifier la température et/ ou la vitesse d'essorage présélectionnée.
60° 1200
- Vous pouvez modifier la température en pressant la touche Température et modifier la vitesse d'essorage en pressant la touche Essorage.
Sélectionnez les options

■ Sélectionnez les options souhaitées avec les touches correspondantes. Lorsqu'une option est sélectionnée, la diode correspondante s'allume.
Toutes les options ne peuvent pas etre sélectionnées.
Si la sélection d'une option est impossible, c'est que celle-ci n'est pas compatible avec le programme de lavage.
Court
Pour les textiles avec des salissures légères sans taches apparentes.
Le temps de programme principal est raccourci.
Hydro plus
Le niveau d'eau est augmenté au lavage et au rincage.
Vous disposez de plusieurs possibilités de réglage de l'option Hydro plus, décrites au chapitre "Fonctions optionnelles".
Prélavage
Pour les textiles avec des salissures importantes (p. ex. poussière, sable).
Signal sonore
Un signal acoustique retentit à la fin du programme et à l'arrêt cuve pleine. Il retentit tant que le lave-linge n'est pas arrêté. Vous pouvez modifier le volume du signal sonore comme décrit au chapitre "Fonctions optionnelles".
Activez le département différé (optionnel)
Le département du programme peut ainsi être différé de 30 minutes à 24 heures. Vous pouvez ainsi effectuer votre dessive lorsqu'elle courant est moins cher.
Pour davantage de précisions, reportez-vous au chapitre "Départ différé".
Ajoutez la lessive
Le dosage doit être effectué correctement.
Consequences d'un dosage insuffisant:
- Le linge n'est pas propre, il devient à la longue gris et reche
- Formation de petites boules deGRAISSE sur le linge
- Dépôt de calcaire sur la résistance
Consequences d'un surdosage :
- Une forte formation de mousse entravant le lavage et donnant un résultat de nettoyage, de rincege et d'essorage imparfait,
- Une surconsommation d'eau (un rince supplémentaire est automatiquement déclenché),
- Pollution de l'environnement

Tirez la boite à produits et versez la lessive dans les compartments.

Lessive pour le prélavage (répartition de la quantité de lessive totale conseillée : Verser 1 / 3 dans le compartment et 2 / 3 dans le compartment

Lessive pour le lavage

Assouplissant, produit de tenue ou amidon.
Fermez la boîte à produits.
Consultez le chapitre "Lessives" pour davantage d'informations sur les lessi-ves et leur dosage.
Bonne utilisation de votre lave-linge
Démarrez le programme
Appuyez sur la touche clignotante Start/Stop.
Si un départ différé a été selectionné, il est décompté sur l'écran. Àpres écoulment du temps de départ différé ou juste après le départ, le déroulement de programme est affiché à l'écran. Le lave-linge vous indique qu'elle phase de programme est en cours.
10 Fin du programme - décharger le linge
En fonction Infoissable, l'affichage affiche alternatively :
Infroissable
et
Arrêt
Ouvrez la porte avec la touche Porte
Sortez le linge.
N'oubliez pas de linge dans le tambour! Il pourrait rétrécir ou déteindre à la lessive suivante.

- Contrôlez que le joint cuve-façade ne présente pas de corps étrangers.
- Arrêtez le lave-linge avec la touche Marche/Arrêt.
Fermez la porte afin d'eviter que des objets ne tombent dans le linge par inadvertance et n'abimment le linge.
Vitesse d'essorage finale
| Programme | tr/min |
| Coton | 1200 |
| Synthétique | 1200 |
| Délicat | 600 |
| Laine | 1200 |
| Express | 1200 |
| Automatic | 1200 |
| Chemises | 600 |
| Jeans | 900 |
| Textile foncé | 1200 |
| Essorage | 1200 |
Voussouspèze réduire la vitesse d'essorage finale. Il est en revanche impossible de sélectionner une vitesse d'essorage supérieure à cette citée plus haut.
Essorage intermédiaire
Le linge est essoré après le lavage et entre les différents rincages. En cas de réduction de la vitesse d'essorage finale, la vitesse d'essorage intermédiaire est également réduite. En programme Coton, un rincage supplémentaire est ajouté lorsque la vitesse d'essorage est inférieure à 700 tr/mn.
Désactiver l'essorage final (Arrêt cuve pleine/
■ Sélectionnez le réglage avec la touche Essorage. Le linge reste à tremper dans l'eau du dernier rincege. Ceci permet de réduire la formation de plus lorsque les textiles ne sont pas enlevés immédiatement du lave-linge.
- Démarrer l'essorage final:
Pour l'essorage final, le lava-linge vous propose la vitesse d'essorage maximale autorisée. Vous pouze seLECTIONner une vitesse d'essorage plus faible. Pour lancer l'essorage final, appuyez sur la touche Start/Stop.
Terminer le programme:
Appuyez sur la touche Porte. L'eau est vidangée. Pressez ensuite de nouveau la touche Porte pour ouvrir la porte.
Désactiver l'essorage intermédiaire et l'essorage final (sans ©).
■ Sélectionnez le réglage sans © avec la touche Essorage. Àpres le dernier rincege, l'eau est vidangée et Infoissable est activé. Ce réglage permet d'ajouter un rincege dans les programmes Coton, Synthétique, Express et Automatic.
Avec le départ différé vous pouvez programmer l'heure de fin de programme. Le départ du programme peut etre differé de 30 minutes à 24 heures. Vous pouvez ainsi effectuer votre lessive lorsque le courant est moins cher.
Selection
Appuyez sur la touche Départ différé. Le message suivant est affiché :
0:30
60°
1200
- Chaque pression sur la touche Départ différé allonge le début de départ différé.
- de 30 minutes supplémentaires jusqu'à 10 heures,
- d'une heures supplémentaire au-delà de 10 heures
Maintenez la touche Départ différé en foncée pour faire défiler l'affichage jusqu'à 24 h.
Demarrage
- Pressez la touche Start/Stop, pour démarrer le départ différé. A l'affiche apparait :
4:30

avant début
Une fois le temps écoué, le programme de lavage et l'affichage affichent le déroulement du programme.
Modification
Le départ différé peut être modifié à tout instant en pressant la touche Départ différé.
Suppression avant le démarrage du programme
Presse la touche Départ différé jusqu'à 24 h puis encore une fois.
Si la suppression est effectuee après que le depart differé ait commencé à s'ecouler le programme de lavage commence tout de suite.
| Coton | 95°C - 30°C | 6,0 kg maximum |
| Type de linge | T-shirts, sous-vêtements, nappes, etc, textiles en cotton, lin ou mélangés. | |
| Remarque à l'intention des instituts de contrôle :Programme Court : charge de 3,0 kg et option Court | ||
| Synthétique | 60°C - 30°C | 3,0 kg maximum |
| Type de linge | Textiles en fibres synthétiques, textiles mélangés ou cotton/po-lyester mélangé. | |
| Conseil | Réduire la vitesse d'essorage si le linge se froisse facilement. | |
| Délicat | 60°C - froid | 2,0 kg maximum |
| Type de linge | Pour les textiles délicats en fibres synthétiques, textiles mélan-gés, rayonneVoilages déclarés lavables en machine par le fabricant. | |
| Conseil | - Effectuer de préférence un programme avec Préavage pour éliminer la poussière des rideaux.- Pour les voilages froissables, réduire la vitesse d'essorage ou désactiver l'essorage. | |
| Laine | 40°C - froid | 2,0 kg maximum |
| Type de linge | Textiles en laine, laine mélangée ou textiles lavables main | |
| Conseil | Réduire la vitesse d'essorage finale si le linge se froisse facile-ment. | |
| Express | 40°C - froid | 3,0 kg maximum |
| Type de linge | Petite charge de linge à rafraîchir. Les articles correspondent au programme Coton. | |
| Conseil | Si vous désirez rincer quelques textiles, sélectionnez ce pro-gramme avec le réglage de température froid | |
Tableau des programmes
| Automatic 40°C - froid 3,5 kg maximum | |
| Type de linge | Charge de linge triée par couleurs, adaptée aux programmes Coton et Synthétique. |
| Conseil | A chaque charge de linge, les paramètres de lavage sont automatiquement adaptations pour un soin optimal du linge et un résultat de lavage parfait (par ex. niveau d'eau, rythme de lavage et profil d'essorage). |
| Chemises 60°C - froid 2,0 kg maximum | |
| Conseil | Voues pouvez préparer les cols et les manchettes s'ils sont très sales. Utiliser le programme Délicat pour les chemises en soie. |
| Jeans 60°C - froid 3,0 kg maximum | |
| Conseil | - Retourner les vêtements en jean pour les laver. - Les vêtements en jean déteignent souvent un peu au premier lavage. Lavez les vêtements fonçés et clairs séparément. |
| Textile foncé 40°C - froid 3,0 kg maximum | |
| Type de linge | Pièces de linge noires ou fonçées en coton ou textile mélangé |
| Conseil | Retourner le linge pour le laver. |
| Essorage | |
| Conseil | - Vidange uniquement : régler la vitesse d'essorage sur sans © - Vérifiéez que la vitesse d'essorage régée est appropriée. |
Les options suivantes peuvent être sélectionnées avec les programmes :
Symboles d'entretien
| Lavage | |
| Les degrés indiqués dans la cuve in-diquent la température maximale à la-quelle vous pouvez laver les articles. | |
| 95 | rythme de lavage normal |
| 60 | rythme de lavage plus doux |
| 30 | rythme de lavage très doux |
| lavage main | |
| non livable | |
Examples de selection de programme
| Programme | Symbole d'entretien |
| Coton | 95 70 60 50 40 30 |
| Synthétique | 95 60 50 40 30 |
| Délicat | 40 30 |
| Laine | ψ |
| Express | 40 30 |
| Automatic | 40 30 40 30 |
| Séchage | |
| Les points indiquent la température | |
| ○ | température normale |
| ○ | température réduite |
| ○ | ne pas sécher au sèche-linge |
| Fer à repasser & repasseuse | |
| Les points indiquent les gamas de température. | |
| ♀ | env. 200°C |
| ♂ | env. 150°C |
| ♀♀ | env. 110°C |
| ♀♀ | ne pas repasser (fer/repasseuse) |
| Nettoyage professionnel | |
| F | nettoyage avec des solvants chimiques. Les lettres correspondant aux détergents. |
| P | |
| W | nettoyage à l'eau |
| ⊗ | pas de nettoyage chimique |
| Blanchiment | |
| △ | produit de blanchiment par oxydation admis |
| △ | blanchiment à l'oxygène uniu-quement |
| ★ | ne pas blanchir |
| Lavage | Rinçage | Essorage | ||||
| Niveau d'eau | Rythme de lavage | Niveau d'eau | Rinçages | Essorage intermédiaire | Essorage final | |
| Coton | A | A | 2-41) | ✓ | ✓ | ✓ |
| Synthétique | C | C | 2-32) | ✓ | ✓ | ✓ |
| Délicat | D | D | 3 | - | ✓ | ✓ |
| Laine | E | E | 2 | ✓ | ✓ | ✓ |
| Express | B | B | 2-32) | ✓ | ✓ | ✓ |
| Automatic | A B C | A | 2-32) | ✓ | ✓ | ✓ |
| Chemises | C | C | 2 | - | ✓ | ✓ |
| Jeans | C | C | 3 | - | ✓ | ✓ |
| Textile foncé | B | B | 3 | ✓ | ✓ | ✓ |
| Essorage | - | - | - | - | - | ✓ |
| = niveau d'eau faible | A= rythme intensif | |||||
| = niveau d'eau intermédiaire | B= rythme normal | |||||
| = niveau d'eau élevé | C= rythme doux | |||||
| D= rythme délicat | ||||||
| E= rythme lavage main | ||||||
| Particularités sur le déroulement du programme, voir page suivante. | ||||||
Ce lave-linge dispose d'une commande entièrement électronique avec capacité variable automatique. Le lave-linge calcul lui-même la consommation d'eau nécessaire, en fonction de la quantité et de la capacité d'absorption du linge charge. C'est pourquoi les programmes représentent des déroulements et des durées différentes.
Les déroulements de programme mentionnés ici sont toujours basés sur le programme standard pour une charge maximale. Les options ne sont pas prises en compte.
L'écran de votre lave-linge vous indique à tout moment du programme de lavage qu'elle est la phase en cours.
Particularités du déroulement :
Infoissable :
Le tambour tourne encore jusqu'à 30 minutes après la fin du programme afin d'éviter la formation de pris (exception : programme Laine). Exception : la fonction Infoissable n'est pas possible en programme Laine. Le lave-linge peut être ouvert à tout instant.
1) Si la température sélectionnée est comprise entre 95^ et 60^ , 2 rincages sont effectués. En cas de sélection de température inférieure à 60^ , 3 rincages sont effectués. un troisième ou un quatrième rincage est effectué en cas de :
- formation excessive de mousse dans le tambour
- vitesse d'essorage final inférieure à 700 tr/mn
- sélection de Sans essorage
2) un troisième rinceage est effectué en cas de :
sélection de Sans essorage
Annulation
Vous pouvez interrompre votre programme de lavage à tout instant après le démarrage.
- Appuyez sur la touche Start/Stop.
Annulation
Appuyez de nouveau sur la touche clignotante Start/Stop.
Le lave-linge vidange le bain lessiviel.
Si vous souhaitez enlever le linge :
appuyez sur la touche Porte.
Si vous souhaitez sélectionner un autre programme :
arrêtez le lave-linge avec la touche Marche/Arrêt.
Vérifiez s'il reste du produit lessiviel dans le tiroir à produits. Sinon ajoutez-en.
Réenclenchez le lave-linge.
Interruption
arrêtez le lave-linge avec la touche Marche/Arrêt.
Pour poursuivre :
- Aréenclenchez le lave-linge avec la touche Marche/Arrêt.
Modification
Une fois le programme démarré, il est impossible d'en changer.
Température
Il est possible de modifier la tempéra-ture dans les cinq premières minutes suivant le démarrage du programme.
Appuyez sur la touche Température.
Vitesse d'essorage
Il est possible de la modifier jusqu'au début de la phase finale d'essorage.
Appuyez sur la touche Essorage.
Options
Il est possible d'activer ou de désactiver les options Court et Hydro plus jusqu'à 5 mn après le départ.
Le verrouillage de programme (sécurité enfants) empêche toute annulation ou modification du programme.
Ajout/Déchargement de linge
Presse la touche Porte jusqu'à ce que la porte s'ouvre.
Ajoutez ou déchargez du linge.
Fermez la porte
Le programme reprend automatique.
Attention :
Une fois le programme lancé, le lavelinge ne peut pas constater les variations de charge.
Lorsque du linge est ajoute ou enlevé, l'électronique considère donc toujours qu'une quantité maximum a été chargée.
Le déroulement du programme peut être allongé.
La porte ne s'ouvre pas lorsque:
- la température du bain est supérieure à 55^ C .
- le niveau d'eau dépasse une certaine valeur.
-La phase Essorage estatteinte.
Si vous appuyez sur la touche Portedans les cas precedemment cités, l'affichage suivant apparait :

Porte verrouillée
Sécurité enfants
La sécurité enfants empêche que la porte soit ouverte ou le programme interrompu pendant le déroulement du programme.
Activer la sécurité enfants
■Après que le programme ait eté dé-marré, pressez la touche Start/Stop et maintenez-la enfonnée.
Arrêt ou après 3 s
- Maintenez la touche Start/Stop enfincée, jusqu'à ce que les 3 s soient écoulées et que l'affichage suivant apparaisse :
Verrouillage activé
La sécurité enfants est maintainant activée et est levée après chaque fin de programme.
Désactiver la sécurité enfants
- Àprous que le programme ait été dé-marré, pressez la touche Start/Stop et maintenez-la enfonnée.
Débloquerdans3
- Maintenez la touche Start/Stop en-foncée, jusqu'à ce que le temps soit écoulé et que l'affichage suivant apparaisse :
Verrouil. désactiver
Quelle lessive besoin ?
Vouss pouvez utiliser toutes les lessives pour lave-linge. Les conseils d'utilisation et de dosage figurent sur l'emballage de la lessive.
| Universelle | Couleurs | Textiles délicats | |
| Coton | X | X | |
| Synthétique | X | X | |
| Délicat | X | ||
| Laine | Produit spécial laine | ||
| Express | X | X | |
| Automatic | X | X | |
| Chemises | X | X | |
| Jeans | X1) | ||
| Textile foncé | X1) | ||
1) lessive liquide uniquement
Le dosage dépend :
- du degré de salissure du linge
Linge peu sale
Ne comporte pas de salissures ni detaches visibles. Les vêtements portent seulement l'odeur du corps.
Linge normalement sale
Les salissures sont visibles et/ou quelques petites taches sont reconnaisables.
Linge très sale
Traces de salissures et/ou de taches nettement reconnaissables.
- de la durée de l'eau
Interrogez la Compagnie Distributrice d'eau si vous ne connaissez pas la zone de durée de l'eau courante à votre lieu d'habitation. - de la quantité de linge
Duretés d'eau
| Zone de dureté | Propriété de l'eau | Dureté to-tale en mmol/l | Dureté française °f |
| I | douce | 0 - 1,3 | 0 - 13 |
| II | intermédiaire | 1,3 - 2,5 | 13 - 25 |
| III | dure à très durée | plus de 2,5 | plus de 25 |
Anticalcaire
Si vous eau apparient aux zones de durete II-III, vous pouvez ajouter un anticalcaire pour economiser de la dessive. Le dosage exact est indiqué sur l'emballage. Versez tout d'abord la dessive, puis l'anticalcaire.
Dans ce cas versez la même dose de lessive qu'en zone de durée I.
Utilisation de plusieurs produits de lavage
Si vous utilisez plusieurs produits, verse-z-les dans le compartment dans l'ordre suivant:
- Lessive
- Anticalcaire
- Detachant
Cela assure un excellent entrainement des produits.
Amidon / assouplissant
L'amidon
donne au linge une belle tenue et un beau fini.
Les produits de tenue
dont des amidons synthétiques qui donnent une meilleure tenue au linge.
L'assouplissant
rend au linge toute sa souplesse et diminue I'electricite statique en cas de sechage en machine.
Adjonction automatique d'assouplissant, de produit de tenue ou d'amidon liquide

- Versez l'assouplissant, le produit de tenue ou l'amidon liquide dans le compartment à assouplissant.
Respectez la hauteur de replissage Tmaxale.
Le produit est entrainé au dernier rince. Il reste un peu d'eau dans le compartment assouplissant en fin de programme.
Après plusieurs amidonnages automatiques, nettoyez la boîte à produits, en particulier le tuyau d'aspiration.
Décolorer/Teinter
N'utilise pas de décolorants dans la machine à laver.
La fréquence des teintures effectues doit correspondre à une utilisation domestique moyenne. En effet, le sel utilisé pour la teinture peut attaquer l'acid inoxydable en cas d'utilisation intensive. Veuillez strictement vous conformer aux instructions du fabricant de la teinture.
Nettoyage du tambour
Si vous lavez principalement à basse température et/ou avec de la lessive li-quide, du mois et une odeur désagréable peuvent apparaître dans le lave-linge. Pour laver le tambour et évi-ter la formation d'odeurs, il est conseilé d'effectuer une fois par mois un programme de lavage à 60^ ou davantage avec de la lessive en poudre.
Nettoyage de la carrosserie et du bandeau de commande
Débrancher le lave-linge avant tout nettoyage ou entretien.
Ne pas asperger le lave-linge avec un jet d'eau.
Nettoyez la carrosserie et le bandeau avec un détergent doux ou de l'eau savonneuse et séchez avec un chiffon.
Nettoyez le tambour avec un produit spécial inox.
N'utilise pas de détergents contenant des solvants, de produits abrasif, pour vitres ou multi-uses. Ils peuvent endommager la surface en plastique et d'autres pièces.
Nettoyage de la boîte à produits
Enlevez régulierement les évventuels résidus de dédTangent.

Tirez la boîte à produits vers l'avant jusqu'à la butée, enforcez le bouton de déverrouillage puis sortez complètement la boîte à produits.
Nettoyez la boîte à produits avec de l'eau chaude.
Nettoyage du tube et du canal d'aspiration

- Sortez le tube d'aspiration du compartmenté et nettoyez-le à l'eau chaude. Nettoyez également le tuyau sur lequel le tube d'aspiration est fixé.
- Replacez le tube d'aspiration.
Nettoyez le canal d'assouplissant avec de l'eau chaude et une Brosse.
Nettoyez le tube et le canal d'assouplissant particulièrement soigneusement après plusieurs amidonnages. L'amidon liquide peut s'agglutiner.
Nettoyage du logement de la boîte à produits

Avec un goupillon, enlevez les restes de produit lessivel et le dépôt de tartre des buses d'arrivée d'eau de la boîte à produits.
Nettoyage des filtrés dans le tuyau d'arrivée d'eau
La machine est équipée de 2 filtrés pour protégé les electrovannes. Il faut contrôler ces filtrés environ tous les 6 mois. Il y a lieu de rapprocher les contrôles en cas de coupures gratuites sur le réseau d'alimentation.
Nettoyage du filtré dans le tuyau d'arrivée d'eau
Fermez le robinet d'eau et dévissez le tuyau d'arrivée d'eau du robinet.

Extrayez le joint caoutchouc 1.
Saisissez la languette du filtré 2 à l'aide d'une pince à bec fin, sortez-le.
Nettoyez-le. Remontez-le en sens inverse.
Nettoyage du filtré dans le raccord d'arrivée d'eau de l'électrovanne
Desserrez avec précaution l'écrou plastique nervué du raccord d'arrivée d'eau à l'aide d'une pince.

Extrayez le filtré avec une pince à bec fin et nettoyez-le. Remontez-le en sens inverse.
Remontez imperativement les deux filtrres après les avoir nettoyés.
Que faire si....
Vous pouvez remédier vous-même à la plupart des anomalies ou pannes qui peuvent se produit en utilisation quotidienne. Vous économiserez du temps et des frais en n'applant pas immédiatement le Service après-vente.
Les tableaux suivants vous aideront à déceler les causes de la panne et à tracer la solution. Prenez garde aux points suivants :
Les interventions techniques doivent être exécutées exclusivement par des professionnels. Les réparations incorrectes peuvent entraîner de graves dangers pour l'utilisateur.
Impossible de démarrer un programme de lavage
| Problème | Cause | Solution |
| L'écran reste nombre et l'anneau lumineux de la touche Start/Stop ne s'allume pas. | L'appareil n'est pas alimenté. | Vérifiez si - la fiche est branchée. - le fusible est en bon état. |
| Le système vous de-mande d'entrée un code. | Le code est activé. | Entrez le code et validez-le. Désactivez le code si vous ne voulez pas que cette question vous soit posée la prochaine fois que vous enclenchez la machine. |
| L'affichage estASFORDRE. | L'affichage a été cou-pé automatiquement pour économiser de l'énergie (stand by - veille). | Appuyez sur une touche. La mise en voille est arrêtée. |
| L'écran affiche le défaut suivant | ||
| Problème | Cause | Solution ① |
| △ est affché et Défaut vidange clignote. | - La vidange est bloquée ou obstruée. - Le tuyau de vidan- ge est trop haut. | - Nettoyez le filtré et la pompe. - Hauteur de refoulement max.: 1m |
| △ est affché et Défaut arrivée d'eau clignote. | L'arrivée d'eau est bloquée ou obstruée. | Vérifiez si - le robinet est suffisamment ouvert. - le tuyau d'arrivée est plié. - la pression d'eau est trop faible |
| △ est affché et Défaut aquasécurité clignote. | Le système de protec- tion contre les fuites s'est déclenché. | Appeler le service après- vente. |
| △ est affché et Défaut technique clignote. | Ceci est une ano- malie. | Reliancez le programme. Si le message d'erreur appa- raît de nouveau, appelez le S.A.V. |
| L'affichage suivant cli- gnote : Infroissable Vérifier dosage | Pendant le lavage, une mousse excessive s'est formée. | A la prochaine lessive, mettez moins de produit et suivez les indications de dosage du fa- bricant sur le paquet. |
Pour éliminer le message d'erreur: arrêtez le lave-linge avec la touche Marche/ Arrêt.
| Problèmes d'ordre général | ||
| Problème | Cause | Solution |
| L'appareil vibre pen-dant l'essorage. | Les pieds de machine sont mal régliés et ne sont pas bloqués. | Ajustez l'appareil pour qu'il soit bien stable et bloquez les pieds. |
| Le lave-linge n'a pas essoré le linge comme d'habitude et celui-ci est encore trempé. | A l'essorage final, un ba-lourd trop important a été détecté et la vitesse d'essorage a été réduite automatiquement. | Chargez des pièces de linge de différentes tailles dans le tambour pour une meilleure répartition du linge. |
| On entend des bruits de pompe inhabituels. | Ce n'est pas un début. Les bruits d'aspiration en début et en fin de vidange sont normaux. | |
| Des résidus de lessive relativement gros restent dans la boîte à produits. | La pression d'eau n'est pas suffisante. | - Nettoyez le filtré dans le tuyau d'acciviée d'eau. - Sélectionnez évientuelle-ment l'options Hydro plus. |
| Les lessives en poudre utilisées avec un antical-caire ont tendance à col-ler. | Nettoyez la boîte à produits et mettez à l'avirer d'abord la dessive puis l'anticalcaire. | |
| L'assouplissant n'est pas entraîné complètement ou il reste en-core trop d'eau dans le compartment Ⓞ. | Le tube d'aspiration n'est pas posé correctement ou est obstrué. | Nettoyez le tube d'aspiration, cf. chapitre "Nettoyage et Entretien ", Paragraphe "Nettoyage de la boîte à produits". |
| Une langue étrangère s'affiche. | Une autre langue a été sélectionnée sous "Fon-c-tions optionnelles" "Langue Ⓞ". | Réglez la langue usuelle. Le drapeau vous aide à vous repérer. |
| Résultat de lavage insatisfaisant | ||
| Problème | Cause | Solution |
| Le linge n'est pas propre malgré l'ad-jonction de dessive liquide. | Les dessives liquides ne contiennent pas d'agent de blanchiment. Les ta-ches de fruit, café ou thé ne sont pas éliminées. | - Utilisez de la dessive en poudre contenant des agents de blanchiment.- Versez du détachant dans le compartment L' et la dessive liquide dans une boude-doseuse.- Ne mélangez jamais dessive liquide et détachant dans la boîte à produits. |
| Des résidus élasti-ques gris adhèrent au linge lavé. | You've avrez versé trop peu de dessive. Le linge était taché deGRAFFE (huiles, crèmes). | - Versez davantage de dessive ou utilisez des dessives liquides pour le linge portant ce type de taches.- Faites fonctionner un programme 60 °C à vide avec de la dessive liquide avant le prochain lavage. |
| Des résidus blan-châtres ressemblant à de la dessive apparaissent sur le linge foncé. | La dessive contient des composants anticalcaires insolubles (zéolithes) qui se sont fixés sur le linge. | - Essayez d'enlever les résidus de produit avec une Brosse sur le linge sec.- Lavez à l'avoir les textiles fonçés avec de la dessive li-quide. Elle ne contient pas de zéolithes.- Lavez les textiles en pro-gramme Textile foncé. |
| La touche Porte est actionnée mais celle-ci ne s'ouvre pas. | |
| Cause | Solution |
| Le lave-linge n'est pas rac- cordé électriquement et/ou il n'est pas enclenché. | Branchez la fiche à contact de protection dans la prise et/ou enclenchez le lave-linge avec la touche Marche/Arrêt. |
| La sécurité enfants est en-clenchée. | Désactivez la sécurité enfants comme décrit au chapitre "Modification du déroulement du programme". |
| Le code est activé. | Désactivez le code comme décrit au chapitre "Fonctions optionnelles" Paragraphe "Code". |
| Panne de courant | Ouvrez la porte comme décrit dans le paragraphe suivant. |
| La porte n'était pas bien enclenchée. | Pressez avec force contre le verrou puis appuyez sur la touche Porte. |
| Il y a encore de l'eau dans le tambour et le lave-linge ne peut pas vidanger. | Nettoyez le filtre et la pompe de vidange comme décrit dans le paragraphe suivant. |
| La porte est bloquée dès que le bain dépasse 55°C afin d'éviter toute brûlle. | |
Déverrouillage de porte manuel en cas de vidange obstruée et/ou de panne de courant
- Arrêtez le lave-linge.
Le déverrouilleur de la trappe d'accès au filtré est situé derrière la face avant de la boîte à produits.

Enlevez le déverrouilleur.

Ouvrez la trappe d'accès au filtré.
Vidange obstruée
Si la vidange est obstruée, le lave-linge peut/countir une quantité d'eau assez importante (max.251).
Attention: risque de brûlure si un programme haute température était en cours!
Vidange
Placez une bassine sous la trappe.
Ne dévissez pas complètement le contrôle.

Dévissez le filtré jusqu'à ce que de l'eau s'écoule.
Pour interrompre la vidange :
Dès que l'écoulement d'eau est fini :

Dévissez complètement le contrôle.
Nettoyez bien le contrôle.

Vérifiez si la turbine tourne facilement. Sinon, enlevez les corps étrangers (boutons, pieces etc.) et nettoyez l'intérieur.
Remontez le filtré et verrouillez-le bien.
De l'eau s'écoule du lave-linge si le filtré n'est pas bien remonté et visse à fond.
Ouverture de la porte
Assurez-vous que le tambour est à l'arrêt avant de décharger le linge. Ne mettez jamais les mains dans un tambour qui tourne encore, vous risquez de vous blesser.

Tirez la languette. La portes s'ouvre.
Réparations
En cas de pannes auxquelles vous ne pouvez remedier vous-même, contactez :
- le service après-vente de votre re-vendeur ou
- le service après-venture Miele.
Veuillez indiquer le modele et la refere nce de votre lave-linge. Ces deux indications figurent sur la plaque signalé tique placée au-dessus du hublot à l'intérieur de la porte.

Actualisation de la programmation (diode PC)
La diode PC est prévue pour l'actualisation par un technician des programmes de lavage en fonction des évolutions techniques prévisibles.
La programmation de votre lave-linge pourra ainsi être adaptée aux progrès en matière de lessive, textiles et procédés de lavage.
Miele vous signalera les possibités d'actualiser votre lave-linge.
Conditions et période de garantie
Ce lave-linge bénéfice d'une garantie de 1 an.
Vous trouvrez de plus amples informations sur les conditions de garantie dans le livre de garantie.
Accessoires en option
Les accessoires de ce lave-linge sont disponibles chez les revendeurs Miele ou au SAV Miele.
Vue de face

① Tuyau d'arrivée d'eau résistant à la pression (7 000 bar)
(2) Branchement électrique
3 - 6 Tuyau de vidangeouple (avec crosse pivotante et amovible) et les différentes evacuations possibles
⑦ Boîte à produits
⑧ Bandeau de commande
9Porte
10 Trappe d'accès au filtré, à la pompe et au déverrouillage manuel
1) Quatre pieds à vis réglables en hauteur

Vue de l'arrière
① Couvercle en saillie avec prises de main pour le transport
(2) Branchement électrique
③ Tuyau d'arrivée d'eau résistant à la pression (7 000 bar)
(4) Tuyau de vidange
⑤ Sécurités avec tiges de transport
(6) Support de tuyau d'arrivée d'eau et de vidange
⑦ Support pour les tiges de transport démontrées
Lieu d'installation
Un plancher en béton est le mieux adapté. Il ne transmet pas de vibrations, contrairement à un plancher en bois ou un sol "mou".
Attention :
- Installez toujours l'appareil d'aplomb et de façon stable.
Evitez d'inverter la machine sur des revêtements de sol mous, car elle pourrait vibrer pendant l'essorage.
Sur un plancher en bois :
■ placez l'appareil sur une planche en bois (minimum 59x52x3 cm). Cette planche devra recouvrir un maximum de lattes de plancher mais ne pas etre vissee a celles-ci.
Installez la machine dans la mesure du possible dans un angle de la pierce. La stabilité du plancher y estILA
En cas d'installation sur socle (en béton ou maconnerie) il faut bloquer le lave-linge avec des attaches livrables chez les revendeurs agreés et au SAV Miele. Sinon le lave-linge peut tomber du socle à l'essorage.
Transport sur le lieu d'installation
Pour le transport de l'appareil du socle d'emballage au lieu d'installation, prenez-le par les pieds avant et par les prises de mains à l'arrière du couvercle.
Ne soulevez pas l'appareil par la porte de chargement.
Les pieds de machine et le sol doit être secs, sinon l'appareil risque de déraper lors de l'essorage.
Démontage des securités de transport

Enlevez les sécurités gauche et droite.
- Detacher la sécurité avec un tournevis.
- Enlever la sécurité.

Tournez la tige de transport gauche de 90^ à l'aide d'une pince multiple.

■ puis sortez-la.

Tournez la tige de transport droite de 90^

■ puis sortez-la.
Après avoir enlevé les tiges de transport, refermez les orifices. S'ils ne sont pas obturés, ils peuvent pré-senter un risque de blessure.

Fermez les orifices avec les bouchons attachés aux securités.

Fixez les tiges de transport sur la pa-roi arriere. Vérifiez que les tenons A s'engrenent dans les trous B
Il est interdit de transporter le lave-linge sans sécurités de transport.
Conservez par conséquent les sécurités de transport. Elles doivent être remontées avant le transport de l'appareil, par exemple pour un déménagement.
Mise en place des securités de transport
Le remontage se fait en sens inverse du démontage.
Calage
La machine doit être d'aplomb afin de garantir un fonctionnement parfait.
Une installation non conforme augmente la consommation d'eau et d'électricité et la machine peut se déplacer.
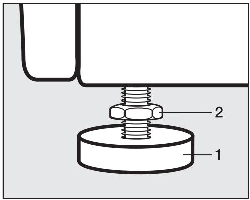
Dévissage et blocage des pieds
Compensez les inégalités du sol avec les quatre pieds à vis. Les pieds sont livrés totallyment vissés.

Desserrez le contre-écrou 2 dans le sens des aiguilles d'une montre avec la clé multiple fournie. Dévissez le contre-écrou 2 avec le pied 1.

Vérifiez avec un niveau à bulle que le lave-linge est d'aplomb.
- Maintenez le pied 1 avec une pince multiprises. Serrez le contre-écrou 2 à fond contre la carrosserie avec la clé multiple.
Vissez les quatre contre-écrous contre la carrosserie. Vérifiez également les pieds qui n'ont pas été dévissés lors de l'ajustage de l'appareil. Sinon la machine risque de se déplacer.
Encastrement sous un plan de travail
Il est impossible de démonter le couvercle de l'appareil.
Ce lave-linge peut être posé sous un plan de travail (avec son couvercle) si le plan de travail est suffisamment élevé.
Colonne lave-linge/sèche-linge
Il est possible de constituer une colonne en superposant un séche-linge Miele sur votre lave-linge. A cet effet utilisez un cadre de superposition (WTV) livrable contre supplément chez les revendeurs agrésés ou au SAV Miele.
Attention :

a Distance de sécurité mur/lavelinge :2 cm minimum
b Hauteur:
Cadre de superposition avec plan de travail : env. 172 cm
Cadre de superposition sans plan de travail : env. 170 cm
c Profondeur de la colonne lave-linge/ sèche-linge :env. 65 cm
Le système Watercontrol Miele
Le système Watercontrol Miele vous protège contre les risques de dégats des eaux liés au lave-linge.
Ce système comporte trois éléments :
1) le tuyau d'arrivée d'eau
2) l'électronique et le boîtier
3) le tuyau de vidange
1) Le tuyau d'arrivée d'eau
- protection contre l'éclatement du tuyau
Le tuyau d'arrivée d'eau présente une pression d'éclatement supérieur à 7 000 kPa.
2) L'électronique et le boîtier
- La tôle de fond
Les fuites d'eau liées à une mauvaise étanchéité du lave-linge sont recueillies dans la tôle de fond. Un interrupteur à flotteur coupe les vannes d'arrivée d'eau. L'arrivée d'eau est coupée et l'eau se trouvant dans la cuve est vidangée.
- La sécurité anti-debordement
Ceci évite que le lave-linge déborde suite à une arrivée d'eau incontrôlée. Si le niveau d'eau dépasse d'un certain niveau, la pompe de vidange est réactivée et l'eau est vidangée de façon contrôleé.
3) Le tuyau de vidange
Le tuyau de vidange est protégé par un système d'aération. Ceci permet d'eviter que le lave-linge soit vidé par l'aspiration.
Arrivée d'eau
Le raccordement du lave-linge à la conduite d'arrivée d'eau peut s'effectuer sans antiretour car il est construit suivant les normes DIN.
La pression doit impératifement être comprise entre 100 kPa et 1 000 kPa. En cas de pression supérieure à 1 000 kPa, l'installation d'un réducteur de pression est indispensable.
Pour le raccordement, l'utiliseur doit prévoir des robinets d'arrêt avec raccord filtré 3 / 4 (20/27). Si vous ne dispose pas d'un robinet de ce type, faites-le monter par un installerateur/agréé.
Le raccord fileté est sous pression. Contrôlez par conséquent si le raccordement est étanche en ouvrant lentement le robinet d'eau. Modifiez eventuèlement la position du joint et du raccord filtré.
Ce flexible n'est pas conscience pour l'eau chaude.
Entretien
En cas de remplacement, n'utilise que le flexible d'origine Miele avec une pression d'éclatement supérieur à 7 000 kPa.
N'enlevez pas les deux filtres - l'un place à l'extrémité libre du tuyau d'arrivée d'eau, l'autre dans le raccord d'arrivée d'eau de l'électrovanne - ils servent à protégger l'électrovanne.
Accessoires : rallonge
Le SAV Miele ou les revendeurs agreés proposent des tuyaux de 2,5 ou 4 m de long en option.
Vidange
Le bain est vidangé par une pompe de vidange d'une hauteur de refoulement de 1 m. Posez le tuyau sans coude, afin de ne pas génér la vidange. La crosse aménagée à l'extrémité du tuyau est pivotante et amovible.
Laaille de tuyau disponible va jusqu'à 5 mètres. Il est disponible auprès du SAV Miele ou des revendeurs spécialisés.
Pour les hauteurs d'évacuation supérieures à 1 m (hauteur de refoulement 1,80 m max.) vous pouvez vous procurar une deuxième pompe de vidange et le jeu d'adaptation correspondant au+.UPS du Service Ares Vente Miele ou des revendeurs agreés.
Possibilities de vidange :
- Suspension dans un lavabo ou un évier :
Attention :
- Bloquez le flexible pour éviter qu'il ne dérape.
- Si le bain est vidangé dans un lavabo, il faut qu'il s'écoule suffisamment vite. Sinon l'eau risque de déborder ou une partie de l'eau vidangée risque d'être réaspirée dans le lavelinge.
- Raccordement à un tuyau d'évacuation plastique avec manchon caout-chouc (siphon non indispensable).
- Evacuation dans une vidange au sol (puits d'écoulement).
- Raccordement à un lavabo avec raccord plastique.

Attention :
① Embout
② Ecrou moleté pour évier
③ Collier de serrage
(4) Extrémité du tuyau
Fixez l'embout ① avec l'écrou moleté ② sur le siphon du lavabo.
■ Enoncez l'extrémité du tuyau ④ sur l'embout ①.
Fixez le collier de serrage ③ juste derrière l'écrou moleté avec un tournevis.
Branchement électrique
Ce lave-linge est livre avec un cordon d'alimentation de 2m de long en monophasé 230V50Hz .
Ne raccordez cet apparéil qu'à une prise avec mise à la terre.
La prise avec mise à la terre doit tous jours être accessible pour pouvoir débrancher le lave-linge de l'alimentation électrique.
Le branchement doit être conforme aux normes EDF.
Il est interdit de brancher l'appareil en utilisant des rallonges, boitiers multipriSES, etc. pour éviter tout risque d'in-cendie potentiel.
Il est recommandé de monter en amont de l'appareil un disjoncteur différentiel avec courant de déclenchement à 30 mA.
Dans ce cas utiliser uniquement un disjoncteur de type A
La plaque signalétique vous indique la puissance de raccordement et le fusible. Compareez ces indications avec celles de votre réseau électrique.
| Charge | Consommations | |||||
| Energie en kWh | Eau en l | Durée Court | Normal | |||
| Coton | 95°C | 6,0 kg | 1,99 | 49 | 2 h 09 min | |
| 60°C1) | 6,0 kg | 1,02 | 49 | 1 h 49 min | ||
| 60°C | 3,0 kg | 0,73 | 39 | 1 h 03 min | ||
| 40°C1) | 6,0 kg | 0,65 | 59 | 2 h 04 min | ||
| 40°C2) | 3,0 kg | 0,36 | 39 | 59 min | ||
| Synthétique | 40°C1) | 3,0 kg | 0,50 | 55 | 59 min | 1 h 19 min |
| Délicat | 30°C | 2,0 kg | 0,35 | 69 | 49 min | 59 min |
| Laine | 30°C | 2,0 kg | 0,23 | 39 | - | 39 min |
| Express | 40°C | 3,0 kg | 0,30 | 34 | - | 30 min |
| Automatic | 40°C | 3,5 kg | 0,35 - 0,50 | 40 - 55 | - | 1 h 18 min |
| Chemises | 60°C | 2,0 kg | 1,00 | 59 | 1 h 02 min | 1 h 12 min |
| Jeans | 40°C | 3,0 kg | 0,50 | 52 | 50 min | 1 h 00 min |
| Textile foncé | 40°C | 3,0 kg | 0,60 | 60 | 1 h 00 min | 1 h 10 min |
Remarque sur les essais comparatifs :
1) Essais suivant EN 60456
2) Programme court pour les instituts de contrôle; l'option Court doit être sélectionnée.
Les consommations peuvent différer des valeursANNOCES en fonction de la pression, durete et température d'entrée d'eau, de la température ambiente, du type et de la quantité du linge, des variations de tension sur le réseau et des fonctions additionnelles sélectionnées.
| Hauteur | 850 mm |
| Largeur | 595 mm |
| Profondeur | 634 mm |
| Profondeur porte ouverte | 1 074 mm |
| Poids | 99 kg |
| Charge au sol max. | 1 600 Newton (env. 160 kg) |
| Capacité | 6 kg de linge sec |
| Tension | voir plaque signalétique |
| Puisance de raccordement | voir plaque signalétique |
| Fusible | voir plaque signalétique |
| Consommations | cf. chapitre consommations |
| Pression d'eau min. au robinet | 100 kPa (1 bar) |
| Pression d'eau max. | 1 000 kPa (10 bar) |
| Longueur du tuyau d'acciviée d'eau | 1,60 m |
| Longueur du tuyau de vidange | 1,50 m |
| Longueur du cordon d'alimentation | 1,60 m |
| Hauteur de refoulement max. | 1,00 m |
| Longueur de refoulement max. | 5,00 m |
| LED diodes électroluminescentes | Classe 1 |
| Labels de conformité | voir plaque signalétique |
Fonctions optionnelles pour modification des réglages standard
Avec les fonctions optionnelles, vous pouvez adapter l'électronique du lavelinge à vos besoin.
Yououpouze modifierles fonctionsoptionnellesa tout moment.
Ouvrir les fonctions optionnelles
Les fonctions optionnelles sont activées à l'aide de la touche Start/Stop et du sélecteur de programme. La touche et le sélecteur de programme possèdent en effet une seconde fonction qui n'apparaît pas sur le bandeau de commande.
Condition :
- Le lave-linge a été arrêté avec la touche Marche/Arrêt.
- Le lave-linge est fermé.
1 Pressez la touche Start/Stop et maintenez-la enfoncée pendant les opérations 2 - 3.
Enoncez la touche Marche/Arret.
Lorsque l'affichage indique: ..
Langue
...relâchez la touche Start/Stop.
Vousetes àpresent dans les fonctions optionnelles.
Pour selectionner une fonction optionnelle
Tournez le sélecteur de programme jusqu'à ce que la fonction optionnelle qui vous intéresse soit affichée à l'écran.
Pressez la touche Start/Stop, pour selectionner la fonction optionnelle affichée.
Modification de la fonction optionnelle
En tournant le sélecteur de programme, vous pouvez afficher les différentes options de la fonction optionnelle.
L'option sélectionnée est suivie d'une coche .
Tournez le sélecteur de programme jusqu'à ce que l'options souhaitation soit affichée.
Presse la touche Start/Stop, pour activer l'option souhaitation.
Quitter la fonction optionnelle
8 Tournez le sélecteur de programme jusqu'à ce que retard soit affché à l'écran.
9 Appuyez sur la touche Start/Stop.
Langue
Vou pouvez besoinir entre plusieurs langues pour l'affichage.
Le drapeau derrière le mot Langue sert de repère, au cas où une langue que vous ne comprendez pas aurait été programmée.
La langue sélectionnée est enregistrée.
Hydro plus
Avec la fonction optionnelle Hydro plus, vous pouvez personnaliser les réglages de l'option Hydro plus.
Vouaveslechoixentre troissponsibilities:
Hydro +
(reglaged'usine)
Le niveau d'eau est augmente (plus d'eau) au lavage et au rincege.
Rinçage suppl.
Ce réglage permet d'ajouter un rinseçage.
Hydro+ / rinsage sup
Augmentation du niveau d'eau au lavage et au rincege et un rincege supplémentaire.
Rythme délicat
Lorsque la fonction rythme délicat est activée, le rythme du tambour est plus lent, pour laver les textiles peu sales avec plus de douceur.
Yououpouzeactiverlerythme délicat enprogrammesCotonetSynthétique.
Rythme délicat est désactivé en sortie usine.
Refroidissement bain
Une entrée d'eau supplémentaire intervient en fin de lavage pour refroidir le bain.
Le refroidissement du bain s'effectue à 95^ et 75^ .
Il est conseilé d'activer le refroidissement du bain dans les cas suivants :
- pour éviter tout risque d'ébouillantage si le tuyau d'évacuation est fixédans un lavabo ou un évier.
- dans les bâtiments non pourvus d'un tuyau d'évacuation conforme à DIN 1986.
Le refroidissement du bain lessiviel est désactifié en sortie usine.
Code
Vous pouvez verrouiller l'électronique avec un code d'identification. Vous éviterez ainsi qu'un tiers utilise votre lave-linge.
Lorsque le code est activé, le code doit être entré afin de pouvoir utiliser le lave-linge.
Code ...
Appuyez sur la touche Start/Stop.
Activier le code
activer
Appuyez sur la touche Start/Stop.
Le système vous demande d'entrée un code.
Entrer le code
Le code est 125 : il ne peut pas etremodifié.
0
Tournez le sélecteur de programme jusqu'à ce que le premier chiffre soit affché.
Pour valider le premier chiffre, pressez la touche Start/Stop.
Répétez l'opération jusqu'à ce que les trois chiffres soient saisis.
125
- Appuyez sur la touche Start/Stop.
L'affichage suivant apparait :
Code activé
Après l'arrêt, le lava-linge ne peut être utilisé qu'en entrant le code.
Utiliser le lave-linge avec le code
Dès que vous mettez l'appareil en marche celui-ci vous demande le code.
Entrez le code de verrouillage comme décrit précédemment et validez-le.
Le lave-linge peut de nouveau être utilisé.
Désactiver le code
Accédez aux fonctions de programmation comme décrit.
Lorsque l'affichage indique : . .
0 - -
...relâchez la touche Start/Stop.
Entrez le code et pressez la touche Start/Stop.
■ Sélectionnez Code et validez désactiver.
Unité de température
Vous pouvez afficher la température en degrés °C/Celsius ou °F/Fahrenheit.
°C/Celsius est régle en départ usine.
Signal sonore
Lorsque le signal sonore est activé, il retentit à la fin du programme ou à l'arrêt cuve pleine.
Vous disposez de deux réglages du volume du signal sonore :
normal
(reglagedusine)
Le signal sonore retentit à la fin du programme et en arrêt cuve pleine au volume normal.
fort
Le signal sonore retentit à la fin du programme et en arrêt cuve pleine au volume fort.
Bip de validation
L'actionnement d'une touche est confirmé par un bip de validation.
A la livraison, le signal sonore est dé-sactivé.
Luminosité
Vous dispose de 10 positions de réglage de la luminosité.
La barre you indique le réglage.
A la livraison, la position 5 est régée.
La luminosité est modifiée des que vous sélectionné une position différente.
Contraste
Vous dispose de 10 positions de réglage du contraste.
La barre you indique le réglage.
A la livraison, la position 5 est régée.
Le contraste est modifiéès que vous sélectionnez une position différente.
Veille
Pour économique l'énergie, l'affichages'assombrit après 10 minutes et la touche Start/Stop clignote lentement.
L'écran s'assombrit de manière générale lorsque :
- aucune sélection n'est effectué 10 minutes après la mise en marche.
- 10 minutes se sont écoulées depuis la fin du programme.
Pour réactiver l'écran, appuyer sur n'importe qu'elle touche.
Vous pouvez également désir si l'écran doit être éteint ou allumé pendant le déroulement du programme.
acté
La fonction de voirie est activée.
L'écran est étéint 10 minutes après le démarrage du programme.
désacté pdt fonct.
Réglagedusine)
La fonction de veille est désactivée.
L'écran reste allumé pendant le déroulement du programme.
Memoire
Le lave-linge enregistre les réglages sélectionnés (programme, température, vitesse d'essorage et options) après le démarrage du programme.
A la mise en marche suivante, le lavelinge affiche les parametes enregistrés.
La fonction mémoire est désactivée sur la machine livrée.
Infroissable
La fonction Infoissable permet de réduire la formation de plus après la fin du programme.
Le tambour tourne encore 30 minutes après le programme.
Le lave-linge peut être ouvert à tout instant.
acté
(reglaged'usine)
La fonction Infoissable est activée.
déactivé
La fonction Infoissable est désactivée.
MIELE France
Siège social
93151 - Le Blanc-Mesnil CEDEX
9 av. Albert Einstein - Z. I. du Coudray
R.C.S. Bobigny B 708 203 088
Show room
55, Boulevard Malesherbes
75008 Paris
Service consommateurs
N°AUDIOTEL : 0 892 68 52 20
(0,34 € TTC/min)
Miele Assistance
N°Azur 0810061000
PRIX APPEL LOCAL
Pièces détachées et accessoires
N°AUDIOTEL : 0 892 68 70 35
(0,34 € TTC/min)
Site Internet : http://www.miele.fr
Notice Facile