JBFFS42NHS - Réfrigérateur JENN-AIR - Notice d'utilisation et mode d'emploi gratuit
Retrouvez gratuitement la notice de l'appareil JBFFS42NHS JENN-AIR au format PDF.
| Caractéristique | Détails |
|---|---|
| Type de réfrigérateur | Réfrigérateur à double porte avec congélateur en bas |
| Capacité totale | Environ 21 pieds cubes |
| Dimensions | Largeur : 42 pouces, Hauteur : 69 pouces, Profondeur : 30 pouces |
| Classe énergétique | Énergétiquement efficace (certification Energy Star) |
| Type de refroidissement | Refroidissement par circulation d'air |
| Fonctionnalités supplémentaires | Distributeur d'eau et de glace, contrôle de température numérique |
| Matériau de la finition | Acier inoxydable |
| Entretien | Nettoyage régulier des joints de porte et des bacs à glace |
| Sécurité | Système de verrouillage de porte, alarme de température élevée |
| Garantie | Garantie limitée de 2 ans sur les pièces |
FOIRE AUX QUESTIONS - JBFFS42NHS JENN-AIR
Questions des utilisateurs sur JBFFS42NHS JENN-AIR
0 question sur cet appareil. Repondez a celles que vous connaissez ou posez la votre.
Poser une nouvelle question sur cet appareil
Téléchargez la notice de votre Réfrigérateur au format PDF gratuitement ! Retrouvez votre notice JBFFS42NHS - JENN-AIR et reprennez votre appareil électronique en main. Sur cette page sont publiés tous les documents nécessaires à l'utilisation de votre appareil JBFFS42NHS de la marque JENN-AIR.
MODE D'EMPLOI JBFFS42NHS JENN-AIR
Votre sécurité et celle des autres est très importante.
Nous donnons de nombreux messages de sécurité importants dans ce manuel et sur votre appareil ménager. Assurez-vous de toujours lire tous les messages de sécurité et de vous y conformer.

Voici le symbole d'alerte de sécurité.
Ce symbole d'alerte de sécurité vous signale les dangers potentiels de décès et de blessures graves à vous et à d'autres.
Tous les messages de sécurité suivent le symbole d'alerte de sécurité et le mot "DANGER" ou "AVERTISSEMENT". Ces mots signifient :
Risque possible de décès ou de blessure grave si vous ne suivez pas immédiatement les instructions.
Averagement
Tous les messages de sécurité vous diront quel est le danger potentiel et vous disent comment réduire le risque de blessure et ce qui peut se produire en cas de non-respect des instructions.
Risque possible de décès ou de blessure grave si vous ne suivez pas les instructions.
Introduction TABLE des matières
Sécurité 27 Enregistrement de votre produit............28 Identification du produit 28
Preparation du SITE
Avant l'installation 29 Outils et pièces nécessaires 29 Outils et pièces fournis 29 Pièces fournies avec le réfrigérateur. 30 Exigences d'installation. 31 Planification d'installation 31 Exigences d'ouverture 31 Options d'installation de l'armoire et du panneau 31 Dimensions de l'ouverture à découvrir dans l'armoire. 32 Exigences de circulation d'air 32 Dimensions du panneau 33 Panneau antibasculement secondaire 34
Installation
Installer le support de grille 35 Installation du séparateur d'air en mousse... 36 Installation du panneau de grille. 37 Retirer la pellicule des panneaux 38 Installation du panneau de condélateur 39 Installation des panneaux de porte 40 Déplacement du réfrigerateur à l'emplacement final 42 Ajuster l'ouverture de la porte 43 Ajuster le panneau de congélateur. 44 Ajuster le panneau de réfrigérateur 45 Fixer les panneaux 47 Terminer l'installation. 49
Enregistrement de votre produit
Accédez à notre service à la clientèle de niveau concierge en enregistrant votre appareil. Nous simplifions l'enregistrement des produits afin que vous puissiez commencer à utiliser vos avantages JennAir exclusifs aujourd'hui.
L'enregistrement de votre appareil vous permet de :
Rendre plus simple votre service de garantie
Si nous disposons des informations sur tout produit, nous pouvons vous aider plus rapidement.
Protéger votre achat
En cas de perte d'assurance, comme lors d'un incendie, d'une inondation ou d'un vol, l'enregistrement de votre produit pourrait servir de preuve d'achat.
Gardez-vous et votre famille en sécurité.
Nous vous informerons dans le cas rare d'une notification de sécurité.
Commencez à profiter de ces avantages aujourd'hui en vous connectant en ligne pour enregistrer votre produit au jennair.com/customer-care. Au Canada, enregistrer votre produit sur jennair.ca.
Identification du produit
L'identification de votre produit, qui comprend le modèle et les numéros de série, figure sur la plaque signalétique du produit.
L'enregistrement des informations suivantes nous permet de vous aider plus facilement si votre appareil doit être réparé par un de nos fournisseurs de services agréés JennAir.
Numéro de module :
Numéro de série :
Date d'installation :
Marchand autorisé :
Numéro de téléphone du marchand autorisé :
Important :
- Ces instructions ne constituent qu'un guide général et ne peuvent en aucun cas ê rendre l'installation, on doit déterminer les critères de conformité de l'installation aux prescriptions de tout code national, provincial ou local.
- mplaçant pas. Suivre les instructions fournies avec le réfrigerateur pour l'installation dans l'armoire.
REMARQUE: Le sachet de quincaillerie contient toutes les pièces et fixations nécessaires pour monter des panneaux. La plupart de ces composants ont été préinstallées sur les panneaux de cet ensemble. Un sachet de quincaillerie est fourni avec le réfrigerateur. Il se trouve dans l'un des bacs à légumes ou est fixé à l'extérieur de l'une des portes du réfrigerateur.
Mise en GARDE
Risque de pincement
L'installation de panneaux de porte avec un espacement de moins de 3/8 po (0,95cm) entre le panneau de porte et l'armoire adjacente augmente le risque de pincement.
OUTILS Et PIECES nécessaires
Réunir les outils et pièces nécessaires avant de commencer l'installation. Lire et suivre les instructions fournies avec chacun des outils mentionnés dans cette liste. C'est à l'utilisateur qu'incombe la responsabilité de réaliser une installation correcte.
Outils requis :
Perceuse sans fil et forets Clés plates de 3/8 po et 1/2 po ou deux clés à molette Tournevis cruciforme Petit niveau Chariot pour appareil ménager Clés hexagonales de 3/32 po, 5/32 po et 3/16 po Tournevis à douille de 1/4 po et 5/16 po Prolongateur de tournevis à douille de 6 po Ruban à mesurer
Pièces fournies avec l'ensemble de panneaux :
Panneaux de portes extérieures équipés des poignées et de la quincaillerie de montage.
Instructions


Pièces fournies avec le réfrigérateur
(nécessaires pour installer la trousse de panneau)

Vis à tête plate
cruciforme
noire:8281252

Vis à tête hexagonale
fendue
W10141645

Goupille de butée
W10234202
PREPARATION DU SITE | 29
Preparation du SITE avant l'installation (suite)
PIECES FOURNIES AVEC LE RÉFRIGÉRATEUR
Les pièces suivantes ne sont pas nécessaires pour monter les panneaux de cet ensemble ou sont déjà montées sur les panneaux. Ces pièces peuvent être mises au rebut une fois l'installation terminée :
Support supérieur pour panneau noir : W10667450
Supports en "L" W10234199
Support de grille standard W10182743 (gauche) W10172741 (droit)
Support de grille intégrée W10260890 (gauche) W10260891 (droit)
Vis pointue à tête hexagonale W10141189
Vis à tête hexagonale W10142233
Vis à tête bombée 1163283
Rondelle à épaulement W10471946
Supports de panneau du congélateur W1060815
30 | PREPARATION DU SITE
Preparation du SITE exigences d'installation
Planification de l'installation
Important :
Planifier l'installation à l'aide de ces instructions, accompagnées des instructions d'installation fournies avec le réfrigerateur. Des modifications doivent être apportées au réfrigerateur pour accueillir les panneaux de porte pleine grandeur.
Pièces nécessaires
L'un des modèles de réfrigérateur encastré suivants :
Côte à côte de 42 po : JS42NXFXDE
Côte à côte de 48 po : JS48NXFXDE
Réfrigerateur de 36 po avec congélateur en bas : JB36NXFXLE, JB36NXFXRE
Réfrigérateur de 36 po avec congélateur en bas et porte à double battant : JF36NXFXDE
Réfrigérateur de 42 po avec congélateur en bas et porte à double battant : JF42NXFXDE
Trousse de panneaux pleine grandeur en acier avec poignées et accessoires (comprend le panneau de la grille et le support de grille).
Important :
La largeur de l'ouverture d'encastrement d'un côté à l'autre doit être telle que spécifiée par le modèle concerné, pour au moins 3 po (7,62 cm) en retrait de l'avant du meuble. Si l'ouverture d'encastrement ne respecte pas cette condition, des modifications devront être apportées. La profondeur de l'ouverture de l'avant du meuble jusqu'à son arrière doit être de 25 po (63,5 cm) au moins pour une installation en encastrément.
Options d'installation de l'armoire et du panneau
Profondeur de l'armoire - 25 po (63,5 cm)
Support de grille - vue de dessus
A. Porte du réfrigérateur B. Panneau de porte pleine grandeur C. Garniture latérale
D. Support de grille E. Armoire adjacente
Support de grille - vue de côté
A. Porte du réfrigérateur B. Panneau de porte pleine grandeur
C. Garniture latérale D. Support de grille
Important :
Les installations avec panneau de porte pleine grandeur nécessitant un dégagement minimum de 1/8 po (3,2 mm) au-dessus du réfrigérateur. Cet espace ne devrait pas être bloqué, notamment par d'éventuels soffites. Les modèles peuvent être installés en utilisant l'option 1, 2 ou 3.
Option 1 - Ouverture vers le plafond
Option 2 - Avant décoratif cadre de meuble uniquement
Option 3 - Soffite fermé
Preparation du SITE dimensions du panneau
MODELE AVEC CONGÉLATEUR SUPERPOSE
Poids maximum du panneau: 46 lb (20,9 kg)

| Légende Modèle Dimension | |
| A 36 po | 35 |
| B 36 po | 59 |
| C 36 po | 20 |
MODELES DE REFRIGERATEUR AVEC CONGELATEUR EN BAS ET PORTE À DOUBLE BATTANT
Poids maximum du panneau : 34 lb (15,5 kg)

| Légende Modèle Dimension | ||
| A | 36 po | 17 3/4 po (45,09 cm) |
| B 59 | 1/3 po (150,2 cm) | |
| C 20 | 1/2 po (52,07 cm) | |
| D 35 | 3/4 po (90,61 cm) | |
| A | 42 po | 20 3/4 po (52,71 cm) |
| B 59 | 1/4 po (150,2 cm) | |
| C 20 | 1/2 po (52,07 cm) | |
| D 41 | 3/4 po (105,85 cm) | |
MODELES COTE A COTE
Poids maximum du panneau: 48 lb (21,7 kg)

| Légende Modèle Dimension | ||
| A | 42 po(205,7 cm) | 173/4po (45,14 cm) |
| B 23 | 3/4po (60,38 cm) | |
| C 81 po | ||
| A | 48 po(205,7 cm) | 201/4po (51,49 cm) |
| B 27 | 1/4po (69,27 cm) | |
| C 81 po | ||

Risque de basculement
Le réfrigérateur est lourd au sommet et bascule facilement lorsqu'il n'est pas complètement installé.
Installer le panneau antibasculant secondaire pour assurer la stabilité du produit.
Utiliser deux ou plus de personnes pour déplacer et installer le réfrigerateur.
Le non-respect de ces instructions peut causer un décès ou une blessure grave.
Important :
Pour toutes les installations de panneaux de porte pleine grandeur, le panneau antibasculement secondaire doit être installé avant le panneau de porte. - Ce panneau antibasculement doit être fixé sur le côté droit de l'ouverture dans l'armoire selon les dimensions indiquées dans l'illustration.
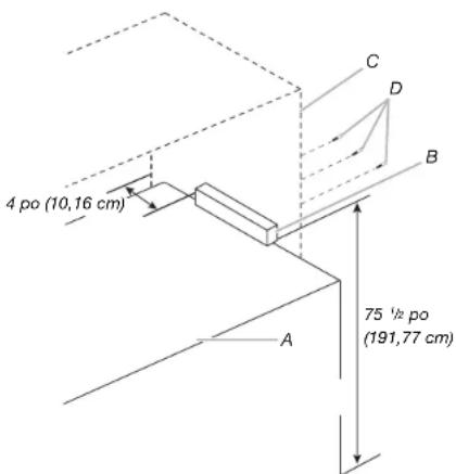
REMARQUE: Le panneau antibasculement est requis, il s'ajoute au panneau antibasculement du mur arrière (pour les installations avec ouverture vers le plafond) décrit dans les instructions d'installation incluses avec ce réfrigerateur. Fixer le panneau antibasculement secondaire pour que la surface du bas du panneau antibasculement secondaire soit à 75^1 / 2 po (191,77 cm) du plancher (côté droit).
- Les panneaux antibasculement principaux pour les installations avec ouverture vers le plafond sont fixés à 84 po (213,36 cm) du plancher (côté arrière). Pendant l'installation d'un panneau, soulever le réfrigerateur jusqu'à ce que le haut du réfrigerateur soit en contact avec le bas du panneau antibasculement secondaire.
Installation du panneau antibasculement secondaire
- Marque l'emplacement des montants sur le mur de l'armoire de droite.
- Fixer de façon sécuritaire un panneau de 2 po x 4 po x 12 po (5 cm x 10 cm x 30,4 cm) à l'armoire de droite en utilisant des vis à bois. Utiliser 3 vis à bois no 8 x 2 po (5,08 cm) ou plus longues.
Remarque:
Il est recommandé de visser les vis à bois à partir de la paroi de l’armoire vers le panneau antibasculement secondaire comme illustré. Le panneau doit chevaucher de 1 po (2,54 cm) le haut du réfrigerateur. Laisser 4 po (10,16 cm) d’espace à l’arrière comme illustré.

Réfrigérateur
B. Panneau antibasculement
secontaire
C. Armoire de cuisine
D. Vis à bois
INSTALLATION
INSTALLER LE SUPPORT DE GRILLE

POUR:

Averagement
Risque du poids excessif
Utiliser deux ou plus de personnes pour déplacer et installer le réfrigerateur.
Le non-respect de cette instruction peut causer une blessure au dos ou d'autres blessures.
REMARQUE: Si le réfrigerateur n'est pas sur roulettes, il est recommandé d'abaisser le produit pour avoir un meilleur accès au haut de l'appareil pendant l'installation du panneau. Pour faciliter l'installation de la grille, il est recommandé de sortir le produit de l'armoire, mais pas plus de 8 po (20,32 cm).
- Retirer les trois vis fixant chaque plaque de montage au haut du réfrigerateur sur chaque côte. Jeter les plaques de montage, mais conserver les vis pour fixer les deux supports de grille foumis dans cet ensemble.
- Retirer les deux vis fixant le séparateur d'air au compartiment de l'appareil. Jeter les séparateurs d'air et replacer les vis dans les trous respectifs.
- Aligner les trois trous de l'assemblage de supports de grille avec les trois trous du côté de l'armoire, comme indiqué. Utiliser les vis retirées à l'étape 1 et fixer le support de grille.
- Répéter l'étape 3 pour installer l'autre support de grille sur le côté opposé du réfrigerateur.
IMPORTANT: Installer les panneaux de porte pleine grandeur avant d'enlever les deux supports de grille déjà en place peut endommager les panneaux.
Pièces à utiliser :

2 supports de grille
INSTALLATION | 35
Installation du separateur d'air en MOUSSE

Aliq du
- Enlever le protecteur en papier du séparateur d'air en mousse pour permettre à nu la pellicule collante.
- Coller le séparateur d'air en mousse au compartiment de l'appareil où le séparateur d'air en métal était installé en appliquant une pression uniforme.
| Pièces à utiliser : | |
| 1 séparateur d'air en mousse | |
INSTALLATION
INSTALLATION DU PANNEAU DE GRILLE


- Positionner le panneau de grille entre les supports de grille situés de chaque côté de l'armoire.
- Accrocher le haut de la grille sur les rivets-goupilles. Faire tourner vers le bas et pousser le bas du panneau de la grille dans l'appareil jusqu'à ce que le panneau de la grille s'emboite.
REMARQUE: Pour enlever le panneau de la grille, pousser le haut du panneau de la grille vers l'intérieur jusqu'à ce que la partie inférieure se déboite. Faire tourner et soulever le panneau de la grille.
| Pièces à utiliser : | |
| 1 panneau de la grille | |
INSTALLATION
RETIRER LA PELLICULE DES PANNEAUX


- Retirer la pellicule couvrant les panneaux de portes/tiroirs.
REMARQUE: Manipuler les panneaux avec attention une fois le film enlevé pour éviter de les endommager ou de les rayer.

Pour les modeles COTE a COTE - passeer
POUR:

- Desserrer légèrement les vis de support du panneau du congélateur. REMARQUE: S'assurer que les portes du réfrigérateur sont bien fermées.
- Glisser le panneau sur le tiroir. Serrer les quatre vis de chaque côté pour fixer le support au panneau du tiroir.
- À l'aide des vis plates à tête cruciforme, fixer les supports du panneau au tiroir.
- Pour l'ajustement ultérieur du panneau, ne pas serrer complètement les vis qui maintiennent le support au tiroir.
IMPORTANT: Une fois l'installation de tous les panneaux terminée, vérifier l'alignement. Le panneau du tiroir peut être monté ou descendu pour rectifier l'alignement. Ne serrer entièrement les vis qu'une fois les panneaux parfaitement alignés.
PIECES autiliser:

6 vis cruciformes
INSTALLATION
INSTALLATION DES PANNEAUX DE PORTE



Risque de basculement
Le réfrigérateur est lourd au sommet et bascule facilement lorsqu'il n'est pas complètement installé.
Installer le panneau antibasculant secondaire pour assurer la stabilité du produit.
Utiliser deux ou plus de personnes pour déplacer et installer le réfrigerateur.
Le non-respect de ces instructions peut causer un décès ou une blessure grave.
Remarque:
S'assurer que le panneau antibasculement secondaire est installé avant d'ouvrir la porte. Consulter la section "INSTALLATION DU PANNEAU ANTIBASCULEMENT SECONDAIRE" pour installer le panneau antibasculement secondaire.
Pour l'installation du panneau, il est recommandé de sortir le produit de l'armoire, mais pas plus de 8 po (20,32 cm). Soulever le réfrigerateur jusqu'à ce que le haut du réfrigerateur touche le bas du panneau antibasculement secondaire.
N'ouvrir qu'une porte à la fois.
- Ouvrir les portes et enlever les couvercles de charnière.
REMARQUE: Les modèles avec porte à double battant et congelateur en bas possèdent un couvercle de charnière inférieur qui doit aussi être enlevé.
- Retirer les caches de tiges d'ajustement de la porte pour exposer les tiges d'ajustement.
- Utiliser l'emballage en mousse pour maintenir la porte ouverte pendant l'installation du panneau.

Risque du poids excessif
Utiliser deux personnes ou plus pour déplacer et installer les panneaux.
Le non-respect de cette instruction peut causer une blessure au dos ou d'autres blessures.
- Aligner les deux rondelles à épaulement à l'arrêt du panneau de porte avec les fentes en "J" sur le côté de la porte du réfrigerateur.
- Glisser simultanément le panneau sur la porte et abaisser le support du panneau sur les tiges d'ajustement situées en haut de la porte.
Remarque:
Pour les modèles avec porte à double battant et côte à côte, répéter les étapes 2 à 5 pour installer le deuxième panneau de porte. - Avec avoir bien installé les panneaux, abaisser le réfrigerateur sur les roulettes.
INSTALLATION
DéPLACEMENT DU RÉFRIGÉRATEUR À L'EMPLACEMENT FINAL
42 INSTALLATION A. Boulon d'ajustement B. Boulon d'ajustement de l'aplomb (arrière) de l'aplomb (avant)

Averagement
Risque du poids excessif
Utiliser deux ou plus de personnes pour déplacer et installer le réfrigerateur.
Le non-respect de cette instruction peut causer une blessure au dos ou d'autres blessures.
- Pousser doucement le réfrigerateur à son emplacement dans l'armoire pour que les panneaux soient en appui sur tous les côtés avec les armoires adjacentes.
- Utiliser un tournevis à douille de 5/16 po pour faire tourner les écrous d'ajustement de l'aplomb dans le sens horaire et soulever le réfrigerateur. Ajuster les écrous d'ajustement de l'aplomb jusqu'à ce que le haut du réfrigerateur touche le bas du panneau antibasculément secondaire.
IMPORTANT: Une fois la hauteur ajustée, s'assurer que le réfrigerateur est parfaitement d'aplomb à l'horizontal. S'assurer aussi que les panneaux sont en affleurement avec les armoires latérales.
Ajuster l'ouverture de la porte


- Si l'ouverture standard de la porte est trop large, ajuster la goupille de butée de porte pour obtenir un débouché maximal de la porte. Insérer la goupille de butée de porte dans la charnière supérieure, au trou indiqué. À l'aide d'une clé hexagonale de 5/32 po, serrer la goupille de butée de la porte.
| Pièces à utiliser : | |
| Goupille de butée (au besoin) | |
Ajuster le panneau de congélateur
44 INSTALLATION
POUR LES MODELES COTE A COTE - PASSEER
CETTE ETAPE
POUR:

- L'espace entre le panneau et les armoires adjacentes doit être de 1/8 po (3,2 mm). Utiliser la cale d'installation pour mesurer les espaces.
Ajuster le panneau de réfrigérateur


- Desserrer légèrement les vis du support de panneau pour permettre au panneau de bouger de gauche à droite.
- Ajuster les panneaux pour obtenir un espace de 1/8 po entre les panneaux et les armoires adjacentes. Pour les modèles avec porte double et congélateur en bas, aligner les bords extérieurs du panneau du réfrigerateur avec les bords extérieurs du panneau du congélateur des deux côtés. Pour les modèles côté à côté, aligner les panneaux du réfrigerateur et du congélateur avec les armoires latérales.
REMARQUE: Ajuster le panneau, pas la porte, si des ajustements sont nécessaires pour l'alignement ou l'espacement. 3. Serrer les vis de support de panneau.
INSTALLATION
AJUSTER LE PANNEAU DE RÉFRIGÉRATEUR (SUITE)


- Utiliser une clé hexagonale de 5/32 po pour élever ou abaisser les tiges d'ajustement afin de monter ou descendre le panneau de porte.
- L'espace entre le panneau et le bas du soffite doit être de 1/8 po (3,2 mm).
FIXER les panneaux


- À l'aide des vis à tête hexagonale fendue, fixer les charnières supérieure et inférieure aux panneaux de porte. Bien serrer toutes les vis du panneau de porte. REMARQUE: Ne pas trop serrer les vis pour ne pas endommager le panneau.
- Modèle des 36 po avec congélateur en bas - Utiliser les vis à tête hexagonale pour fixer le panneau au support de porte supplémentaire.
| Pièces à utiliser : | |
| Vis à tête hexagonale fendue (au besoin) | |
Installation FIXER les panneaux (suite)
48 INSTALLATION
- Utiliser les vis à tête cruciforme pour fixer le panneau à la porte, sur le côté charnières.
- À l'aide des vis à tête hexagonale fendue, fixer le panneau, situé en bas des portes, aux panneaux.
| Pièces à utiliser : | |
| Vis à tête cruciforme (au besoin) | |
| Vis à tête hexagonale fendue (au besoin) | |
Installation terminer l'installation


- Replacer les couvre-charnières.
- Emboiter les caches des tiges d'ajustement.
- Au moyen des vis à tête cruciforme, fixer les garnitures côte poignées (fournies avec le réfrigerateur) aux portes.
| Pièces à utiliser : | |
| Vis à tête cruciforme (au besoin) | |
NOTES:
W1117224C
Utilisé sous licence au Canada. Tous droits réservés.
06/18
Notice Facile