WVW53UC0LS - Hotte JENN-AIR - Notice d'utilisation et mode d'emploi gratuit
Retrouvez gratuitement la notice de l'appareil WVW53UC0LS JENN-AIR au format PDF.
| Caractéristiques | Détails |
|---|---|
| Type de hotte | Hotte murale |
| Dimensions | Largeur : 76 cm |
| Débit d'air maximum | 600 CFM |
| Niveaux de vitesse | 3 niveaux de vitesse |
| Éclairage | Éclairage LED intégré |
| Filtration | Filtres à graisse en aluminium lavables |
| Installation | Installation murale requise |
| Consommation énergétique | Classe énergétique non spécifiée |
| Matériau | Acier inoxydable |
| Fonctionnalités supplémentaires | Fonction de minuterie, télécommande disponible |
| Entretien | Filtres à nettoyer régulièrement, nettoyage de la surface en acier inoxydable |
| Sécurité | Protection contre la surchauffe |
| Garantie | Garantie limitée du fabricant |
FOIRE AUX QUESTIONS - WVW53UC0LS JENN-AIR
Questions des utilisateurs sur WVW53UC0LS JENN-AIR
0 question sur cet appareil. Repondez a celles que vous connaissez ou posez la votre.
Poser une nouvelle question sur cet appareil
Téléchargez la notice de votre Hotte au format PDF gratuitement ! Retrouvez votre notice WVW53UC0LS - JENN-AIR et reprennez votre appareil électronique en main. Sur cette page sont publiés tous les documents nécessaires à l'utilisation de votre appareil WVW53UC0LS de la marque JENN-AIR.
MODE D'EMPLOI WVW53UC0LS JENN-AIR
Instructions d'installation et Guide d'utilisation et d'entretien
Au Canada, pour assistance, installation ou service, composer le 1-800-807-6777 ou visiter notre site Web à www.whirlpool.ca
Table of Contents/Table des matières 2

Outils et pièces. 15 Exigences d'emplacement. 15 Exigences concernant l'évacuation. 16 Spécifications électriques 17
INSTRUCTIONS D'INSTALLATION 18
Préparation de l'emplacement. 18 Raccordement du circuit d'évacuation 19 Installation de la hotte 19 Raccordement électrique. 20 Installation des cache-conduits 20 Achever l'installation 21
UTILISATION DE LA HOTTE 21 Commandes de la hotte de cuisinière 21 ENTRETIEN DE LA HOTTE 22 Nettoyage 22 SCHEMA DE CABLAGE 23 ASSISTANCE OU SERVICE 24
Au Canada. 24 Accessoires 24
Votre sécurité et celle des autres est très importante.
Nous donnons de nombreux messages de sécurité importants dans ce manuel et sur votre appareil ménager. Assurez-vous de lire tous les messages de sécurité et de vous y conformer.

Voici le symbole d'alerte de sécurité.
Ce symbole d'alerte de sécurité vous signale les dangers potentiels de décès et de blessures graves à vous et à d'autres.
Tous les messages de sécurité suivent le symbole d'alerte de sécurité et le mot "DANGER" ou "AVERTISSEMENT". Ces mots signifient :
DANGER
Risque possible de décès ou de blessure grave si vous ne suivez pas immédiatement les instructions.
Risque possible de décès ou de blessure grave si vous ne suivez pas les instructions.
Tous les messages de sécurité vous diront quel est le danger potentiel et vous disent comment réduire le risque de blessure et ce qui peut se produire en cas de non-respect des instructions.
Avertissements de la proposition 65 de l'État de Californie :
AVERTISSEMENT: Ce produit contient au moins un produit chimique connu par l'État de Californie pour être à l'origine de cancers.
AVERTISSEMENT: Ce produit contient au moins un produit chimique connu par l'État de Californie pour être à l'origine de malformations et autres déficiences de naissance.
Instructions de sécurité importantes
AVERTISSEMENT : POUR RÉDUIRE LE RISQUE D'INCENDIE, CHOC ÉLECTRIQUE OU DOMMAGES CORPORELS, RESPECTER LES INSTRUCTIONS SUIVANTES :
Utiliser cet appareil uniquement dans les applications envisagées par le fabricant. Pour toute question, contacter le fabricant. Avant d’entreprendre un travail d’entretien ou de nettoyage, interrompre l'alimentation de la hotte au niveau du tableau de disjoncteurs, et verrouiller le tableau de disjoncteurs pour empêcher tout rétablissement accidentel de l'alimentation du circuit. Lorsqu'il n'est pas possible de verrouiller le tableau de disjoncteurs, placer sur le tableau de disjoncteurs une étiquette d'avertissement proéminente interdisant le rétablissement de l'alimentation. - Tout travail d'installation ou câblage électrique doit être réalisé par une personne qualifiée, dans le respect des prescriptions de tous les codes et normes applicables, y compris les codes du bâtiment et de protection contre les incendies. - Ne pas faire fonctionner un ventilateur dont le cordon ou la fiche est endommagé(e). Jeter le ventilateur ou le retourner à un centre de service agréé pour examen et/ou réparation. - Une source d'air de début suffisante est nécessaire pour le fonctionnement correct de tout appareil à gaz (combustion et évacuation des gaz à combustion par la cheminée), pour qu'il n'y ait pas de reflux des gaz de combustion. Respecter les directives du fabricant de l'équipement de chauffage et les prescriptions des normes de sécurité - comme celles publiées par la National Fire Protection Association (NFPA) et l'American Society for Heating, Refrigeration and Air Conditioning Engineers (ASHRAE), et les prescriptions des autorités réglementaires locales. Lors des opérations de découpage et de perçage dans un mur ou un plafond, ne pas endommager les câblages électriques et les canalisations qui peuvent s'y trouver. - Les ventilateurs d'évacuation doivent toujours décharger l'air à l'extérieur.
MISE EN GARDE : Cet appareil est conçu uniquement pour la ventilation générale. Ne pas l'utiliser pour l'extraction de matières ou vapeurs dangereuses ou explosives.
MISE EN GARDE : Pour minimiser le risque d'incendie et évacuer adéquatement les gaz, veiller à acheminer l'air aspiré par un conduit jusqu'à l'extérieur - ne pas décharger l'air aspiré dans un espace vide du bâtiment comme une cavité murale, un plafond, un grenier, un vide-sanitaire ou un garage.
AVERTISSEMENT: POUR RÉDUIRE LE RISQUE D'INCENDIE, UTILISER UNIQUÉMENT DES CONDUITS METALLIQUES.
AVERTISSEMENT: POUR MINIMISER LE RISQUE D'UN FEU DE GRAISSE SUR LA CUISINIÈRE:
- Ne jamais laisser un élément de surface fonctionner à puissance de chauffage maximale sans surveillance. Un renversement/débordement de matière grasse pourrait provoquer une inflammation et la génération de fumée. Utiliser une puissance de chauffage moyenne ou basse pour le chauffage d'huile. Veiller à toujours faire fonctionner le ventilateur de la hotte lors de la cuisson avec une puissance de chauffage élevée ou lors de la cuisson d'un mets à flamber (à savoir crêpes Suzette, cherry jubilee, steak au poivre flambé). Nettoyer fréquemment les ventilateurs d'extraction. Veiller à ne pas laisser la graisse s'accumuler sur les surfaces du ventilateur ou des filtres. Utiliser toujours un ustensile de taille appropriée. Utiliser toujours un ustensile adapté à la taille de l'élément chauffant.
AVERTISSEMENT : POUR RÉDUIRE LE RISQUE DE DOMMAGES CORPOELS APRès LE DÉCLENCHEMENT D'UN FEU DE GRAISSE SUR LA CUISINIÈRE, APPLIQUE LES RECOMMANDATIONS SUIVANTES : a
- Placer sur le recipient un couvercle bien ajusté, une tôle à biscuits ou un plateau métallique POUR ÉTOUFFER LES FLAMMES, puis étéindre le brûleur. VEILLER À ÉVITER LES BRULURES. Si les flammes ne s'éteignent pas immédiatement, ÉVACUER LA PIECE ET APPELER LES POMPIERS. NE JAMAIS PRENDRE EN MAIN UN RÉCIPIENT ENFLAMME - vous risquez de vous brûler. NE PAS UTILISER D'EAU, ni un torchon humide - ceci pourrait provoquer une Explosion de vapeur brûlante. Utiliser un extincteur SEULEMENT si :
- Il s'agit d'un extincteur de classe ABC, dont on connaît le fonctionnement.
- Il s'agit d'un petit feu encore limité à l'endroit où il s'est déclaré.
- Les pompiers ont été contactés.
- Il est possible de garder le dos orienté vers une sortie pendant l'opération de lutte contre le feu.
Recommandations tirées des conseils de sécurité en cas d'incendie de cuisine publiés par la NFPA.
■ AVENTISSEMENT : Pour réduire le risque d'incendie ou de chic électrique, ne pas utiliser ce ventilateur avec unquelconque dispositif de réglage de la vitesse à semi-conducteurs. - Cet apparéil n'est pas destiné aux personnes (y compris les enfants) dont les capacities physiques, sensorielles ou mentalles sont différentes ou réduites ou qui manquent d'expérience ou de connaissances/d'expertise pour utiliser l' apparéil, sauf si ces personnes sont supervises ou formées pour faire fonctionner l' apparéil par une personne qui assume la responsabilité de leur sécurité.
Outils et pièces
Rassembler les outils et pièces nécessaires avant d’entreprprendre l'installation. Lire et observer les instructions fournies avec chacun des outils de la liste ci-dessous.
Outils nécessaires
Niveau Perceuse avec forets de 1/4'' (3 mm), 3/8'' (9,5 mm), et 3/16'' (4,8 mm) Crayon Pince à dénuder ou couteau utilisé Métre-ruban ou règle Pince-pistolet à calfeutrage et composé de calfeutrage résistant aux intempéries Brides de conduit Scie sauteuse ou scie à guichet Tournevis à lame plate Cisaille de ferblantier Tournevis Phillips Adaptateur T20° Torx
Pièces nécessaires
Cable d'alimentation électrique du domicile - Serre-câble de 1/2 (12,7 mm) (homologation UL ou CSA) - 3 connecteurs de fils homologues UL
Pour les installations avec décharge à l'extérieur, il vous faudra aussi :
1 bouche de décharge (décharge à travers le mur ou à travers le toit) Circuit d'évacuation métallique
Pour les installations sans décharge à l'extérieur (recyclage), il faudra aussi :
- Ensemble de recyclage, pour les installations sans décharge à l'extérieur (recyclage) uniquement. Voir la section "Assistance ou service" pour commander. Conduit d'évacuation métallique circulaire de 6" (15,2 cm) de diamètre - longueur déterminée par la hauteur de plafond.
Pièces fournies
Retirer les pièces de leur emballage. Vérifier que toutes les pièces sont présentes.
Auvent de hotte avec ventilateur et lampes DEL installés Raccord de transition avec clapets anti-reflux installés - Bride de support du cache-conduit Filtre(s) àGRAISSÉMETALLIQUE(s) Gabarit demontage - Cache-conduit - 2 pieces 2 vis de 2,9 x 6,5 mm (Phillips) 2 vis de 3,5 x 9,5 mm (Phillips) 6 vis de montage de 5 × 45 mm (Phillips n° 2) 2 chevilles d'ancrage de 8 × 40 mm (mur en briquetage)
TORX et T20 sont des marques déposées de Acument Intellectual Properties, LLC.
Important: observer les dispositions de tous les codes et règlements en vigueur.
Confier l'installation de la hotte à un technicien qualifié. C'est à l'installateur qu'incombe la responsabilité de respecter les distances de séparation spécifiées sur la plaque signalétique de l'appareil. La plaque signalétique de l'appareil est située derrière le filtre de gauche, sur la paroi arrière de la hotte.
On doit toujours installer la hotte à distance des sources de courant d'air (fenêtres, portes et bouches de chauffage).
Respecter les dimensions individuelles pour les ouvertures à découper dans les placards. Ces dimensions tiennent compte des valeurs minimales des dégagements de séparation.
Il est recommandé d'utiliser cette hotte avec une table de cuisson dont la puissance totale ne dépasse pas 60 000 BTU.
Une prise de courant électrique reliée à la terre est nécessaire. Voir la section "Spécifications électriques".
La hotte est configurée à l'usine pour une décharge à travers le toit ou un mur. Pour une installation sans décharge à l'extérieur (recyclage), voir "Installations sans décharge à l'extérieur (recyclage) uniquement", à la section "Raccordement du circuit d'évacuation". L'ensemble de recyclage est disponible chez vos marchands ou chez un distributeur de pièces autorisé. Voir la section "Assistance ou service" pour commander.
On doit assurer l'étanchéité au niveau de chaque ouverture découpée dans le plafond ou un mur traversé par l'équipement de la hotte.
Installation dans une résidence mobile
L'installation de cette hotte doit satisfaire aux exigences de la norme Manufactured Home Construction Safety Standards, Titre 24 CFR, partie 328 (anciennement Federal Standard for Mobile Home Construction and Safety, titre 24, HUD, partie 280) ; lorsque cette norme n'est pas applicable, l'installation doit satisfaire aux critères de la plus récente édition de la norme Manufactured Home Installation 1982 (Manufactured Home Sites, Communities and Setups) ANSI A225.1/NFPA 501A, ou des codes locaux.
Dimensions du produit
- Pour installations sans décharge à l'extérieur (recyclage) Pour installations avec décharge à l'extérieur
Dimensions du placard

- Installations sans décharge à l'extérieur (recyclage)
Important :
Valeur minimale de la distance "X": 24" (61 cm) à partir de la surface de cuisson électrique
Valeur minimale de la distance "X": 27" (68,6 cm) à partir de la surface de cuisson au gaz.
Valeur maximale suggérée pour la distance "X": 36" (91,4 cm)
Les cache-conduits peuvent être adaptés à différentes hauteurs de plafond. Voir le tableau suivant.
| Installations avec décharge à l'extérieur | ||
| Hauteur minimale sous plafond | Hauteur maximale sous plafond | |
| Surface de cuisson électrique | 7' 5" (2,26 m) 9' 2" (2,79 m) | |
| Surface de cuisson à gaz | 7' 8" (2,34 m) 9' 2" (2,79 m) | |
| Installations sans décharge à l'extérieur (recyclage) | ||
| Hauteur minimale sous plafond | Hauteur maximale sous plafond | |
| Surface de cuisson électrique | 7' 5" (2,26 m) 9' 6" (2,9 m) | |
| Surface de cuisson à gaz | 7' 8" (2,34 m) 9' 6" (2,9 m) | |
REMARQUE: Les cache-conduits de hotte sont réglables; on peut les ajuster en fonction de la hauteur disponible sous plafond ou soffite, selon la distance "X" entre le bas de la hotte et la surface de cuisson. Pour des plafonds de hauteur supérieure, un ensemble d'extension de cache-conduit en acier inoxydable peut être acheté auprès de votre revendeur ou d'un distributeur de pièces autorisé. Voir la section "Assistance ou service" pour commander. L'extension de cache-conduit remplace la section supérieure de cache-conduit fournie avec la hotte.
Exigences concernant l'évacuation (seulement pour un modèle avec décharge à l'extérieur)
Le circuit d'évacuation doit décharger l'air à l'extérieur, excepté pour une installation sans décharge à l'extérieur (recyclage).
- Ne pas terminer le circuit d'évacuation dans un grenier ou dans un autre espace fermé.
- Ne pas utiliser une bouche de décharge murale de 4'' (10,2 cm) normalement utilisée pour un équipement de buanderie.
Utiliser uniquement des conduits métalliques. Des conduits en métal rigide sont recommandés. Ne pas utiliser de conduit de plastique ou en aluminium.
La longueur du circuit d'évacuation et le nombre de coudes doivent être réduits au minimum pour fournir la meilleure performance.
Pour un fonctionnement efficace et silencieux :
- Ne pas utiliser plus de trois coudes à.
Veiller à ce qu'il y ait une section droite de conduit de 24" (61 cm) ou plus entre les coudes, si on doit utiliser plus d'un raccord coude.
- Ne pas connecter 2 coudes ensemble.
Au niveau de chaque jointure du circuit d'évacuation, assurer l'étanchéité avec les brides de serrage.
Le circuit d'évacuation doit comporter un clapet anti-reflux. Si la bouche de décharge murale ou par le toit comporte un clapet, ne pas utiliser le clapet fourni avec la hotte d'extraction.
Assurer l'étanchéité avec un composé de calfeutrage autour de la bouche de décharge à l'extérieur (mur ou toit).
La taille du conduit doit être uniforme.
Installation dans une région à climat froid
On doit installer un clapet anti-reflux additionnel pour minimiser le reflux d'air froid, et incorporer un élément d'isolation thermique pour minimiser la perte de chaleur par conduction par l'intermédiaire du conduit d'évacuation, de l'intérieur de la maison à l'extérieur. Le clapet anti-reflux doit être placé du côté froid par rapport à l'élément d'isolation thermique.
L'élément d'isolation thermique doit être aussi proche que possible de l'endroit où le circuit d'évacuation pénètre la partie chauffée de la maison.
Air d'appoint
Le code du bâtiment local peut exiger l'emploi d'un système de renouvellement de l'air/introduction d'air d'appoint, lors de l'utilisation d'un système d'aspiration de débit supérieur à une valeur (pieds cubes par minute) spécifique. Le débit spécifique, pieds cubes par minute, est variable d'une juridiction à une autre. Consulter un professionnel des installations de chauffage ventilation/climatisation au sujet des exigences spécifiques applicables dans la juridiction locale.
Méthodes d'évacuation
Cette hotte a été configurée à l'usine pour la décharge de l'air aspiré à travers le toit ou à travers un mur.
Un circuit d'évacuation en conduit rond de 6" (15,2 cm) (non fourni) est nécessaire pour l'installation. La hotte compte une ouverture de sortie de diamètre 6" (15,2 cm).
REMARQUE: On déconseille l'emploi de conduit flexible. Un conduit flexible peut causer une rétropression et des turbulences de l'air, ce qui réduit considérablement la performance.
La sortie à l'extérieur du circuit d'évacuation peut se faire à travers le toit ou à travers un mur. Pour la sortie à travers un mur, on doit employer un raccord coudé (90^)
Décharge par l'arrière
Le raccord coude peut être installé immédiatement au-dessus de la hotte.
Installation sans décharge à l'extérieur (recyclage)
S'il n'est pas possible d'évacuer les fumées et vapeurs de cuisson à l'extérieur, on peut employer la version installation sans décharge à l'extérieur (recyclage) de la hotte, dotée d'un filtre à charbon et du déflecteur. Les vapeurs/fumées sont alors recyclées à travers la grille supérieure. Pour commander, voir la section "Assistance ou service".
Décharge à travers le toit A. Bouche de décharge sur B. Conduit rond de 6" (15,2 cm)
Décharge à travers le mur A. Bouche de décharge murale B. Conduit rond de 6" (15,2 cm)
Installation sans décharge à l'extérieur (recyclage) A. Déflecteur B. Conduit rond de 6" (15,2 cm)
Calcul de la longueur effective du circuit d'évacuation
Pour calculer la longueur effective du circuit d'évacuation nécessaire, additionner les longueurs équivalentes (pieds/mètres) de tous les composants utilisés dans le système.
Composants du circuit d'évacuation Conduit 6" (15,2 cm) de diamètre
| Coude à 45° 2,5 pi (0,8 m) |
| Coude à 90° 5 pi (1,5 m) |
La longueur équivalente maximum est de 35 pi (10,7 cm).
Exemple de circuit d'évacuation

Dans l'exemple suivant, la longueur théorique du circuit est inférieure au maximum recommandé de 35 pi (10,7 m).
1 coude à 90^ = 5 pi (1,5 m)
1 bouche de décharge murale = 0 pi (0m)
Section droite de 8 pi (2,4m) = 8 pi (2,4m)
Longueur du système = 13 pi (3,9m)
Spécifications électriques
Observer les dispositions de tous les codes et règlements en vigueur.
S'assurer que l'installation électrique est correcte et qu'elle satisfait aux exigences de la plus récente édition de la norme National Electrical Code, ANSI/NFPA 70, ou de la norme CSA C22.1-94, Code canadien de l'électricité, partie 1 et C22.2 n° 0-M91 (dernière édition) et de tous les codes et règlements en vigueur.
Si les codes le permettent et si l'on utilise un conducteur distinct de liaison à la terre, il est recommandé qu'un électricien qualifié vérifie la qualité de la liaison à la terre.
Pour obtenir un exemplaire des normes des codes ci-dessus, contacter :
L'appareil doit etre alimentede par un circuit de 120 V CAseulement,60Hz,15amperees, protegepar fusible. Si le domicile possède un cablage en aluminium, suivé la procédure ci-dessous:
Connecter le câblage en aluminium en utilisant des connecteurs et/ou des outils spécialement conçus et homologués UL pour fixer le cuivre à l'aluminium.
Suivre la procédure recommandée par le fabricant de connecteurs électriques. Les raccordements aluminium/cuivre doivent satisfaire aux prescriptions des codes locaux et de l'industrie, et être conformes aux pratiques de câblage reconnues.
Le calibre des conducteurs et les connexions doivent être compatibles avec les caractéristiques électriques de l'appareil spécifiées sur la plaque signalétique. La plaque signalétique de l'appareil est située derrière le filtre, sur la paroi arrière de la hotte. Le calibre des conducteurs doit être conforme aux exigences du National Electrical Code, de la plus récente édition de la norme ANSI/NFPA 70 ou des normes CSA C22.1-94, Code canadien de l'électricité, partie 1 et C22.2 n°0-M91 (édition la plus récente) et de tous les codes et règlements en vigueur.
Préparation de l'emplacement
- Il est recommandé d'installer le circuit d'évacuation avant de procéder à l'installation de la hotte.
- Avant d'exécuter les découvertes, vérifier la disponibilité d'un dégagement suffisant dans le plafond ou le mur pour le conduit d'évacuation.
- Avant de seLECTIONner la hotte à installer, mesurer la hauteur libre sous plafond et la hauteur maximum disponible sous la hotte.
- Déconnecter la source de courant électrique.
- Déterminer la méthode d'évacuation à utiliser : décharge à travers le mur ou le toit, ou recyclage.
- Sélectionner une surface plane pour l'assemblage de la hotte. Placer le matériel de protection sur cette surface.
Averagement
Risque du poids excessif
Utiliser deux ou plus de personnes pour déplacer et installer la hotte de la cuisinière.
Le non-respect de cette instruction peut causer une blessure au dos ou d'autres blessures.
- À l'aide de deux personnes ou plus, soulever la hotte et la poser sur la surface couverte.
- Oter la base en bois de la hotte de cuisine et jeter de façon convenable.
Installation des vis de montage de la hotte
- Déterminer et marquer la position de l'axe central sur le mur où la hotte sera installée.
- Sélectionner une hauteur de montage comprise entre un minimum de 24" (61 cm) pour une surface de cuisson électrique, un minimum de 27" (68,6 cm) pour une surface de cuisson au gaz et un maximum suggéré de 36" (91,4 cm) entre le dessus de la cuisinière et le bas de la hotte. Marquer la ligne de repérage sur le mur.
- Fixer le gabarit en place avec du ruban adhésif ; aligner l'axe central du gabarit et le bas du gabarit avec la ligne correspondant au bas de la hotte, et avec l'axe central déjà tracé sur le mur.

A. Axe central B. Emplacements des attaches C. Ligne de référence pour la hauteur de montage (bas de la hotte)
- À l'aide du gabarit, marquer sur le mur le centre des attaches.
IMPORTANT: Toutes les vis de montage de la hotte en ilot doivent être visées dans du bois où cela est possible. Si on ne peut pas visser les vis de montage de la hotte dans du bois, des tasseaux supplémentaires pour accrochage mural seront peut-être nécessaires, ou utiliser quatre chevilles d'ancrage de 10 × 60 ~mm et vis de 5,4 × 75 ~mm (non inclus).
Retirer le gabarit.
- Pour bois, percer des avant-trous de 3 / 16 (4,8 mm) à tous les emplacements de pose des vis dans du bois. Pour les chevilles d'ancrage, percer des trous de 7 / 16 (10 mm) à tous les emplacements des chevilles d'ancrage.
- Pour bois, installer les 2 vis de montage de 5 × 45 ~mm. Laisser un espace de 1/4" (6,4 mm) entre le mur et l'arrière de la tête de vis pour faire glisser la hotte et la mesurer en place.
Pour les chevilles d'ancrage, installer les chevilles d'ancrage de 10 × 60 ~mm et installer les vis de montage de 5,4 × 75 ~mm dans les chevilles d'ancrage. Serrer les vis jusqu'à ce que les chevilles d'ancrage mural soient solidement fixées. Desserrer les vis de 1/4 (6,4 mm).

Installation avec utilisation des sections télescopiques supérieure et inférieure du cache-conduit
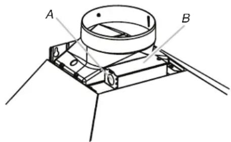
- Positionner la bride de cache-conduit sur le mur à environ 1/4'' (3 mm) du plafond.
- Faire des repères aux emplacements des trous.
- Percer 2 trous de ^3 / _8 (9,5 mm) pour les chevilles de 8 x 40 mm et insérer ces dernières en affleurement avec le mur.

A. Chevilles d'ancrage de 8 x 40 mm B. Axe central sur le mur C. Bride de support du cache-conduit D. Vis de 5 x 45 mm
- Fixer la bride de support du cache-conduit au mur.
Achever la préparation
- Determiner et effectuer tous les découvertes nécessaires dans le mur pour le passage du circuit d'évacuation. Installer le circuit d'évacuation avant la hotte. Voir la section "Exigences concernant l'évacuation".
- Déterminer la hauteur appropriée pour le cordon d'alimentation du domicile et enchainer un trou de 1^1/4 (3.2 cm) à cet endroit.
- Acheminer le cable d'alimentation du domicile selon les prescriptions du Code national de l'électricité, des normes CSA et des codes et réglements locaux. Il faut que la longueur du conduit de 1/2 et des conducteurs soit suffisante depuis le tableau de distribution (avec fusibles ou disjoncteurs) pour réaliser le raccordement dans le boîtier de connexion de la hotte.
REMARQUE: Ne pas mettre le système sous tension avant d'avoir complètement terminé l'installation.
- Utiliser un calfeutrant pour assurer l'étanchéité au niveau de chaque ouverture.
Raccordement du circuit d'évacuation
- Installer le raccord de transition au sommet de la hotte (s'il a ete enleve pour expedition), avec 2 vis de tolerie de 3,5× 9,5mm
A. Raccord de transition B. Vis de 3,5 x 9,5 mm
Pour les installations avec décharge à l'extérieur uniquement :
- Installer le circuit d'évacuation sur le raccord de transition.
- Serrer le raccord avec des brides de serrage.
- Vérifier que les clapets anti-retour fonctionnent correctement.
Installation de la hotte
REMARQUE: Ôter le film protecteur de la hotte de cuisine et des filtres en métal.
- À deux personnes au moins, suspendre la hotte aux 2 crochets de montage, à travers les encoches de montage à l'arrière de la hotte.
C. vis de montage internes
- Oter le filtre à graisse. Voir la section "Entretien de la hotte".
- Mettre la hotte de niveau et serrer les vis de montage supérieures.
- Installer les 2 vis de montage inférieures de 5 × 45 mm et serrer. Utiliser des chevilles d'ancrage facultatives si nécessaire.
Installations sans décharge à l'extérieur (recyclage) uniquement :
- Assembler le déflecteur d'air sur la bride du cache-conduit à l'aide des 2 vis de montage fournies avec l'ensemble de recyclage.
A. Bride de cache-conduit B. Vis d'assemblage C. Déflecteur
- Mesurer la distance entre le bas du déflecteur et le bas de la sortie de la hotte.
A. Déflecteur d'air B. Bride pour conduit C. X = longueur à laquelle couper le conduit d'évacuation D. Conduit d'évacuation E. Sortie d'évacuation
- Tailler le conduit à la taille mesurée "X".
- Retirer le déflecteur d'air.
- Faire coulisser le conduit sur le bas du déflecteur d'air.
- Placer le déflecteur d'air et le conduit assemblés sur la sortie d'évacuation de la hotte.
- Réassembler le déflecteur sur la bride de cache-conduit à l'aide des 2 vis d'assemblage.
- Assurer l'étanchéité des raccordements avec une bride de conduit.

Risque de choc électrique
Déconnecter la source de courant électrique avant l'entretien.
Remplacement des pièces et panneaux avant la remise en marche.
Le non-respect de ces instructions peut causer un décès ou un choc électrique.
- Déconnecter la source de courant électrique.
- Retirer le couvercle du boitier de connexion.
- Retirer l'opercule arrachable du boitier de connexion et installer un serre-cable de 1 / 2 (12,7 mm) (homologation UL ou CSA).

A. Opèrcule arrachable B. Couvercle du boîtier de connexion
- Acheminer le cordon d'alimentation du domicile à travers le serre-cable, dans le boitier de connexion.

A. Câble d'alimentation électrique du domicile B. Serre-cable (homologation UL ou CSA) C. Connecteurs de fils (homologation UL)
D. Conducteurs blancs E. Conducteurs noirs F. Conducteurs verts (ou nus) ou vert-jaune de liaison à la terre G. Boîtier de connexion
- Connecter ensemble les conducteurs noirs (E) à l'aide de connecteurs de fils (homologation UL).
- Connecter ensemble les conducteurs blancs (D) à l'aide de connecteurs de fils (homologation UL).

Risque de choc électrique
Relier le ventilateur à la terre.
Brancher le fil relié à la terre au fil vert et jaune relié à la terre dans la boîte de la borne.
Le non-respect de ces instructions peut causer un décès ou un choc électrique.
- À l'aide des connecteurs de fils (homologation UL), connecter le conducteur de liaison à la terre (vert ou nu) du câble d'alimentation du domicile au conducteur vert-jaune de liaison à la terre (F) dans le boîtier de connexion.
- Serrer la vis du serre-cable.
- Installer le couvercle du boîtier de connexion.
- Vérifier que chaque ampoule est bien insérée dans sa douille.
- Reconnecter la source de courant électrique.
Installation des cache-conduits
REMARQUE: Ôter le film de protection des couvercles de ventilation.
- En cas d'utilisation des sections supérieure et inférieure du cache-conduit, pousser la section inférieure vers le bas, sur la hotte et soulever la section supérieure vers le plafond puis installer l'ensemble avec 2 vis de 2,9 × 6,5 mm.

A. Section supérieure du cache-conduit B. Cache-conduit - section inférieure C. Vis de 2,9 × 6,5 mm D. Bride
REMARQUE : Pour les installations avec décharge à l'extérieur, le cache-conduit supérieur peut être inversé pour dissimuler les fentes.
Achever l'installation
- Pour les installations sans décharge à l'extérieur (recyclage) uniquement, installer les filtres à charbon sur les filtres à graisse à l'aide des attaches fournies avec l'ensemble. Voir la section "Entretien de la hotte".
- Installer les filtres métalliques. Voir la section "Entretien de la hotte".
- Contrôler le fonctionnement de la hotte et de la lampe du ventilateur. Voir la section "Utilisation de la hotte".
REMARQUE: Pour pouvoir tirer le plus grand parti de la nouvelle hotte de cuisinière, voir la section "Utilisation de la hotte".
Utilisation de la HOTTE
La hotte de cuisine est conçue pour extraire fumée, vapeurs de cuisson et odeurs de la zone de la table de cuisson. Pour obtenir les meilleurs résultats, mettre le ventilateur de la hotte en marche avant d'entreprndre une cuisson, et laisser le ventilateur fonctionner pendant plusieurs minutes après l'achèvement d'une cuisson pour pouvoir évacuer de la cuisine toute trace d'odeur de cuisson ou fumée.

A. Filtre à graisse B. Poignée du filtre à graisse C. Commandes du ventilateur et de l'éclairage D. Lampes DEL
Les commandes de la hotte sont situées à l'avant de celle-ci.
Commandes de la hotte de cuisinière
ABCD

ON/OFF
MED
HIGH
A. Bouton lumineux B. Bouton Marche/Arrêt du ventilateur et vitesse minimale C. Bouton de vitesse moyenne du ventilateur D. Bouton de vitesse maximale du ventilateur
Utilisation de l'éclairage
Le bouton d'éclairage marche/arrêt contrôle les deux lampes. Appuyer une fois pour marche et une deuxième fois pour arrêt.
Utilisation du ventilateur
Le bouton ON/OFF met le ventilateur en marche et règle la vitesse minimale et le niveau sonore du ventilateur pour un fonctionnement silencieux. La vitesse peut être modifiée à tout moment pendant le fonctionnement du ventilateur en appuyant sur le bouton de vitesse du ventilateur souhaité.
Appuyez une deuxième fois sur le bouton ON/OFF du ventilateur pour éteindre le ventilateur.
Nettoyage
IMPORTANT: Nettoyer fréquemment la hotte et les filtres àGRAISSÉ en suivant les instructions suivantes. Réinstaller les filtres àGRAISSÉ avant de faire fonctionner la hotte.
Surfaces externes
Afin d'éviter d'endommager la surface externe, ne pas utiliser de tampons en laine d'acier ou de tampons à récurer savonnoux. Toujours essuyer pour éviter de laisser des marques d'eau.
Méthode de nettoyage :
- Savon détergent liquide et eau, ou produit de nettoyage polyvalent. Frotter avec un chiffon doux humide ou une éponge non abrasive, puis rincer avec de l'eau propre et essuyer.
Filtre à graisse métallique
- Retirer le filtre en tirant sur la poignée à ressort, puis en tirant le filtre vers le bas.
Poignée à ressort
- Laver le filtre métallique selon le besoin au lave-vaiselle ou avec une solution de détergent chaude.
- Réinstaller le filtre en s'assurant que les poignées à ressort sont orientées vers l'avant. Insérer le filtre à GRAISE métallique dans la rainure supérieure.
- Tirer sur la poignée à ressort.
- Pousser le filtre métallique vers le haut et relâcher la poignée pour l'emboiter.
- Répéter les étapes 1 à 5 pour l'autre filtre.
Filtres d'installation sans décharge à l'extérieur (recyclage)
Le filtre à charbon n'est pas lavable. Celui-ci devrait durer pendant 6 mois dans des conditions d'utilisation normales. Remplacer par l'ensemble du filtre à charbon. Voir la section "Assistance ou service" pour plus d'informations sur le processus de commande.
Remplacement du filtre à charbon :
- Retirer le filtré àGRAISSÉ METALLIQUE de la hotte. Voir "Filtre à graissé métallique" dans cette section.
- Déplier les attaches à ressort pour les écarter du filtre à graissé métallique.

- Placer le filtre à charbon dans la partie supérieure du filtre métallique.
- Replier les attaches à ressort pour les remettre en place afin de fixer le filtre à charbon au filtre métallique.

- Réinstaller le filtre à graisse métallique. Voir "Filtre à graisse métallique" dans cette section.
Remplacement de la lampe à DEL
Les lampes DEL doivent être remplacées par un technicien de service qualifié uniquement. Voir la section "Garantie" pour des renseignements de contact sur le service.
SCHEMA DE CÂBLAGE
Si vous avez besoin de service
Consulter la page de garantie du présent manuel.
Si vous avez besoin de pièces de rechange
Si vous avez besoin de commander des pièces de rechange, nous vous recommandons d'utiliser seulement des pièces spécifiées par l'usine. Les pièces spécifiées par l'usine conviendront et fonctionneront bien car elles sont fabriquées avec la même précision que celles utilisées pour fabriquer chaque nouvel appareil.
Pour localiser des pièces spécifiées par l'usine dans toute région, composer le numéro de téléphone d'aide à la clientèle suivant ou appeler le centre de service désigné le plus proche.
Au canada
Veuillez appeler sans frais le Centre pour l'Expérience de la clientèle de Whirlpool Canada au : 1-800-807-6777 ou visitez notre site web à www.whirlpool.ca.
Nos consultants vous renseigneront sur les sujets suivants :
- Programmation d’une intervention de dépannage. Les techniciens de service désignés par Whirlpool sont formés pour remplir la garantie des produits et fournir un service après garantie partout au Canada.
- Caractéristiques et spécifications sur toute notre gamme d'appareils électroménagers. Références aux marchands locaux.
- Consignes d'utilisation et d'entretien. Vente d'accessoires et de pièces de rechange.
Pour plus d'assistance
Si vous avez besoin de plus d’assistance, vous pouvez soumettre par écrit toute question ou préoccupation à Whirlpool Canada à l’adresse suivante:
Whirlpool Brand Home Appliances Customer eXperience Centre Whirlpool Canada 200 - 6750 Century Ave. Mississauga, Ontario L5N 0B7
Veuillez inclure dans votre correspondance un numéro de téléphone auquel on peut vous joindre pendant la journée.
Ensemble de recyclage
(pour installations sans décharge à l'extérieur uniquement) Commander la pièce numéro W11548459
Ensemble filtré à charbon
(pour installations sans décharge à l'extérieur uniquement) Commander la pièce numéro W11548461
Ensemble d'extension de cache-conduit
Commander la pièce numéro EXTKIT18FS
Ensemble d'air d'appoint de 6" (15,2 cm)
(consulter les codes du bâtiment locaux)
Commander la pièce numéro W10446915
Ensemble de cordon d'alimentation
(consulter les codes du bâtiment locaux)
Notice Facile