968320 - Palan MILWAUKEE - Notice d'utilisation et mode d'emploi gratuit
Retrouvez gratuitement la notice de l'appareil 968320 MILWAUKEE au format PDF.
| Caractéristiques techniques | Palan électrique MILWAUKEE 968320, capacité de levage, vitesse de levage, type de moteur, dimensions, poids. |
|---|---|
| Utilisation | Idéal pour le levage de charges lourdes dans les chantiers, ateliers et environnements industriels. |
| Maintenance et réparation | Vérifier régulièrement les câbles et les mécanismes, lubrification des pièces mobiles, consulter le manuel pour les réparations spécifiques. |
| Sécurité | Utiliser des équipements de protection individuelle, respecter les charges maximales, suivre les instructions de sécurité du fabricant. |
| Informations générales | Garantie du produit, disponibilité des pièces de rechange, support technique, compatibilité avec d'autres équipements. |
FOIRE AUX QUESTIONS - 968320 MILWAUKEE
Questions des utilisateurs sur 968320 MILWAUKEE
0 question sur cet appareil. Repondez a celles que vous connaissez ou posez la votre.
Poser une nouvelle question sur cet appareil
Téléchargez la notice de votre Palan au format PDF gratuitement ! Retrouvez votre notice 968320 - MILWAUKEE et reprennez votre appareil électronique en main. Sur cette page sont publiés tous les documents nécessaires à l'utilisation de votre appareil 968320 de la marque MILWAUKEE.
MODE D'EMPLOI 968320 MILWAUKEE

PALANS manuels à LEVIER
Nos. de Cat.
9682-20 3/4 Tonne
9683-20 (750 Kg)
9684-20
9685-20 1½ Tonne
9686-20 (1500 Kg)
9687-20
9688-20
9689-20 3 Tonne
9690-20 (3 000 Kg)
9691-20
Charge
Nominale
Averagement
N'utilisez pas le palan afin de lever, supporter ou transporter des personnes.
Averagement
Afin de réduire le risque de blessures, évitez de modifier ou d'alterer le palan. Utilisez uniquement des pièces de rechange MILWAUKEE. L’altération ou la modification de l’outillage, de même que l’emploi de pièces de rechange autres que des pièces authentiques MILWAUKEE peut composer des risques et causer des blessures.
AFIN DE RÉDUIRE LE RISQUE DE BLESSURES, L'UTILISATEUR DOIT LIRE ET BIEN COMPRENDRE LE MANUEL DE L'UTILISATEUR.
Avertissement
Si non prévenue, une utilisation inadéquate d'un palan peut créer une situation potentiellement dangereuse qui pourrait causer la mort ou des sévères blessures. Pour prévenir toute situation potentiellement dangereuse, l'opérateur doit:
- NE PAS opérer un palan défectueux ou ayant un fonctionnement inhabituel.
- NE PAS opérer le palan avant d'avoir bien lu et compris ce manuel.
- NE PAS utiliser un palan qui a été modifié sans l'approbation du manufacturer ou le sceau selon les normes applicables de l'OSHA.
- NE PAS lever ou haler une charge excédant la capacité nominale du palan.
- NE PAS utiliser un palan endommagé ou qui ne fonctionne pas convenablement.
- NE PAS utiliser un palan ayant qui a chaîne de levage tordue, déformée, usée ou endommagée.
- NE PAS opérer le palan avec une barre d'extension du levier («cheater bar»).
- NE PAS tenter de dégager la chaîne sous charge.
- NE PAS utiliser le palan pour lever, supporter ou transporter des personnes.
- NE PAS soulever de charges au-dessus de personnes et s'assurer que la charge demeure dégagée de tout le personnel.
- NE PAS essayer d'allonger la chaîne de levage ou de réparer une chaîne endommagée.
- PROTEGER la chaîne de levage des éclaboussures de soudage ou autres contaminants.
- NE PAS opérer le palan lorsque la chaîne ne peut se tendre en ligne droite de crochet à crochet dans l'axe de charge.
- NE PAS utiliser la chaîne de levage comme élingue ou enrouler la chaîne autour de la charge.
- NE PAS appliquer la charge sur la pointe ou le loquet de verrouillage du crochet.
- NE PAS appliquer la charge si la chaîne n'est pas proprement assistée dans les roues et engrenages de chaîne.
- NE PAS appliquer de charge si les roulements à bille ne permettent pas une charge égale sur toutes les chaines de support de charge.
- NE PAS opérer au-delà de la portée d'opération limite de la chaîne.
- NE PAS laisser une charge suspendue sans surveillance à moins que des précautions spécifiques aient été prises.
- NE PAS permettre l'utilisation de la chaîne ou du crochet comme masse électrique pour soudage ou autre.
- NE PAS laisser la chaîne ou le crochet être touchée par une électrode de soudage sous tension.
- NE PAS enlever ou cacher les signes d'avertissements sur le palan.
- NE PAS utiliser un palan qui n'a pas été sécuritairement fixé à un support convenable.
- NE PAS utiliser un palan à moins que les élingues ou une autre amarre de calibre approuvé soit correctement assise dans le creux du crochet.
- NE PAS soulever de charge qui n'est pas équilibrée et dont le levage n'est pas sécuritaire, en la déposant avec précaution.
- NE PAS opérer un palan à moins que toutes les personnes soient et demeurent à l'écart de la charge soutenue.
- ÉMETTURE NOTICE de fautes de fonctionnement ou de performances non usuelles d'un palan et le garder hors service jusqu'à ce qu'il soit réparé.
- NE PAS utiliser un palan dont les plaques ou décalques de sécurité sont absentes ou non lisibles.
- FAMILIARISEZ-VOUS avec les avertissements, commandes et procédures d'opération.
Averagement
Si non prévue, une utilisation inadéquate d'un palan peut créer une situation potentiellement dangereuse qui pourrait causer des blessures mineures ou moyennement sérieuses. Pour prévenir cette situation potentiellement dangereuse, l'opérateur doit:
- Garder le pied ferme ou est autrement stable lors de l'opération du palan.
- Vérifier le fonctionnement du frein en mettant de la tension sur le palan avant chaque opération de levage ou de halage.
- Utiliser les loquets de verrouillage des crochets. Les loquets de verrouillage sont destinés à retenir les élingues, chaînes etc., en situation non tendue seulement.
- Assurez-vous que les loquets de verrouillage des crochets sont fermés et ne subissent aucun effort de levage de la charge.
- Assurez-vous que le champ de déplacement de la charge n'est pas obstrué par quoi que ce soit.
- Ne pas balancer la charge ou le crochet.
- Prévenir le rebondissement du levier en gardant une prise ferme du levier jusqu'à ce que l'opération du levier soit complète et que le levier soit en position de non-tension.
- Inspectez le palan régulièrement, remplacez les composantes usées ou endommagées et gardez un registre approprié d'entretien.
- Utilisez les pièces MILWAUKEE recommandées lors des réparations de l'unité.
- Lubrifiez la chaîne de levage selon les recommandations de ce manuel.
- NE PAS opérer d'autre façon que par force manuelle.
- NE PAS permettre plus d'un opérateur à tirer sur le levier en même temps. Plus d'un opérateur causera vraisemblablement une surcharge du palan.
- NE PAS laisser votre attention diverger de l'opération du palan.
- NE PAS laisser le palan être soumis à l'abus causant des contacts sévères avec d'autres palans, structures ou autres objets.
- NE PAS ajuster ou réparer le palan sauf si qualifié à exécuter ces ajustements ou réparations.
Les palans sont destinés à un usage industriel général pour le déplacement de charges en deçà de leurs capacités de charge nominales. Avant d'installer et d'opérer le palan, assurez-vous que l'application ne contrevient à aucune condition de manœuvre sécuritaire.
Consignes specifiques de securite - PALANS à LEVIER
Chaque palan manuel à levier MILWAUKEE est fabriqué conformément aux devises spécifiés dans le présent manuel et selon notre interprétation des sections du code B30.21 "Manually Lever Operated Hoists" (Palans manuels à levier) de l'Amerikan Society of Mechanical Engineers (ASME), de même que selon les normes de l Occupational Safety and Health Act (OSHA) en vigueur au moment de la fabrication. Copies de ces normes peuvent être obtenues de l'ASME Order Department, 22 Law Drive, PO Box 2300, Fairfield, NJ 07007-2300, USA.
Les lois concernant la sécurité des appareils de levage et des monte-plats peuvent comporter des détails de fabrication qui ne sont pas nécessairement applicables à ce palan. Nous recommandons l'emploi d'un outillage qui respecte les normes provinciales et nationales spécifiées aux codes de sécurité. Milwaukee Electric Tool Corporation ne peut être tenue responsable des usages autres que ceux qui sont expressément recommandés pour cet outillage MILWAUKEE.
- Prenez connaissance des normes de sécurité ASME B30.21 et des consignes du présent manuel.
- Ne laissez pas plus d'une personne à la fois manoeuvrer le palan à levier.
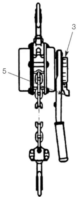
DESCRIPTION FONCTIONNELLE

- Crochet supérieur
- Cadre du palan
- Bouton de déclenchement de chaîne
- Chaîne de levage
- Levier directionnel
- Levier
- Anneau terminal
- Crochet inférieur
- Pointe du crochet
- Verrou du crochet
Tableau 1 - Spécifications
| No. de Tonnes Levage Catalogue (Kg) Pl. (m) |
| 9682-20 3/4 (750) 5 (1,5) |
| 9683-20 3/4 (750) 10 (3,0) |
| 9684-20 3/4 (750) 20 (6,1) |
| 9685-20 1½ (1 500) 5 (1,5) |
| 9686-20 1½ (1 500) 10 (3,0) |
| 9687-20 1½ (1 500) 20 (6,1) |
| 9688-20 1½ (1 500) 25 (7,6) |
| 9689-20 3 (3 000) 5 (1,5) |
| 9690-20 3 (3 000) 10 (3,0) |
| 9691-20 3 (3 000) 20 (6,1) |
Averagement
Pour minimiser les risques de blessures, examinez soigneusement l'outillage, avant de l'utiliser, pour en déceler les défauts. N'utilisez pas un palan endommagé ou défectueux. Ne manoeuvrez pas le palan si la chaîne est tordue, vrillée, usée ou endommagée. L'emploi d'un palan en mauvais état peut entraîner la chute de la charge, causer des dommages et des blessures corporelles.
Instructions de maniement
Avant d'utiliser le palan à levier MILWAUKEE, familiarisez-vous avec les composants de cet outil (voir Description fonctionnelle) fig. 1). Avant de vous en servir, vérifiez toujours le fonctionnement du palan. Ne vous servez jamais d'un palan défectueux.
Figure 1 Levier directionnel
Vérifiez le fonctionnement du palan avant de l'employer à pleine charge.
Manœuvrez d'abord le palan à vide puis ajoutez une charge d'environ 100 livres (45 Kg) pour vous assurer qu'il fonctionne normalement et que le frein retient bien la charge lorsque le levier est relâché.
Averagement
Pour minimiser les risques de blessures, n'employez pas le palan pour soulever des personnes et ne soulevez pas de charge au-dessus des personnes. Ne soulevez pas plus que la charge nominale du palan. N'utilisez pas la chaîne de levage comme élingue.
Chaîne à commande LIBRE
En mode libre, la chaîne de levage peut être tirée manuellement au travers du palan dans l'une ou l'autre direction pour arrimer rapidement une charge.
Avertissement
Afin de minimiser les risques de blessures, ne tirez pas et n'actionnez pas le bouton de déclenchement de la chaîne pendant que le palan est chargé. Si le bouton de détente de chaîne est actionné, la charge du palan sera relâchée.
Réglage du palan en mode de chaîne libre
Pour permettre l'enchainement libre, enlever toute charge du palan et placer le levier de direction en position. Tourner la poignée de chaine libre en sens inverse des aiguilles d'une montre pour désengager le frein et tirer sur l'une ou l'autre des chaines jusqu'à ce que le crochet inférieur soit à la position désirée.
Réglage du palan en mode de traction
- Pour remettre en opération, placer le levier de direction à la position de levage (↑) ou de descente (↓). Tirer la chaîne dans l'une ou l'autre direction pour vous assurer que l'unité n'est plus en chaîne libre.
Averagement
Afin de minimiser les risques de blessures, installez le palan en ligne droite d’un crochet à l’autre et assurez le libre pivotement du palan. Si le palan ne pivote pas librement, le levier de traction pourrait briser le châssis, causant des blessures à l’utilisateur et des dommages à la charge.
Maniement du PALAN à LEVIER
Le palan à levier MIL WAUKEE peut être utilisé à n'importe quelle position à condition que les crochets de traction supérieur et inférieur soient en droite ligne (voir fig. 2). Le cadre doit toujours être libre de pivoter au niveau du crochet supérieur.
Figure 2 ANGLE DE TRACTION SECURITAIRE
ANGLE DE TRACTION DANGEREUX
Avertissement
Ne laissez pas le cadre du palan appuyer sur la charge ou les fixations pour éviter de forcer le crochet ou le cadre et le risque d'une panne.
- Accroche la charge au crochet inférieur.
- Pour tendre la chaîne, suivez les instructions sous le titre : «Chaîne à commande libre».
N. B. La chaîne de levage doit passer correctement dans le guide-chaîne. Une chaîne vrillée pourra subir des dommages dans la roue de levage et même se briser.
Lorsque l'espace est restreint, utilisez des fixations ou des élingues pour éviter que les mouvements du cadre et du levier directionnel ne soient gênés.
- Pour amorcer la traction ou le levage de la charge, placez le levier directionnel à la position de charge marquéeLOAD et déplacez-le successivement de haut en bas à plusieurs reprises.
- Pour abaisser ou relacher une charge, placez le levier directionnel à la position marquee-UNLOAD et déplacez-le successivement de haut en bas à plusieurs reprises.
Averagement
Un outillage défectueux, le relâchement des fixations et une mauvaise posture de l'utilisateur peuvent causer une perte d'équilibre et des blessures à l'usager. Pour éviter ce risque, assurez-vous d'une prise de pieds ferme lorsque vous utilisez un palan à levier.
Averagement
N'allongez pas le levier de traction. Si la pression exercée sur le levier excède la force de traction de l'outillage, il y aura risque de surcharge du palan.
Pratiques recommandees
- îne de levage est propre et que rien ne gêne la roue de levage ou le levier de traction.
- Le palan doit toujours être installé pour soulever en ligne droite d'un crochet à l'autre.
a. Palanquer signifie soulever et déplacer de lourdes charges au moyen d'un palan ou d'autre outil de levage mécanique. L'acquisition d'une technique de levage par l'expérience ou par des études spécialisées est essentielle à la manoeuvre sécuritaire d'un palan. Il est recommendable de consulter un ouvrage standard sur le sujet. b. Le palan doit toujours être libre de pivoter sur son crochet supérieur. Le cadre du palan ne doit jamais appuyer sur un obstacle au cours d'une manoeuvre, car il pourrait en résulter un gauchissement du crochet ou du cadre et des dommages à l'outillage.
- Avant de soulever ou déplacer une charge, assurez-vous que les fixations des deux crochets du palan sont fermement assises sur l'appui du crochet. Évitez les charges mal centrées ou les charges retenues par la pointe du crochet. Assurez-vous que la chaîne pend à la verticale sans vrilles entre la chape supérieure et le crochet inférieur.
- Lorsque vous soulevez une charge, soulevez-la juste assez pour quitter le plancher ou la base et vérifiez si le frein de chaî ès que vous aurez l'assurance que rien ne nuit à la manœuvre.
- Ne surchargez pas le palan. La charge nominale du palan peut être manoeuvrée avec les tractions manuelles décrites à la figure 3. Lorsque le maniement du palan exige une pression supérieure à celle indiquée, c'est une indication de surcharge ou de mauvais état de l'outillage.
Figure 3
Charge Traction sur le levier Nominale pour soulever la charge Tonnes (Kg) nominale Livres (Kg)
3/4 (750) 33 (15)
112 (1500) 51 (23,1)
3 (3000) 77 (34,9)
N. B. La traction sur le levier pouvant être facilement appliquée par une seule personne, on ne doit jamais laisser à la fois plus d'une personne manoeuvrer le levier du palan. Une surcharge peut occasionner une panne immédiate de l'outillage ou lui causer des dommages qui pourrait, plus tard, causer une perte de puissance et des pannes. En cas de doute au sujet de la capacité d'un palan à soulever une charge, il vaut mieux utiliser un autre palan MILWAUKEE plus puissant.
Avertissement
Pour minimiser les risques de blessures, ne dépassez pas la charge nominale indiquée sur le palan. Une surcharge pourrait causer la chute de la charge, des dommages à l'outillage et des blessures à l'usager.
- N'enroulez pas la chaîne autour de la charge et ne laissiez pas la charge toucher au palan afin de ne pas nuire au pivotement du crochet et d'éviter que la chaîne ne se crisse et bloque le mécanisme de levage, ou qu'elle subisse des dommages au niveau du crochet.
- Ne déplacez pas une charge au-dessus de la tête des autres personnes. Avertissez le personnel de votre intention de déplacer une charge à l'endroit où il se trouve. Tenez-vous à l'écart de toutes les charges.
- Ne laissez pas une charge sans surveillance.
- Ne pas tirer la chaîne au point où l'embout ou l'ensemble du crochet inférieur se bloque dans le bâti.
- Ne tenez pas la chaîne de levage durant une manoeuvre, il pourrait survenir une panne et vous pourriez subir des blessures graves.
- Avant d'utiliser le palan, prenez connaissance des avertissements et des instructions apparaissant sur le levier ou le tube avertisseur.
- Ne laissez pas la chape du crochet inférieur heurter le cadre du palan, il pourrait en résulter des dommages au cadre ou au guide-chaine.
- N'employez pas d'autres moyens de traction que la force de la main.
- N'allongez pas le levier.
- N'utilisez pas cet outillage ou nul autre outil de levage suspendu pour soulever des personnes.
- Ne laissez pas la charge porter contre le verrou du crochet. Le verrou doit servir uniquement à empêcher la charge de se décrocher en cas de mou de chaîne.
- N'actionnez pas le bouton de déclenchement de chaine lorsque le palan est chargé. Il pourrait s'ensuivre une perte de contrôle de la charge, des dommages à l'outillage et des blessures à l'utilisateur.
- Ne manoeuvrez jamais le palan en présence de vapeurs ou de matériaux inflammables. Le choc des pièces métalliques de l'outillage peut produire des étincelles et causer une explosion.
- Demeurez alerte ! Surveillez ce que vous faites et servez-vous de votre bon sens. Ne vous servez pas du palan si vous êtes fatigué, distrait ou sous l'influence d'alcool ou de médicaments pouvant affecter votre maîtrise de l'outil.
Avertissement
Afin de minimiser les risques de blessures, manoeuvrez le palan à la main, seulement. L'emploi d'autres moyens peut endommager la structure de l'outillage, causeur l'usure prématurée et le bris des pièces et entraîner la chute de la charge.
Avertissement
Afin de minimiser les risques de blessures, ne laissez pas la charge porter sur le verrou ou la pointe du crochet. Placez la charge uniquement sur l'appui du crochet. Laisser la charge porter contre le verrou ou la pointe du crochet peut entraîner la perte de la charge.
Entretien du PALAN à LEVIER après usage
- Après usage, placez le levier directionnel à la position marquée «UNLOAD» et actionnez-le de haut en bas pour désengager le frein.
- Débarrasssez le palan et la chaîne de la poussière et de la saleté.
- Lubrifiez la chaîne de levage avec une légère couche de lubrifiant pour chaînes et barres tel le « Lubiplate 10-R (Fiske Bros. Refining Co.) » ou l'équivalent.
- Rangez le palan à levier dans un endroit sec et propre.
Inspection
Pour obtenir un rendement satisfaisant, un programme d'inspections ponctuelles doit être mis en place pour déceler les pièces endommagées et les remplacer avant qu'elles ne deviennent un risque. Les intervalles entre les inspections seront déterminés selon l'usage auquel est destiné l'outil. Les inspections doivent être faites uniquement lorsque le palan fonctionne à vide. Si le palan est suspendu à un chariot, ce dernier doit être immobilisé. Des affiches et des barrières doivent être installées pour indiquer que des travaux de maintenance du palan ont cours au-dessus de l'aire de travail. Il y a deux genres d'inspection : les inspections fréquentes et les inspections périodiques. Les inspections fréquentes ont lieu chaque jour, tandis que les inspections périodiques peuvent avoir lieu tous les trois (3) mois, à moins d'avis contraire. Les inspections périodiques nécessitent le démontage partiel du palan (voir section intitulée-Trois précautions à prendre pour démonter le palan).
Trois precautions à prendre pour demonter le PALAN
Trois points sont à surveiller lors du démontage de l'outillage.
- Des galets libres sont utilisés dans les rouages de la roue de levage des palans de 3/4 tonnes (750 Kg), 112 tonnes (1500 Kg) et 3 tonnes (3000 Kg). Évitez de les laisser s'échapper de leur logement lors du démontage des pièces.
- Le verrou est maintenu aux crochets inférieur et supérieur par un rivet. Pour enlever le verrou, il est nécessaire de limer ou de driller la tête du rivet. Pour remettre le verrou en place, suivez les instructions de montage.
- L'arbre de pignon, le cliquet du moyeu à rochet et l'arbre sont à ressort et peuvent voler hors du mécanisme au moment du démontage.
Les inspections frequentes
Ces inspections sont habituellement faites par l'utilisateur ou une autre personne affectée à cette tâche. Les inspections fréquentes doivent être effectuées quotidiennement ou avant chaque usage. Elles doivent comporter les vérifications suivantes:
- Le fonctionnement et le réglage de tous les mécanismes et la détection des bruits insolites.
- Le système de freinage pour déceler les risques de glissement.
- Le libre fonctionnement du levier directionnel.
- La chaîne de levage pour en assurer la lubrification, la propriété et le bon état des mailons.
- Le passage de la chaîne de levage dans le mécanisme (voir «Passage de la chaîne dans le mécanisme» dans la section «Maintenance»).
- Les crochets, pour en déceler les fissures et le gauchissement et assurer l'enclenchement et la stabilité du verrou.
- Le support du palan pour en déceler les défauts.
Toutes les défectuosités relevées devront être corrigées avant que le palan ne soit réutilisé.
Les inspections périodiques
Des inspections visuelles effectuées par un technicien compétent ou le personnel d'un centre de service pour évaluer la condition apparente de l'outillage. Les inspections périodiques doivent être effectuées tous les trois mois, à moins d'avis contraire dans ce manuel.
Les inspections périodiques concernnent également les pièces sujettes aux inspections gratuites, de même que les systèmes suivants :
- La chaîne de levage et les joints pour en déceler l'usure et la distension.
- Vérifiez l'usure et l'état des pièces : chapes des crochets inférieur et supérieur, guide-chaine, séparateur, parois latérales, couvercle, engrenages, douilles, levier, frein, couvercle, bouton de déclenchement de chaîne, réseau de moyeu, guide-came, moyeu à friction et moyeu de levier à rochet pur en déceler les fissures ou la distorsion.
- Vérifiez l'usure des dents de cliquets, rochets et roue de levage.
- Les boulons, écrous, goujons et rivets lâches ou manquants.
- Vérifiez les pièces du système de freinage pour déceler l'usure ou l'encrassement des disques, les striures du moyeu à friction et du rochet. Remplacez les rondelles de friction si elles sont encrassées ou si leur épaisseur est moindre que 0,094 (2,4 mm).
- Vérifiez les ressorts de cliquets, du cliquet de moyeu et du pignon pour en déceler la distension, le bris ou la corrosion.
- La mobilité du cliquet sur le son boulon. On doit appliquer une mince couche de lubrifiant sur le boulon avant de le remettre en place (Voir «Lubrification» dans la section «Maintenance»).
- Les crochets, écrous, collets, goujons, soudures et rivets de montage pour en déceler les failles. Une inspection par pénétration de colorant ou de poudre magnétique ou tout autre moyen approprié de détection de fissures devant être faite au moins une fois l'an.
- Vérifiez pour voir si l'arrêt de chaîne de charge en place et correctement est fixé.
- Vérifiez la structure de suspension.
- Vérifiez les étiquettes et fiches signalétiques requises selon ASME B30.21.
Tout défaut relevé doit être corrigé avant que le palan ne soit réutilisé. Les conditions extérieures peuvent démontrer la nécessité d'une inspection plus approfondie et un essai non destructif.
Les pièces irréparables doivent être remplacées par des pièces neuves avant que l'outil ne soit réutilisé. Il est très important que les pièces irréparables soient détruites afin d'éviter qu'elles soient utilisées de nouveau.
Lorsque le levier est soumis à une tâche robuste ou à des conditions de poussière, saleté, humidité ou corrosion, on doit en faire des inspections supplémentaires pour contrer les risques d'usure anormale, corrosion ou dommage.
Inspection et entretien des crochets
Les crochets endommagés par les produits chimiques, distendus, fissurés ou dont le gauchissement excède 10 degrès par rapport à la normale, de même que ceux dont l'appui est usé ou le col trop évasé doivent être remplacés.
Figure 4 Ouverture col du crochet
| Charge Remplacez le nominale crochet quand Tonnes (Kg) l'ouverture dépasse: | |
| 3/4 (750) 1¼" (31,8 mm) | |
| 1½ (1500) 1 | ¾" (34,9 mm) |
| 3 (3000) 1 | ¾" (43,7 mm) |
Les crochets ouverts et dont le verrou ne fonctionne pas doivent être remplacés.
Tout crochet gauchi ou excessivement évasé est un indice d'un usage abusif ou de surcharge du palan pouvant causer des dommages à d'autres pièces de l'outil.
Le tableau de la Figure 4 sert à déterminer le moment de remplacer un crochet. Pour mesurer l'ouverture du col du crochet, appuyez le verrou contre le crochet (voir figure 4).
Assurez-vous que le verrou est en bon état, qu'il n'est pas piqué et que la pression du ressort est suffisante. Le ressort maintient le verrou contre la pointe du crochet et le ramène à cette position après un déclenchement. Si le verrou ne fonctionne pas parfaitement, il faut le remplacer.
Inspection de la CHAINE
Pour débuter, nettoyez la chaîne avec un solvant non acide/non corrosif et inspectez-la, maillon par maillon, pour détecter les éraflures, marques, déformations, torsades, éclats de soudure, creux corrodés, striations (minuscules lignes parallèles), fissures dans les soudures, usure et élongation. Une chaîne ayant l'une ou l'autre de
Figure 5a - Inspection de la chaîne
ces défectuosités doit être remplacée.
Dégagez la portion de la chaîne qui passe normalement sur la roue de levage. Examinez l'aire de contact pour déterminer le point d'usure maximum (poli). Mesurez et enregistrez le diamètre du matériel à ce point du maillon. Mesurez ensuite le diamètre du matériel au même endroit d'un maillon qui ne passe pas sur la roue de levage (sélectionner le maillon adjacent à l'embout de la chaîne). Et puis, comparez ces deux mesures. Si le matériel du maillon usé a une usure plus grande que 0,254 mm comparativement à celui du maillon non usé, la chaîne doit être remplacée.

replaces.
Vérifiez également l'élongation de la chaîne avec un vernier à coulisse comme illustré à la Figure 5b. Choisir une section
Figure 5B - inspection de la chaîne
(généralement à l'extrémité libre) et mesurez et enregistrez la longueur de 11 maillons (pas) de chaîne. Prenez et enregistrez la même mesure sur une section usée. Si l'élongation est supérieure à 3,7 mm, la chaîne doit être remplacée.
Pour éliminer la possibilité d'erreur de lecture de la pleine longueur, n'utilisez seulement qu'un vernier à pointe-couteau.
AVERTISSEMENT : L'utilisation de chaînes autres que celles fournies par Milwaukee peut résulter en un blocage de la chaîne dans le palan ou du bris de la chaîne et de la chute de la charge.
POUR PRÉVENIR LES BLESSURES: N'utilise que des chaînes fournies par Milwaukee pour les palans Milwaukee, à cause des exigences dimensionnelles et des propriétés physiques.
Notez qu'une chaîne usée peut être une indication de pieces de palan usées. Pour cette raison, l'usure du bati, du dénudeur, et de la roue de levage devraient être vérifiée et, besoin étant, ces pièces devraient être remplacées en même temps que la chaîne usée (Voir DEMONTAGE et ASSEMBLAGE plus loin).
De plus, la chaîne est spécialement traitée et revêtue thermiquement et ne doit jamais être réparée.
IMPORTANT: Ne pas utiliser une chaine qui a été remplaçée à d'autres fins de levage et halage. La chaine peut soudainement briser même si elle n'a aucune déformation visuelle. Pour cette raison, couper la chaine qui a été remplaçée en sections courtes pour prévenir son utilisation après qu'elle aura été mise au rebut.
Lubrification
Avant de réutiliser une chaîne ou après avoir remplacé une chaîne de levage, lubrifiez-la généreusement avec un lubrifiant à chaînes et barres tel le «Lubriplate» 10-R (Fiske Bros. Refining Co.) ou l'équivalent. Essuyez l'excédent de lubrifiant de la chaîne avec un chiffon propre et sec.
Avertissement
Afin de réduire le risque de blessures, évitez le contact avec les lubrifiants. Utilisez les lubrifiants uniquement selon les directives des "Material Safety Data Sheets" (Fiches techniques sur la sécurité des substances) et conformément à la réglementation locale, provinciale et fédérale concernant l'usage et la disposition des substances dangereuses.
Avertissement
Afin de minimiser les risques de blessures, n'utilise jamais de l'huile à moteur usée pour lubrifier une chaîne de levage. L'huile usée contient des substances cancérigènes non identifiées. Utilisez uniquement un lubrifiant à chaînes et barres tel le « Lubriplate 10-R (Fiske Bros. Refining Co.) » ou l'équivalent pour lubrifier la chaîne de levage.
Normalement, le palan n'a pas besoin d'être lubrifié, seule la chaîne de levage doit l'être ponctuellement. Cependant, on doit lubrifier tout l'outillage au moment de l'inspection périodique alors qu'il est démonté, nettoyé et remis en état.
Avertissement
Afin de réduire les risques de blessures, n'applique pas de graisse ou de lubrifiant sur les surfaces de freinage. Le système de freinage est conçu pour fonctionner à sec. L'usage de graisse ou de lubrifiant sur les surfaces de freinage pourrait entraîner le glissement et la perte de contrôle de la charge et causer des blessures et des dommages.
Le frein est conçu pour fonctionner à sec. N'appliquez pas de lubrifiant ou de graisse sur les surfaces de freinage. Lorsque vous lubrifiez les pièces voisines du système de freinage, évitez d'utiliser une trop grande quantité de lubrifiant qui pourrait s'infiltrer dans le mécanisme de freinage.
Lors du démontage du palan pour l'inspection périodique, vérifie le libre mouvement du cliquet et vaporisez une légère couche de lubrifiant WD-40 (WD-40 Co.) ou l'équivalent sur le boulon du cliquet. Lorsque le palan est démonté pour un nettoyage ou une réparation, les points énumérés ci-dessous devraient être lubrifiés avec environ 1 oz (29,5 ml) de GRAFFE «Extreme Pressure Molykote BR-2-S» (Dow Corning Corp.) ou l'équivalent:
Les engrenages, galets de la roue de levage, goupille de crochet supérieur, galets de la roue de levage, intérieur du guide-chaine, extérieur de l'arbre de pignon, surface du moyeu à rochet, surface du guide-came et douilles de couvercle d'engrenages.
N. B. Afin d'assurer la durée et le rendement de l'outillage, prenez soin de lubrifier les diverses pièces du palan avec les lubrifiants recommandés.
Montage
Visser la jante à friction sur l'arbre du pignon et assembler les disques de friction ainsi que le rochet sur la jante (Voir la Figure 6).
Figure 6
Placer le dessort sur la jante/pignon à friction. Mettre l'ensemble couvercle du frein sur le bati et visser le rochet à levier sur l'arbre du pignon. Presser fermement le rochet à levier en position et fixez l'ensemble couvercle du frein au bati avec les quatre boulons.

Positionner la rondelle de garde sur l'arbre du pignon de pour qu'il y ait entre 0,094 à 0,312 po. (2 à 8 mm) entre le bord de la rondelle de garde et la partie élevée de la jante du rochet à levier (Voir Figure 7).
Assurez-vous que le levier de direction est en position neutre ("N") et que le ressort du cran d'arrêt et son arbre sont dans l'ensemble du levier, fixer l'ensemble du levier au couvercle de frein avec les deux boulons de serrage, la vis et la rondelle de blocage. Placer la poignée de chaîne libre sur la jante du rochet à levier. Placer l'espaceur sur l'arbre du pignon, visser le boulon du frein sur l'arbre du pignon et serrer fermement. Dévisser le boulon un ou deux tours et insérer la goupille fendue. Plier les bras de la goupille pour verrouiller.
Pour assembler le verrou au crochet, le bout du rivet doit être embouti. En martelant le rivet, n'appliquer que suffisamment de force pour former une tête pour maintenir la tige. Une force excessive déformera le loquet et rendra le verrou inutilisable. L'assemblage des engrenages nécessite leur alignement (Voir Figure 8).
Passage de la chaîne de levage dans le mécanisme Installation d'une nouvelle chaîne de levage
Pour replacer la chaine de levage, enlevez l'ensemble crochet inférieur et l'embout de chaine. Mettre le levier de direction en position neutre "N" et tirer la vent chaine hors du palan. Alimenter un fil souple à une extrémité du rouleau guide chaine et au-dessus de la roue de levage jusqu'à ce qu'il dessorte de l'autre côté du rouleau guide chaine.

Attachez le fil à l'extrémité de la nouvelle chaine. Placer la chaine de façon à ce que le premier mailon à pénétrer dans le rouleau guide chaine soit debout et que les soudures de tous les mailons dans ce sens soient éloignées de la roue de levage. Tirer le câble jusqu'à ce que la chaine s'engage sur la roue de levage. En même temps que le câble est tiré, tournez la poignée de chaine libre jusqu'à ce que la chaine sorte du rouleau guide chaine. Tirez la chaine et enlevez le câble. Fixez l'ensemble crochet inférieur à la chaine qui est directement en dessous du crochet supérieur. Fixez l'embout de chaine à l'autre extrémité de la chaine.
Averagement
Afin de réduire les risques de blessures, passez la chaîne de levage entre la roue de levage et le guide-chaîne avant de la fixer à la goupille de bout de chaîne. Tout défaut d'installation de la chaîne de levage risque d'entraîner le dégagement de la chaîne des dents de la roue de levage et la chute de la charge.
Verification
Avant de s'en servir, on doit vérifier le fonctionnement de tout palan qui a été altéré ou réparé, de même que tout palan d'usage qui n'a pas servi au cours des derniers douze mois.
Testez le palan à vide puis avec une charge de 100 livres (46 Kg) afin de vous assurer qu'il fonctionne normalement et que le système de freinage retient la charge lorsque vous relâchez le levier de traction. En plus de vérifier le bon fonctionnement de l'outillage, ce test permet aussi de vérifier si le système de freinage retient correctement la charge lorsque la traction manuelle sur la chaîne est relâchée. Ensuite, on répète le test avec une charge équivalente à 125% de la charge nominale. Si les pièces du mécanisme de levage du palan ont été remplacées, on doit tester l'outil à l'aide d'une charge équivalente à 125% de la charge nominale. En outre, ce test doit être supervisé par une personne compétente qui devra préparer un rapport à conserver par l'utilisateur.
Accessions
Pour la liste complète des accessoires, reportez-vous au catalogue d'outils électriques MILWAUKEE. Pour obtenir ce catalogue, adressez-vous à votre distributeur attitré.
Averagement
Afin de réduire les risques de blessures, utilisez uniquement les accessoires expressément recommandés pour cet outil.
Chaque outil électrique MILWUAKEE (y compris les produits sans fil [outils, piles, chargeur de piles, lampe de travail] ; consulter les énoncés de la GARANTIE LIMITEE DES BLOCES-PILES SANS FIL) est garanti à l'acheteur d'origine être exempt de vice de matériel et de fabrication. Sous réserve de certaines exceptions, MILWUAKEE réparera ou remplacera toute pièce d'un outil électrique qui, après examen par MILWUAKEE, s'est avérée être affectée d'un vice de matériel ou de fabrication pendant une période de cinq (5) ans* après la date d'achat, sauf indication contraire. Retourner l'outil électrique, à un centre de réparations en usine MILWUAKEE ou à un poste d'entretien/agréé MILWUAKEE, en port prépayé et assuré. Une copie de la preuve d'achat doit être présentée au moment de retourner le produit. Cette garantie ne couvre pas les dommages que MILWUAKEE détermine être causés par des réparations ou des tentatives de réparation par quiconque autre que le personnel agréé par MILWUAEKEE, des utilisations incorrectes, des altérations, des utilisations abusives, une usure normale, une négligence d'entretien ou des accidents.
*La période de garantie applicable pour les radios de chantier, le port d'alimentation M12™, Source d’énergie M18™, et les chariots de travail industriels Trade Titan™ est d’une durée d’un (1) an à partir de la date d’achat. La période de la garantie couvrant la lampe de travail à DEL et l’ampoule améliorée à DEL est une garantie A VIE limitée à l’acheteur d’origine seulement; si, lors d’une utilisation normale, l’ampoule à DEL présente une défectuosité, la lampe de travail et l’ampoule seront remplacées sans frais.
Cette garantie ne s'applique pas aux clôneuses-agrafeuses pneumatiques, aux pulvérisateurs à peinture sans air, aux blocs piles pour outils sans fil, aux génératrices d'alimentation portatives à essence, aux outils à main, aux monte-charge – électrique, à levier et à chaîne (manuel), aux vestes chauffantes M12™, aux produits réusinés, ni aux produits d'essai et de mesure. Il existe des garanties distinctes pour ces produits.
L'enregistrement de la garantie n'est pas nécessaire pour bénéficier de la garantie en vigueur sur un outil électrique MILWAUKEE. La date de fabrication du produit servira à établir la période de garantie si aucune preuve d'achat n'est fournie lorsqu'une demande de service sous garantie est présentée.
L'ACCEPTATION DES RECOURS EXCLUSIFS DE RÉPARATION ET DE RÉPRACTION DÉCRITS AUX PRESENTES EST UNE CONDITION DU CONTRAT D'ACHAT DE TOUT PRODUIT MILWAUKEE, SI VOUS N'ACCEPTEZ PAS CETTE CONDITION, VOUS NE DEVEZ PAS ACHETER LE PRODUIT. EN AUCUN CAS MILWAUKEE NE SAURAIT ÉTRE RESPONSABLE DE TOUT DOMMAGE ACCESSIOIRE, SPECIAL OU INDIRECT, DE DOMMAGES-INTÉRÊTS PUNITIFS OU DE Toute DÉPENSE, D'HONORAIRES
D'AVOCATS, DE FRAIS, DE PERTE OU DE DELAIS ACCESSOIRES À TOUT DOMMAGE, DÉFAILLANCE OU DÉFAUT DE TOUT PRODUIT, Y COMPRIS NOTAMMENT LES PERTES DE PROFIT. CERTAINS ETATS ET PROVINCES NE PERMETTANT PAS L'EXCLUSION OU LA LIMITATION DES DOMMAGES DIRECTS OU INDIRECTS, LES RESTRICTIONS CI-DESSUS PEUVENT NE PAS ETRE APPLICABLES. CETTE GARANTIE EST EXCLUSIVE ET REMPLACE TOUTE AUTRE GARANTIE EXPRESSE, QU'ELLE SOIT ORALE OU ÉCRITE. DANS LA MESURE PERMISE PAR LA LOI. MILWAUKEE RENONCE À TOUTE GARANTIE IMPLICITE, Y
COMPRIS, SANS S'Y LIMITER, Toute GARANTIE IMPLICITE DE QUALITE MARCHANDE OU D'ADAPTATION A UNE UTILISATION OU A UNE FIN PARTICULIER. DANS LA MESURE OU UNE TELLE STIPULATION D'EXONERATION N'EST PAS PERMISE PAR LA LOI, LA DUREE DE CES GARANTIES IMPLICITES EST LIMITÉE À LA PÉRIODE APPLICABLE DE LA GARANTIE EXPRESSE, TEL QUE DÉCRIT PRÉCÉDEMMENT. CERTAINS ETATS ET PROVINCES NE PERMETTANT PAS DE LIMITATION DE DUREE DES GARANTIES IMPLICITES, LES RESTRICTIONS CI-DESSUS PEUVENT NE PAS ÊTRE APPLICABLES. LA PRESENTE CONFÉRE À L'UTILISATEUR DES DROITS LÉGAUX PARTICULIERS; IL BENÉFICIE ÉGALÉMENT D'AUTRES DROITS QUI VARIENT D'UN ÉTAT À L'AUTRE.
Cette garantie s'applique aux produits vendus aux États-Unis et au Canada uniquement.
Veuillez consulter la rubrique Centre SAV MILWAUKEE, dans la section Pièces & Service du site Web de MILWAUKEE, à l'adresse www.milwaukeetool.com, ou composer le 1-800-SAWDUST (1-800-729-3878) afin de trouver le centre de réparations en usine MILWAUKEE plus près.
Garantie limitée - mexique, amérique centrale et caraibes
TECHTRONIC INDUSTRIES' garantit le produit pendant cinq ans à partir de la date d'achat d'origine. Le présent bon de garantie couvre tous les vices de matériaux et de fabrication que peut afficher cet outil électrique. Pour assurer la validité de la présente garantie, veuillez présenter le bon de commande, estampillé du sceau du distributeur ou du magasin où le produit a été acheté, au centre de réparations agréé. Si le bon de commande n'a pas été estampillé, veuillez fournir la preuve d'achat d'origine au centre de réparations agréé. Pour un entretien, des pièces, des accessoires ou d'autres composants, composez sans frais le 1-800-832-1949 afin d'obtenir les coordonnées du centre de réparations agréé le plus près.
Procédure pour assurer la validité de la garantie
Présenter le produit au centre de réparations agréé, accompagné du bon de commande estampillé du sceau du distributeur ou du magasin où le produit a été acheté. Tout pièce défectueuse ou tout composant défectueux sera remplacé sans frais. Milwaukee assume tous les frais de transport liés à ce processus de garantie.
Exceptions
La garantie ne s'applique pas dans les situations suivantes : a) Si le produit a été utilisé pour une fin autre que celle indiquée dans le guide de l'utilisateur final ou le manuel d'instructions. b) Si les conditions d'utilisation ne sont pas habituelles. c) Si le produit a été modifié ou réparé par une personne non autorisée par TECHTRONIC INDUSTRIES. Note : Si le cordon électrique est endommagé, il doit être remplacé par un centre de réparations agréé pour éviter les risques d'électrocution.
Modèle:
Date d'achat:
Sceau du distributeur ou du magasin:
CENTRE DE RÉPARATIONS ET DE SERVICE
Rafael Buelna No.1
MILWAUKEE est fier de proposer un produit de première qualité "Nothing But Heavy Duty". Votre satisfaction est ce qui compte le plus!
En cas de problèmes d'utilisation de l'outil ou pour localiser le centre de service/ventes ou le centre d'entretien le plus proche, appelez le...
1.800.268.4015
Lundi - Vendredi 7:00 - 4:30 CST
fax: 866.285.9049
Notre réseau national de distributeurs agréés se tient à leur disposition pour fournir l'aide technique, l'outillage et les accessoires nécessaires. Composez le
1.800.268.4015 pour obtenir les noms et adresses des revendeurs les plus proches ou bien consultez la section
Où acheter sur notre site web à l'adresse
www.milwaukeetool.com
Rafael Buelna No. 1, Col Tezozomoc,
Notice Facile