ID0042 - Capteur inductif IFM - Notice d'utilisation et mode d'emploi gratuit
Retrouvez gratuitement la notice de l'appareil ID0042 IFM au format PDF.
| Caractéristiques techniques | Non spécifiées |
|---|---|
| Utilisation | Non spécifiée |
| Maintenance et réparation | Non spécifiées |
| Sécurité | Non spécifiée |
| Informations générales | Non spécifiées |
FOIRE AUX QUESTIONS - ID0042 IFM
Questions des utilisateurs sur ID0042 IFM
0 question sur cet appareil. Repondez a celles que vous connaissez ou posez la votre.
Poser une nouvelle question sur cet appareil
Téléchargez la notice de votre Capteur inductif au format PDF gratuitement ! Retrouvez votre notice ID0042 - IFM et reprennez votre appareil électronique en main. Sur cette page sont publiés tous les documents nécessaires à l'utilisation de votre appareil ID0042 de la marque IFM.
MODE D'EMPLOI ID0042 IFM
Fonctionnement et caractéristiques
Ce détecteur détecte les métaux sans contact et indique leur présence par un signal de commutation.
- Portée nominale (Sn): 50 mm,
- Portée de travail (Sa): 40mm (encastré / encastré et en retrait); 35mm (montage non encastré).
(Valeurs définies par mesure selon les normes avec acier 37; en cas d'autres métaux portée inférieure à 50 mm).
Montage
Monter l'appareil sur un profilé normalisé (rail DIN) ou à l'aide d'un dispositif de montage.
3 possibilités de montage:

non encastré, encastré, encastré et en retrait

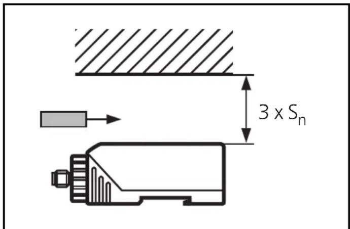
Zone de dégagement autour de la face active pour montage sur bâti métallique


Pour toutes les possibilités de montage. En plus pour montage encastré et en retrait.
Distances minimales lorsque plusieurs détecteurs de la même version sont montés:


Raccordement électrique

Mettre l'installation hors tension avant le raccordement du détecteur.

L'embase des appareils avec connecteur peut pivoter (en pas de ).

Remarque : insérer un fusible miniature selon la fiche technique, si spécifié. Recommendation : vérifier le bon fonctionnement de l'appareil après un court-circuit.
Fonctionnement
Vérifier le bon fonctionnement du détecteur.
La LED verte est allumée lorsque la tension d'alimentation est appliquée.
La LED jaune est allumée lorsque la sortie est commutée.
Cet appareil ne nécessite aucun entretien. Pour un bon fonctionnement, il faut respecter les indications suivantes:
- La face active et l'espace libre doivent être dégagés de toute présence de dépôts et de corps étrangers métalliques, notamment en cas de montage avec la face active vers le haut. CEM: L'appareil est en harmonie avec les exigences selon EN 60947-5-2.
Notice Facile