DuraVision PTLAN51 - Caméra de surveillance EIZO - Notice d'utilisation et mode d'emploi gratuit
Retrouvez gratuitement la notice de l'appareil DuraVision PTLAN51 EIZO au format PDF.
| Intitulé | Description |
|---|---|
| Type d'appareil | Moniteur industriel EIZO DuraVision |
| Résolution | 1920 x 1080 pixels (Full HD) |
| Taille de l'écran | 21,5 pouces |
| Technologie d'affichage | LCD avec rétroéclairage LED |
| Connectivité | HDMI, DisplayPort, DVI-D |
| Angle de vue | 178° horizontal et vertical |
| Luminosité | 250 cd/m² |
| Contraste | 1000:1 |
| Temps de réponse | 5 ms |
| Utilisation recommandée | Applications industrielles et médicales |
| Normes de sécurité | Conforme aux normes IEC 60950-1 et 62471 |
| Maintenance | Nettoyage régulier de l'écran avec un chiffon doux |
| Garantie | 3 ans |
FOIRE AUX QUESTIONS - DuraVision PTLAN51 EIZO
Questions des utilisateurs sur DuraVision PTLAN51 EIZO
0 question sur cet appareil. Repondez a celles que vous connaissez ou posez la votre.
Poser une nouvelle question sur cet appareil
Téléchargez la notice de votre Caméra de surveillance au format PDF gratuitement ! Retrouvez votre notice DuraVision PTLAN51 - EIZO et reprennez votre appareil électronique en main. Sur cette page sont publiés tous les documents nécessaires à l'utilisation de votre appareil DuraVision PTLAN51 de la marque EIZO.
MODE D'EMPLOI DuraVision PTLAN51 EIZO
DuraVision pt-lan51
Tête panoramique et inclinable télécommandée
Important
Veuillez lire attentivement ce « Manuel d'utilisation » afin de vous familiariser avec ce produit et de l'utiliser efficacement et en toute sécurité.
Veuillez conserver ce manuel pour référence ultérieure.
- Pour obtenir les toutes dernières informations relatives au produit, dont le « Manuel d'utilisation », reportez-vous à notre site web : www.eizoglobal.com
Symbols de securite
Ce manuel et ce produit utilisent les symboles de sécurité présentés ci-dessous. Ils signalent des informations critiques. Veuillez les lire attentivement.
| AVERTISSEMENT | Le non respect des consignes données dans un message AVERTISSEMENT peut entrainer des blessures sérieues ou même la mort. |
| ATTENTION | Le non respect des consignes données dans un message ATTENTION peut entrainer des blessures et/ou des dommages au matériel ou au produit. |
| Indique une consigne AVERTISSEMENT ou PRECAUTION. Par exemple, le symbole indique un risque de « chocolélectrique » . | |
| Indique une action interdite. Par exemple, le symbole signifie « Ne pas démonter » . |
Aucune partie de ce manuel ne peut être reproduite, enregistrée dans un système documentaire ou transmise sous quelque forme et par quelque moyen que ce soit électronique, mécanique ou autre, sans l'autorisation écrite préalable de EIZO Corporation.
EIZO Corporation n’est tenu à aucun engagement de confidentialité sauf en cas d’accord préalable passé avant la réception de ces informations par EIZO Corporation. Malgré tous les efforts déployés pour garantir la mise à jour des informations contenues dans ce manuel, veuillez noter que les caractéristiques techniques du produit EIZO sont sujettes à modification sans préavis.
Important
- Ce produit a été réglé spécialement en usine en fonction de la région de destination prévue. Les performances du produit peuvent être différentes de celles indiquées dans les caractéristiques en cas d'utilisation dans une région différente de celle prévue à l'origine.
- Pour toute sécurité comme pour la bonne utilisation de l'appareil, veuillez lire attentivement cette section ainsi que les indications de sécurité portées sur le produit.
Emplacements des étiquettes de sécurité
Symboles sur l'appareil
| Symbole Signification du symbole | |
| ○ | Commutateur d'alimentation principal : Appuyez pour éteindre le moniteur. |
| I | Commutateur d'alimentation principal : Appuyez pour allumer le moniteur. |
| - | Courant continu |
| △ | Avertissement sur les dangers electriques |
| ! | ATTENTION : Rêférez-vous à « SYMBOLES DE SECURITE » (page 2). |
Si l'appareil commence à émettre de la fumée, s'il sent le brûlé ou fait des bruits étranges, débranchez immédiatement les connexions électriques, coupez l'alimentation électrique et contactez votre représentant EIZO pour obtenir des conseils.
Il peut être dangereux d'utiliser un moniteur au fonctionnement défectueux.
Le démontage de la carrosserie ou la modification du moniteur peut causer un choc électrique ou une brûlure.

Confiez toute intervention à un technicien qualifié.
Ne tentez pas de dépanner vous-même cet appareil, l'ouverture ou la dépose des capots vous expose à un risque d'incendie, de choc électrique ou de dégâts à l'appareil.
Éloignez les petits objets ou les liquides de l'appareil.
L'introduction accidentelle de petits objets ou de liquides dans les fentes de ventilation de la carrosserie peut entraîner un choc électrique, un incendie ou des dégâts à l'appareil. Si un objet tombe dans la carrosserie ou si du liquide se répand sur ou à l'intérieur de l'appareil, débranchez immédiatement le cordon secteur. Faites contrôler l'appareil par un technicien qualifié avant de l'utiliser à nouveau.

Installez correctement le produit à un emplacement résistant et stable.
Installez le produit à un emplacement suffisamment robuste pour supporter son poids, conformément à la Notice d'instruction. Si l'appareil n'est pas installé correctement, il peut tomber ou chuter, provoquant des blessures corporelles ou des dommages à l'équipement.
Utilisez l'appareil dans un endroit approprié.
Sinon, cela peut entraîner des dommages à l'appareil, un risque d'incendie ou de choc électrique.
- Ne pas utiliser à l'extérieur.
- Montage dans des endroits soumis à de fortes vibrations ou à des chocs
- Ne pas installer l'appareil dans un environnement poussièreux ou humide.
- Ne pas placer dans un lieu où de l'eau peut être projetée sur l'écran (salle de bains, cuisine, etc.).
- Ne pas installer l'appareil à un endroit exposé directement à la vapeur d'eau.
- Ne pas placer l'appareil près des dispositifs de chauffage ou d'humidification.
- Ne pas placer à un endroit où l'appareil est soumis à la lumière directe du soleil.
- Ne pas placer dans un environnement contenant des gaz inflammables.
- Ne pas exposer aux gaz corrosifs (dioxyde de soufre, sulfure d'hydrogène, dioxyde d'azote, chlore, ammoniac et ozone).
- Ne pas exposer aux environnements poussièreux, aux composants qui accélèrent la corrosion de l'air ambiant (chlorure de sodium ou soufre, par exemple), aux métaux conducteurs, etc.

Lors de l'utilisation d'un adaptateur CA, utilisez l'adaptateur CA spécifique fourni par notre entreprise.
Utiliser d'autres adaptateurs CA peut entraîner un incendie ou un choc électrique.
Préparez un cordon secteur conforme aux normes du pays ou de la région où ce produit est utilisé.
- Europe : Puissance nominale : 250 V CA, 10 A; type de cordon : H05VV-F, GTCE-3, 0,75 mm²
- Etats-Unis : Puissance nominale : 125 V CA, 10 A; type de cordon : SVT, 3/18AWG (0,75 mm²)
Pour débrancher le cordon d'alimentation ou le câble d'alimentation de l'adaptateur, saisissez la fiche fermement et tirez.
Tirer sur le cordon ou le câble peut l’endommager et provoquer un incendie ou un choc électrique.


L'appareil doit être relié à une prise avec terre.
Le non-respect de ces consignes peut présenter des risques d'incendie ou de choc électrique.

Utilisez la tension correcte.
L'appareil a été conçu pour une utilisation avec une tension de secteur particulière. L'utilisation sur une tension différente de celle spécifiée dans ce manuel pourrait causer un choc électrique, un incendie ou d'autres dégâts. - Ne surchargez pas les circuits d'alimentation électrique, cela pourrait entraîner un incendie ou un choc électrique.
Manipulez le cordon d'alimentation et l'adaptateur secteur avec précaution.
Manipulez le cordon d'alimentation et l'adaptateur secteur avec précaution.
Ne placez pas d'objets lourds dessus, ne tirez ou ne bouvez pas le cordon d'alimentation ou l'adaptateur secteur. L'utilisation d'un cordon ou d'un adaptateur secteur endommagé peut provoquer un incendie ou un choc électrique.

Vous risqueriez un choc électrique.

Manipulez les piles de la télécommande avec précaution.
Sinon la pile pourrait exploser, provoquer une fuite de liquide ou des brûlures.
- En cas d'ingestion d'une pile, consultez immédiatement un médecin. Si le liquide des piles entre en contact avec votre peau ou vos vêtements, rincez-les à l'eau claire.
- Si le liquide des piles entre en contact avec vos yeux, rincez-les immédiatement à l'eau claire et consultez un médecin
- Utilisez uniquement les piles spécifiées (piles pour la télécommande fournie). Lors de l'installation/du remplacement des piles, veillez à les insérer dans le bon sens.
- Insérez les piles dans le bon sens en respectant la polarité (+) et (-).
- Lors du remplacement des piles, utilisez des piles du même type et du même modèle.
- Lors du remplacement des piles, utilisez des piles neuves du même type et de la même marque.
- Retirez les piles usées de la télécommande rapidement.
- . N'utilisez pas de pile avec un revêtement endommagé.
- Ne démontez pas, ne chauffez pas, ne court-circuitez pas et n’immergez pas les piles fournies dans l’eau.
- Ne pas recharger les piles d'origine
- Mettre les piles usagées au rebut conformément aux réglementations et directives locales
Gardez les piles de la télécommande hors de portée des enfants.
Une ingestion accidentelle des piles peut causer un étouffement ou un empoisonnement. En cas d'ingestion des piles, consultez immédiatement un médecin.
Pour une installation en hauteur, demandez l'aide d'un professionnel.
Lors de l'installation de cet appareil sur un support en hauteur, il existe un risque de chute de l'appareil ou de ses pièces, ce qui risque d'entraîner des blessures. Contactez-nous ou faites appel à un professionnel dans les travaux de construction pour qu'il inspecte le produit et vérifie qu'il n'est pas endommagé ou déformé avant et après l'installation du moniteur.
Ne jamais toucher lorsqu’opération panorama/inclinaison est en cours.
Dans le cas contraire, cela pourrait occasionner des blessures ou des dysfonctionnements.

Ne pas déplacer l'unité d'entrainement panoramique/inclinable à la main.
Dans le cas contraire, cela pourrait occasionner des blessures ou des dysfonctionnements. Veillez à utiliser la télécommande ou les commandes de contrôle pour la déplacer.

Tenez le support de l'appareil lorsque vous le déplacez.
Le fait de tenir l'appareil par la base de montage de la caméra ou la base panoramique peut occasionner des blessures ou des dysfonctionnements.
Procédez avec précaution pour transporter l'appareil.
Débranche les câbles et cordon secteur avant de déplacer l'appareil. Il est dangereux de déplacer l'appareil avec son cordon secteur ou les câbles branchés. Vous risquez de vous blesser.
Ne touchez pas la fiche ou l'adaptateur secteur avec les mains mouillées.
Tout contact avec la fiche électrique les mains humides peut être dangereux et peut causer un choc électrique.

Utilisez une prise électrique facilement accessible.
Ceci vous facilitera le débranchement de l'appareil en cas de problème.
L'adaptateur secteur chauffe pendant l'utilisation.
- Ne touchez pas l'adaptateur secteur pendant sa mise sous tension. Le toucher peut entraîner des brûlures superficielles.
- Ne couvrez pas l'adaptateur secteur ou ne placez rien dessus. Ne placez pas l'adaptateur secteur au-dessus d'objets qui retiennent la chaleur comme les tapis, les couvertures, etc. Évitez d'exposer l'adaptateur secteur aux rayons directs du soleil et aux sources de chaleur. Le non-respect de cette consigne peut provoquer un incendie.
- Avant de déplacer le moniteur, mettez l'interrupteur d'alimentation sur OFF, débranchez la fiche d'alimentation de la prise électrique et attendez qu'il soit complètement refroidi.

Ne suspendez pas l'adaptateur secteur en plein air.
L'utilisation de l'adaptateur alors qu'il est suspendu peut entraîner un incendie ou un choc électrique.

Ne soumettez pas le produit à des chocs et ne le faites pas tomber.
L'utilisation de l'adaptateur après l'en avoir soumis à un choc peut provoquer un incendie ou un choc électrique.

Nettoyez régulièrement les alentours de la prise et du connecteur d'alimentation.
L'accumulation de poussière, d'eau ou d'huile sur la fiche et le connecteur peut entraîner un incendie.
Débranche le moniteur avant de le nettoyer.
Le nettoyage du moniteur sous tension peut causer un choc électrique.
Si vous prévoyez de ne pas utiliser l'appareil pendant une période prolongée, après l'avoir débranché, coupez l'alimentation pour des raisons de sécurité et d'économie d'énergie.
Vérifiez régulièrement le serrage des vis.
Si l'unité principale n'est pas assez serrée, elle peut se détacher et risquer d'occasionner des blessures ou des dysfonctionnements.
Avertissement concernant le produit
Ce produit est une tête panoramique/inclinable permettant de monter des caméras et est destiné à la surveillance d'intérieur.
Il n'est pas destiné à être utilisé dans les applications suivantes qui requièrent une fiabilité et une sécurité particulièrement élevées. Veuillez vous abstenir de l'utiliser à de telles fins.
Dispositifs de sécurité (systèmes de prévention des catastrophes, systèmes de contrôle de sécurité, etc.). - Appareils d'assistance vitale (matériel médical, tels que les appareils de réanimation et les appareils de salles d'opération) Appareils de contrôle dans l'industrie nucléaire (systèmes de contrôle de l'énergie nucléaire, systèmes de contrôle de la sécurité des installations nucléaires, etc.) - Appareils de communication avec les systèmes principaux (systèmes de commande des systèmes de transport, systèmes de contrôle du trafic aérien, etc.)
Ce produit a été réglé spécialement en usine en fonction de la région de destination prévue. Les performances du produit peuvent être différentes de celles indiquées dans les caractéristiques en cas d'utilisation dans une région différente de celle prévue à l'origine.
Ce produit peut ne pas être couvert par la garantie pour des usages autres que ceux décrits dans le présent manuel.
Les spécifications indiquées dans ce manuel sont uniquement applicables si vous utilisez les adaptateurs, secteur et les câbles de signal recommandés par EIZO.
Utilisez uniquement avec ce produit les produits optionnels fabriqués ou spécifiés par nos soins.
Lorsque le produit est froid et déplacé dans une autre pièce ou lorsque la température de la pièce augmente rapidement, de la condensation peut se former à l’intérieur et à l’extérieur du produit. Dans ce cas, ne mettez pas le produit sous tension. Et attendez la disparition de la condensation. Sinon, le produit pourrait être endommagé.
Nettoyage
Un nettoyage périodique est recommandé pour conserver l'aspect neuf du produit et prolonger sa durée de vie.
Les taches sur le produit peuvent être éliminées en humectant celles-ci avec de l'eau et un tissu doux ou en les essuyant délicatement avec le ScreenCleaner.
Attention
Veillez à ce qu'aucun liquide n'entre en contact direct avec le produit. Si c'est le cas, essuyez-le immédiatement. Veillez à ce qu'aucun liquide ne pénètre dans les interstices ou à l'intérieur du produit. - Lors de l'utilisation de produits chimiques pour le nettoyage ou la désinfection, les produits chimiques comme l'alcool et les désinfectants peuvent provoquer une modification du brillant, le ternissement et la décoloration du produit, ainsi que la détérioration de la qualité de l'image affichée. N'utilisez pas de produits chimiques de manière spécifique. - N'utilisez jamais de diluant, benzène, dire ou nettoyant abrasif, car ils endommageront le produit. - Pour plus d'informations sur le nettoyage et la désinfection, reportez-vous à notre site web. Comment vérifier : Rendez-vous sur www.eizoglobal.com et tapez « disinfect » (désinfecter) dans le champ de recherche du site pour lancer la recherche.
Exigences de sécurité réseau
Étant donné que ce produit s'utilise par raccordement à des réseaux, les risques suivants s'appliquent :
- Utilisation non autorisée de ce produit par un tiers malveillant.
- Interférences ou suspension de l'utilisation de ce produit par un tiers malveillant.
Afin de prévenir les dommages décrits ci-dessus, il est de la responsabilité de l'utilisateur de mettre en œuvre des mesures de sécurité réseau adéquates, y compris les mesures décrites ci-dessous.
- Utilisez ce produit avec un réseau sécurisé à l'aide d'un pare-feu ou d'autres systèmes de sécurité réseau.
- Vérifiez à l'avance si des problèmes de connexion sont présents.
PRECAUTIONS 3
IMPORTANT 3
Avertissement concernant le produit 7
Nettoyage 8 Exigences de sécurité réseau 8
Contenus 9
1-1. Caractéristiques 10 1-2. Contenu de l'emballage 10 1-3. Commandes et fonctions 11
Chapitre 2 configuration 14
2-1. Fixation de la caméra à la base de montage de la caméra 14 2-2. Installation 15
Conditions d'installation 15 Méthode de montage 16
2-3. Raccordement 17 2-4. Préparation de la télécommande 18
Chapitre 4 remarque 20
4-1. Commandes externes 20 4-2. Spécifications 21 4-3. Spécifications des broches 22 4-4. Dimensions 22 4-5. Spécifications de la télécommande 23 4-6. Accessoires 24
Annexe 25
Marque commerciale 25 Licence 25 Avertissement relatif aux interférences radio...26 GARANTIE LIMITEE 27
1-1. Caractéristiques
Une tête panoramique/inclinable permettant de monter une caméra vidéo, un appareil de mesure laser et d'autres équipements. Elle prend en charge la commande LAN/RS-232C, ce qui permet de créer un système de télécommande à faible coût.
Mécanisme de panoramique (amplitude de mouvement maximale ± 170^) et d'inclinaison (amplitude de mouvement maximale ± 174^)
Mouvement de haute précision avec moteur pas à pas
Contrôle précis de la vitesse
Diverses commandes peuvent être effectuées à partir d'un ordinateur via LAN ou RS-232C.
Compatibilité PoE+
Borne de sortie CC 12 V
Possibilité de monter des équipements jusqu'à 1,5 kg
1-2. Contenu de l'emballage
Vérifiez que tous les articles suivants sont inclus dans l'emballage. Si le moindre de ces articles est manquant ou endommagé, contactez votre revendeur ou votre représentant EIZO.
- Unité principale
- Télécommande IR
- 2 piles alcalines AAA pour la télécommande 1
- Manuel d'utilisation (ce document)
- Feuille de caoutchouc Information du représentant du service client
*1 Fabricant : Panasonic Energy Co., Ltd. Adresse : 1-1 Matsushita-cho, Moriguchi City, Osaka 570-8511, Japon
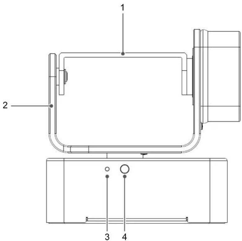
1-3. Commandes et fonctions
Avant

| 1. Base de montage de la camera (avec fonction d'inclinaison) | Fixez laamera ou l'appareil à l'aide d'une vis. Cette partie est en mouvement pendant que l'inclinaison est en cours. Le réglage par défaut de la plage de rotation est de ± 30°. |
| 2. Base panoramicque | Cette partie est en mouvement pendant que le panorama est en cours. Le réglage par défaut de la plage de rotation est de ± 170°. |
| 3. LED Les voyants LED s'alliment selon l'état de fonctionnement. Arrêt : Hors tension Allumé en vert : Sous tension (inactif) Allumé en rouge : Lampe tímoin allumée Allumé en orange : Réglage de la vitesse de rotation pour les opérations de panoramicique/inclinaison et exécution des opérations de panoramicique/inclinaison Orange, vert clignotant : Enregistrement de la position panoramicique/inclinaison actuelle Orange clignotant : Déplacement de la position panoramicique/inclinaison vers le point d'origine Vert clignotant : Traitement au démarrage immédiatement après la mise sous tension | |
| 4. Capteur IR (recepteur de télécommande) | Capteur infrarouge de la télécommande. Ne couvrez pas ce capteur. |
Arrière
567891011
| 5. RS-232C (D-Sub 9 broches mâle) | Permet de brancher un cable croisé RS-232C. Vous pouvez vous connecter à un ordinateur et exécuter des commandes externes. |
| 6. Port LAN (connecteur RJ-45) | Permet de brancher un cable LAN blindé. Lorsqu'il est connecté à un concentrateur réseau compatible PoE+, il est alimenté par PoE. En outre, vous pouvez vous connecter à un ordinateur et exécuter des commandes externes. |
| 7. Commutateur MODE | Commutateur DIP qui permet de modifier les régliages de l'unité principale. Si vous actionnez le commutateur MODE, voirlez à éteindre l'appareil et à le rallumer pour appliquer les nouveaux régliages. Pour de plus amples informations sur le commutateur MODE, reportez-vous à « Détails du commutateur MODE » (page 13). |
| 8. Porte attaché de cable | Lors de l'utilisation d'un adaptateur secteur, fixez une attache de cable (dépôbre dans le commerce) pour éviter que le cable de l'adaptateur secteur ne se débranche. |
| 9. Borne de sortie CC *1 | Permet d'alimenter des caméras et d'autres appareils avec une tension de 12V / 1A. Un capuchon est fixé à la borne par défaut en usine. Retirez le capuchon avant toute utilisation. Attention • Ne pas brancher un apparéil dont l'alimentation d'entrée est différente de CC 12V / 1A. L' apparéil peut présenter des dysfonctionnements. |
| 10. Terminal d'entrée CC | Raccordement de l'adaptateur secteur (vendu séparément). |
| 11. Commutateur d'alimentation*2 | Mise hors/sous tension de l' apparéil. |
1 Lorsqu'il est alimenté par PoE+, il ne peut pas fournir de puissance de sortie. 2 Lorsqu'il est alimenté par PoE+, l'appareil est opérationnel quel que soit l'état de l'alimentation.
Détails du commutateur mode

| N° Mode | |||
| 1 | - | DÉSACTIVER | Ce paramètre doit toujours être régé sur DÉSACTIVER lors de l'utilisation |
| ACTIVER | |||
| 2 | Mode scène | DÉSACTIVER | La direction ascendante est définie comme la position d'origine. |
| ACTIVER | La direction descendante est définie comme la position d'origine. | ||
| 3 | - | DÉSACTIVER | Ce paramètre doit toujours être régé sur DÉSACTIVER lors de l'utilisation |
| ACTIVER | |||
| 4 | - | DÉSACTIVER | Ce paramètre doit toujours être régé sur DÉSACTIVER lors de l'utilisation |
| ACTIVER | |||
Mode scénographie
La position de la base de montage de la caméra (avec fonction d'inclinaison) peut être inversée.
Mode scène: DÉSACTIVER Mode scène: ACTIVER

Vous pouvez changer la position de la base de montage de la caméra en suivant les étapes ci-dessous.
- Coupez l'alimentation.
- Activez le « mode scène » sur le commutateur DIP.
- Mettez l'appareil sous tension.
- Effectuez l'opération de réinitialisation de la position panoramique/inclinaison à la position d'origine (appuyez longuement sur la touche ORIGIN de la télécommande).
Attention
Veillez à ce qu’aucun objet ne soit placé sur la base de montage de la caméra lorsque vous effectuez ces étapes, car celle-ci tournera automatiquement au cours du processus.
1. Fixez la lames à la base de montage de la lames à l'aide de vis de montage disponibles dans le commerce
Ajustez la position de montage de manière à ce que le centre de gravité de laamera soit aligné avec le centre de la base de montage de laamera.
Attention
- Utilisez une caméra dont le poids est inférieur au poids maximal supporté de 1,5 kg.
- Préparez des vis de montage adaptées au trou de vis de votre caméra.
- Épaisseur de la base de montage de laamera : 4 mm
- Épaisseur de la feuille de caoutchouc : 2 mm Lrs de l'utilisation, veillez à bien serrer les vis de montage pour éviter que la camera ne se détache.
- Si nécessaire, placez la feuille de caoutchouc fournie entre la camera et la base de montage de la camera.
- N'appuyez pas fortement sur l'unité d'entraînement panoramique/inclinaison et n'essayez pas de la déplacer de force.
Remarque
- En activant le commutateur MODE, vous pouvez inverser la position de la base de montage de laamera. Pour plus de détails, reportez-vous à « Détails du commutateur MODE » (page 13).

Attention
- Vérifiez que l'appareil monté n'entre pas en contact avec l'unité principale du produit ou les objets environnants lors des opérations de panoramique/inclinaison. Si le contact ne peut être évité, faites fonctionner l'appareil dans sa plage de mouvement tout en tenant compte de l'espacement.
- Vérifiez périodiquement le serrage des vis. Si l'appareil n'est pas assez serré, elle peut se détacher et risquer d'occasionner des blessures ou des dysfonctionnements.
Conditions d'installation
Installez ce produit dans un endroit sûr et stable capable de supporter son poids et de garantir sa stabilité.
Mettez toujours l'appareil hors tension (voir « PRECAUTIONS » (page 3)), installez-le dans un environnement approprié et voyez à ce qu'il soit solidement fixé.
Les directions dans lesquelles ce produit peut être installé sont indiquées ci-dessous.

Attention
Assurez-vous que le support de montage répond aux exigences suivantes.
- Espacement entre les trous de vis : 100 mm × 100 mm
- Capacité de poids : Doit pouvoir supporter le poids combiné de ce produit, de la télécommande et de tous les accessoires branchés tels que les câbles
Méthode de montage
- Fixez le support de montage aux quatre trous de vis situés sous le produit à l'aide de vis de montage (disponibles dans le commerce).
Couple de serrage : 1,0 N·m à 1,4 N·m
Outil nécessaire : Tournevis cruciforme (n^2)
Bas

Longueur de la vis de montage (disponible dans le commerce)
Attention
- Veillez à respecter le couple de serrage. Un serrage incorrect peut entraîner des dommages au niveau des points de fixation et risquer d'occasionner des blessures ou des dysfonctionnements.
- Prendre les mesures appropriées pour éviter un desserage. Dans le cas contraire, cela pourrait occasionner des blessures ou des dysfonctionnements.
- Branchez les câbles après avoir installé le support de montage.
- En raison de son poids, une chute ou une mauvaise manipulation de ce produit peut occasionner des blessures ou des dysfonctionnements.
- Assurez-vous que le produit est solidement fixé et qu'il ne tombe pas ou ne se détache pas.
Attention
- Vérifiez que laamera montée n’entre pas en contact avec le produit ou les objets environnants lors des opérations de panoramique/inclinaison. Si le contact ne peut être évité, faites fonctionner l'appareil dans sa plage de mouvement tout en tenant compte de l'espacement.
- Vérifiez périodiquement le serrage des vis. Si laamera n'est pas assez serrée, elle peut se détacher et risquer d'occasionner des blessures ou des dysfonctionnements.
1. Raccordez ce produit à un concentrateur de réseau à l'aide d'un câble LAN blindé.
Si le concentrateur réseau prend en charge, le produit sera alimenté par le concentrateur réseau et le voyant LED à l'avant s'allumera.
Remarque
- Si le concentrateur réseau ne prend pas en charge PoE+, utilisez l'adaptateur secteur (vendu séparément). Suivez les étapes ci-dessous pour raccorder l'appareil.
- Branchez le cordon d'alimentation sur l'adaptateur secteur.
- Raccordez le connecteur de sortie de l'adaptateur secteur au connecteur d'entrée CC du produit (insérez-le à fond).
- Fixez le câble de l'adaptateur secteur à l'attache de câble (disponible dans le commerce) et fixez-le au porte-attache de câble.
- Branchez la fiche d'alimentation à une prise secteur.
- Tournez le commutateur d'alimentation à l'arrière et mettez l'appareil sous tension.
- Si vous utilisez l'adaptateur secteur alors qu'il est connecté à un concentrateur réseau prenant en charge PoE+, l'alimentation est fournie par l'adaptateur secteur.
2. Pour utiliser les commandes externes, raccordez ce produit à un ordinateur à l'aide d'un câble croisé rs-232c ou d'un câble LAN blindé.
Pour plus d'informations sur les commandes externes, reportez-vous à « 4-1. Commandes externes » (page 20).
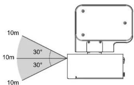
2-4. Préparation de la télécommande
- Retirez le cache.

- Insérez les piles AAA et remettez le cache en place.

Attention
- Utilisez la télécommande dans le rayon d'action indiqué sur l'illustration suivante.


Chapitre 3 dépannage
| État des LED Cause et contre-mesures | |
| Arrêt | • Mettez l'interrupteur d'alimentation sur ON. • Vérifiez que le cordon d'alimentation est correctement branché. Connectez l'adaptateur secteur ou un concentrateur réseau compatible PoE+. • L'adaptateur secteur ou le cordon d'alimentation du concentrateur réseau est-il correctement branché? |
| 2 rouge clignotant, 1 orange clignotant | • L'alimentation est insuffisante car elle est connectée à un concentrateur réseau compatible PoE. Connectez l'adaptateur secteur ou un concentrateur réseau compatible PoE+. • La tension d'entrée CC est insuffisante. Réglez la tension d'entrée sur 12 V CC. |
| 2 rouge clignotant, 2 orange clignotant | • Le circuit imprimé principal est défectieux. Contactez votre représentant local EIZO. |
| Rouge clignotant | • Indique que les opérations de panoramicique/inclinaison sont en arrêt d'urgence. Appuyez sur la touche ORIGIN de la télécommande pour ramener la position panoramicique/inclinaison à sa position d'origine. |
| 3 rouge clignotant, 1 orange clignotant | • L'intérieur du produit est chaud. Vérifiez la température autour du produit. |
| 4 rouge clignotant, 1 orange clignotant | • Indique que la mémoire n'est pas accessible. Contactez votre représentant local EIZO. |
4-1. Commandes externes
Si vous raccordez ce produit à un ordinateur, vous pouvez effectuer des réglages détaillés à l'aide de commandes.
Il existe deux fonctions de raccordement du produit à un ordinateur.
- Connexion via RS-232C Utilisez un câble croisé RS-232C Raccordez le produit à l'aide d'un câble LAN blindé
L'adresse IP par défaut est « 192.168.1.100 ». Pour modifier l'adresse IP, connectez-vous à l'aide d'un câble RS-232C pour modifier le réglage.
Pour plus de détails, reportez-vous à « External Control Command Specifications » pour PT-LAN51. Les « External Control Command Specifications » peuvent être téléchargées sur le site web d'EIZO (www.eizoglobal.com).
| Interface de commande externe | RS-232C Port : D-Sub 9 broches | mâle | |
| LAN RJ-45 (100BASE-TX) | |||
| Alimentation | Entrée PoE+ | Norme | IEEE 802.3 at Type2 (PoE+) |
| Tension d'alimentation | 42,5 V - 57 V CC | ||
| Consommation d'énergie maximum | 25,5 W ou moins | ||
| Courant d'entrée maximal | Jusqu'à 0,6 A | ||
| Entrée CC Tension | d'alimentation | 12 V ± 10 % | |
| Consommation d'énergie maximum | 36 W ou moins | ||
| Courant d'entrée maximal | Jusqu'à 3,0 A | ||
| Sortie CC Tension | d'alimentation | 12 V ± 10 % | |
| Courant de sortie maximal | 1,0 A ou moins | ||
| Spécifications physiques Dimenssions (L x H x P) 161,0 mm x 161,5 mm x 142,0 mm | |||
| Poids net Environ 2,5 kg | |||
| Inclinaison Plage de rotation | ± 174° (réglage d'usine : ± 30°)*1 | ||
| 0,4°/s - 50°/s | |||
| Panoramaique Plage de rotation | ± 170° (réglage d'usine : ± 170°)*1 | ||
| 0,4°/s - 50°/s | |||
| Poids de l'équipement montable | 1,5 kg ou moins*2 | ||
| Conditions de fonctionnement | Température | -10 °C - 50 °C | |
| Humidité | 10 % - 90 % HR (sans condensation) | ||
| Pression atmosphérique | 540 hPa - 1 060 hPa | ||
| Conditions de transport / stockage | Température | -20 °C - 60 °C | |
| Humidité | 10 % - 90 % HR (sans condensation) | ||
| Pression atmosphérique | 200 hPa - 1 060 hPa | ||
Ce réglage peut être modifié en utilisant les commandes de l'interface de commande externe (RS-232C/LAN). Montez la caméra de manière à ce que son centre de gravité soit aligné avec le centre de la base de montage de la caméra.
4-3. Spécifications des broches
Bornes de sortie CC

| N° de broche | Nom du signal |
| 1 12 V CC | |
| 2 GND (Tetre) |
4-4. Dimensions
Unité : mm




4-5. Spécifications de la télécommande
| Nom Description | tion | |
| Appui court Appui long | ||
| 1. PAN / TILT | Utilisée pour les opérations de panoramicique/inclinaison. | |
| 2. HOME / MEMORY Se déplace vers la position panoramicique/inclinaison enregistrée.*1 | Enregistre la position panoramicique/inclinaison actuelle. | |
| 3. ORIGIN | - | Ramène la position panoramicique/inclinaison à la position d'origine. |
| 4. PRESET Se déplace vers la position panoramicique/inclinaison enregistrée.*1 | Enregistre la position panoramicique/inclinaison actuelle. | |
| 5. PAN SPEED*2 | Définit la vitesse de rotation pour les opérations panoramiciques.1 : Haute2 : Moyenne (par défaut)3 : Faible | - |
| 6. TILT SPEED*2 | Définit la vitesse de rotation pour les opérations d'inclinaison.1 : Haute2 : Moyenne (par défaut)3 : Faible | - |
Les positions panoramiques/inclinaison ne sont pas enregistrées par défaut. Chaque vitesse peut être modifiée en utilisant les commandes de l'interface de commande externe (RS-232C/LAN).
Attention
- Il n'est pas possible d'utiliser deux touches ou plus en même temps.
4-6. Accessoires
Les accessoires suivants sont vendus séparément.
Pour connaître les informations les plus récentes sur les accessoires, reportez-vous au site web d'EIZO. www.eizoglobal.com
Adaptateur secteur DVAC-02
Marque commerciale
DisplayPort, le logo DisplayPort Compliance et VESA sont des marques déposées de Video Electronics Standards Association aux États-Unis et dans d'autres pays.
EIZO, le logo EIZO, ColorEdge, CuratOR, DuraVision, FlexScan, FORIS, RadiCS, RadiForce, RadiNET, Raptor et ScreenManager sont des marques déposées de EIZO Corporation au Japon et dans d'autres pays.
ColorEdge Tablet Controller, ColorNavigator, EcoView NET, EIZO EasyPIX, EIZO Monitor Configurator, EIZO ScreenSlicer, G-Ignition, iSound, Quick Color Match, RadiLight, Re/Vue, SafeGuard, Screen Administrator, Screen InStyle, ScreenCleaner, SwitchLink et UniColor Pro sont des marques commerciales d'EIZO Corporation.
Tous les autres noms de société, noms de produit et logos sont des marques commerciales ou des marques déposées de leurs propriétaires respectifs.
Ce produit comporte un logiciel open source.
Si un logiciel libre sous licence GPL (GNU GENERAL PUBLIC LICENSE) est inclus, conformément aux conditions de la licence GPL, nous nous engageons à fournir le code source du logiciel GPL
correspondant sur un support tel qu'un CD-ROM, aux frais des personnes et organisations qui nous contactent au moyen des coordonnées suivantes, pour une période d'au moins trois ans après l'achat du produit.
En outre, si le code source inclut du contenu sous licence LGPL (GNU LESSER GENERAL PUBLIC LICENSE), le code source sera distribué de la même manière que le logiciel sous licence GPL ci-dessus.
Coordonnées
www.eizoglobal.com/contact/index.html
*Contactez votre représentant local EIZO.
À l'exclusion du logiciel open source fourni sous licences GPL/LPGL ou sous d'autres licences, tout transfert, toute copie, tout assemblage inverse, toute compilation inverse ou toute ingénierie inverse du logiciel inclus avec ce produit est strictement interdit. En outre, l'exportation de tout logiciel inclus avec ce produit, en violation des lois d'exportation applicables, est strictement interdite.
Avertissement relatif aux interférences radio
| For Europe, Australia, New Zealand, etc Only |
| WarningOperation of this equipment in a residential environment could cause radio interference. |
| WarningDer Betrieb theses Geräts in einer Wohnumgebung könnte Funkstörungen verursachen. |
| AvertissementL'utilisation de cet équipement dans une zone résidentielle pourrait provoquer des interférences radio. |
EIZO Corporation (ci-après dénommé « EIZO ») et les distributeurs autorisés par EIZO (ci-après dénommés « Distributeurs »), sous réserve et conformément aux termes de cette garantie limitée (ci-après dénommée « Garantie »), garantissent à l'acheteur initial (ci-après dénommé « Acheteur initial ») du produit spécifique dans la présente (ci-après dénommé « Produit ») acheté auprès d'EIZO ou de Distributeurs agréés EIZO, que EIZO et ses Distributeurs auront pour option de réparer ou remplacer gracieusement le Produit si l'Acheteur initial constate, pendant la Période de garantie (définie ci-dessous), qu'il y a un dysfonctionnement ou que le Produit a subi un dommage dans le cadre d'une utilisation normale du Produit conformément à la description du mode d'emploi du Produit (ci-après dénommé « Manuel d'utilisation »).
La période de cette Garantie est de deux (2) ans à partir de la date d'achat du Produit (ci-après dénommée « Période de Garantie »). EIZO et ses Distributeurs déclinent toute responsabilité ou obligation concernant ce Produit face à l'Acheteur initial ou à toute autre personne à l'exception de celles stipulées dans la présente Garantie.
EIZO et ses Distributeurs cesseront de détenir ou conserver toutes les pièces (en excluant les pièces de conception) du produit à l'expiration de cinq (5) années après que la production du Produit se soit arrêtée. Lors d'une réparation du Produit, EIZO et les Distributeurs utiliseront des pièces de rechange conformes à nos normes QC. Si l'unité ne peut pas être réparée en raison de son état ou de la rupture de stock d'une pièce équivalente, EIZO et ses Distributeurs peuvent proposer le remplacement par un produit aux performances équivalentes au lieu de la réparer.
La Garantie est valable uniquement dans les pays ou les territoires où se trouvent les Distributeurs. La Garantie ne limite aucun des droits reconnus par la loi à l'Acheteur initial.
Nonobstant toute autre clause de cette Garantie, EIZO et ses Distributeurs n'auront aucune obligation dans le cadre de cette Garantie pour aucun des cas enumerés ci-dessous:
(a) Tout défaut du Produit résultant de dommages occasionnés à cause de poussière incrustée ou lors du transport, d'une modification, d'une altération, d'un abus, d'une mauvaise utilisation, d'un accident, d'une installation incorrecte, d'un désastre, de la poussière incrustée, d'un entretien et/ou d'une réparation incorrectly effectués par une personne autre que EIZO ou ses Distributeurs;
(b) Toute incompatibilité du Produit résultant d'améliorations techniques et/ou de réglementations possibles;
Toute dépréciation du capteur, y compris la valeur de mesure du capteur;
(d) Tout défaut du Produit causé par des appareils externes;
(e) Tout défaut du Produit causé par l'utilisation dans des conditions environnementales autres que celles indiquées par EIZO et ses distributeurs;
Toute déterioration des fixations du Produit (par ex. câbles, manuel d'utilisation, CD-ROM, etc.);
Toute dépréciation des consommables, et/ou accessoires du Produit (par ex. piles, télécommande, crayon tactile, etc.);
Toute déformation, décoloration et/ou déformation de l'extérieur du Produit;
Tout défaut du Produit causé par le placement dans un endroit où il pourrait être affecté par de fortes vibrations ou chocs;
(j) Toute détérioration ou dysfonctionnement du ventilateur de refroidissement causé par de la poussière incrustée. Pour bénéficier d'un service dans le cadre de cette Garantie, l'Acheteur initial doit renvoyer le Produit port payé, dans son emballage d'origine ou tout autre emballage approprié offrant un degré de protection équivalent, au Distributeur local, et assume la responsabilité des dommages et/ou perte possibles lors du transport. L'Acheteur initial doit présenter une preuve d'achat du Produit complétant sa date d'achat pour bénéficier de ce service dans le cadre de la Garantie.
La Période de garantie pour tout Produit remplace et/ou repare dans le cadre de cette Garantie expirera a la fin de la Période de garantie initiale.
EIZO OU SES DISTRIBUTeurs NE SAURAIENT ETRE TENUS RESPONSABLES DES DOMMAGES OU PERTES DE DONNÉES OU D'AUTRES INFORMATIONS STOCKÉES DANS UN MÉDA QUELCONQUE OU UNE AUTRE PARTIE DU PRODUIT RENVOYÉ À EIZO OU AUX DISTRIBUTeurs POUR RÉPARATION.
EIZO ET LES DISTRIBUTeurs DÉCLINENT TOUTE AUTRE GAR ANTIE, EXPLICITE OU IMPLICITE, CONCERNANT LE PRODUIT, Y COMPRIS ET SANS S'Y LIMITER, SA QUALITÉ, SES PERFORMANCES, SA QUALITÉ MARCHANDE OU SON ADAPTATION À UN USAGE PARTICULIER. EN AUCUN CAS, EIZO OU SES DISTRIBUTeurs NE SERONT RESPONSABLES DES DOMMAGES FORTUIITS, INDIRECTS, SPEÇAUX, INDUITS, OU DE TOUT AUTRE DOMMAGE QUEL QU'IL SOIT (Y COMPRIS, SANS LIMITATION, LES DOMMAGES RÉSULTANT D'UNE PERTE DE PROFIT, D'UNE INTERRUPTION D'ACTIVITÉS, D'UNE PERTE DE DONNÉES COMMERCIALES, OU DE TOUT AUTRE MANQUE À GAGNER) RÉSULTANT DE L'UTILISATION OU DE L'INCAPACITÉ D'UTILISER LE PRODUIT OU AYANT UN RAPPORT QUELCONQUE AVEC LE PRODUIT, QUE CE SOIT SUR LA BASE D'UN CONTRAT, D'UN TORT, D'UNE NÉLGENCE, D'UNE RESPONSABILITÉ STRICTE OU AUTRE, MÉME SI EIZO OU SES DISTRIBUTeurs ONT ÉTÉ AVERTIS DE LA POSSIBILITÉ DE TELS DOMMAGES. CETTE LIMITATION INCLUT AUSSI TOUTE RESPONSABILITÉ QUI POURRAIT ÉTRE SOULEVÈE LORS DES RECLAMATIONS D'UN TIERS CONTRE L'ACHETEUR INITIAL. L'ESSENCE DE CETTE CLAUSE EST DE LIMITER LA RESPONSABILITÉ POTENTIELLE DE EIZO ET DE SES DISTRIBUTeurs RÉSULTANT DE CETTE GARANTIE LIMITÉE ET/OU DES VENTES.

EIZO Corporation
153 Shimokashiwano, Hakusan, Ishikawa 924-8566 Japan
EIZO Europe GmbH
Notice Facile