WVU17UC0JS - Hotte MAYTAG - Notice d'utilisation et mode d'emploi gratuit
Retrouvez gratuitement la notice de l'appareil WVU17UC0JS MAYTAG au format PDF.
| Caractéristiques techniques | Hotte de cuisine MAYTAG WVU17UC0JS, type murale, 30 pouces de large |
|---|---|
| Débit d'air | Jusqu'à 400 CFM (pieds cubes par minute) |
| Éclairage | Éclairage LED intégré |
| Filtration | Filtres à graisse en aluminium, lavables au lave-vaisselle |
| Niveaux de vitesse | 3 niveaux de vitesse |
| Dimensions | 30" L x 19.75" P x 6" H |
| Installation | Installation murale, nécessite un conduit d'évacuation |
| Maintenance | Filtres à nettoyer régulièrement, entretien de l'éclairage |
| Sécurité | Conforme aux normes de sécurité en vigueur, protection contre la surchauffe |
| Garantie | Garantie limitée de 1 an sur les pièces |
| Informations supplémentaires | Design moderne, disponible en finition inox |
FOIRE AUX QUESTIONS - WVU17UC0JS MAYTAG
Téléchargez la notice de votre Hotte au format PDF gratuitement ! Retrouvez votre notice WVU17UC0JS - MAYTAG et reprennez votre appareil électronique en main. Sur cette page sont publiés tous les documents nécessaires à l'utilisation de votre appareil WVU17UC0JS de la marque MAYTAG.
MODE D'EMPLOI WVU17UC0JS MAYTAG
Instructions d'installation et Guide d'utilisation et d'entretien
le 1-800-807-6777 ou visiter notre site Web à
www.whirlpool.ca
Table des matières. 2

Modèles:
WVU17UC0JS,
WVU17UC0JB,
WVU17UC0JW
Votre sécurité et celle des autres est très importante.
Nous donnons de nombreux messages de sécurité importants dans ce manuel et sur votre appareil ménager. Assurez-vous de toujours lire tous les messages de sécurité et de vous y conformer.

Voici le symbole d'alerte de sécurité.
Ce symbole d'alerte de sécurité vous signale les dangers potentiels de décès et de blessures graves à vous et à d'autres.
Tous les messages de sécurité suivront le symbole d'alerte de sécurité et le mot "DANGER" ou
"AVERTISSEMENT". Ces mots signifient :
Averagement
Risque possible de décès ou de blessure grave si vous ne suivez pas immédiatement les instructions.
Risque possible de décès ou de blessure grave si vous ne suivez pas les instructions.
Tous les messages de sécurité vous diront quel est le danger potentiel et vous disent comment réduire le risque de blessure et ce qui peut se produire en cas de non-respect des instructions.
Instructions de sécurité importantes
AVERTISSEMENT : POUR RÉDUIRE LE RISQUE D'INCENDIE, CHOC ÉLECTRIQUE OU DOMMAGES CORPORELS, RESPECTER LES INSTRUCTIONS SUIVANTES :
Utiliser cet appareil uniquement dans les applications envisagées par le fabricant. Pour toute question, contacter le fabricant. - Avant d’entreprendre un travail d’entretien ou de nettoyage, interrompre l'alimentation de la hotte au niveau du tableau de disjoncteurs, et verrouiller le tableau de disjoncteurs pour empêcher tout rétablissement accidentel de l'alimentation du circuit. Lorsqu'il n'est pas possible de verrouiller le tableau de disjoncteurs, placer sur le tableau de disjoncteurs une étiquette d'avertissement prominente interdisant le rétablissement de l'alimentation. - Tout travail d'installation ou câblage électrique doit être réalisé par une personne qualifiée, dans le respect des prescriptions de tous les codes et normes applicables, y compris les codes du bâtiment et de protection contre les incendies. Ne pas faire fonctionner un ventilateur dont le cordon ou la fiche est endommagé(e). Jeter le ventilateur ou le retourner à un centre de service agréé pour examen et/ou réparation. - Une source d'air de début suffisante est nécessaire pour le fonctionnement correct de tout appareil à gaz (combustion et évacuation des gaz à combustion par la cheminée), pour qu'il n'y ait pas de reflux des gaz de combustion. Respecter les directives du fabricant de l'équipement de chauffage et les prescriptions des normes de sécurité - comme celles publiées par la National Fire Protection Association (NFPA) et l'American Society for Heating, Refrigeration and Air Conditioning Engineers (ASHRAE), et les prescriptions des autorités réglementaires locales. Lors d'opérations de découpage et de perçage dans un mur ou un plafond, veiller à ne pas endommager les câblages électriques ou canalisations qui peuvent s'y trouver. - Les ventilateurs d'évacuation doivent toujours décharger l'air à l'extérieur.
MISE EN GARDE : Cet appareil est conçu uniquement pour la ventilation générale. Ne pas l'utiliser pour l'extraction de matières ou vapeurs dangereuses ou explosives.
MISE EN GARDE : Pour minimiser le risque d'incendie et évacuer adéquatement les gaz, veiller à acheminer l'air aspiré par un conduit jusqu'à l'extérieur - ne pas décharger l'air aspiré dans un espace vide du bâtiment comme une cavité murale, un plafond, un grenier, un vide-sanitaire ou un garage.
AVERTISSEMENT: POUR RÉDUIRE LE RISQUE D'INCENDIE, UTILISER UNIQUÉMENT DES CONDUITS METALLIQUES.
AVERTISSEMENT: POUR MINIMISER LE RISQUE D'UN FEU DE GRAISSE SUR LA CUISINIÈRE:
- Ne jamais laisser un élément de surface fonctionner à puissance de chauffage maximale sans surveillance. Un renversement/débordement de matière grasse pourrait provoquer une inflammation et la génération de fumée. Utiliser une puissance de chauffage moyenne ou basse pour le chauffage d'huile. Veiller à toujours faire fonctionner le ventilateur de la hotte lors de la cuisson avec une puissance de chauffage élevée ou lors de la cuisson d'un mets à flamber (à savoir crêpes Suzette, cherry jubilee, steak au poivre flambé). Nettoyer les ventilateurs d'extraction. Veiller à ne pas laisser la graisse s'accumuler sur les surfaces du ventilateur ou des filtres. Utiliser toujours un ustensile de taille appropriée. Utiliser toujours un ustensile adapté à la taille de l'élément chauffant.
AVERTISSEMENT : POUR RÉDUIRE LE RISQUE DE DOMMAGES CORPOELS APRÈS LE DÉCLENCHEMENT D'UN FEU DE GRAISSE SUR LA CUISINIÈRE, APPLIQUE LES RECOMMANDATIONS SUIVANTES : a
- Placer sur le recipient un couvercle bien ajusté, une tôle à biscuits ou un plateau métallique POUR ÉTOUFFER LES FLAMMES, puis éteindre le brûleur. VEILLER À EVITER LES BRULURES. Si les flammes ne s'éteignent pas immidiatement, EVACUER LA PIECE ET APPELER LES POMPIERS. NE JAMAIS PRENDRE EN MAIN UN RÉCIPIENT ENFLAMME - vous risquèz de vous brûler. NE PAS UTILISER D'EAU, ni un torchon humide - ceci pourrait provoquer une Explosion de vapeur brûlante. Utiliser un extincteur SEULEMENT si :
- Il s'agit d'un extincteur de classe ABC, dont on connaît le fonctionnement.
- Il s'agit d'un petit feu encore limité à l'endroit où il s'est déclaré.
- Les pompiers ont été contactés.
- Il est possible de garder le dos orienté vers une sortie pendant l'opération de lutte contre le feu.
ARecommendations tirées des conseils de sécurité en cas d'incendie de cuisine publiés par la NFPA.
■ AVENTISSEMENT : Pour réduire le risque d'incendie ou de chic électrique, ne pas utiliser ce ventilateur avec unquelconque dispositif de réglage de la vitesse à semiconducteurs.
LIRE ET CONSERVER CES INSTRUCTIONS
Outillage et pièces
Rassembler les outils et pièces nécessaires avant d’entreprindre l’installation. Lire et observer les instructions fournies avec chacun des outils de la liste ci-dessous.
Outils nécessaires
| Cisaille de ferblantier | Pince à dénuder |
| Tournevis Phillips n° 2 | Tournevis à lame plate |
| Crayon | Perceuse avec forets de 1/8"(3 mm), 1/2"(13 mm) et 1 1/4"(3 cm) |
| Pistolet à calfeutrage et composé de calfeutrage résistant aux intempéries | |
| Scie sauteuse ou scie à guichet |
Pièces fournies
Retirer les pièces de l'emballage. Vérifier que toutes les pièces sont présentes.
| Vis à tête plate n° 8-18 x 1" (4,2 x 25 mm) | Vis à tête bombée n° 8-18 x 5" (4,2 x 16 mm) | ||
| Chevilles d'ancrage | Brides de montage | ||
| Plaque de montage de conduit circulaire de 7" (17,8 cm) Pièce numéro W10388168° | Lampe DEL 120V, 9W à culot E26 | ||
Pièces nécessaires
| Connecteurs de fils homologues UL/CSA | Serre-câble de 1/2" (13 mm) homologué UL/CSA |
Pour installations avec conduit circulaire de 7'' (17,8 cm)
| Brides de conduit selon le besoin | Clapet anti-reflux circulaire de 7" (17,8 cm) Piece numéro W10355451* |
| Circuit d'évacuation métallique circulaire de 7" (17,8 cm) avec bouche de décharge à travers le mur ou à travers le toit | |
Installations avec évacuation à l'extérieur et conduits circulaires de 314'' × 10'' (8,3 x 25,4 cm)
| Circuit d'évacuation métallique rectangulaire de 3 1/4" x 10" (8,3 x 25,4 cm) avec bouche de décharge à travers le mur ou à travers le toit | Ruban adhésif pour conduit |
Accessoires en option
| Ensemble du filtré à charbon Piece numéro W11371717 | Ensemble du cordon d'alimentation Piece numéro W10355452* | Nettoyant et poli pour acier inoxydable Piece numéro 31462A* |
*Pour des renseignements sur la commande, voir la section "Assistance ou service".
IMPORTANT : Observez les dispositions de tous les codes et règlements en vigueur.
C'est à l'installateur qu'incombe la responsabilité de respecter les distances de séparation spécifiées sur la plaque signalétique. La plaque signalétique est située à l'intérieur de la hotte, sur la paroi de gauche. - Installer la hotte de cuisine à distance de toute zone exposée à des courants d'air, comme fenêtres, portes et bouches de chauffage à fort débit. Respecter les dimensions individuelles pour les ouvertures à découper dans les meubles. Ces dimensions tiennent compte des valeurs minimales des dégagements de séparation. Avant d'effectuer des découpages, consulter les instructions d'installation fournies par le fabricant de la table de cuisson/cuisinière. Il est recommandé d'utiliser cette hotte avec une table de cuisson dont la puissance totale ne dépasse pas 40 000 BTU. Une prise de courant électrique reliée à la terre est nécessaire. Voir la section "Spécifications électriques". Assurer l'étanchéité au niveau de chaque ouverture découpée dans le plafond ou le mur pour l'installation de la hotte de cuisinière. - Ces hottes de cuisinière ont été configurées à l'usine pour une installation avec évacuation à l'extérieur. Les modèles pouvant être installés dans une configuration sans évacuation à l'extérieur (recyclage) nécessitent des filtres à charbon. Voir la section "Assistance ou service" pour connaître le processus de commande des filtres à charbon.
Installation dans une résidence mobile
L'installation de cette hotte doit satisfaire aux exigences de la norme Manufactured Home Construction Safety Standards, Titre 24 CFR, partie 328 (anciennement Federal Standard for Mobile Home Construction and Safety, titre 24, HUD, partie 280) ; lorsque cette norme n'est pas applicable, l'installation doit satisfaire aux critères de la plus récente édition de la norme Manufactured Home Installation 1982 (Manufactured Home Sites, Communities and Setups) ANSI A225.1/NFPA 501A, ou des codes et règlements locaux.
Dimensions du produit
Distances de dégagement à respecter
A. 24" (61,0 cm) de distance minimale à partir de la surface de cuisson électrique. 24" (61,0 cm) de distance minimale à partir de la surface de cuisson au gaz. (76,2 cm) de distance maximale suggérée au-dessus de la surface de cuisson. B. 18" (45,7 cm) de dégagement minimal entre le placard supérieur et le plan de travail. C. 30" (76,2 cm) de largeur de cabinet minimale pour les modèles de 30" (76,2 cm) et 36" (91,4 cm) de largeur minimale de placard pour les modèles de 36" (91,4 cm). D. 12" (30,5 cm) de profondeur de placard. E. 36^ (91,4 cm) de hauteur du placard du bas.
Remarques:
L'emploi d'un conduit flexible est déconseillé. Un conduit flexible peut causer une retropression et des turbulences de l'air, ce qui réduit considérablement la performance. Le circuit d'évacuation est facultatif pour ce modèle.
La sortie à l'extérieur du circuit d'évacuation peut se faire à travers le toit ou à travers un mur. Utiliser des conduits rectangulaires de 314 × 10 (8,3 x 25,4 cm) avec une longueur maximale de 35 pi (10,7 m) ou des conduits circulaires de 7 (17,8 cm) de diamètre ou plus avec une longueur maximale de 50 pi (15,2 m) pour le circuit d'évacuation.
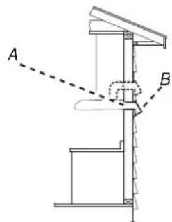
Évacuation par le dessus évacuation par le mur

A. Conduit circulaire de 7^ (17,8 cm) pour évacuation à travers le toit (à acheter séparation). Conduit rectangulaire de 314 x 10^ (8,3 × 25,4 ~cm) pour décharge à travers le toit (à acheter séparation). B. Bouche de décharge sur toit avec clapet (à acheter séparation)

A. Conduit circulaire de 7" (17,8 cm) avec sortie par le dessus et décharge à travers le mur (à acheter séparation). Conduit rectangulaire de 314 x 10" (8,3 x 25,4 cm) pour décharge à travers le mur ou par le dessus (à acheter séparation). B. Bouche de décharge à travers le mur avec clapet (à acheter séparation)
Installations dans les régions au climat froid
On doit installer un clapet anti-retour supplémentaire à l'arrière pour minimiser le reflux d'air froid et incorporer un élément d'isolation thermique pour minimiser la conduction de chaleur par l'intermédiaire du conduit d'évacuation, de l'intérieur de la maison à l'extérieur. Le clapet anti-retour doit être placé du côté air froid de la résistance thermique.
L'élément d'isolation thermique doit être aussi proche que possible de l'endroit où le circuit d'évacuation s'introduit dans la partie chauffée de la maison.
Exigences concernant l'évacuation
Le circuit d'évacuation doit décharger l'air à l'extérieur, excepté pour les installations sans décharge à l'extérieur (recyclage). Ne pas terminer le circuit d'évacuation dans un grenier ou dans un autre espace clos. Ne pas utiliser une bouche de décharge murale de 4" (10,2 cm) normalement utilisée pour un équipement de buanderie. Utiliser un conduit métallique circulaire de 7" (17,8 cm) ou un conduit métallique rectangulaire de 314 × 10 (8,3 x 25,4 cm), en fonction de la configuration d'installation. Un conduit en métal rigide est recommandé. Ne pas utiliser de conduit de plastique ou en aluminium. La longueur du circuit d'évacuation et le nombre de coudes doivent être réduits au minimum pour des performances optimales.
Pour un fonctionnement efficace et silencieux :
Ne pas utiliser plus de trois coudes. À veiller à ce qu'il y ait une section droite de conduit d'un minimum de 24" (61 cm) entre les coudes si on doit utiliser plus d'un coude. Ne pas installer 2 coudes successifs. Utiliser des brides ou du ruban adhésif pour conduit pour assurer l'étanchéité de chaque jointure du circuit d'évacuation. Le circuit d'évacuation doit comporter un clapet anti-reflux. Si la bouche de décharge murale ou par le toit compte un clapet, ne pas utiliser le clapet fourni avec la hotte de cuisinière. - À l'aide d'un produit de calfatrage, assurer l'étanchéité autour de la bouche de décharge à l'extérieur (à travers le mur ou le toit).
Calcul de la longueur du circuit d'évacuation
Pour calculer la longueur effective du circuit d'évacuation nécessaire, additionner les longueurs équivalentes (en pieds ou mètres) de tous les composants utilisés dans le circuit.
Composant
Coude à 45°2,5 pi (0,8m)

Coude à 90° 5 pi (1,5 m)

Bouche de décharge 0 pi (0 m) murale de 7'' (17,8 cm)

Exemple de circuit d'évacuation

1 coude à 90^ = 5 pi (1,5 m)
1 bouche de décharge murale = 0 pi (0m)
Section droite de 8 pi (2,4m) = 8 pi (2,4m)
Longueur totale = 13 pi (3,9m)
Longueur maximale recommandée
Circuit d'évacuation avec conduits = 50 pi (15,2m) circulaires de 7'' (17,8 cm)
Spécifications électriques
Observer les dispositions de tous les codes et règlements en vigueur.
S'assurer que l'installation électrique est correcte et qu'elle satisfait aux exigences de la plus récente édition de la norme National Electrical Code, ANSI/NFPA 70, ou de la norme CSA C22.1-94, Code canadien de l'électricité, partie 1 et C22.2 n° 0-M91 (dernière édition) et de tous les codes et règlements en vigueur.
Si les codes le permettent et si l'on utilise un conducteur distinct de liaison à la terre, il est recommandé qu'un électricien qualifié vérifie la qualité de la liaison à la terre.
Pour obtenir un exemplaire des normes des codes ci-dessus, contacter :
L'appareil doit être alimenté par un circuit de 120 V, CA seulement, 60 Hz, 15 ampères, protégé par fusible. Si le domicile possède un câblage en aluminium, suivre la procédure ci-dessous :
- Raccorder une section de câble en cuivre massif aux conducteurs en queue de cochon.
- Connecter le câblage en aluminium à la section ajoutée de câblage en cuivre en utilisant des connecteurs et/ou des outils spécifiques conçus et homologués UL pour fixer le cuivre à l'aluminium.
Suivre la procédure recommandée par le fabricant de connecteurs électriques. Les raccordements aluminium/cuivre doivent satisfaire aux prescriptions des codes locaux et de l'industrie, et être conformes aux pratiques de câblage reconnues.
Le calibre des conducteurs et les connexions doivent être compatibles avec les caractéristiques électriques de l'appareil spécifiées sur la plaque signalétique. La plaque signalétique de l'appareil est située derrière le filtre, sur la paroi arrière de la hotte. Le calibre des conducteurs doit être conforme aux exigences du National Electrical Code, de la plus récente édition de la norme ANSI/NFPA 70 ou des normes CSA C22.1-94, Code canadien de l'électricité, partie 1 et C22.2 n° 0-M91 (édition la plus récente) et de tous les codes et règlements en vigueur.
Remarques:
- Selon le modèle, déterminer la méthode d'évacuation à utiliser : évacuation à travers le mur ou le toit, ou recyclage. Il est recommandé que l'installation du circuit d'évacuation soit réalisée avant celle de la hotte. Voir "Circuit d'évacuation" dans la section "Exigences d'installation" en cas de besoin. Avant d'exécuter les découpages, vérifier qu'il existe un dégagement suffisant dans le plafond ou le mur pour le conduit d'évacuation.

Risque de choc électrique
Déconnecter la source de courant électrique avant l'entretien.
Replacer pièces et panneaux avant de faire la remise en marche.
Le non-respect de ces instructions peut causer un décès ou un choc électrique.
2. Marquage de l'emplacement des trous

Aligner le bord extérieur des brides de montage avec les bords extérieurs du placard supérieur.
IMPORTANT: Les brides de montage doivent être en contact avec le placard supérieur.
Marquer les trous supérieurs des brides avec un crayon.
3. Installation des brides

À l'aide d'un tournevis Phillips n° 2, installer les chevilles d'ancrage. À l'aide des vis à tête plate n° 8-18 x 1" (4,2 x 25 mm) Phillips n° 2, installer les brides de montage en utilisant les trous supérieurs.
REMARQUE: Pour les installations sur une surface autre qu'un panneau de gypse, il est recommandé de faire appel à du personnel qualifié pour déterminer la méthode d'ancrage.
4. Préparation de la hotte

Retirer les deux vis de sécurité du filtre et mettez-les de côté. Appuyez sur le loquet du filtre pour libérer les filtres àGRAisse. Retirer chaque filtre aGRAISE.
5. Préparation de la hotte

- Placer la hotte en appui sur la face arrière, sur une surface couverte. A l'aide d'un tournevis Phillips n°2, retirer le clapet rectangulaire attaché avec des vis de 3,5 x 9,5 mm. A l'aide d'un tournevis Phillips n°2, retirer le couvercle du boîtier de raccordement. A l'aide d'un tournevis à lame plate, retirer l'opercule pour le passage de l'alimentation électrique approprié.
6. Marquage de l'emplacement des trous

Soulever la hotte et la mettre en place, et insérer les pattes des brides de montage dans les fentes situées à l'arrière de la hotte.

Maintenir la hotte en place d'une main ferme et plier chaque patte de montage (A) vers le haut en formant un angle d'environ.
Marquer le trou à l'emplacement de l'opercule pour le passage de l'alimentation électrique (B).
Facultatif : Marquer le trou de chaque patte de montage. Retirer la hotte et la mettre à cote.
7. Marquage et découverte de l'ouverture d'évacuation
Système d'évacuation circulaire de 7" (17,8 cm)
À l'aide de la plaque de montage du conduit circulaire de 7" (17,8 cm), marquer le trace de l'ouverture d'évacuation sur la face inférieure du placard :
- Placer la plaque de montage de conduit sur le fond du placard. Positionner contre le mur le bord de la plaque de montage comptant la plus grande distance (A) entre le trou et le bord de la plaque. Positionner les bords latéraux de la plaque de montage entre les trous marqués précédemment.
IMPORTANT: Le bord le plus large (A) de la plaque de montage doit être positionné contre le mur.
- Marquer le trace de l'ouverture d'évacuation de 7" (17,8 cm) sur le fond du placard (ligne continue sur l'illustration).
Utiliser une scie sauteuse ou une scie à guichet pour découvrer une ouverture d'évacuation de 1" (2,5 cm) plus large que le trou de 7" (17,8 cm) tracé en pointillés sur l'illustration.
- Perçage des ouvertures des câbles électriques

À l'aide d'un foret de 1 / 4 (3 mm), percer le trou à l'emplacement du serre-cable marqué précédemment.
FACULTATIF: À l'aide d'un foret de 1/° (3 mm), percer des avant-trous aux emplacements de chaque patte de montage marqués précédemment, à un angle d'environ vers le haut.
- Préparation des conduits d'évacuation et des pattes de montage de la hotte

Installation du serre-cable
Installer un serre-cable de 1 / 2 (13 mm) homologué UL/CSA (A).
Pattes de montage
Engager une vis à tête bombée n^8 - 18 × 53 (4,2 x 16 mm) dans la patte de montage (F) de chaque côté de la hotte comme illustré. Faire tourner les vis sur environ 2 tours à travers les trous des pattes de montage.
Installations sans évacuation à l'extérieur (recyclage)
Retirer les 2 vis à l'aide d'un tournevis Phillips n° 2 et retirer le couvercle rectangulaire avant supérieur (E). Passer à l'étape 12.
Installations d'évacuation pour conduit circulaire de 7" (17,8 cm)
Retirer les deux opercules supérieurs (C et D).
- Fixation du clapet anti-reflux ou du raccord de transition
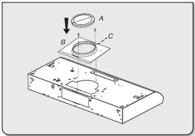
Plaque de montage de conduit circulaire de 7" (17,8 cm)

À l'aide de (2) vis courtes à tête Phillips, installer la plaque de montage du conduit circulaire de 7" (17,8 cm) par-dessus les opercules retirées lors de l'étape 8. Positionner le rebord large (C) à l'avant.
REMARQUE: Un clapet anti-reflux circulaire de 7" (17,8 cm) (A), (pièce numéro W10355451), ainsi qu'une plaque de montage de conduit circulaire de 7" (17,8 cm) (B), (pièce numéro W10388168) sont disponibles en option. Pour des renseignements sur la commande, voir la section "Assistance ou service".
En cas d'installation du clapet circulaire anti-reflux en option, le positionner par-dessus la plaque de montage de conduit circulaire.
11. Montage de la hotte

- Soulever la hotte et la mettre en place en positionnant les encoches arrière sur les brides de montage. A l'aide du tournevis Phillips, visser complètement les vis précédemment engagées dans les pattes de montage et plier les pattes contre les parois latérales du placard. Fixer les vis sur les parois latérales du placard. Pour les installations à raccordement direct, acheminer le câble d'alimentation du domicile selon les prescriptions du Code national de l'électricité ou des normes CSA et des codes et règlements locaux. La longueur du câblage depuis le tableau de distribution (avec fusibles ou disjoncteurs) doit être suffisante pour réaliser facilement le raccordement dans le boîtier de connexion de la hotte. Serrer les vis du serre-câble.
REMARQUE: Ne pas mettre le système sous tension avant d'avoir complètement terminé l'installation.
FACULTATIF: Il est également possible de plier les pattes arrière contre l'arrière de la hotte, et de les fixer à la paroi à l'aide de vis à tête bombée n° 8-18 x 5 / 8 (4,2 x 16 mm).
12. Raccordement du circuit d'évacuation
Raccorder le circuit d'évacuation à la hotte. Assurer l'étanchéité des jointures avec des brides de conduit ou du ruban adhésif pour conduit. Vérifier que les clapets anti-reflux fonctionnent correctement.
13. Raccordement électrique

Option 1 - Installations avec raccordement par câblage direct
- Connecter ensemble les 2 conducteurs blancs (A) à l'aide d'un connecteur de fils homologué UL/CSA.
- Connecter ensemble les 2 conducteurs noirs (B) à l'aide d'un connecteur de fils homologué UL/CSA.

Risque d'incendie
Relier le ventilateur à la terre.
Utiliser du fil en cuivre.
Brancher le fil relié à la terre à la vis verte reliée à la terre dans la boîte de la borne.
Le non-respect de ces instructions peut causer un décès, un incendie ou un choc électrique.
- Connecter le conducteur de liaison à la terre (vert ou nu) (C) du câble d'alimentation à la vis verte de liaison à la terre située dans le boîtier de connexion de la hotte, et bien serrer la vis.
Réinstaller le couvercle du boîtier de connexion.
Reconnecter la source de courant électrique.
Option 2 - installations avec l'ensemble du cordon d'alimentation
Pour les installations avec l'ensemble du cordon d'alimentation facultatif, suivre les instructions fournies avec l'ensemble du cordon d'alimentation. Voir la section "Assistance ou service" pour plus d'informations sur le processus de commande.
REMARQUE: Utiliser uniquement avec des nécessaires de raccordement du cordon d'alimentation de la hotte de cuisinière dont l'utilisation a été testée et déclarée adéquate pour ce modèle de hotte de cuisinière.
■ Installer une ampoule à incandescence de 9 watts maximum, 120 V, à culot E26. Voir "Remplacement de l'ampoule DEL" dans la section "Entretien de la hotte". Réinstaller le filtre s'il a été retiré précédemment. Voir "Filtre à GRAISSÉ ou au charbon" dans la section "Entretien de la hotte".
Installations avec évacuation à l'extérieur : Installer un filtre métallique.
Pour les installations sans évacuation à l'extérieur (recyclage) : Installer un filtre à charbon.
- Contrôler le fonctionnement du ventilateur de la hotte et de la lampe. Voir la section "Utilisation de la hotte".
Si la hotte ne fonctionne pas, vérifier que le coupe-circuit ne s'est pas déclenché et qu'aucun fusible n'est grillé. Déconnecter la source de courant électrique et inspecter les connexions du câblage.
REMARQUE : Pour pouvoir tirer le plus grand parti de la nouvelle hotte de cuisinière, voir la section “Utilisation de la hotte”.
Utilisation de la HOTTE
La hotte de cuisinière est conçue pour extraire fumée, vapeurs de cuisson et odeurs de la zone de la table de cuisson. Pour obtenir les résultats, mettre le ventilateur de la hotte en marche avant d'entamer une cuisson, et laisser le ventilateur fonctionner pendant plusieurs minutes après l'achèvement d'une cuisson pour pouvoir évacuer de la cuisine toute trace d'odeur de cuisson, vapeur ou fumée.
Les commandes de la hotte sont situées sur le panneau avant de la hotte.

A. Logement et protège-ampoule de l'ampoule B. Patte de retenue du filtre à GRAISSE C. Filtre à graisse
Commandes de la hotte de cuisinère

A. Commutateur d'éclairage Marché/arrêt B. Commutateur de vitesse du ventilateur
Fonctionnement de la lampe
Pousser le commutateur d'éclairage vers la droite à la position 1 pour placer la lumière au réglage d'éclairage faible (veilleuse). Pousser le commutateur d'éclairage vers la droite à la position 2 pour placer la lumière au réglage d'éclairage puissant.
Fonctionnement du ventilateur
La vitesse du ventilateur est variable. Tourner le commutateur du ventilateur vers la droite pour mettre le ventilateur en position Marche. Continuer de faire tourner le commutateur jusqu'à la vitesse de ventilateur souhaitée.
Pour éteindre le ventilateur, tourner le commutateur de vitesse du ventilateur vers la gauche pour mettre le ventilateur en position Arrêt.
Nettoyage
IMPORTANT: Nettoyer fréquemment la hotte et les filtres à GRAISSE en suivant les instructions suivantes. Réinstaller le filtre à GRAISSE avant de faire fonctionner la hotte.
Surfaces externes :
IMPORTANT: Ne pas utiliser de tampons de récurge savonnux, de nettoyants abrasifs, de crème à polir pour table de cuisson, de laine d'acier, de chiffons de lavage rugueux ou d'essuie-tout.
Pour éviter d'endommager les surfaces en acier inoxydable, ne pas utiliser de nettoyants contenant du chlore.
Méthode de nettoyage :
Détailant liquide ou nettoyant tout usage : Rincer à l'eau propre et sécher avec un chiffon doux sans charpie. Nettoyant à vitre pour éliminer les traces de doigts. Pour les modèles en acier inoxydable, utiliser le nettoyant et poli pour acier inoxydable. Voir la section "Assistance ou service" pour commander. Pour les modèles en acier inoxydable, frotter dans la direction du grain pour éviter d'égratigner ou d'endommager la surface.
Nettoyage du filtre :
- Oter la vis de la patte de retenue du filtré àGRAISSE.
- Faire pivoter la patte de retenue du filtre àGRAISSE pour libérer le filtre.

- Installations avec évacuation à l'extérieur : Les filtres à graisses doivent être nettoyés avec de l'eau tiède, du liquide vaisselle et une brosse non abrasive.
Pour les installations sans évacuation à l'extérieur
(recyclage) : Le filtre à charbon n'est pas lavable. Pour des renseignements sur la commande, voir la section “Assistance ou service”.
Remarque:
Pour réduire les risques d'incendie ou de choc électrique lorsqu'la hotte est utilisée en mode recirculation, utilisez uniquement les modèles de kit de conversion répertoriés au-dessous de:
Kit recyclage : W11371717
Remplacement du filtre :
- Pour réinstaller le filtré, placer le rebord arrêté du filtré dans la rainure à l'arrière de la hotte. Enfoncer le filtré en place et faire pivoter la patte de retenue du filtré pour fixer le filtré à la hotte.
- Réinstaller la vis dans la patte de retenue du filtre à graisse.
Remplacement de l'ampoule DEL
Eteindre la hotte et laisser l'ampoule refroidir.
- Débranchez le courant.
- Retirez les filtres à graisse de la hotte.
- Retirez l'ampoule DEL située derrière la cale d'espacement.

- Installer une ampoule DEL de 9 watts maximum, 120 V, à culot E26.
- Réinstaller le cabochon : Exercer une pression sur le cabochon pour pouvoir insérer les pattes dans les ouvertures d'insertion.
- Reconnecter la source de courant électrique. Si la nouvelle lampe ne fonctionne pas, vérifier que l'ampoule est correctement insérée dans sa douille avant de demander l'intervention d'un dépanneur.

Si vous avez besoin de service
Lorsque vous appelez, veuillez connaître la date d'achat et le modèle et numéro de série de votre appareil. Ces informations aident-nous à mieux répondre à votre demande.
Si vous avez besoin de pièces de rechange
Si vous avez besoin de commander des pièces de rechange, nous vous recommandons d'utiliser seulement des pièces de rechange FSP®. Les pièces de rechange FSP® conviendront et fonctionneront bien car elles sont fabriquées avec la même précision que celle utilisée pour fabriquer chaque nouvel appareil Whirlpool®.
Pour localiser des pièces de rechange FSP® dans votre région, appelez-nous ou votre centre de service désigné Whirlpool le plus proche.
Au canada
Veuillez appeler sans frais le Centre pour l'expérience de la clientèle de Whirlpool Canada au : 1-800-807-6777 ou visitez notre site web à www.whirlpool.ca.
Nos consultants vous renseigneront sur les sujets suivants :
■ Programmation d'une intervention de dépannage. Les techniciens de service désignés par Whirlpool sont formés pour remplir la garantie des produits et fournir un service après garantie partout au Canada.
- Caractéristiques et spécifications sur toute notre gamme d'appareils électroménagers. Références aux concessionnaires Whirlpool locaux. Consignes d'utilisation et d'entretien. Vente d'accessoires et de pièces de rechange.
Pour plus d'assistance
Si vous avez besoin de plus d’assistance, vous pouvez soumettre par écrit toute question ou préoccupation à Whirlpool Canada à l’adresse suivante :
Centre pour l'expérience de la clientèle
Whirlpool Canada
200-6750 Century Ave. Mississauga,
Ontario L5N 0B7
Veuillez inclure dans votre correspondance un numéro de téléphone où l'on peut vous joindre dans la journée.
Notice Facile