Sabina - Poêle Cola - Notice d'utilisation et mode d'emploi gratuit
Retrouvez gratuitement la notice de l'appareil Sabina Cola au format PDF.
| Caractéristiques | Détails |
|---|---|
| Type de poêle | Poêle à frire |
| Matériau | Acier inoxydable |
| Diamètre | 28 cm |
| Compatibilité avec les plaques de cuisson | Induction, gaz, électrique |
| Revêtement antiadhésif | Oui |
| Utilisation au four | Jusqu'à 200°C |
| Entretien | Lavable au lave-vaisselle |
| Poignée | Ergonomique et anti-chaleur |
| Poids | 1,5 kg |
| Garantie | 2 ans |
| Précautions de sécurité | Ne pas surchauffer, utiliser des ustensiles en silicone ou bois |
FOIRE AUX QUESTIONS - Sabina Cola
Questions des utilisateurs sur Sabina Cola
0 question sur cet appareil. Repondez a celles que vous connaissez ou posez la votre.
Poser une nouvelle question sur cet appareil
Téléchargez la notice de votre Poêle au format PDF gratuitement ! Retrouvez votre notice Sabina - Cola et reprennez votre appareil électronique en main. Sur cette page sont publiés tous les documents nécessaires à l'utilisation de votre appareil Sabina de la marque Cola.
MODE D'EMPLOI Sabina Cola
Stufa a pellet mod - Pellet stove model - Poèle à granulés mod. Pelletofen Modell - Estufa de pellets mod.

Lire attentivement les instructions avant d'installer, d'utiliser et d'entretenir le poêle.
Le manuel fait partie intégrante de l'appareil.
La société COLA garantit ses produits selon les normes actuellement en vigueur, à l'exception des parties qui sont soumises à une usure normale. Pour les conditions de garantie, s'adresser à l'importateur ou au représentant autorisé qui pourrait accorder une extension de la durée contractuelle constructeur sous sa propre responsabilité. La garantie déchoit automatiquement et de plein droit pour tous les dommages, ruptures ou incidents causés par l'inobservation ou l'inapplication des instructions contenues dans le présent manuel.
DE 86-113
NB 2456 - Report n° K7542012Z1
DoP_LA13S00Y
EN 14785:2006
Standard CEI EN 55014-2 :
Standard CEI EN 61000-3-2:
NB 2456 - Report n° K7542012Z1
DoP_LA13S00Y
EN 14785:2006
1.1. Introduction 1.2. Comment utiliser ce manuel 1.3. Règles de sécurité 1.4. Description technique 1.5. Combustible et usage prévu 1.6. Accessoires fournis 1.7. Normes de référence 1.8. Plaque d'identification 1.9. Mise hors service du poêle 1.10. Demande d'intervention et de pièces détachées
Transport et installation
2.1. Emballage, manutention, expédition et transport 2.2. Lieu d'installation, mise en place et sécurité anti-incendie 2.3. Prise d'air 2.4. Évacuation des fumées de combustion 2.4.1. Types d'installations 2.5. Contrôle de la position du brasier et du déflecteur 2.6. Branchement électrique 2.7. Schéma électrique 2.8. Première intervention
3. Sécurité
3.1. Distance de sécurité par rapport aux matériaux combustibles 3.2. Sécurité pour l'évacuation des fumées 3.3. Sécurité en cas de surpression dans la chambre de combustion 3.4. Surchauffe-thermostat de sécurité température réservoir granulés 3.5. Sécurité contre le retour de flamme sur le canal d'alimentation en granulés 3.6. Dispositif électrique de protection contre les surtensions 3.7. Sécurité en cas de coupure de courant 3.8. Dysfonctionnement du ventilateur d'extraction des fumées
4. Utilisation du poêle
4.1. Introduction 4.2. Description du tableau de commande 4.3. Allumage
4.3.1. Contrôle avant l'allumage 4.3.2. Mise en marche
4.4. Fonctionnement
4.5. Extinction du poèle 4.6. Menu
4.6.1 menu 01 - réglage des ventilateurs 4.6.2 menu 02 - réglage de l'horloge 4.6.3 menu 03 - activation du chrono 4.6.4 menu 04 - choix de la langue 4.6.5 menu 05 - mode veille (stand-by) 4.6.6 menu 06 - alarme sonore (buzzer) 4.6.7 menu 07 - charge mert initial 4.6.8 menu 08 - état du poèle 4.6.9 menu 09 - réglages du technicien
4.7 Télécommande 4.7.1 Remplacement de la pile 4.8 Thermostat - chronothermostat externe 4.9 Période d'inactivité (fin de saison)
5 Nettoyage du poêle
5.1 Nettoyage du brasier 5.1 Nettoyage du cendrier 5.2 Nettoyage de la vitre et des fentes d'aération 5.3 Nettoyage de l'extracteur de fumée et de la chambre de combustion 5.4 Nettoyage du tuyau d'aspiration d'air 5.5 Nettoyage des carreaux céramiques 5.6 Nettoyage du conduit de raccordement - conduit de fumée
6 Entretien
6.1 Introduction 6.2 Dépose de l'habillage 6.3 Composants internes du poêle 6.4 Composants électriques
7 Recherche des PANNES
7.1 Gestion des alarmes
8 Annexes
8.1 Informations relatives au marquage CE
1.1 Introduction
Nous vous remercions de la confiance que vous nous avez accordée en achetant ce produit. Nous vous invitons à lire et à suivre attentivement les conseils fournis par ce manuel d'installation, d'utilisation et d'entretien pour exploiter au mieux les qualités de cet appareil.
Tous les documents concernant les certifications ou les déclarations de l'appareil, notamment la déclaration CE de conformité et la déclaration des performances, peuvent être consultés sur le site web de la marque commerciale d'appartenance.
1.2 Comment utiliser ce manuel
La société COLA s. r. l. se réserve d'apporter des modifications techniques ou esthétiques à ses produits à n'importe quel moment et sans préavis.
Les opérations d'installation, d'utilisation et d'entretien du poêle doivent satisfaire les exigences de ce manuel, des normes européennes, nationales et locales.
Tous les configurations, les dessins, les mesures et les schémas sont fournis à titre d'exemple.
Ce manuel constitue une partie intégrante et essentielle du produit ; si l'appareil doit être vendu ou transféré à un autre propriétaire ou s'il doit être installé à un autre endroit, s'assurer que le manuel accompagne l'appareil afin qu'il puisse être consulté ultérieurement à tout moment.
En cas de perte ou de déterioration de ce manuel, demander une copie de celui-ci au centre d'assistance technique autorisé afin qu'il reste toujours avec l'appareil.
| ! | Ce symbole indique la présence d'un message important auquel préter une attention particulière car la non observation des instructions peut entraîrner de sérieux dommages au poège et aux personnes |
| Une information nécessitant une attention particulière est mise en évidence par un texte écrit en «caractères gras». |
1.3 Règles de sécurité
Lire attentivement ce manuel avant l'installation, l'utilisation et l'entretien du poèle Pour l'installation, le branchement électrique, la mise à l'essai et l'entretien, vous adresser à un technicien qualifié et/ou agrée. Raccorder le poèle au conduit de fumée à l'aide d'un terminal qui puisse être inspecté; le raccordement à plusieurs apparèils peut se faire uniquement dans le respect des normes locales et autorisé par l'organisme de contrôle du conduit de fumée. Raccorder le poele, de I'extérieur à la bouche d'aspiration, à l'aide d'un tuyau ou d'une prise d'air. - Raccorder le poèle à une prise de courant homologuée de 230 V- 50 Hz. Vérifier que l'installation électrique et les prises soient en mesure de supporter l'absorption maximum de l'appareil figurant sur l'étiquette et sur le manuel. Avant de proceder aux operations d'entretien, debrancher le poèle et attendre qu'il soit froid. - Ne pas utiliser de liquides ou substance inflammables pour allumer le poèle ou raviver la flamme : l'embrasement des granulés se fait automatiquement lorsque le poèle est allumé. Le poèle doit être alimenté exclusivement par des granulés dont les caractéristiques sont décrites dans ce manuel. - Le poèle à granulés ne doit pas être utilisé comme incinérateur. - Ne jamais obstruer les bouches d'entrée de l'air comburant et de sortie des fumées. Il est absolument interdit de manipuler des substances facilement inflammbles ou explosives a proximite du poelé pendant son fonctionnement. - Ne pas déposer ou modifier la grille de protection du réservoir à granulés et, d'une manière générale, les dispositifs de sécurité. - Éviter le fonctionnement du poèle avec la porte du foyer ouverte et/ou la vitre en mauvais état ou brisée. - Pendant le fonctionnement, la chaleur dégagée par la combustion des granulés surchauffe les surfaces extérieures du poèle telles que la porte du foyer, la poignée et le tuyau d'évacuation des fumées. Éviter donc d'entrer en contact avec ces parties sans porter des protections déquates. Toujours tenir a une distance de sécurité suffisante tous les objets sensibles à la chaleur et/ou inflammables. - Nettoyer régulièrement le foyer à chaque allumage ou chargement de granulés. - Faire nettoyer regulierement le conduit et les deflecteurs de fumee à l'intérieur de la chambre de combustion par un technicien qualifié. - Éviter la formation de fumée ou d'imbrûés pendant l'allumage et/ou le fonctionnement normal, l'accumulation excessive de granulés imbrûés dans le brasier doit être retiree manuellement avant tout allumage. - Informer les enfants et les visiteurs des dangers décrits ci-dessus. En cas d'anomalie de fonctionnement, le poèle peut etre rallumé seulement apres avoir rétabli la cause de l'inconvénient. Toute modification ou adaptation non prévue et/ou tout remplacement non autorisé de pieces non originales du poèle peut représenter un danger pour les personnes et dégage le constructeur de toute responsabilité civile et PENALE. - N'utiliser que des pieces de rechange d'origine.

La société Cola s. r. l. décline toute responsabilité pour les inconvénients, les ruptures ou les accidents causés par l'inobservation ou l'inapplication des indications contenues dans ce manuel.
Le poèle fonctionne exclusivement à granulés et propage une chaleur saine et rassurante dans la pièce. Les systèmes de contrôle automatiques dont il est pourvu assurent un rendement thermique optimal et une combustion complète. Des systèmes de sécurité garantissant des conditions de sécurité pour l'utilisateur et la fiabilité des composants du poèle.
Si le poêle est installé conformément aux textes réglementaires et règles de l'art en vigueur, il fonctionnera dans n'importe quelles conditions climatiques extérieures, mêmes critiques (vent fort, gel, etc.), car les systèmes de sécurité dont il est équipé arrêtent son fonctionnement (extinction).
Le poèle à bois mod. SABINA, d'une puissance nominale de 12,83 kW, peut chauffer un volume total de 293 m3, en considérant le coefficient de besoin en énergie de l'édifice équivalent à 35 W/m3, ce dernier pouvant varier en fonction de l'isolement, du type et de la zone climatique qui sont les facteurs importants pour le choix correct de l'appareil.
| TypeType | Appareils de chauffage domestique, sans eau, nours de granulés de boisResidential space heating appliance without water fired by wood pellets | |
| Marque de commerceTrademark | COLA | |
| Modèle - CodeModel - Code | SABINA - LA13S00Y | |
| Carburant **Fuel | Granules de bois / Wood pelletUNI EN14961-2 classe A1 | |
| Distance min des matériaux inflammables: Arrière - Droite / Gauche - Étageminimum distance from combustible materials Rear-Right/left side-floor | mm | 200 - 300 - 0 |
| Puisance thermique introduct *Heating input | kW | 14,38 - 3,85 |
| Puisance thermique utile *Water heating output | kW | 12,83 - 3,66 |
| Puisance thermique de production H2OPotenza termica all'acqua | kW | - |
| Puisance thermique pour réchauffer l'airPotenza termica all'aria | kW | 12,83 - 3,66 |
| Rendement thermique *Efficiency | % | 89,25 - 95,00 |
| Consommation horarie */*Fuel consumption | kg/h | 3,04 - 0,81 |
| Emissions CO à 13% O2*Emission CO at reference 13% | %mg/m3 | 0,01 - 0,01164,8 - 79,6 |
| Emissions CnHm à 13% O2*Emission CnHm at reference 13% O2 | mg/m3 | 1,9 - 1,4 |
| Emissions NOx à 13% O2*Emission NOx at reference 13% O2 | mg/m3 | 99,8 - 91,4 |
| Emissions de poussières PP à 13% O2*Emission dust PP at reference 13% O2 | mg/m3 | 8 - / |
| Totale des émissions de particules PPBT à 13% O2*Total dust emission PPBT at ref. 13% O2 | mg/m3 | 8,80 - / |
| Température max de l'eau reglableSet max temp. | °C | - |
| Pression max acqua d'utilisationMax working pressure | bar | - |
| Capacité de la chambre de combustionHeating chambre capacity | I | - |
| Capacité du réservoir à granulésPellet stove capacity | kg | 20 |
| Perte de charge sur le coté ΔT 10KWater resistance ΔT 10K | % | - |
| Perte de charge sur le coté ΔT 20KWater resistance ΔT 20K | % | - |
| Température de fumée *Fume outlet temperature | °C | 202,5 - 86,7 |
| Débit gaz de combustion *Flue gas flow | g/s | 7,7 - 2,7 |
| Tirage fumée min-maxDraught min-max | Pa(mbar) | 10 - 140,10 - 0,14 |
| Tuyau d'évacuation des fuméesFume outlet pipe | mm | 80 |
| Alimentation électriqueElectrical power | 230V - 50Hz - 6A | |
| Consommation électriqueRated input power | W | Alumage/Start 420 - Pnom 140 |
| Dimensions H x L x PDimensions H x L x P | mm | 958 x 629 x 527 |
| PoidsWeight | kg | 110 |
- à puissance nominale et de faible puissance / Nominal output and Reduced output ** La consommation de granulés peut varier selon le type de pellet utilisé / Pellet consumption can vary according to the type of pellets used.



Dimensions du poêle à granulés SABINA
Légende :
A - Grilles de passage d'air B - Connexion du câble électrique C - Aspiration d'air comburant diam. 50 mm D - Raccordement tuyau d'évacuation des fumées, diam. 80 mm E - Couvercle de réserve à granulés

1.5 Combustible et usage prévu
Les poêles à granulés fonctionnent exclusivement avec des granulés (pastilles) d'essences de bois différentes, conformément à la norme DIN plus 51731 ou UNI CEN/TS 14961 ou Ö-Norm M 7135, ayant les caractéristiques suivantes :
Pourvoir calorifique : min. 4,8 kWh/kg (4180 kcal/kg)
Densité : 680-720 kg/m3
Humidité : max. 10% de son poids
Diamètre : 6+0,5 mm
Taux de cendres : max. 1,5% de son poids
Longueur : min. 6 mm - max. 30 mm
Composition : 100% bois non traité de l'industrie du bois ou post-consommation sans adjonction de substances liantes et sans écorce conforme aux normes en vigueur
-Conditionnement : dans des sacs en matière compatible avec l'environnement ou biodégradable ou en papier
Le réservoir à granulés se trouve à l'arrière du poêle. Le couvercle du réservoir est placé dans la partie supérieure du poêle et le chargement se fait manuellement uniquement poêle éteint en faisant attention à ne pas faire sortir le sac de granulés.
L'utilisation de granulés de bois ayant des caractéristiques différentes de celles des granulés utilisés pour le test lors du premier allumage implique un nouvel ajustement des paramètres de chargement des granulés dans le poêle. Noter que cette intervention n'est pas couverte par la garantie.

- Les granulés doivent être stockés dans un lieu sec et protégé contre l'humidité.
- En vue d'un fonctionnement efficace et régulier du poêle, il n'est pas possible de charger manuellement les granulés ou d'autres combustibles dans le foyer.
- Éviter le chargement de combustibles non conformes dans le réservoir.
- Eviter le chargement de corps étrangers, tels que récipients, boîtes, sachets, métaux etc., dans le réservoir.
L'utilisation de granulés de qualité médiocre et non conforme détériore et compromet le bon fonctionnement du poêle, ce qui entraîne l'annulation de la garantie et dégage le constructeur de toute responsabilité.
1.6 Accessoires fournis
La fourniture comprend :
cable d'alimentation électrique;
manuel d'installation, utilisation et entretien;
clé d'ouverture - de fermeture porte de foyer
telecommande.
1.7 Normes de référence
Norme UNI 10683:2012 :
Elle fixe les exigences essentielles concernant l'installation des générateurs de chaleur à bois ou à autres biocombustibles solides;
Norme UNI EN14785:2006 :
Elle fixe les exigences essentielles relatives à la conception, à la fabrication, à la sécurité, aux performances (rendement et émissions), aux instructions et aux marquages, ainsi qu'aux méthodes d'essai correspondantes pour les essais de type d'appareils fonctionnant aux granulés de bois;
Norme CEI EN 60335-1 : Appareils électrodomestiques et analogues - Sécurité - Partie 1;
Norme CEI EN 60335-2-102 : Appareils électrodomestiques et analogues - Sécurité - Partie 2;
Norme CEI EN 55014-1: Compatibilité électromagnétique - Exigences pour les appareils
électrodomestiques, outillages électriques et appareils analogues - Partie 1 : Émission;
Norme CEI EN 55014-2 : Compatibilité électromagnétique - Exigences pour les appareils
électrodomestiques, outillages électriques et appareils analogues - Partie 2 : Immunité ; Norme famille de produits ;
Norme CEI EN 61000-3-2 : Limites pour les émissions de courant harmonique (courant appelé par les)
appareils inférieur ou égal à 16 A par phase);
Norme CEI EN 61000-3-3: Limitation des variations de tension, des fluctuations de tension et du papillotement dans les réseaux publics d'alimentation, pour les matériels ayant un courant assigné inférieur ou égal à 16 A par phase et non soumis à un raccordement conditionnel;
Méthodes de mesure des champs électromagnétiques des appareils électrodomestiques et similaires en relation avec l'exposition humaine.
Normes DIN 51731 - UNI CEN/TS 14961 - Ö-Norm M 7135 : Normes relatives aux spécifications et à la classification des granulés de bois.
1.8 Plaque d'identification
La plaque d'identification est fixée sur le dessous du couvercle du réservoir à granulés ou à l'arrière du poêle. Sur la plaque d'identification sont portées toutes les caractéristiques du poêle, y compris les coordonnées du fabricant, le numéro de série (ou de fabrication), le marquage CE, le laboratoire d'essai et le numéro de référence de la déclaration des performances.
1.9 Mise hors service du poêle
À partir du moment où le poêle n'est définitivement plus utilisé, débrancher l'alimentation électrique et vider complètement le réservoir à granulés. Pour procéder à l'évacuation du poêle, il est nécessaire de prévoir un emballage solide et adapté. Il faut ensuite contacter les organismes locaux afin de connaître les règles et normes en vigueur pour l'évacuation du matériel, ou restituer au revendeur du nouveau produit similaire, l'appareil usagé.
1.10 Demande d'intervention et de pièces détachées
Pour toute commande d'intervention et/ou de pièces détachées, contacter son revendeur, le revendeur de zone ou le centre d'assistance agréé le plus proche, en précisant toujours : modèle du poêle, numéro de série, date d'achat, liste des pièces de rechange, les anomalies de fonctionnement constatées.

- Les interventions sur les composants doivent être effectuées par un personnel agréé et/ou qualifié.
- Avant de procéder aux opérations, s'assurer que toutes les connexions électriques sont débranchées et que le poêle est froid. N'utiliser que des pièces de rechange d'origine.
2 Transport et installation
Le poêle peut être soulevé à l'aide d'un chariot élévateur en introduisant les fourches d'une longueur ADÉQUATE aux endroits prévus à cet effet sur la palette en bois. S'assurer que la capacité des appareils utilisés pour le levage et le transport est suffisante pour supporter le poids du poêle indiqué sur la plaque d'identification et dans ce manuel.
Éviter de passer dans des zones où la chute de la charge pourrait représenter un danger.
Ouvrir l'emballage, retirer le poèle de la palette et le poser à l'endroit choisi en veillant à sa conformité avec la commande.
Il est recommandé de poser délicatement le poèle au sol pour éviter tout choc événuel, et de l'installer dans la zone prévue ; s'assurer également que le plancher est assez solide pour supporter le poids du poèle ; dans le cas contraire, consulter un technicien spécialisé.
L’élimination ou le recyclage de l’emballage est à la charge de l’utilisateur final en conformité avec la réglementation locale en vigueur.
2.2 Lieu d'installation, mise en place et sécurité anti-incendie
La pièce dans laquelle le poêle est installé doit être suffisamment aérée pour assurer une bonne évacuation en cas de fuite eventuelle de fumée de combustion.
L'appareil peut fonctionner dans une habitation ayant une température minimale de 0°C.
Pour éviter tout risque d'incendie, protéger les structures autour du poêlé de la chaleur.
Une plaque de sol en acier ou en verre trempé doit être prévue pour protéger les parquets ou autres planchers en matière inflammable (moquette, linoluum, etc.) et doit respecter les distances réglementaires autour du poêle.
Si le conduit de fumée doit traverser des plafonds ou des poutres de bois ou de tout autre matière combustible, celui-ci doit être dûment isolé selon la réglementation encadrant l'installation du poêle à granulés.
La distance minimale de sécurité devant le poêle pour les objets inflammables est de 1,5 m. Les distances minimales de sécurité par rapport aux matériaux combustibles doivent correspondre à l'écart au feu indiqué dans le tableau ci-après :

Chaque installation doit prévoir un espace technique facilement accessible pour effectuer les opérations d'entretien périodiques.
Le poêle est doté de 4 pieds réglables pour faciliter sa mise en place sur des sols irréguliers. Pour régler la hauteur du pied, incliner le poêle et tourner le pied jusqu'à obtenir la juste hauteur.
Le poêle est fourni avec une sonde d'ambiance fixée par un collier sur la paroi arrière du poêle.
Nous conseillons son déplacement afin d'améliorer la lecture de la température ambiente. La longueur du câble de la sonde permet de la déplacer et de la positionner plus haut.
Pour optimiser la lecture de la température ambiante, nous conseillons l'installation d'un thermostat ou appareil d'ambiance - cf. paragraphe 4.8.

Il est interdit d'installer le poèle dans les chambres à coucher, les salles de bain et, d'une manière générale, dans des locaux où est déjà installé un autre appareil de chauffage sans une apport d'air indépendante. - En cas d'installation du poèle sur un parquet (moquette ou linoleum), prévoir une plaque de sol conformément aux prescriptions du DTU en vigueur. - Il est toujours conseillé d'installer des équipements anti-incendie appropriés. - Il est interdit d'installer le poèle dans des ambiances explosives.
2.3 Prise d'air
Le raccordement d'aspiration ou la prise d'air du poêle se trouve à l'arrière de celui-ci et a une section circulaire de 50 mm de diamètre.
La quantité d'air qui doit affluer dans le local d'installation du poèle doit être au moins égale au besoin d'air nécessaire à la combustion ; par conséquent, l'air de combustion nécessaire à garantir le fonctionnement régulier de l'appareil doit être prélevé :
dans la pièce ou le local, à condition qu'il y ait une prise d'air ayant une surface minimum de 100 cm² à proximité du poêle et communiquant avec l'extérieur, protégée par une grille extérieure; directement à l'extérieur par tuyau d'un diamètre intérieur minimum de 50 mm et d'une longueur maximale de 1,5 m muni d'un terminal de protection anti-vent (coude orienté vers le bas).
Le flux d'air peut provenir aussi d'un local adjacent à celui d'installation pour autant que cette amenée puisse se faire librement à travers des ouvertures permanentes communiquant avec l'extérieur ; ce local ne peut pas être destiné à être utilisé comme garage ni comme magasin de matériaux combustibles ou pour des activités des risques d'incendie.
2.4 Évacuation des fumées de combustion
Les fumées peuvent être évacuées par un conduit de fumée traditionnel ou par un conduit extérieur isolé ou à double paroi.
Les conduits de raccordement doivent garantir un tirage minimum de 10 Pa de manière à pouvoir assurer l'évacuation des fumées en cas de coupure de courant momentanée.

Il est recommandé à l'installateur de vérifier l'efficacité et l'état de la cheminée, ainsi que la conformité à la réglementation locale, nationale et européenne en vigueur. - Utiliser impérativement des tuyaux ou conduits et raccords certifiés avec des joints adéquats qui garantissent l'étanchéité. - En cas d'incendie, éteindre le poêle, appeler immédiatement les pompiers et éviter toutes tentatives répétées d'extinction du poêle. - Nettoyer au moins une fois par an le conduit de fumée et le conduit de raccordement.
2.4.1 Types d'installations
Voici quelques définitions et règles d'installation d'un conduit de fumée selon la norme italienne UN10683 : CONDUIT DE CHEMINEE : conduit vertical destiné à collecter et à évacuer à une certaine hauteur du sol les produits
de combustion provenant d'un seul appareil et, dans les cas autorisés, de plusieurs appareils.
Prescriptions techniques du CONDUIT DE CHEMINEE : - il doit être étanche, isolé et calorifugé en fonction de l'usage auquel il est destiné; - il doit être le plus droit possible avec des déviements dont l'angle de ceux-ci avec la verticale doit être < 45^; - respecter une distance de sécurité minimale ("écart de feu") avec les matériaux combustibles de la construction par interposition d'une lame d'air ou doublage avec des matériaux isolants; - il doit avoir de préférence une section interne circulaire, uniforme sur toute sa hauteur, libre et indépendante; - il doit si possible composer une chambre de visite pour collecter les matières solides (suies) et les condensats éventuels, située à l'embouchure du conduit de raccordement ou carneau.
CARNEAU ou CONDUIT DE RACCORDEMENT : conduit ou élément de raccordement entre l'appareil et le conduit de fumée, pour l'évacuation des produits de combustion.

Prescriptions techniques du carneau :
- Il ne doit pas traverser des locaux où l'installation d'appareils de combustion est interdite;
- l'usage de conduits métalliques flexibles ou en fibrociment est interdit;
- l'utilisation d'élement à contre-pente est interdite;
- le(s) tronçon(s) horizontal(aux) du conduit doit(doivent) avoir une pente minimale de 3% vers le haut;
- la longueur du tronçon ne doit pas dépasser 3 m;
- le nombre de dévoiements admis, sans raccord en T, ne doit pas être supérieur à 3;
- en cas de dévoiement >90^, prévoir le montage de 2 coudes maximum d'une allure horizontalement ne dépassant pas 2m;
- le conduit de raccordement doit avoir une section uniforme sur toute la longueur et permettre de récapituler la suite.
SOUCHE DE CHEMINEE (appelée aussi SORTIE DE TOIT) : élément placé au sommet du conduit de fumée ou de cheminée (sa partie extérieure) servant à évacuer dans l'atmosphère les produits de combustion.
Prescriptions techniques de la SOUCHE DE CHEMINEE : - elle doit avoir une section équivalente à celle du conduit de fumée;
- elle doit avoir une section utile non inférieure au double de la section intérieure du conduit de fumée;
- elle doit empêcher la pénetration de la pluie, de la neige et/ou d'autres corps étrangers dans le conduit de fumée et garantir en toutes conditions climatiques l'évacuation des produits de combustions (les fumées);
- elle doit pouvoir assurer une dilution adéquate des produits et être positionnée en dehors de la zone de reflux;
- elle ne doit pas comporter de moyens mécaniques d'aspiration.

L'évacuation directe des produits de combustion doit être prévue en toiture et reste interdite vers des espaces clos, même si à ciel ouvert.
2.5 Contrôle de la position du brasier et du déflecteur
Avant d'allumer le poèle, contrôlez que le brasier soit correctement encastré sur son support. Contrôlez également que le déflecteur de fumées supérieur soit encastré dans son logement. Une position incorrecte du déflecteur entraîne des anomalies de fonctionnement et un noircissement excessif de la vitre.

Lors de chaque allumage de l'appareil, contrôler la position correcte du brasier sur son support.
2.6 Branchement électrique
Brancher le câble d'alimentation électrique d'une part à la prise arrêté du poêle et, d'autre part, à une prise électrique murale.
La tension de l'installation doit correspondre à celle indiquée sur la plaque d'identification du poêle et dans le paragraphe des données techniques de ce manuel.
Pendant la période d'inutilisation du poêle, il est préférable de débrancher son câble d'alimentation.

S'assurer que l'installation électrique est réalisée avec une connexion de mise à la terre du poèle et un interrupteur différentiel conformément aux textes réglementaires et règles de l'art en vigueur.
Le câble d'alimentation ne doit jamais entrer en contact avec le conduit d'évacuation des fumées du poêle.

2.8 Première intervention
Il est toujours conseillé d'installer des équipements anti-incendie appropriés.
En cas d'incendie :

- Débrancher immédiatement le câble d'alimentation du poêle.
- Éteindre le feu avec des extincteurs conformes à la réglementation en vigueur.
- Appeler immédiatement les sapeurs-pompiers.
- Ne pas utiliser de jets d'eau pour éteindre le feu.
3.1 Distance de sécurité par rapport aux matériaux combustibles
Installer l'appareil à une distance de sécurité minimale par rapport à tout matériel inflammable, afin d'éviter tout risque d'incendie conformément aux indications figurant sur la fiche technique du manuel et sur la plaque de l'appareil.
Faire attention au type de sol : en cas de matériaux délicats et inflammables, il est recommandé d'utiliser des plaques de sol en acier ou en verre trempé comme base d'appui (voir chapitre 2 Transport et Installation). En présence d'objets considérés comme particulièrement délicats, tels que meubles, rideaux, divans, installer le poêle à une distance plus éloignée de ceux-ci.
3.2 Sécurité pour l'évacuation des fumées
Normalement, la chambre de combustion fonctionne en dépression et garantit l'étanchéité contre toute fuite de gaz dans l'environnement. En cas de valeur de dépression insuffisante ou de conduit de fumée obstrué, le vacuostat de sécurité détecte le manque de dépression à l'intérieur de la chambre de combustion, ou le débitmètre décèle l'absence de flux d'air comburant, et arrête le fonctionnement du moteur de rotation de la vis sans fin par l'intermédiaire de l'unité. Le message 'AL8 MANQUE DÉPRESSION' ou 'AL9 TIRAGE INSUFF' s'affichera alors sur le tableau de commande.
3.3 Sécurité en cas de surpression dans la chambre de combustion
En cas de suppression inattendue des fumées de combustion à l'intérieur de la chambre et des conduits d'évacuation, les fumées seront évacuées à travers des soupapes de sûreté installées au-dessus de l'échangeur de chaleur. Durant le fonctionnement normal, ces soupapes restent fermées sous leur propre poids et sous l'effet de la dépression de la chambre de combustion de sorte à garantir l'étanchéité contre l'évacuation eventuelle des fumées.

Contrôler régulièrement que le dispositif est fermé, qu'il est en bon état et qu'il fonctionne correctement.
3.4 Surchauffe - thermostat de sécurité température réservoir granulés

Une sonde de température sur la paroi avant du réservoir, au-dessus du convoyeur des granulés, reliée à un thermostat de sécurité bloque automatiquement l'arrivée des granulés en cas de surchauffe >85^. Dans ce cas, l'extracteur et/ou les ventilateurs continuent à fonctionner pour refroidir plus rapidement l'appareil. L'anomalie est affichée sur le tableau de commande par le message 'AL 7 SÉCURITÉ-THERMIQUE'. En cas d'intervention, procéder comme suit :
Laisser refroidir le poèle pendant au moins 45 minutes.
Réarmer le thermostat en appuyant sur le bouton proche de l'interrupteur derrière le poèle, en dévissant au préalable le couvercle de protection (figure ci-contre).
Rallumer le poêle normalement.
3.5 Sécurité contre le retour de flamme sur le canal d'alimentation en granulés
Les solutions pour empêcher le retour de flamme sont :
dépression dans la chambre de combustion, voir § 3.2 La forme en siphon du canal d'alimentation des granulés. La sécurité sur la température du réservoir, voir § 3.4.
3.6 Dispositif électrique de protection contre les surtensions
L'appareil est protégé contre les surtensions par un(des) fusible(s) de 2 A sur l'alimentation de l'interrupteur général du poêle situé à l'arrière de celui-ci.
3.7 Sécurité en cas de coupure de courant
En cas de micro-coupures de courant, l'appareil se rallume automatiquement.
Une coupure de courant momentanée ne limite pas le niveau de sécurité du poêle et la température du réservoir n'atteint pas des valeurs tropicales (< 85^), car la quantité de granulés dans le brasier est réduite. Cette anomalie peut entraîner une légère fuite de fumées dans la pièce, mais ne comporte aucun risque.

Il est interdit d'intervenir sur les dispositifs de sécurité.
3.8 Dysfonctionnement du ventilateur d'extraction des fumées
Si pour une raison quelconque le ventilateur d'extraction des fumées s'arrête de fonctionner, l'électronique de commande bloque instantanément l'alimentation des granulés et affiche le message 'AL4 ASPIRATION-DEFAILLANT'
4.1 Introduction
Le poêle à granulés offre l'avantage de combiner la chaleur de la flamme du bois et la commodité de la gestion automatique de la température, avec la possibilité de programmer hebdomadairement l'allumage et l'extinction.
Il est possible d'effectuer le branchement à un thermostat et/ou chronothermostat externe pour mesurer la température en un endroit différent de celui d'installation du poêle.
Pour une utilisation sûre et fiable du poêle, respecter les points suivants :
- Il est possible de sentir de mauvaises odeurs lors de la première mise en service. Par conséquent, aérer correctement la pièce pendant la première période de fonctionnement;
- Le remplissage du réservoir doit se faire exclusivement avec des granulés. Pendant cette opération, éviter que le sac entre en contact avec les surfaces chaudes du poêle;
- ne pas introduire dans le réservoir d'autres types de combustible que les granulés conformes aux prescriptions;
- ne pas utiliser le poèle comme incinérateur de déchets;
- La porte du foyer doit toujours être fermée quand le poêle est allumé;
- Les joints de la porte du foyer doivent être contrôlés régulièrement pour éviter toute infiltration d'air;
- le poêle doit toujours être propre pour garantir un bon fonctionnement et un rendement thermique efficace : nettoyer le brasier à chaque chargement de granulés;
- Il est important au premier allumage de ne pas surchauffer le poèle, mais de le faire monter progressivement en température en programmant des températures de fonctionnement basses (voir paragraphe programmation des températures) ; pendant l'allumage, le fonctionnement et l'extinction, le poèle peut émettre des cliquetis à cause de la dilatation thermique.
4.2 Description du tableau de commande
Le tableau de commande comprend un écran LCD rétro-éclairé, une touche d'allumage/extinction (marche/arrêt) 'P4', une touche de fonction SET/MENU 'P3', quatre touches de menu 'P1', 'P2', 'P5', 'P6' et 7 LED de signalisation de l'état de fonctionnement du poêle.

Le tableau permet l'allumage et l'extinction (la marche/l'arrêt) du poèle, la régulation pendant le fonctionnement et le paramétrage des programmes de gestion et d'entretien.
Sur l'écran sont affichées toutes les informations sur l'état de fonctionnement du poêle.
Pour accéder au menu :
- appuyer sur la touche CONSIGNE (SET) 'P3';
- appuyer plusieurs fois sur les touches 'P5', 'P6' pour dérouler les menus;
- appuyer sur une des touches d'augmentation/diminution 'P1', 'P2', pour ajuster le paramètre désiré;
- appuyer sur la touche CONSIGNE (SET) 'P3' pour confirmer la valeur du paramètre.
Une fois rendu dans le menu, il est possible d'obtenir les différentes options de visualisation et d'effectuer les paramétrages et/ou réglages disponibles selon le niveau d'accès.
Le tableau ci-après indique les commandes et les messages correspondants affichés pendant la phase de programmation ou pré-sélection des paramètres de fonctionnement :
| Bouton | Description Modalité Action | ||
| 1 | Augmentation de la température | PROGRAMMATION | Modifie/augmente la valeur de menu sélectionnée |
| FONCTIONNEMENT/OFF | Augmente la valeur de la température du thermostat d'ambiance | ||
| 2 | Diminution de la température | PROGRAMMATION | Modifie/diminue la valeur de menu sélectionné |
| FONCTIONNEMENT/OFF | Diminue la valeur de la température du thermostat d'ambiance | ||
| 3 | Réglage/menu | - | Permet d'accéder au menu |
| MENÛ | Permet d'accéder au niveau de sous-menu suivant | ||
| PROGRAMMATION | Permet d'accéder au niveau de sous-menu suivant | ||
| 4 | ON/OFF déblocage | FONCTIONNEMENT | Allume ou étéint le poële si pressé pendant 2 secondes selon que celui-ci est respectivement étéint ou allumé |
| BLOCAGE | Débloque le poële et le remet dans son état étéint | ||
| PROGRAMMATION | Se met au niveau de menu supérieur. Les modifications sont mémorisées | ||
| 5 | Diminution de la puissance | FONCTIONNEMENT/OFF | Modifie la puissance rendue du poële |
| MENÛ | Fait passer à l'options de menu suivante | ||
| PROGRAMMATION | Revent à l'options de sous-menu suivant. Les modifications sont mémorisées | ||
| 6 | Augmentation de la puissance | FONCTIONNEMENT/OFF | Modifie la vitesse de l'échangeur |
| MENÛ | Fait passer à l'options de menu précédente | ||
| PROGRAMMATION | Fait passer à l'options de sous-menu précédent. Les modifications sont mémorisées |
La figure ci-contre fournit l'explication des indicateurs d'état sur la partie gauche de l'écran.
L'activation, à l'écran, d'un des segments signale la mise en service du dispositif correspondant, suivant la liste ci-contre.

4.3.1 Contrôle avant l'allumage
Avant d'allumer le poèle, il faut :
- s'assurer d'avoir bien lu et compris les indications continues dans le manuel;
- s'assurer que le réservoir à granulés est rempli;
- s'assurer que le chambre de combustion est propre;
- s'assurer que le brasier est totalement libre, propre (sans dépôts) et correctement en place;
- vérifier la fermeture hermétique de la porte de foyer et du brûleur;
- vérifier le branchement du câble électrique et la commutation ON/1 de l'interrupteur monté à l'arrière du poêle.

- À la première mise en service, enlever du foyer et de la vitre de foyer toutes les choses qui pourraient brûler (instructions/étiquette).
- Les allumages éventuels après de longues périodes d'inactivité du poêle ne doivent s'effectuer qu'après avoir enlevé les résidus de granulés restés dans le fond du réservoir, car ils ne s'enflammeraient plus (trop humides), et un nettoyage complet de la chambre de combustion.
4.3.2 Mise en marche
Pour allumer le poèle, appuyer sur le bouton 'P4' pendant 3 secondes : sur l'écran apparaitra l'indication 'START'. Cette phase est automatique et est complètement générée par l'électronique de commande. Il n'est pas possible ici d'intervenir sur les paramètres.

Le poèle exécute successivement les phases de mise en route selon les paramétrages définis qui en gérent les niveaux et les temps d'exécution, jusqu'à l'obtention du régime normal à moins que ne surviennent des anomalies ou ne se déclenchent des alarmes, selon le tableau suivant :
| État Durée Dispos | sitifs Condi | ions pour passer à l'état suivant | ||||
| Allumeur Asp. fumées | Vis sans fin | Échang. | ||||
| ÊTEINT | - | OFF | OFF | OFF | OFF | ON/OFF |
| START - PRÉCHAUF. | Pr33 | OFF | ON | OFF | OFF | Après un laps de temps de Pr33 |
| PRÉCHAUFFAGE | Pr34 | ON | ON | OFF | OFF | Après un laps de temps de Pr34 |
| RECHARGEMENT DES GRANULES | Pr40 | ON | ON | ON | OFF | Après un laps de temps de Pr40 |
| ATTENTE FLAMME | Pr41 | ON | ON | OFF | OFF | Après un laps de temps de Pr41 |
| CHARGEMENT DES GRANULES | - | ON | ON | ON | OFF | Après un laps de temps de Pr13 |
| FEU PRÉSENT | Pr02 | OFF | ON | ON | ON | Après un laps de temps de Pr02 |
| FONCTIONNEMENT | - | OFF | ON | ON | ON | Température ambiente < CONSIGNÉ température Température des fumées < Pr14 |
| FONCTIONNEMENT MODULE | - | OFF | ON | ON | ON | Température ambiente < CONSIGNÉ température Température des fumées < Pr14 |
| NETTOYAGE DU BRASIER | Pr12 | OFF | ON | ON | ON | Avec une fréquence Pr03 |
| FONCTIONNEMENT | - | OFF | ON | ON | ON | ON/OFF pour éteindre |
| NETTOYAGE FINAL | Pr39 (*) | OFF | ON | OFF | - | (*) Pr39 S'écoule à partir du moment où T. fumées. < Pr13 |
Passé un certain temps, si la température des fumées atteint la valeur min. admissible, le poèle se mettra en position d'alarme.

- Il est interdit d'utiliser des liquides inflammables pour l'allumage du poêle.
- En cas d'allumages manqués répétés, faire appel au SAV.
4.4 Fonctionnement
Après la phase de démarrage réussie, le poêle passé en mode 'FONCTIONNEMENT' qui représenté le régime normal.
L'utilisateur peut alors régler la puissance de chauffe par les boutons 'P6' et 'P5', de la valeur max. 5 à la valeur min. 1.

En plus de la régulation de la puissance, il est possible aussi de régler la température ambience directement sur le tableau de commande par les boutons 'P1' et 'P2' : sur l'écran apparaît alors l'état courant de la CONSIGNE (SET) de température.
Pour la ventilation de l'air chaud, le poêle régule automatiquement la vitesse en fonction de la puissance préréglée.


- Il est recommandé de contrôler le niveau des granulés dans la trémie, afin d'éviter que la flamme ne s'éteigne pour cause de manque de granulés.
- S'assurer que l'appareil est éteint pour effectuer le chargement des granulés.
- Le couvercle de la trémie (réservoir à granulés) doit toujours rester fermé. Il ne doit être ouvert que pour effectuer le chargement des granulés.
- Les sacs de granulés doivent être stockés à une distance d'au moins 1,5 m du poêle.
Lorsque la température des fumées arrive à la température maximum régée sur le tableau de commande, le message "MODULA F" apparait sur l'écran et le poèle active la procédure de modulation de flamme sans l'intervention de l'utilisateur. Si la température des fumées dépasse le 280°C, l'alarme « ALLARM HOT FUMI » apparait alors et le poèle active la procédure d'arrêt. Si le mode VEILLE (STAND-BY) est activé, le poèle s'éteint à retardement après avoir atteint la CONSIGNE (SET) de température. Le redémarrage ne se produit que lorsque la température ambiente sera inférieure à une certaine valeur prédéfinie par rapport à la température ambiente.

Pendant le fonctionnement normal, à intervalles prédéfinis, la modalité 'NETTOYAGE BRASIER' est activée pour une durée prédéfinie.

4.5 Extinction
Pour arrêter le fonctionnement du poèle, il suffit d'appuyer sur le bouton 'P4' pendant 2 secondes environ. La vis sans fin est immédiatement arrêtée et le fonctionnement de l'extracteur des fumées est amené à une vitesse élevée. Sur l'écran apparaitra alors le message 'NETTOYAGE FINAL' ; les deux moteurs d'aspiration des fumées et de ventilation de l'air fonctionneront jusqu'à ce que la température du poèle sera suffisamment BASSE.

Sur l'écran, dans la fenêtre de dialogue, apparaitra l'indication 'OFF' au terme de l'opération. Pendant la phase d'extinction, il n'est pas possible de remettre en marche le poèle jusqu'à ce que la température des fumées n'est pas descendue en dessous d'une valeur prédéterminée pour une durée prédéfinie. Dans la fenêtre de dialogue apparait alors l'indication 'ATTENTE REFROID'.
4.6 Menu
Appuyer sur la touche 'P3' (SET) pour entrer dans le menu qui propose différentes options et différents niveaux permettant d'accéder aux paramétrages de l'électronique de commande.
Le tableau ci-après résume la structure du menu avec les seules options disponibles pour l'utilisateur.
| Niveau 1 Niveau 2 | Niveau 3 | Niveau 4 | Valeur | |
| 01 - Réglage des ventilateurs | Sélectionner la valeur | |||
| 02 - réglage de l'horloge | 01 - jour Jour | |||
| 02 - heures Heures | ||||
| 03 - minutes Minutes | ||||
| 04 - jour Jour | ||||
| 05 - mois Mois | ||||
| 06 - année Année | ||||
| Niveau 1 Niveau 2 | Niveau 3 | Niveau 4 | Valeur | |
| 03 - réglage du chrono | ||||
| 01 - activation du chrono | ||||
| 01 - activation du chrono | on / off | |||
| 02 - program jour | ||||
| 01 - chrono jour on / off | ||||
| 02 - start 1 jour heures | ||||
| 03 - stop 1 jour heures | ||||
| 04 - start 2 jour heures | ||||
| 05 - stop 2 jour heures | ||||
| 03 - program semaine | ||||
| 01 - chrono semaine on / off | ||||
| 02 - start 1 jour heures | ||||
| 03 - stop 1 jour heures | ||||
| 04 - lundi prog 1 on / off | ||||
| 05 - mardi prog 1 on / off | ||||
| 06 - mercredi prog 1 | on / off | |||
| 07 - jeudi prog 1 on / off | ||||
| 08 - vendredi prog 1 | on / off | |||
| 09 - samedi prog 1 | on / off | |||
| 10 - dimanche prog 1 | on / off | |||
| 11 - start prog 2 | heure | |||
| 12 - stop prog 2 heures | ||||
| 13 - lundi prog 2 on / off | ||||
| 14 - mardi prog 2 on / off | ||||
| 15 - mercredi prog 2 | on / off | |||
| 16 - jeudi prog 2 on / off | ||||
| 17 - vendredi prog 2 | on / off | |||
| 18 - samedi prog 2 | on / off | |||
| 19 - dimanche prog 2 | on / off | |||
| 20 - start prog 3 | heure | |||
| 21 - stop prog 3 heures | ||||
| 22 - lundi prog 3 on / off | ||||
| 23 - mardi prog 3 on / off | ||||
| 24 - mercredi prog 3 | on / off | |||
| 25 - jeudi prog 3 on / off | ||||
| 26 - vendredi prog 3 | on / off | |||
| 27 - samedi prog 3 | on / off | |||
| 28 - dimanche prog 3 | on / off | |||
| 29 - start prog 4 | heure | |||
| 30 - stop prog 4 heures | ||||
| 31 - lundi prog 4 on / off | ||||
| 32 - mardi prog 4 on / off | ||||
| 33 - mercredi prog 4 | on / off | |||
| 34 - jeudi prog 4 on / off | ||||
| 35 - vendredi prog 4 | on / off | |||
| 36 - samedi prog 4 | on / off | |||
| 37 - dimanche prog 4 | on / off | |||
| 04 - program week-end | ||||
| 01 - chrono week-end | on / off | |||
| 02 - start 1 | ||||
| 03 - stop 1 | ||||
| 04 - start 2 | ||||
| 05 - stop 2 | ||||
| Niveau 1 Niveau 2 | Niveau 3 | Niveau 4 | Valeur | |
| 04 -CHOIX DE LA LANGUE | ||||
| 01 - italien set | ||||
| 02 - français set | ||||
| 03 - anglais set | ||||
| 04 - allemand set | ||||
| 05 - mode veille (stand-by) | on / off | |||
| 06 - alarmé sonore (buzzzer) | on / off | |||
| 07 - chargement initial | set | |||
| 08- État du poège | - | |||
4.6.1 Menu 01 - réglage des ventilateurs
La vitesse des ventilateurs air est automatiquement asservie à la puissance régée. Si l'on souhaite diminuer le flux d'air chaud, il est possible de régler manuellement la vitesse maximale au travers du menu 01, en Choosing une valeur de 1 à 5 :
Par exemple: En réglant la vitesse 3, les ventilateurs augmenteront automatiquement la vitesse, mais sans dépasser la vitesse imposée « 3 »
Dans la version canalisable, le raccordement électrique est visualisable avec l'activation des deux segments/LED [B].
4.6.2 Menu 02 - réglage de l'horloge
Le régulateur électronique est équipé d'une batterie lithium mod. CR2032 de 3 Volt qui permet à l'horloge interne une autonomie propre ; si lorsque le poêle est arrêté, l'horloge ne maintient pas l'horaire ou au rallumage apparaît une série de zéros, il sera nécessaire de procéder à son remplacement en appelant le centre d'assistance agréé.
4.6.3 Menu 03 - activation du chrono
Permet d'activer et de désactiver toutes les fonctions du « Cronotermostat ». Avec la sélection ON, s'active la fonction et apparaît sur l'écran le segment/led [D].
Lorsqu'une programmation journalière, hebdomadaire ou weekend est insérée, l'écran laisse apparaître respectivement sur la partie supérieure droite le segment/led approprié [C].
Pour la sélection et la saisie des horaires, il faut agir sur six boutons, en suivant les indications du tableau § 4.2.
Aller dans le sous-menu : PROGRAM JOUR, pour activer, désactiver et préselectionner les fonctions du chronothermostat journalier.
Il est possible de régler deux phases de fonctionnement délimitées par les horaires prédéfinis selon le tableau suivant où le réglage OFF indique à l'horloge d'ignorer la commande.
| Sélection | Signification | Valeurs possibles |
| START 1 | Heure d'activation | ora - OFF |
| STOP 1 | Heure de désactivation | ora - OFF |
| START 2 | Heure d'activation | ora - OFF |
| STOP 2 | Heure de désactivation | ora - OFF |


Aller dans le sous-menu : PROGRAMME SEMAINE, pour activer, désactiver et présélectionner les fonctions du chronothermostat hebdomadaire.
Le programmeur hebdomadaire dispose de 4 programmes indépendants qui en fin de compte se traduisent par la combinaison des 4 programmes.
Le programmeur hebdomadaire peut être activé ou désactivé et, d'autre part, en mettant OFF dans le champ horaires, l'horloge ignorera la commande correspondante.

La programmation doit se faire avec grande attention.
Éviter de faire chevaucher les heures d'activation et/ou de désactivation dans le même jour au sein de différents programmes.

| PROGRAMME 1 | |||
| Niveau de menu | Sélection | Signification | Valeurs possibles |
| 03-03-02 | START PROG 1 | Heure d'activation | ora - OFF |
| 03-03-03 | STOP PROG 1 | Heure de désactivation | ora - OFF |
| 03-03-04 | LUNEDI PROG 1 | Jour de référence | on/off |
| 03-03-05 | MARTEDI PROG 1 | on/off | |
| 03-03-06 | MERCOLEDI PROG 1 | on/off | |
| 03-03-07 | GIOVEDI PROG 1 | on/off | |
| 03-03-08 | VENERDI PROG 1 | on/off | |
| 03-03-09 | SABATO PROG 1 | ou/off | |
| 03-03-10 | DOMENICA PROG 1 | on/off | |
| PROGRAMME 2 | |||
| Niveau de menu | Sélection | Signification | Valeurs possibles |
| 03-03-11 | START PROG 2 | Heure d'activation | ora - OFF |
| 03-03-12 | STOP PROG 2 | Heure de désactivation | ora - OFF |
| 03-03-13 | LUNEDI PROG 2 | Jour de référence | on/off |
| 03-03-14 | MARTEDI PROG 2 | on/off | |
| 03-03-15 | MERCOLEDI PROG 2 | on/off | |
| 03-03-16 | GIOVEDI PROG 2 | on/off | |
| 03-03-17 | VENERDI PROG 2 | on/off | |
| 03-03-18 | SABATO PROG 2 | on/off | |
| 03-03-19 | DOMENICA PROG 2 | on/off | |
| PROGRAMME 3 | |||
| Niveau de menu1 | Sélection | Signification | Valeurs possibles |
| 03-03-20 | START PROG 3 | Heure d'activation | cra - OFF |
| 03-03-21 | STOP PROG 3 | Heure de désactivation | cra - OFF |
| 03-03-22 | LUNEDI PROG 3 | Jour de déprécience | on/off |
| 03-03-23 | MARTEDI PROG 3 | on/off | |
| 03-03-24 | MERCOLEDI PROG 3 | on/off | |
| 03-03-25 | GIOVEDI PROG 3 | on/off | |
| 03-03-26 | VENERDI PROG 3 | on/off | |
| 03-03-27 | SABATO PROG 3 | on/off | |
| 03-03-28 | DOMENICA PROG 3 | on/off | |
| PROGRAMME 4 | |||
| Niveau de menu | Sélection | Signification | Valeurs possibles |
| 03-03-29 | START PROG 4 | Heure d'activation | ora - OFF |
| 03-03-30 | STOP PROG 4 | Heure de désactivation | ora - OFF |
| 03-03-31 | LUNEDI PROG 4 | Jour de référence | on/off |
| 03-03-32 | MARTEDI PROG 4 | on/off | |
| 03-03-33 | MERCOLEDI PROG 4 | on/off | |
| 03-03-34 | GIOVEDI PROG 4 | on/off | |
| 03-03-35 | VENERDI PROG 4 | on/off | |
| 03-03-36 | SABATO PROG 4 | on/off | |
| 03-03-37 | DOMENICA PROG 4 | on/off | |
Aller dans le sous-menu : PROGRAM WEEK-END, pour activer, désactiver et préselectionner les fonctions du chronothermostat pendant le week-end (fin de semaine : samedi - dimanche).

Activer la programmation WEEK-END uniquement après avoir désactivé la programmation hebdomadaire. Pour éviter des mises en marche et des extinctions du poêle non désirées, activer un seul programme à la fois. Désactiver le programme journalier si l'on souhaite utiliser le programme hebdomadaire; il est convenu dans ce cas de désactiver le programme week-end.
4.6.4 Menu 04 - choix de la langue
Cette option permet de sélectionner la langue de dialogue parmi celles proposées dans le menu, notamment :
-ITALIEN - FRANCAIS - ANGLAIS - ALLEMAND
4.6.5 Menu 05 - mode veille (stand-by)


La sélection du mode veille (STAND-BY _ ON sélectionne) provoque l'extinction immédiate du poèle lorsque la température ambiente ou la température de l'eau reste au-dessus de la température de consigne (SET) pour une durée prédéfinie.
Le rallumage successif en mode automatique ne sera possible que lorsque la température ambiente ou la température de l'eau descendra en dessous d'une valeur prédéfinie saisie dans le tableau des paramètres (2°C par défaut).
Les commandes manuelles effectuées en utilisant le tableau de commande ou la télécommande sont prioritaires par rapport à la programmation.
4.6.6 Menu 06 - alarmes sonores (buzzer)
Cette option permet d'activer ou de désactiver une signalisation sonore du poêle.
4.6.7 Menu 07 - chargement initial
La présélection de l'option CHARGE INITIAL permet d'effectuer un pré-chargement de granulés pour une durée de 90 s, le poêle étant éteint ou froid. Appuyer sur le bouton P1 pour démarrer le chargement et appuyer sur le bouton P4 pour l'interrompre.

4.6.8 Menu 08 - état du poêle
La sélection de cette option permet de visualiser l'état du poêle dans l'immédiat, en indiquant la condition de fonctionnement des dispositifs reliés à celui-ci ; des écrans sont ensuite successivement proposés pour le monitorage.
4.6.9 Menu 09 - réglages du technicien
La sélection de cette option est réservée uniquement au technicien agréé de l'assistance COLA.

La modification des paramètres techniques du menu 09 doit être effectuée par un professionnel agréé et compétent ; les modifications éventuelles faites de manière fortuite peuvent sérieusement endommager le poèle et dégage la société COLA de toute responsabilité.
4.7 Télécommande
La télécommande fonctionne avec les présélections ou pré-réglages du tableau de commande et permet l'allumage et l'extinction du poêle, ainsi que la régulation de la puissance et de la température désirée.
La télécommande transmet par une diode infrarouge et doit donc être dirigée vers le récepteur situé sur le tableau de commande du poêle.
La télécommande permet d'effectuer les opérations suivantes :

L: LED allumée après l'appui d'une touche quelconque
Touche P1+P6 : Allumage-extinction du poêle
Touche P1: Augmentation de la température ambience
Touche P6: Augmentation du niveau de puissance
Touche P5 : Diminution du niveau de puissance
Touche P2 : Diminution de la température ambiantе

4.7.1 Remplacement de la pile
La télécommande fonctionne avec une pile (non fournie) logée dans le compartiment à pile situé dans la partie inférieure de la télécommande. Pour la mise en place de la pile et son remplacement éventuel, procédez comme suit :
- Ouvrir le couvercle à l'arrière de la télécommande;
- Remplacer la pile P23GA de 12 V en respectant la polarité;
- Refermer le couvercle de la télécommande;
- Contrôler le fonctionnement régulier de la télécommande.

- Tenir la télécommande à l'écart de toute source de chaleur directe et de l'eau.
- La pile de la télécommande doit être remplacée et éliminée conformément à la réglementation en vigueur en matière de collecte et de traitement des déchets.

4.8 Thermostat - chronothermostat externe
L'appareil de série contrôle la température ambianté au moyen d'un thermostat numérique dont la fonction est de mesurer la température à travers une sonde et de diminuer la puissance lorsque la consigne température est atteinte.
Pour utiliser un thermostat externe, faire appel à un technicien agréé et suivre les instructions suivantes :
- éteindre l'appareil en agissant sur l'interrupteur général, place à l'arrêt du poète et débrancher le cordon d'alimentation;
- démonter les panneaux latéraux (les flancs) pour accéder à l'électronique embarquée;
- débrancher de la carte électronique les deux fils du thermostat de leurs bornes respectives TERM;
- Remonter le tout et vérifier le fonctionnement correct de l'appareil.
Voici la procédure de préselection à suivre :
- thermostat externe : préselectionner une CONSIGNE (SET) température de 7°C
- chronothermostat externe : préselectionner une CONSIGNE (SET) température de 7°C et désactiver dans le menu 03-01 les fonctionnalités chrono.
Pour chaque préselection, les fonctions du menu ne varient pas et la signalisation du raccordement se fait par l'allumage de la LED à segment sur la barre d'état à l'écran.

4.9 Période d'inactivité (fin de saison)
Si le poêle est destiné à rester inutilisé pour de longues périodes, et/ou à la fin de chaque saison, il est conseillé de procéder comme suit
- vider complètement le réservoir à granulés;
- couper l'alimentation électrique du poêle;
- nettoyer parfaitement et, si nécessaire, replacer les parties eventuellement endommagées par un professionnel qualifié;
- Protégé le poèle contre la poussière avec une bache ou housse ou tout autre dispositif d'une efficacité au moins équivalente;
- stocker le poèle dans un endroit sec et à l'abri des intempéries.
5 Nettoyage du poêle
Il est important de nettoyer le poêle pour éviter le noircissement de la vitre de foyer, la mauvaise combustion, le dépôt de cendres et d'imbrules dans le foyer et la réduction de l'efficacité thermique.
La porte du foyer doit toujours être fermée quand le poêle est allumé.
Les joints des portes de foyer et du cendrier doivent être contrôlés régulièrement pour éviter toute infiltration d'air ; en effet, la chambre de combustion et le canal d'évacuation des granulés fonctionnent en dépression, tandis que les fumées sont évacuées en légère pression.
Les opérations de nettoyage courantes doivent être normalement effectuées par le client, en suivant les indications du manuel. L'entretien extraordinaire est, par contre, effectué par le centre d'assistance agréé au moins une fois par an.

- Les opérations de nettoyage de toutes les parties doivent être faites pour le poèle froid et débranché;
- Éliminer les déchets du nettoyage conformément à la réglementation locale en vigueur;
- Il est interdit d'allumer le poêle s'il est dépourvu de son habillage;
- Eviter la formation de fumée ou d'imbrûés pendant l'allumage et/ou le fonctionnement normal.
Voici le tableau récapitif des interventions de contrôle et/ou d'entretien utiles pour le fonctionnement correct du poêle.
| Organes ou parties /PériodeOpération | 1 journettoyagecourant | 2-3 joursnettoyagecourant | 1 moisnettoyagecourant | 2 - 3 moisnettoyagecourant | 1 annettoyage extraordinaire:effectué par le centred'assistance |
| Brasier | ■ | ||||
| Cendrier | ■ | ||||
| Vitre | ■ | ||||
| Échangeur fumées-deflecteur | ■ | ■ | |||
| Collecteur -extracteur defumées | ■ | ■ | |||
| Joint de porte - vitre | ■ | ||||
| Conduit de fumée - conduitde raccordement | ■ |
5.1 Nettoyage du brasier
Enlever le brasier et éliminer les résidus de cendres qui se sont déposés dans la chambre de combustion et dans le support de brasier. Il est conseillé d'utiliser un aspirateur approprié. Cette opération doit être effectuée tous les jours, sur tout en présence de dépôts d'imbrules, pour permettre à l'air de combustion de passer à travers les orifices du creuset de sorte à garantir une combustion efficace.


Le brasier doit parfaitement plaquer sur tout le périmètre de son support sans laisser aucun interstice pour le passage d'air.
5.2 Nettoyage du déshumidificateur
Le cendrier amovible est situé directement sous l'ensemble brasier et support de brasier. Pour le nettoyage, ouvrir la porte de foyer et aspirer la cendre et tout autre résidu de combustion avec un aspirateur approprié.
À la fin du nettoyage, fermer la porte. Le décendrage doit se faire tous les 2-3 jours en fonction de l'utilisation du poêle.
5.3 Nettoyage de la vitre et des fentes d'aération
Nettoyer la vitre à l'aide d'un chiffon humide et d'un détergent non abrasif.
Des fentes ont été pratiquées entre la vitre, la paroi et la porte de foyer dans la partie inférieure et supérieure pour permettre à l'air de circuler sur la surface intérieure de la vitre. Il est important de débarrasser les fentes de la poussière et des cendres en les nettoyant régulièrement. Effectuer donc périodiquement un nettoyage intérieur sur tout le périmètre de la vitre.
5.4 Nettoyage de l'extracteur de fumées et de la chambre de combustion
Nettoyer au moins une fois par an la chambre de combustion après avoir enlevé le couvercle, en éliminant tous les résidus de combustion des chicanes internes et du parcours de fumées. Pour cela, enlever le couvercle et la façade supérieure du poêle. Déposer l'échangeur en fonte en desserrant les vis de fixation, puis procéder au nettoyage des chicanes et de la chambre de combustion.
Il est d'autre part important de nettoyer l'extracteur de fumées qui se trouve sous la chambre et dont l'accès est possible en déposant le dendrier.
Tous les 3-4 mois, nettoyer les parois internes de la chambre de combustion avec des outils (pinces) appropriés et remplacer éventuellement le "matelas" de vermiculite car considéré comme un consommable.
Le poêle signale toutes les 1800 heures de fonctionnement, à travers un message 'ÉCHEANCE ENTRETIEN', la nécessité d'effectuer un entretien extraordinaire (qui n'est pas couvert par la garantie) par un professionnel qualifié qui procédera à un nettoyage complet et à la réinitialisation du message.

Tous chocs ou forçages éventuels peuvent endommager l'extracteur des fumées et rendre son fonctionnement bruyant. Par conséquent, faire effectuer cette opération par un professionnel qualifié.
5.5 Nettoyage du tuyau d'aspiration d'air
Des dépôts de poussière peuvent s'accumuler dans le tuyau d'aspiration et provoquer à la longue une obstruction du passage de l'air : nettoyer périodiquement - tous les 4 - 6 mois - les parois internes du tuyau à l'aide d'un outillage approprié (jet d'air comprimé ou pinceaux appropriés).
5.6 Nettoyage des céramiques (modèles avec habillage céramique)
Les carreaux céramiques COLA sont fabriqués de manière artisanale et peuvent à ce titre représenter de petites imperfections superficielles, telles que micro-piqures ou variations chromatiques. Il est conseillé de les nettoyer avec un chiffon doux et sec ; l'utilisation de certains détergents pourrait mettre davantage en évidence les imperfections.
5.7 Nettoyage du conduit de raccordement - conduit de fumée
Le conduit de raccordement doit être nettoyé au moins une fois par an ou toutes les fois que cela est nécessaire en fonction de l'utilisation du poêle et du type d'installation.
Le nettoyage comprend l'aspiration et l'élimination de résidus de combustion dans tous les tronçons verticaux et horizontaux, ainsi que dans les coudes, de l'appareil au conduit de fumée.
Il est également conseillé de nettoyer le conduit de fumée une fois par an, afin de garantir une parfaite évacuation des fumées.

Pour toutes les opérations d'entretien ou de nettoyage de fin de saison, la société COLA recommande de faire appel à un centre d'assistance agréé qui vérifiera par la même occasion l'état d'usure des composants internes du poêle.
6.1 Introduction
Les interventions sur les composants du poèle doivent être effectuées par un professionnel qualifié, en s'adressant au centre d'assistance le plus proche.

Avant toute intervention, s'assurer d'avoir débranché le cordon d'alimentation électrique et que le poêle est froid.

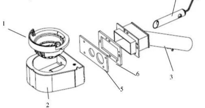
Légende:
1-Couvercle 2-Façade inférieure 3-Panneau arrière 4-Couvercle droite et gauche 5-Flanc droit et gauche 6-Sous-couvercle 7-Couvercle de réservoir à granulés
6.3 Composants internes du poêle

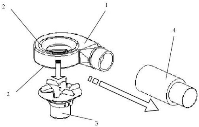
Éclaté de la chambre de combustion et des parties reliées ref. poèle SABINA
Légende:
1 - Chambre de combustion 2 - Supports droit et gauche SABINA 3 - Échangeur en fonte 4 - Parois latérales vermiculite 5 - Déflecteur supérieur vermiculite 6 - Paroi postérieure vermiculite
Éclatés de :
1 - Groupe brasier 2 - Groupe extracteur des fumées 3 - Groupe vis sans fin



6.4 Composants électriques légende:
1 - Carte électronique 2 - VaCUOSTAT de contrôle et sécurité 3 - Thermostat de sécurité 4 - Interrupteur ON-OFF avec fusibles 5 - Sonde de température ambiante 6 - Sonde de température des fumées 7 - Ventilateur tangentiel droit 8 - Ventilateur tangentiel gauche 9 - Ventilateur tangentiel postérieur 10 - Motoréducteur 11 - Tableau de commande mod. ECO-T


Légende:
1 - Brasier 2 - Support de brasier 3 - Tuyau d'aspiration d'air comburant 4 - Résistance électrique 5 - Joint d'arrêt de support de brasier 6 - Joint avant du groupe aspiration
Légende:
1 - Volute extracteur de fumées 2 - Joint thermique 3 - Moteur d'extracteur de fumées 4 - Tuyau d'évacuation des fumées
Légende :
1 - Joint de réservoir-convoyeur 2 - Fianche d'arrêt motoréducteur 3 - Motoréducteur 4 - Vis sans fin 5 - Joint pour goulotte 6 - Goulotte de granulés 7 - Joint de chambre-convoyeur 8 - Convoyeur de granulés
7.1 Gestion des alarmes
Les alarmes sont signalées à la fois visuellement à l'écran (message) et par un signal sonore (si activé). En cas d'alarme, éteindre le poêle, éliminer la cause de la panne et remettre en marche le poêle en respectant la procédure normale décrite dans ce manuel.
Les alarmes visualisées sur le tableau de commande sont les suivantes :
| ALARMES - MESSAGES | |||
| Signalisation | Anomalie Causes probables | Solutions | |
| AL 1 COUPURE DE COURANT | -Le poèle ne s'allume pas. | -Le courant n'arrive pas au poèle pendant la phase d'allumage. | -Mettre le poèle en position OFF en appuyant sur la touche P4 et répêter la procédure d'allumage.-D'autres opérations de rétablissement du fonctionnement normal doivent être effectuees par un centre d'assistance. |
| AL 2 SONDE DE TEMPERATURE DES FUMÉES | -Cette alarmé se déclenché en cas d'anomalies de fonctionnement de la sonde de température des fumées.-La procédure d'extinction est activée. | -La sonde est défaillante.-La sonde est débranchée de la carte électronique. | -D'autres opérations de rétablissement du fonctionnement normal doivent être effectuees par un centre d'assistance. |
| AL 3 FUMÉES BRULANTES | -Cette alarmé se déclenché dans le cas où la sonde relève une température des fumées supérieure à 280 °C.-La procédure d'extinction est activée. | -Le ventilateur tangentiel est défectueux.-Le courant électrique n'arrive pas au ventilateur tangentiel.-Chargement excessif de granulés. | -Régler l'alimentation des granulés.-D'autres opérations de rétablissement du fonctionnement normal doivent être effectuees par un centre d'assistance. |
| AL 4 ASPIRAT-DEFAILLANT | -Cette alarmé se déclenché lorsque le ventilateur d'aspiration des fumées est défaillant.-La procédure d'extinction est activée. | -Le ventilateur des fumées est bloqué.-Le capteur de contrôle de l'allure (la vitesse) est défaillant.-Le courant électrique n'arrive pas au ventilateur des fumées. | -Les opérations de rétablissement du fonctionnement normal doivent être effectuees par un centre d'assistance. |
| AL 5 ALLUMAGE RATÉ | -La petite flamme ne s'allume pas en phase d'allumage.-La procédure d'extinction est activée. | -Le réservoir à granulés est vide.-La résistance électrique est défectueuse, encrassée ou n'est pas correctement en place.-Réglage du chargement des granulés incorrect. | -Vérifier la présence de granulés dans la trémie.-Vérifier les procédures d'allumage.-D'autres opérations de rétablissement du fonctionnement normal doivent être effectuees par un centre d'assistance. |
| AL 6 ABSENCE DE GRANULES | -Le brasilien'est pas alimenté en granulés. | -Le réservoir à granulés est vide.-Le fonctionnement du motoréducteur de chargement des granulés doit se régulariser.-Le motoréducteur ne charge pas les granulés. | -Vérifier la présence de granulés dans la trémie.-Régler l'alimentation des granulés.-D'autres opérations de rétablissement du fonctionnement normal doivent être effectuees par un centre d'assistance. |
| AL 7 SECURITÉ THERMIQUE | -Cette alarmé se déclenché en cas d'intervention du thermostat de sécurité de la temperature du canal de la vis sans fin.-Le système est arrêté. | -Le thermostat de sécurité a relevé un température supérieure au seuil de réglage à cause de la surchauffe de la partie inférieure du réservoir et a donc bloqué le fonctionnement du motoréducteur. | -Vérifier la cause de l'échauffement excessif.-Débloquer le thermostat en agissant sur le bouton de réarmement. |
| Signalisation | Anomalie Causes probables | Solutions | |
| AL 8 ABSENCE DÉPRESSION | -En marche, le poèle relève une pression inférieure au seuil de tarage du vacuostat. -Le système est arrêté. | -La chambre de combustion est encrassée. -Le conduit de fumée est obstruè. -La porte de foyer n'est pas fermée. -Les clapets anti-explosion sont ouverts-coincés. -Le vacuostat est défectueux. | -Vérifier l'état de propretdu conduit de fumée et de la chambre de combustion. -Vérifier la fermeture hermétique de la porte. -Vérifier la fermeture des clapets anti-explosion. -D'autres opérations de rétablissement du fonctionnement normal doivent être effectuees par un centre d'assistance. |
| AL 9 TIRAGE INSUFF | -Cette alarmé se déclenché lorsque le flux d'air combustant se situe en dessous d'un certain seuil. | -La,chambre de combustion est encrassée. -Le conduit de fumée est obstruè. -La porte de foyer n'est pas fermée. -Les clapets anti-explosion sont ouverts-coincés. -Le débitmètre est défectueux. | -Vérifier l'état de propretdu conduit de fumée et de la,chambre de combustion. -Vérifier la fermeture hermétique de la porte. -Vérifier la fermeture des clapets anti-explosion. -D'autres opérations de rétablissement du fonctionnement normal doivent être effectuees par un centre d'assistance. |
| AL b ERREUR TRIAC COC | -Cette alarmé se déclenché lorsque le motoréducteur fonctionne en continu et pendant plus de 60 s. -Le système est arrêté. | -l'électronique de commande relève que le relais de commande du motoréducteur est défaillant (contacts collés). | -Les opérations de rétablissement du fonctionnement normal doivent être effectuees par un centre d'assistance. |
| ATTENTE REFROID | -Cette alarmé se déclenché en rallumant le poèle immidiatement après l'avoir étéint. | -Tentative de déblocage en phase d'extinction avec le poèle chaud en phase de refroidissement. | -L'accuitement de l'alarme ne sera possible qu'une fois le poèle éteint. |
| ÉCHÉANCE ENTRETIEN | -Cette alarmé se déclenché lorsque le poèle a fonctionné plus de 1800 heures après la的最后一 minute intervention d'entretien. | -Avis d'entretien extraordinaire. | -Les opérations de nettoyage-entretien extraordinaire et de rétablissement du fonctionnement normal doivent être effectuees par un centre d'assistance/agréé. |
La société COLA s. r. l. se réserve le droit d'apporter des modifications techniques ou esthétiques
a ses produits à n'importe quel moment et sans préavis.
Toutes les configurations, les dessins, les mesures et les schémas sont fournis à titre d'exemple.
8 Annexes
NB 2456 - Report n° K7542012Z1
DoP_LA13S00Y
EN 14785:2006
| Type Type | Apparilis de chauffage domestique, sans eau, hums de granulés de bois Residential space heating appliance without water fired by wood pellets | |
| Marque de commerce Trademark | COLA | |
| Modèle - Code Model - Code | SABINA - LA13S00Y | |
| Carburant ** Fuel | Granules de bois / Wood pellet UNI EN14961-2 classe A1 | |
| Distance min des matériaux inflammables: Arrière - Droite / Gauche - Étage Minimum distance from combustible materials Rear-Right/left side-floor | mm | 200 - 300 - 0 |
| Puisance thermique introduct * Heating input | kW | 14,38 - 3,85 |
| Puisance thermique utile * Water heating output | kW | 12,83 - 3,66 |
| Puisance thermique de production H2O Potenza termica all'acqua | kW | - |
| Puisance thermique pour réchauffer l'air Potenza termica all'aria | kW | 12,83 - 3,66 |
| Rendement thermique * Efficiency | % | 89,25 - 95,00 |
| Consummation horarie */* Fuel consumption | kg/h | 3,04 - 0,81 |
| Emissions CO à 13% O2* Emission CO at reference 13% | % mg/m3 | 0,01 - 0,01 164,8 - 79,6 |
| Emissions CnHm à 13% O2* Emission CnHm at reference 13% O2 | mg/m3 | 1,9 - 1,4 |
| Emissions NOx à 13% O2* Emission NOx at reference 13% O2 | mg/m3 | 99,8 - 91,4 |
| Emissions de poussées PP à 13% O2* Emission dust PP at reference 13% O2 | mg/m3 | 8 - / |
| Totale des émissions de particules PPBT à 13% O2* Total dust emission PPBT at ref. 13% O2 | mg/m3 | 8,80 - / |
| Température max de l'eau reglable Set max temp. | °C | - |
| Pression max acqua d'utilisation Max working pressure | bar | - |
| Capacité de la chambre de combustion Heating chambre capacity | I | - |
| Capacité du réservoir à granulés Pellet stove capacity | kg | 20 |
| Perte de charge sur le coté ΔT 10K Water resistance ΔT 10K | % | - |
| Perte de charge sur le coté ΔT 20K Water resistance ΔT 20K | % | - |
| Température de fumée* Fume outlet temperature | °C | 202,5 - 86,7 |
| Débit gaz de combustion* Flue gas flow | g/s | 7,7 - 2,7 |
| Tirage fumée min-max Draught min-max | Pa (mbar) | 10 - 14 0,10 - 0,14 |
| Tuyau d'évacuation des fumées Fume outlet pipe | mm | 80 |
| Alimentazion électrique Electrical power | 230V - 50Hz - 6A | |
| Consummation électrique Rated input power | W | Alumage/Start 420 - Pnom 140 |
| Dimensions H x L x P Dimensions H x L x P | mm | 958 x 629 x 527 |
| Poids Weight | kg | 110 |
- à puissance nominale et de faible puissance / Nominal output and Reduced output ** La consommation de granulles peut varier selon le type de pellet utilisé / Pellet consumption can vary according to the type of pellets used.
NB 2456 - Report n° K7542012Z1
DoP_LA13S00Y
EN 14785:2006
| Art Type | Vorrichtung zum Hausbrand, ohne Wasser, gefüttert Holzpellets Residential space heating appliance without water fired by wood pellets | |
| Marke Trademark | COLA | |
| Modell Model | SABINA - LA13S00Y | |
| Brennstoff ** Fuel | Holzpellet/ Wood pellet UNI EN14961-2_classe A1 | |
| Mindestischerheitsabstand hinten - rechts/links - Boden Minimum distance from combustible materials Rear-Right/left side-floor | mm | 200 - 300 - 0 |
| Termische leistung eingfuhr max * Heating input | kW | 14,38 - 3,85 |
| Thermische leistung eingfuhr * Heating output | kW | 12,83 - 3,66 |
| Warmeleistung Wasser * Water heating output | kW | - |
| Nennwärmeleistung * Room heating output | kW | 12,83 - 3,66 |
| Thermischer Wirkungsgrad * Efficiency | % | 89,25 - 95,00 |
| Stundl. Verbrauch *** Fuel consumption | kg/h | 3,04 - 0,81 |
| CO Emission bei 13%O2 * Emission CO at reference 13% | % | 0,01 - 0,01 |
| mg/m3 | 164,8 - 79,6 | |
| CnHm Emission bei 13% O2 * Emission CnHm at reference 13% O2 | mg/m3 | 1,9 - 1,4 |
| NOx Emission bei 13% O2 * Emission NOx at reference 13% O2 | mg/m3 | 99,8 - 91,4 |
| Staubemission PP bei 13% O2 * Emission dust PP at reference 13% O2 | mg/m3 | 8 - / |
| Insgesamt Staubemission PPBT bei 13% O2 * Total dust emission PPBT at ref. 13% O2 | mg/m3 | 8,80 - / |
| Maximale wassertemperatur set. Set max temp. | °C | - |
| Max. Betriebsdruck Max working pressure | bar | - |
| Fassungsvermögen Warnekammer Heating chamble capacity | I | - |
| Behalterinhalt Pellet stove capacity | kg | 20 |
| Druckabfall auf der Wasserseite ΔT 10K Water resistance ΔT 10K | mbar | - |
| Druckabfall auf der Wasserseite ΔT 20K Water resistance ΔT 20K | mbar | - |
| Abgastemperatur * Fume outlet temperature | °C | 202,5 - 86,7 |
| Abgasmassenstrom * Flue gas flow | g/s | 7,7 - 2,7 |
| Minderzug min-max Draught min-max | Pa mbar | 10 - 14 0,10 - 0,14 |
| Rauchabzugsrohr Fume outlet pipe | mm | 80 |
| Elektrische Versorgung Electrical power | 230V - 50Hz - 6A | |
| Stromaufnahme Rated input power | W | Zundung/Start 420 - Pnom 140 |
| Abmessungen H x L x P Dimensions H x L x P | mm | 958 x 629 x 527 |
| Behalterinhalt Weight | kg | 110 |

NB 2456 - Report n°K7542012Z1
DoP_LA13S00Y
EN 14785:2006
| Tipologia Type | Aparatos de calefacción domestica, sin agua, alimentado de pellets de madera Residential space heating appliance without water fired by wood pellets | |
| Marca Trademark | COLA | |
| Modelo Model | SABINA - LA13S00Y | |
| Combustible ** Fuel | Pellets de madera / Wood pellet UNI EN14961-2_classe A1 | |
| Distancia min. seguidad posterior - der./izq. - suejo Minimum distance from combustible materials Rear-Right/left side-floor | mm | 200 - 300 - 0 |
| Potenza tírmica introducida* Heating input | kW | 14,38 - 3,85 |
| Potencia tírmica nominal* Heating output | kW | 12,83 - 3,66 |
| Potenza tírmica al agua* Water heating output | kW | - |
| Potenza tírmica all'aria* Room heating output | kW | 12,83 - 3,66 |
| Rendimiento termico* Efficiency | % | 89,25 - 95,00 |
| Consumo horario */* Fuel consumption | kg/h | 3,04 - 0,81 |
| Emissiones de CO al 13%O2* Emission CO at reference 13% | % mg/m3 | 0,01 - 0,01 164,8 - 79,6 |
| Emissiones de CnHm al 13% O2* Emission CnHm at reference 13% O2 | mg/m3 | 1,9 - 1,4 |
| Emissiones de NOx al 13% O2* Emission NOx at reference 13% O2 | mg/m3 | 99,8 - 91,4 |
| Emissiones de polvo PP al 13% O2* Emission dust PP at reference 13% O2 | mg/m3 | 8 - / |
| Total de emisiones de particulas PPBT al 13% O2* Total dust emission PPBT at ref. 13% O2 | mg/m3 | 8,80 - / |
| Temperatura max agua establecer Set max temp. | °C | - |
| Presión:maxima de funciona bajo Max working pressure | bar | - |
| Capacidad de la cárra tírmica Heating chambe capacity | I | - |
| Capacidad del depósito Pellet stove capacity | kg | 20 |
| Pérdida de energia en lado del agua ΔT 10K Water resistance ΔT 10K | mbar | - |
| Pérdida de energia en lado del agua ΔT 20K Water resistance ΔT 20K | mbar | - |
| Temperatura salute humos* Fume outlet temperature | °C | 202,5 - 86,7 |
| Caudal de humos* Flue gas flow | g/s | 7,7 - 2,7 |
| Tiro min - max Draught min -max | Pa mbar | 10 - 14 0,10 - 0,14 |
| Tubo de salute de humos Fume outlet pipe | mm | 80 |
| Alimentación electrónica Electrical power | 230V - 50Hz - 6A | |
| Consumo electrico Rated input power | W | Accensione/Start 420 - Pnom 140 |
| Medidas H x L x P Dimensions H x L x P | mm | 958 x 629 x 527 |
| Peso Weight | kg | 110 |
* La Potencia nominal et réduite / Nominal output and Reduced output ** Le Consumo de pellets peut varier selon le type de pellets / Pellet consumption can vary according to the type of pellets used.
Notice Facile