Sabina - Pfanne Cola - Kostenlose Bedienungsanleitung
Finden Sie kostenlos die Bedienungsanleitung des Geräts Sabina Cola als PDF.
Benutzerfragen zu Sabina Cola
0 Frage zu diesem Gerät. Beantworten Sie die, die Sie kennen, oder stellen Sie Ihre eigene.
Eine neue Frage zu diesem Gerät stellen
Laden Sie die Anleitung für Ihr Pfanne kostenlos im PDF-Format! Finden Sie Ihr Handbuch Sabina - Cola und nehmen Sie Ihr elektronisches Gerät wieder in die Hand. Auf dieser Seite sind alle Dokumente veröffentlicht, die für die Verwendung Ihres Geräts notwendig sind. Sabina von der Marke Cola.
BEDIENUNGSANLEITUNG Sabina Cola
Vor Installation, Gebrauch und Wartung muss diese Anleitung aufmerksam durchgeleen werden.
Das Handbuch ist wesentlicher Bestandteil des Geräts.
Die Firma COLA garantiert ihre Produkte gemäß den derzeit geltenden Bestimmungen mit Ausnahme der Verschleiße.
Für die Garantiebedingungen wenden Sie sichitte an den Importeur oder an den autorisierten Vertreter, der die obligatorische Garantielaufzeit auf ausschließlich eigene Verantwortung verlangern kann.
Die Garantie des Produkts erlischt im Fall von Störungen, eines Defekten oder Unfälle, die auf die Missachtung der in dieser Anleitung enthaltenen Anleitungen zurückzuführen sind.
ES 114-140
TÜV Rheiland Energie und Umwelt GmbH
TÜV Rheiland Energie und Umwelt GmbH
TÜV Rheiland Energie und Umwelt GmbH
1 ALLGEMEINE HINWEISE
1.1 Vorwort
1.2 Nachschlagen im Handbuch
1.3 Sicherheitsvorschriften
1.4 Technische Beschreibung
1.5 Brennstoff und zulässiger Gebrauch
1.6 Zubehör
1.7 Bezugsnormen
1.8 Typenschild
1.9 Außerbetriebsetzung des Ofens
1.10 Anleitungen für die Anforderung von Kundendiensteingriffen und Ersatzteilbestellungen
2 TRANSPORT UND INSTALLATION
2.1 Verpackung, Handhabung, Versand und Transport
2.2 Aufstellungssort, Aufstellung und Brandschutz
2.3 Lufteinlass
2.4 Abgasführung
2.4.1 Installationsarten
2.5 Controllo posizione braciere e deviatore
2.6 Elektrischer Anschluss
2.7 Elektroschaltplan
2.8 Notfallmaßnahmen
3 SICHERHEITSRELEVANTE HINWEISE UND VORRICHTUNGEN
3.1 Sicherheitsabstand von entflammbaren Materialien
3.2 Sicherheitsvorrichtung Abgasführung
3.3 Uberdruckventil in der Verbrennungskammer
3.4 Überhitzung - Sicherheitsthermostat Temperatur Pelletsbehalter
3.5 Flammenrückschlagschutz im Pelletzuführungskanal
3.6 Überstromsicherung
3.7 Stromausfallsicherung
3.8 Defekt des Abgasventilators
4 GEBRAUCH DES OFENS
4.1 Vorwort
4.2 Beschreibung des Bedienpanels
4.3 Einsatzen
4.3.1 Kontrolle vor Inbetriebnahme
4.3.2 Zündvorgang
4.4 Betriebsphase
4.5 Ausschalten
4.6 Menu
4.6.1 Menu 01 - Lüfter regeln
4.6.2 Menu 02-Uhr einstellen
4.6.3 Menu 03-Uhrenthermostat aktivieren
4.6.4 Menu 04 - Sprache wahlen
4.6.5 Menu 05 - Standbybetrieb
4.6.6 Menu 06 - Summer
4.6.7 Menu 07 - Erste Pelletfällung
4.6.8 Menu 08-Betriebszustand des Ofens
4.6.9 Menu 09 - Vom Techniker vorgenommene Einstellungen
4.7 Fernbedienung 4.7.1 Batterie wechseln
4.8 Thermostat - Externer Uhrenthermostat
4.9 Außerbetriebnahme (Ende der Heizperiode).
5 REINIGUNG DES OFENS
5.1 Reinigung der Brennschale
5.2 Reinigung des Aschenbehtalters
5.3 Reinigung des Glases und der Luftschlitze
5.4 Reinigung des Saugzuggeblases und der Brennkammer
5.5 Verbrennungsluft-Ansaugrohr
5.6 Reinigung der Keramikteile
5.7 Reinigung des Rauchrohrs - Schornsteinrohrs
6 WARTUNG
6.1 Vorwort
6.2 Ausbau der Verkleidung
6.3 Innere Ofenkomponenten
6.4 Elektrische Bauteile
7 FEHLERSUCHE
7.1 Verwaltung der Alarmeldungen
8 ANLAGEN
8.1 Informationen zur CE-Kennzeichnung
1 ALLGEMEINE HINWEISE
1.1 Vorwort
Verehrter Kunde.
Wir danken Ohnen für das Vertrauen, das Sie uns mit dem Kauf dieser Geräts entgegengebracht haben.itte lessen und befolgen Sie diese Installations-, Gebrauchs- und Wartungsanleitung, um die Produkteigenschaften optimal nutzen zu konnen.
Alle Unterlagen im Zusammenhang mit Zertifizierungen oder Erkräufen, insbesondere die Konformitäts- und die Leistungserklärung, können von der Website der jeweiligen Handelsmarke heruntergeladen werden.
1.2 Nachschlagen im Handbuch
Der Hersteller besteht sich vor, die technischen Merkmale und das Design der Produkte jederzeit und ohne Vorankündigung zu ändern.
Installation, Bedienung und Wartung des Ofens müssen den in thisem Handbuch enthaltenen Vorschriften sowie den europäischen, nationalen, regionalen und communalen Gesetzen und Normen entsprechen.
Alle Abbildungen, Maße, Übersichtszeichnungen sowie ähnliche sonstigen Angaben in dieser Druckschrift dieren nur zur Veranschaulichung und sind nicht verbindlich.
These Betriebsanleitung ist ein wesentlicher Bestandteil des Produkts; sie muss immer beim Gerät bleiben und dieser dem Verkauf, Übereignung oder Standortverlegung folgen, damit jederzeit darin nachgeschlagen werden kann.
Bei Verlust oder Beschädigung ist beim Vertragskundendienst eine Kopie anzufordern, damit das Gerät stets mit einer Betriebsanleitung ausgestattet ist.
| ! | Dieses Symbol weist auf eine wichtige Mitteilung hin, die besondere Aufmerksamkeit erfordert, Denn die Nichtbeachtung der Angaben kann ernsthafte Sach- und Personenschäden zur Folge haben |
| Angaben, die besondere Aufmerksamkeit erfordern, sind „fett gedruckt". |
1.3 Sicherheitsvorschriften.
- Vor Installation, Benutzung oder Wartung des Pelletofens die Bedienungs- und Wartungsanleitung lessen.
Die Installation, den elektrischen Anschluss, die Abnahme und Wartung nur von autorisiertem Fachpersonal ausführten halten.
Den Ofen über ein inspizierbares Endstück an ein vorschriftsmäßiges Schornsteinrohr anschließen; der Anschluss mehrerer Geräte ist nur zulässig, wenn er von den örtlichen Bestimmungen vorgesehen ist und vom Schornsteinfeger genehmigt wurde. - Den Ofen über ein Rohr bzw. einen Außenlufteinlass an den Saugzug anschließen.
- Den Ofen an eine vorschrifsmäßige Steckdose mit Spannungswerten 230 V - 50 Hz anschließen.
Die elektrische Anlage und die Steckdosen müssen fur die maximale Stromaufnahme des Gerats geeignet sein, die auf dem Etikett und im vorliegenden Handbuch angegeben ist. - Vor jeder Wartung den Stecker aus dem Ofenziehen und nur am kaltem Ofen Eingriffe vornehmen.
Keine entflammbaren Flüssigkeiten oder Substanzen verwenden, um den Ofen anzuzünden bzw. die Flamme wieder anzufachen: Bei eingeschalteten Ofen erfolgt das Anzünden der Pellets automatisch. - Der Pelletofenarf ausschlieBich mit Pellets beschicht werden, die die in dieser Anleitung beschrieben Eigenschaften aufweisen.
- Der Ofenarf nicht zur Mullverbrennung verwendet werden.
Die Ein- und Auslassöffnungen für die Verbrennungsluft auf keinen Fall schlieben oder verdecken. - Wahlend des Ofenbetriebs ist der Umgang mit leicht entflammbaren oder explosiven Stoffen in der Naze des Ofens untersagt.
- Das Schutzgitter des Pelletsbehalters und im Allgemeinen die Sicherheitseinrichtungen nicht entfernen oder verändern.
- Der Ofenarf nicht mit offener Feuerraumtur und/oder mit beschadigter oder zerbrochener Glasscheibe betriebenen werden.
- Wahlend des Betriebs heizt die von der Pelletverbrennung erzeugte intensive Wärme die Außenflächen des Ofens stark auf. Dies gilt entsprechenden für die Feuerraumtur, den Griff und das Rauchrohr. Vermeiden Sie dazu jeder Berührung mit diesen Teilen ohne entsprechende Schutzausrüstung
- Bewahren Sie nicht hitzefeste und/oder entflammbare Gegenstände in ausreichendem Sicherheitsabstand zum Ofen auf.
- Den Brenntopf bei jedem Anzünden bzw. Nachfüllen von Pellets reinigen.
Das Rauchrohr und die Zugstabilisatoren in der Brennkammer regelmäßig von einem Fachmann reinigen halten. - Wahlend des Zündvorgangs und/oder beim normalen Betrieb die Bildung von Rauch und unverbrannten Stoffen vermeiden, die übermäßige Ansammlung von unverbrannten Pellets im Brenntopf muss vor dem erneuten Einsatz von Hand beseitigt werden.
- Weisen Sie Kinder und Besucher auf die oben beschriebenen Gefahrenhin.
- Bei Betriebsstörungen darf der Ofen erst nach Behebung der Problemursache wieder angezündet werden.
- Jegliche Änderung und/oder jegliches nicht zulässige Auswechseln mit nicht Original-Ersatzteilen des Ofens ist eine Gefahr für die Benutzer und enthebt den Hersteller von jeder Haftpflicht und strafrechtlichen Verantwortungen.
-AusschlieBlich die vom Hersteller empfohlenen Ersatzteile benutzen.

Der Hersteller haftet nicht für Störungen, Schäden oder Unfälle, die auf die Missachtung bzw. Nichteinhaltung der Hinweise in der Betriebsanleitung zurückzuführen sind.
1.4 Technische Beschreibung
Der Pelletofenarfasschlichmit Pellets beschichtwerdenundverbreitetene gesunde,sichere Wärme im Raum.Seine automatischen Regelsystemesorgen fur eine optimale Wärmeleistung und eine vollständige Verbrennung.Dievorhandenen Sicherheitsysteme gewährleisten einen fur die Ofenkomponenten und den Benutzer sicheren Betrieb.
Das vorschäftsmäßig installierte Gerät Funktioniert unter jeder klimatischen Bedingung; bei kritischen Witterungsverhältnissen (starker Wind, Frost usw.) konnen allerdings die Sicherheitssysteme ausgelöst werden, die den Ofen ausschalten.
Der Ofen Mod. SABINA mit Nennleistung 12,83 kW garantiert ein max. beheizbares Volumen von 293 m3 bei einem Energieverbrauchskennwert des Gebäudes von 35W/m3; dieser Wert variiert in Abhängigkeit von den Faktoren Isolierung, Typ und Klimazone, die wichtige Variablen für die korrekte Wahl des Geräts darstellen.
| Art Type | Vorrichtung zum Hausbrand, ohne Wasser, gefüttert Holzpellets Residential space heating appliance without water fired by wood pellets | |
| Marke Trademark | COLA | |
| Modell Model | SABINA - LA13S00Y | |
| Brennstoff ** Fuel | Holzpellet/ Wood pellet UNI EN14961-2 classe A1 | |
| Mindestdsicherheitsabstand hinten - rechts/links - Boden Minimum distance from combustible materials Rear-Right/left side-floor | mm | 200 - 300 - 0 |
| Termische leistung eingfuhr max* Heating input | kW | 14,38 - 3,85 |
| Thermische leistung eingfuhr* Heating output | kW | 12,83 - 3,66 |
| Wärmeleistung Wasser* Water heating output | kW | - |
| Nennwärmeleistung* Room heating output | kW | 12,83 - 3,66 |
| Thermischer Wirkungsgrad* Efficiency | % | 89,25 - 95,00 |
| Stundl. Verbrauch** Fuel consumption | kg/h | 3,04 - 0,81 |
| CO Emission bei 13% O2* Emission CO at reference 13% | % | 0,01 - 0,01 |
| mg/m³ | 164,8 - 79,6 | |
| CnHm Emission bei 13% O2* Emission CnHm at reference 13% O2 | mg/m³ | 1,9 - 1,4 |
| NOx Emission bei 13% O2* Emission NOx at reference 13% O2 | mg/m³ | 99,8 - 91,4 |
| Staubemission PP bei 13% O2* Emission dust PP at reference 13% O2 | mg/m³ | 8 - / |
| Insgesamt Staubemission PPBT bei 13% O2* Total dust emission PPBT at ref. 13% O2 | mg/m³ | 8,80 - / |
| Maximale wassertemperatur set Set max temp. | °C | - |
| Max. Betriebsdruck Max working pressure | bar | - |
| Fassungsvermögen Warnekammer Heating chamble capacity | I | - |
| Behalterinhalt Pellet stove capacity | kg | 20 |
| Druckabfall auf der Wasserseite ΔT 10K Water resistance ΔT 10K | mbar | - |
| Druckabfall auf der Wasserseite ΔT 20K Water resistance ΔT 20K | mbar | - |
| Abgastemperatur* Fume outlet temperature | °C | 202,5 - 86,7 |
| Abgasmassenstrom* Flue gas flow | g/s | 7,7 - 2,7 |
| Minderzug min-max Draught min-max | Pa mbar | 10 - 14 0,10 - 0,14 |
| Rauchabzugsohr Fume outlet pipe | mm | 80 |
| Elektrische Versorgung Electrical power | 230V - 50Hz - 6A | |
| Stromaufnahme Rated input power | W | Zundung/Start 420 - Pnom 140 |
| Abmessungen H x L x P Dimensions H x L x P | mm | 958 x 629 x 527 |
| Behalterinhalt Weight | kg | 110 |
- Nennwert - Reduzierter wert / Nominal output and Reduced output
** Der Verbrauch kann je nach Pelletart entsprechlich sein/Pellet consumption can vary according to the type of pellets used.




Abmessungen Pelletofen SABINA
Zeichenerklarung:
A-Luftgitter
B-Netzkabelanschluss
C - Verbrennungsluftansaugung Durchm. 50 mm
D - Anschluss Rauchabzugsrohr Durchm. 80 mm
E - Tör des Pelletsbehälters

1.5 Brennstoff und zulässiger Gebrauch
Die Pelletöfen Funktionieren ausschließlich mit Pellets (Presslingen) aus verschiedenen Holzarten, die die Vorschriften der Normen DIN Plus 51731 oder UNI CEN/TS 14961 oder Ö-Norm M 7135 erfüllen, bzw. folgende Eigenschaften aufweisen:
| Heizwert | min. 4.8 kWh/kg (4180 kcal/kg) |
| - Dichte 680-720 kg/m3 | |
| Feuchigkeit max. 10% des Gewichts | |
| Durchmesser: 6 +0.5 mm | |
| Anteil Asche max. 1.5% des Gewichts | |
| Länge: min. 6 mm - max. 30 mm | |
| Zusammensetzung: | 100% unbehandeltes Restholz aus der Holzindustrie oder aus Recycling ohne Zugabe von Bindestoffen und ohne Rinde gemäß den geltenden Vorschriften |
| - Verpackung in Beuteln aus Ökomaterial bzw. biologisch abbaubarem Material oder Papier | |
Der Pelletbehalter befindet sich im hinteren Bereich des Ofens. Die Tur befindet sich im oberen Teil und die Pelletbeschreibung erfolgt von Hand nur bei ausgeschalteten Ofen, darauf darauf aufchten, dass der Behälter nicht überläuft.
Bei Verwendung von Pellets mit anderen Eigenschaften als vom Techniker bei der ersten Inbetriebnahme getestet, müssen die Parameter der Pelletbeschreibung des Ofens neu eingestellt werden. Diese Eingriff ist von der Garantie ausgeschlossen.

Die Pellets mussen an einem trockenen, vor Feuchtigkeit geschützten Ort gelagert werden
Um einen regulären und effektiven Betrieb saferzustellen, konnen die Pellets oder andere Brennstoff nicht von Hand in den Brenntopf gefuellt werden
- Den Tank nicht mit ungeeigneten Brennstoffen fällen.
- Keine Fremdkörper in den Pelletbehälter einfahren, z.B. Verpackungen, Schachteln, Beutel, Metall, usw.
Durch die Verwendung minderwertiger und ungeeigneter Pellets wird das Gerät beschädigt und der Betrieb beeinträchtigt. In thisem Fall verfällt jeder Garantieanspruch und die Haftung des Herstellers wird ausgeschlossen.
1.6 Zubehör
Der Lieferumfang umfasst:
Netzkabel;
Installations-, Gebrauchs- und Wartungsanleitung;
Schlüssel zum Offnen - Schlieben der Feuerraumtur.
Fembedienung
1.7 Bezugsnormen
Norm UNI 10683:2012: Installationsanforderungen der mit Holz oder anderen biologischen Festbrennstoffen betriebenen Wärmeerzeuger;
Norm EN14785:2006: Anforderungen an Auslegung, Herstellung, Ausführung, Sicherheit und Leistungsvermögen, Anleitung und Kennzeichnung zusammen mit zugehörigen Prüfverfahren für die Typprüfung von Raumheizern für Holzpellets;
Norm EN 60335-1: Sicherheit elektrischer Geräte für den Hausgebrauch und ähnliche Zwecke - Teil 1; Norm EN 60335-2-102: Sicherheit elektrischer Geräte für den Hausgebrauch und ähnliche Zwecke - Teil 2;
Norm EN 55014-1: Elektromagnetische Verträge - Anforderungen an Haushaltsgeräte, Elektrowerkzeuge und ähnliche Elektrogeräte - Teil 1: Storaussendung;
Norm EN 55014-2: Elektromagnetische Verträge - Anforderungen an Haushaltsgeräte, Elektrowerkzeuge und ähnliche Elektrogeräte - Teil 2: Störfestigkeit - Produktfamiliennorm;
Norm EN 61000-3-2: Grenzwerte für Oberschwingungsströme (Geräte-Eingangsstrom ≤16 A je Leiter); Norma CEI EN 61000-3-3: Begrenzung von Spannungsschwankungen und Flicker in Niederspannungs-Versorgungsnetzen für Geräte mit einem Bemessungsstrom ≤16 A je Leiter; Norm EN 62233: Verfahren zur Messung der elektromagnetischen Felder von Haushaltsgeräten und ähnlichen Elektrogeräten in Bezug auf die menschliche Exposition.
Normen DIN plus 51731 - UNI CEN/TS 14961 - Ö-Norm M 7135: Normen über die Spezifikation und Klassifizierung von Pellets.
1.8 Typenschild
Das Typenschild ist innen an der Tur des Pelletbehalters oder an der Ofenrückwand angebracht. Darauf sind alle Kenndaten des Ofens angegeben, einschließlich der Daten des Herstellers, der Seriennummer, der CE-Kennzeichnung, des Prüflabors und der Nummer der Leistungserklarung.
1.9 Außerbetriebsetzung des Ofens
Wird der Ofen definitiv außer Betrieb genommen, muss er vom Stromnetz getrennt, und die Pellets aus dem Behälter entleert werden. Für die Entsorgung muss der Ofen in einer robusten Verpackung verschlossen und nach Absprüche mit den zuständigen Stellen den geltenden gesetzlichen Bestimmungen entsprichend entsorgt, bzw. bei Kauf eines neuen, gleichartigen Geräts an den Handler zurückgegeben werden werden.
1.10 Anleitungen für Eingriffsanforderungen und Ersatzteilbestellungen
Zur Anforderung eines Eingriffs und/oder für Ersatzteilbestellungen wenden Sie sichitte an ihren Handler, den Gebietimporteur oder an den nachstgegenen Vertragskundendienst und geben Sie die folgenden Daten an: Ofenmodell, Seriennummer, Kaufdatum, Ersatzteilliste und Informationen uber die festgestellen Fehlfunktionen oder Betriebsstorungen.

- Alle Eingriffe an den Komponenten müssen von autorisiertem und/oder qualifiziertem Personal ausgeführrt werden.
- Vor jedem Eingriff am Ofen ist immer die Stromversorgung zu unterbrechen. Der Ofen muss kalt sein.
-AusschlieBlich Original-Ersatzteile benutzen.
2 TRANSPORT UND INSTALLATION
2.1 Verpackung, Handhabung, Versand und Transport
Der Ofen kann mit einem Gabelstapler angehoben werden, indem die ausreichend langen Gabeln an den passenden Stellen in der Holzpalette eingefuhr werden. Es muss unbedingt sichergestellt werden, dass die Hebeund Transportmittel für das am Typenschild und im vorliegenden Handbuch angegebene Maschinengewicht geeignet sind.
Auf keinen Fall die Last in Bereichen befindern, in denen das Herunterfallen eine Gefahr darstellen konnte.
Die Verpackung öffnen, den Ofen von der Palette abheben und am Aufstellungssort platzieren, der den Anforderungen entsprechen muss.
Der Ofen sollte mit außerster Vorsicht an der gewünschten Stelle abgestellt werden, wobei Stöbe zu vermeiden sind. Außer dem unbedingt die Tragfähigkeit des Fußbodens in Bezug auf das Ofengewicht prufen und gegebenenfalls einen Fachmann zu Rateziehen.
Die Verpackung muss vom Endbenutzer gemäß den einschlagigen ortlichen Bestimmungen entsorgt bzw. dem Recycling zugeführrt werden.
2.2 Aufstellungssort, Aufstellung und Brandschutz
Der Raum, in dem der Ofen aufgestellt wird, muss ausreichend beluftet sein, damit eine Austragung eventueller geringfugiger Abgasaustritte gewährleistet ist.
Der Ofen eignet sich für das Beheizen von Räumen mit einer Mindesttemperatur von 0^ .
Zur Vermeidung von Branden müssen die Strukturern um den Ofen herum vor der Hitzeinwirkung und der Wärnestrahlung des Feuers geschützt werden.
Holzfußböden oder Fußböden aus entzündbarem Material müssen mit Platten aus Stahl oder geharteten Glas geschützt werden; der Schutz muss außer der Ofenbasis auch einen bestimmten Bereich vor dem Ofen bedecken.
Tragwerke aus Holz und aufgesetzte Holztafeln, durch die das Schornsteinrohr lauft, müssen gemäß den geltenden Installationsvorschriften auf angemessene Weise geschützt werden.
Der Sicherheitsabstand entflammbarer Gegenstände von der Ofenfront beträgt mindestens 1,5 m. Der Sicherheitsabstand von entflammbaren Materialien muss den Angaben der folgenden Tabelle entsprechen:

Be der Installation muss genugend Freiraum gelassen werden, damit das Gerat für die regelmäßig anfallenden Wartungseingriffe problemlos zugänglich ist.
Der Ofen wird mit 4 verstelltaren FüBen geliefert, um die Aufstellung auf nicht perfekt ebenen Fußböden zu erleichtern: Um die Höhe eines StellfuBes zu verstellen, den Ofen etwas neigen und den betreffenden StellfuBdrehen.
Bei Lieferung des Ofens ist der Raumtemperaturfuhler mit einer Schelle an der Ofenrücke angebracht; es wird empfohlen, die Schelle zu entfern und den Führer in der idealen Position anzubringen, in der die bestmögliche Temperaturmessung entsprechend der Umgebung und der Kabellänge gewährleistet wird.
Für eine Temperaturmessung fern vom Ofen wird die Installation eines Raumthermostats/Umrenthermostats empfohlen - siehe Abschn.4.8.

- In Schlafzimmern, in Badezimmern und im Allgemeinen in Räumen, in denen bereits ein anderes Heizgerät aufgestellt ist, ist die Installation des Ofens ohne eine unabhängige Luftzufahr nicht zulässig.
- Auf Holzfußböden muss das Gerät auf einem vorschriftsmäßigen Fußbodenschutz aufgestellt werden.
- Auf jeder Fall sind geeignete Brandbekämpfungsmittel bereit zu stellen.
- Die Installation des Ofens in Räume mit explosiver Atmosphäre ist nicht zulässig.
2.3 Lufteinlass
Der Ansauganschluss bzw. der Luftinlass des Ofens befindet sich im hinteren Teil und hat einen runden Querschnitt mit einem Durchmesser von 50 mm.
In dem Raum, in dem der Ofen aufgestellt wird, muss die einströmende Luftmenge mindestens der notwendigen Verbrennungsluft entsprechen; aus thisem Grund muss die Verbrennungsluft, die notwendig ist, um den regulären Betrieb des Geräts zu garantieren, wie folgt angesaugt werden:
aus dem Raum, sofern an einer AuBenwand in Ofennähe ein mindestens 100cm^2 groBer und auBen mit einem entsprchenden Gitter geschutzter AuBenlufteinlass vorgesehen ist;
oder über eine direkte Verbindung nach außen durch ein geeignetes, max. 1,5 m langes Rohr mit einem Innendurchmesser von mindestens 50 mm und Windschutz (Rohrkrümer nach unten) am Ende.
Die Luftzufuhr kann auch über einen Raum darüber dem Aufstellungsraum erreicht werden, sofern sie frei über bleibende Öffnungen nach außen erfolgt; dieser Raum darft nicht als Garage, Brennstofflager oder für mit Brandgefahr verbundene Tätigkeiten dienen.
2.4 Abgasführung
Der Rauch kann durch den Anschluss an ein herkömmliches Schornsteinrohr oder an eine Außenleitung mit isoliertem oder doppelwandigem Rohr abgeführt werden.
Die Anschlüsse der Abgasfuhrung müssen einen Mindestzug von 10 Pa garantieren, damit der Rauchabzug auch bei vorübergehendem Stromausfall sichergestellt ist.

Die Funktionstüchtigkeit und der einwandfrei Zustand des Schornsteinrohrs sowie dessen Konformität mit den örtlichen, nationalen und europäischen Vorschriften ist unbedingt vom Installationstechniker zu prufen.
- Es müssen zertifizierte Rohre und Anschlüsse mit angemessenen Dichtungen verwendet werden.
- Im Brandfall den Ofen ausschalten, sofort die Feuerwehr rufen und keine weiteren Löschversuche unternehmen.
- Die Rauchgasableitung und das entsprechende Rauchrohr mindestensomal jährlich reinigen.
2.4.1 Installationsarten
Nachstehend werden die Vorgaben und Anforderungen aufgeführrt, die für die korrekte Installation eines Rauchabzugs gemäß der italienischen Norm UNI 10683 erfüllt werden müssen:
SCHORNSTEIN: Aufwärtsfuhrende bauliche Vorrichtung zum Sammeln und zur Abführung der Verbrennungsk Produkte einer, bzw. in den zulässigen Fällen mehrerer Feuerstätten in einer angemessenen Höhe vom Boden. Technische Anforderungen des SCHORNSTEINS:- abgasdicht mit vom Einsatz abhängiger Isolierung und Wärmedämmung;
- überwiegend senkrechter Verlauf mit Achsabweichungen < 45^
- ausreichender Abstand von entflammbarem Material, mit Luftspalt oder isolierendem Zwischenraum;
- vorzugsweise mit rundem, konstantem, freiem und unabhängigem Querschnitt;
- der Schornstein sollte eine inpizierbare Kammer zum Auffangen fester Stoffe und eventuell sich bildendem Kondensat besitzen, die unter dem Eingang des Abgaskanals angebracht ist.

ABGASKANAL oder RAUCHROHR: Leitung oder Verbindungsstück zwischen Feuerstätte und Schornstein für die Abführung der Verbrennungsk Produkte.
Technische Anforderungen an den ABGASKANAL: - Der Abgaskanalarf keine Räume durchqueren, in denen die Installation von Heizgeräten verboten ist;
- die Verwendung von Metallschläuchen oder Rohren aus Asbestzement ist verboten;
- die Verwendung von Elementen mit Gegenneigung ist verboten;
- in den waagerechten Abschnitten darauf der Kanalverlauf max. 3% Steigung haben;
- Die Länge des horizontalen Abschnitts muss kurz gehalten werden und darauf auf keinen Fall länger als 3 m sein;
- ohne T-Stückarf nicht offen als 3 Mal die Richtung gewechselt werden;
- bei Richtungswechsel >90^ max. 2 Rohrkrümmer mit einer horizontal gemessenen Länge von nicht über 2 m verwenden.
- Der Abgaskanal muss einen konstanten Querschnitt haben und das Auffangen von Ruß gestatten.
SCHORNSTEINKOPF: Vorrichtung am oberen Ende des Schornsteins, die den Austritt der Verbrennungskprodukte in die Atmosphäre erleichtert.
Technische Anforderungen an den SCHORNSTEINKOPF: - gleicher Querschnitt wie der Schornstein;
- der Nutzquerschnitt darf nicht kleiner als das Zweifache des Schornstein-Innendurchmessers sein;
- der Schornsteinkopf muss das Eindringen von Regen und Fremdkörpern verhindern und in jeder Witterung die Abführung der Verbrennungssprodukte sicherstellen;
- er muss eine angemessene Verdünning der Produkte garantieren und außerhalb des Rückflussbereichs positioniert sein;
- er muss frei von mechanischen Saugvorrichtungen sein.

Die direkte Abführung der Verbrennungsdprodukte muss vom Dach erfolgen. Die Abführung in geschlossene Bereiche, auch unter freiem Himmel, ist verboten.
2.5 Positionskontrolle von Brenntopf und Abweiser
Vor dem Einsatz des Ofens unbedingt kontrollieren, ob sich der Brenntopf in korrekter Position befindet, d.h. in den hierfür vorgesehenen Aufnahmen eingerastet ist. Inoltre controllare che il deviatore fumi superiore sa incastrato nella propria sede. Una posizione errata del deviatore comporta malfunzionamenti ed unecessivo annerimento del vetro .

Jedes Mal, wenn das Gerät eingeschaltet werden, muss die korrekte Position des Brenntopfes im Brenntopfhalter kontrolliert werden.
2.6 Elektrischer Anschluss
Das eine Ende des Netzkabels an den Stecker an der Ofenrückseite, das andere Ende an eine Wandsteckdose anschließen.
Die vom Stromnetz gelieferte Spannung muss den Angaben auf dem Typenschild des Ofens und den im vorliegenden Handbuch enthaltenen technischen Daten entsprechen.
Wenn der Ofen nicht benutzt wird, den Stromanschluss trennen.

Die elektrische Anlage muss vorschrittsmäßig ausgeführrt und gemäß den geltenden Bestimmungen mit einer Erdung und einem Fehlerstromschutzschalter ausgestellt sein.
Das Netzkabelarf auf keineilen Fall mit dem Abzugsrohr des Ofens in Berührung kommt.
2.7 Elektroschaltplan

ALF = Haupt-Sicherheitsthermostat
ALC = Unterdruckmesser
2.8 Notfallmaßnahmen
Auf jeder Fall sind geeignete Brandbekämpfungsmittel bereit zu stellen.
Im Brandfall folgendermaßen vorgehen:

- Stromzufuhr sofort trennen.
- Mit geeigneten Feuerlöschern loschen;
- Sofort die Feuerwehr rufen.
- Nicht mit Wasserlöschen.
3 SICHERHEITSRELEVANTE HINWEISE UND VORRICHTUNGEN
3.1 Sicherheitsabstand von entflammbaren Materialien
Um den Ofen herum muss ein Mindestsicherheitsabstand von entflammbaren Materialien eingehalten werden, damit sich diese nicht durch Überhitzung entzünden; die entsprechenden Abstände sind in der technischen Tabelle des Handbuches und auf dem Typenschild angegeben.
Fußboden: Wenn der Fußboden aus empfindlichem und entflammbarem Material besteht, solle als Ofen-Unterlage eine Platte aus Stahl oder geharteten Glas benutzt werden (siehe Kapitel 2 Transport und Installation). Zualanders empfindlichen Einrichtungsgegenständen wie Möbel, Vorhänge, Sofas muss eine beachtliche Entfernung vom Ofen eingehalten werden
3.2 Sicherheitsvorrichtung Abgasführung
3.3 Überdruckventil in der Verbrennungskammer
Eventuelle und/oder plottliche Überrücke der Verbrennungsgase in der Kammer und in den Rauchabzugsleitungen werden durch das Öffnen der Sicherheitsventile, die sich am vorderen Teil der Brennkammer befinden, abgelassen. Wahlrend des normalen Betriebs sind diese Ventile durch das eigene Gewicht und den Unterdruck der Kammer geschlossen und verhindern dadurch einen eventuellen Rauchaustritt.

Die Sicherheitsventile regelmäßig auf ihre Funktionstüchtigkeit und ihren Zustand überprüfen.
3.4 Überhitzung-Sicherheitsthermostat Temperatur Pellettank

Am Pelletsforderer befindet sich ein mit einem Sicherheitsthermostat gekoppelter Temperaturfuhler, der die Pelletszuführung bei Überhitzung >85^ automatisch unterbricht. In diesen Fall laufen das Saugzuggebäse und/oder die Ventilatoren weiter, damit der Ofen schnell abkühlen kann. Die Anomalie wird mit der Meldung 'AL 7 THERMOSICHERUNG' am Bedienpanel angezeigt. Bei Ansprechen des Thermostats folgendermaßen vorgehen Den Ofen mindestens 45 Minuten abkühlen halten. Nach Aufschrauben der Sicherheitsabdeckung den Thermostat durch Drucken der Taste kein dem Schalter an der Ofenrückseite zurücksetzen (siehe darüberstehende Abbildung). Den Ofen dann ganz normal wieder einschalten.
3.5 Flammenrückschlagschutz im Pelletzuführungskanal
Das Rückschlagen der Flammen wird verhindert durch:
Unterdruck in der Verbrennungskammer siehe Absatz 3.2
Siphonform des Pelletzuführungskanals.
Überhitzungsschutz des Pelletbehalters siehe Absatz 3.4.
3.6 Überstrom-Schutzvorrichtung
Der Ofen ist durch 2A-Sicherung(en) an der Zuleitung des hinten angebrachten Hauptschalters gegen Überstrom geschützt.
3.7 Schutz bei Stromausfall
Bei kurzen Unterbrechungen der Stromversorgung wird das Gerät automatisch wieder eingeschaltet.
Ein vorübergehender Stromausfall beeinträchtigt den Sicherheitsstandard des Ofens nicht und die Behaltertemperatur kann aufgrund der begrenzten Pelletmenge im Brenntopf nicht zu hoch werden (< 85^) .
Während des Stromausfalls kann für kurze Zeit Rauch in den Raum austreten, was jedoch ungefährlich ist.

An den Sicherheitseinrichtungen dürfen keine Eingriffe vorgenommen werden.
3.8 Abgasventilator defekt
Wenn aus irgendem Grund der Abgasventilator stehen bleibt, blockiert die elektronische Regelung sofort die Pelletzuführung und die Meldung 'AL4 FAN FAIL' wird angezeigt.
4 GEBRAUCH DES OFENS
4.1 Vorwort
Der Pelletofen vereint die wohlige Wärme von Holzfeuer mit der bequemen automatischen Temperaturregelung und der Möglichkeit, die Ein-und der Ausschaltung für dieGPCe zu programmieren.
Der Ofen kann an einen externen Thermostat und/oder Uhrenthermostat angeschlossen werden, um die Temperatur fern vom Aufstellungsord des Ofens zu messen.
Für einen sicheren und zuverlässigen Betrieb befolgen Sieitte die nachstehenden Vorschriften:
- Bei der Erstinbetriebnahme können unangenehme Gerüche auftreten, davon sollen den Sie für eine gute Belüftung des Raums sorgen. Dies gilt vor allem für die erste Betriebszeit.
- Der Behalterarf ausschlieBich mit Pellets beschicht werden; beim Nachfulen vermeiden, dass der Beutel mit der heiBen Oberflache des Ofens in Kontakt kommt.
- Keinen anderen Brennstoff als Pellets, die die Vorschriften erfüllen, in den Ofen einfahren.
- Der Ofenarf nicht zur Mullverbrennung verwendet werden.
- Der Ofenarf ausschlieBlich mit geschlossener Feuerraumtur betrieben werden.
- Die Dichtungen der Feuerraumtür sind regelmäßig zu prüfen, um Luftinfiltrationen auszuschlieben.
- Um eine gute Wirkungsgrad und einen einwandfrei Betrieb zu gewährleisten, muss der Brenntopf vor jeder Pelletbeschreibung gereinigt werden.
- Bei der ersten Inbetriebnahmearf der Ofen nicht uberhitz werden,sondern mss allmahlich durch Einstellen niedriger Temperatren auf Betriebstemperatur gebracht werden (siehe Absatz "Temperatureinstellung").
- Aufgrund der Wärmeausdehnung kann der Ofen beim Einsatzen, während des Betriebs und beim Ausschalten leichte Gerausche von sich geben.
4.2 Beschreibung des Bedienpanels
Das Bedienpanel besteht aus einem hinterleuchteten LCD-Display, der Ein-/Ausschalttaste 'P4', der Funktionstaste SET/MENU 'P3', den vier Menutasten 'P1', 'P2', 'P5', 'P6' und 7 LEDs, die den Betriebszustand des Ofens anzeigen.

Vom Bedienpanel kann der Ofen ein- und ausgeschelt, der Betrieb geregelt, das Regel- und das Wartungsprogramm eingerichtet werden.
Auf dem Display werden alle Informationen über den Betriebszustand des Ofens angezeigt.
Die Menus werden wie folgt aufgerufen:
Die Taste SET 'P3' drucken;
-
mehrals der Tasten 'P5'; 'P6' drucken, um durch die verschiedene Menüs zu blättern;
-
eine der Tasten Erhöhen/Verringern 'P1', 'P2', drücken, um den gewünschten Parameter einzustellen;
- die Taste SET 'P3' drücken, um den Parameterwert zu bestätigen.
Nach Öffnen des Menus können die verschiedene Anzeigearten eingerichtet und die je nach Zugriffsebene verfügbar Baren Einstellungen vorgenommen werden.
In der nachstehenden Tabelle sind die Befehle und die während der Programmierung oder Einstellung der Betriebsparameter jeweils angezeigten Meldungen aufgeführrt:
| Taste Beschreibung Betriebsart Vorgang | ||
| 1 | Temperatur erhöhen | PROGRAMMIERUNG Gewählten Menüwert ändern/erhöhen |
| ARBEIT/OFF Temperaturwert des Raumthermostats erhöhen | ||
| 2 | Temperatur verringn | PROGRAMMIERUNG Temperaturwert des Raumthermostats erhöhen |
| ARBEIT/OFF Temperaturwert des Raumthermostats verringn | ||
| 3 | Set/Menu | - MENÜR öffnen |
| MENÜR Nächste Untermenü-Ebene öffnen | ||
| PROGRAMMIERUNG Wert einstellen und zum{nachsten Menüpunkt wechseln | ||
| 4 | ON/OFF Freigabe | ARBEIT 2 Sekunden drücken, um den ausgeschaltenen Ofen ein- bzw. den eingeschalteten Ofen auszuschalten |
| SPERRE Den Ofen rücksetzen und wieder aussalten | ||
| PROGRAMMIERUNG Zur{nachsteheren Menüebene wechseln; die vorgenommenen Änderungen werden gespeichert | ||
| 5 | Leistungsstufe erhöhen | ARBEIT/OFF Leistungsabgabe des Ofens ändern |
| MENÜR Zum{nachsten Menüpunkt wechseln | ||
| PROGRAMMIERUNG Zum{nachsten Untermenüpunkt wechseln; die vorgenommenen Änderungen werden gespeichert | ||
| 6 | Leistungsstufe verringn | ARBEIT/OFF Drehzahl des Wärmetauschers ändern |
| MENÜR Zum vorherigen Menüpunkt wechseln | ||
| PROGRAMMIERUNG Zum vorherigen Untermenüpunkt wechseln; die vorgenommenen Änderungen werden gespeichert | ||
Auf der nebenstehenden Abbildung ist die Bedeutung der Statusanzeigen links am Display aufgeführrt.
Wenn im Display eines der Segmente aufleucht, wurde die jeweilige, in der bereits henden Beste aufgeführte Vorrichtung aktiviert.

4.3 Einsatzen
4.3.1 Kontrolle vor Inbetriebnahme
Vor dem Einschalten des Ofens mussen folgende Kontrollen durchgefuhrt werden:
- Die Betriebsanleitung muss gelesen und verstanden worden sein.
- Der Behälter muss mit Pellets gefällt sein.
Die Brennkammer muss sauber sein. - Der Brenntopf muss sauber, vollständig frei von eventuellen Verbrennungsrückständen und korrekt im Brenntopfhalter positioniert sein.
- Feuerraumtür und Aschekasten müssen dicht verstlssen sein.
- Das elektrische Kabel muss korrekt angeschlossen sein und der Schalter an der Ofenrückseite muss auf ON/1 stehen.

- Wenn der Ofen zum ersten Mal in Betrieb genommen wird, alle brennbaren Teile (Betriebsanleitung/Etikett) aus dem Feuerraumnehmen und von der Glasscheibe entfernen.
- Wird der Ofen nach längerem Stillstand eingeschaltet, mussen die eventuell schon lange im Behälter liegenden Pelletreste durch neue Pellets ersetzt und die Brennkammer vollständig gereinigt werden, da dieser Brennstoff feucht und nicht mehr zur Verfeuerung geeignet ist.
4.3.2 Zündvorgang
Zum Einsatz des Ofens die Taste 'P4' 3 Sekunden lang drücken: Auf dem Display erscheint die Anzeige 'EINSCHAL'.
These Phase ist automatisch und wird von der Regelung gesteuert, ohne die Parameter ändern zu konnen.

Der Ofen führt nacheinander die von den Parametern fur Ebenen und Zeit vorgegeben Einsatzphasen durch und ist danach betriebsbereit, sofern keine der in der nachstehenden Übersicht aufgeführten Störungen oder Alarme auftreten:
| Status | Dauer | Vorrichtungen | Bedingungen für den Wechsel auf{nachsten Status} | |||
| Zünder | Rauchabs. | Förderschnecke | Wärmet. | |||
| AUS | - | OFF | OFF | OFF | ON/OFF | |
| START - VORERW. | Pr33 | OFF ON OFF OFF | Ablauf Zeit Pr33 Sek. | |
| VORWÄRMUNG | Pr34 | ON ON OFF OFF | Ablauf Zeit Pr34 Sek. | |
| PELETS NACHFULLEN | Pr40 | ON ON ON OFF | Ablauf Zeit Pr40 Sek. | |
| WARTEN AUF FLAMME | Pr41 | ON ON OFF OFF | Ablauf Zeit Pr41 Sek. | |
| PELETS EINFULLEN | - | ON ON ON OFF | Abgastemperatur Pr13 | |
| FEUER VORHANDEN | Pr02 | OFF ON ON ON | Ablauf Zeit Pr02 Sek. | |
| ARBEIT | - | OFF ON ON ON | Raqumtemperatur < SET TemperaturAbgastemperatur < Pr14 | |
| ARBEIT MODULIEREN | - | OFF ON ON ON | Raqumtemperatur < SET TemperaturAbgastemperatur < Pr14 | |
| BRENNTOPFREINIGUNG | Pr12 | OFF ON ON ON | Mit Invervall Pr03 | |
| ARBEIT | - | OFF ON ON ON | ON/OFF zum Ausschalten | |
| ENDREINIGUNG | Pr39 (*) | OFF ON OFF | (*) Pr39 Ab dem Moment in dem Abgastemp. < Pr13 |
Wenn die Abgastemperatur nach Ablauf einer bestimmten Zeit nicht den zulässigen Mindestwert erreicht hat, schaltet der Ofen auf Alarmzustand.

- Der Ofenarf nicht mit entzündlichen Flüssigkeiten angezündet werden.
- Sollten wiederholt Probleme beim Anzünden auftreten, kontaktieren Sieitte den Kundendienst.
4.4 Betriebsphase
Nach erfolgreichem Abschluss des ZündVGANGS' wechsel der Ofen auf den normalen Betriebszustand 'BETRIEB'.
Der Benutzer kann die Heizleistung mit den Tasten 'P5' und 'P6' von der hochsten Heizstufe 5 bis zurkleinsten Heizstufe 1 regeln.

Neben der Leistungsstufe kann mit den Tasten 'P1' und 'P2' auch die Raumtemperatur direkt am Bedienpanel eingestellt werden: Auf dem Display wird der aktuelle Status des Temperatur-Sollwerts angezeigt. Für das Heiluftgeblase regelt der Ofen die Drehzahl automatisch entsprechend der eingestallenten Leistungsstufe.


- Unbedingt den Füllstand der Pellets im Behälter kontrollieren, um zu vermeiden, dass die Flamme aufgrund von Brennstoffmangel erlischt.
- Zum Einfüllen der Pellets muss der Ofen ausgeschaltet sein.
- Il coperchio del serbatoio pellet deve rinanere sempre chiuso, va aperto durante solamente durante il caricamento del combustibile.
- Die Pelletsäcke müssen in mindestens 1,5 m Entfernung vom Ofen aufbewahrt werden.
Sobald die Raumtemperatur den vorgegebenen Wert erreicht hat oder die Abgastemperatur den vorgegebenen Hochstwert erreicht hat, erscheint auf dem Bedienpanel die Meldung 'MODULIEREN F' e und der Ofen aktiviert den Vorgang zur Flammenmodulation, ohne dass der Bediener eingreifen muss. Wenn die Temperatur hingegen 280^ übersteigt, erscheint die Alarmmeldung 'ALARM HOT ABGASE und der Ofen aktiviert den Abschaltvorgang. Bei Aktivierung der Betriebsart STANDBY wird der Ofen nach einer bestimmen Nachlaufzeit ausgeschelt, nachdem er den Temperatur-Sollwert erreicht hat. Sobald die Raumtemperatur unter einen vorgegebenen Wert sinkt, wird der Ofen wieder eingeschaltet.
Während des normalen Betriebs wird in bestimmen vorgegebenen Zeitabständen die Betriebsart 'BRENNTOPFREINIGUNG' aktiviert, deren Dauer ebenfalls vorgegeben ist.

4.5 Ausschalten
Zum Ausschalten des Ofens einfach die Taste 'P4' etwa 2 Sekunden lang drücken.
Die Förderschnecke wird sofort angehalten, das Saugzuggebäse schaltet auf eine hohe Drehzahl und auf dem Display erscheint die Meldung 'ENDREINIGUNG'; beiden Motoren, d.h. des Saugzug- und des HeiBluftgebläses, bleiben eingeschaltet, bis die Ofentemperatur ausreichend gesunken ist.

Am Ende des Vorgangs erscheint im Dialogfenster auf dem Display die Meldung 'OFF'.
Während der Abschaltphase kann der Ofen nicht wieder eingeschalten werden, bevor die Abgastemperatur für eine vorgegebene Dauer unter einen ebenfals vorgegebenen Wert gesunden ist. Im Dialogfenster erscheidt die Meldung 'ABKÜHLEN, BITTE WARTEN'.
4.6 Menu
Durch Drücken der Taste 'P3' (SET) öffnet sich das Menu; diese ist in verschiedene Optionen und Ebenen unterteilt, über die die Einstellungen der elektronischen Regelung aufgerufen werden können.
In der nachstehenden Übersicht ist die Menüstruktur und nur die für den Benutzer verfügbarbaren Optionen dargestellt.
| Ebene 1 Ebene 2 | Ebene 3 | Ebene 4 | Wert | |
| 01 - Lüfter regeln | Wert wahren | |||
| 02 - Uhr einstellen | 01 - Tag Tag | |||
| 02 - Stunden Stunden | ||||
| 03 - Minuten Minuten | ||||
| 04 - Tag Tag | ||||
| 05 - Monat Monat | ||||
| 06 - Jahr Jahr | ||||
| 03 - Uhrenthermostat einstellen | ||||
| 01 - Uhrenthermostat aktivieren | ||||
| 01 - Uhrenthermostat aktivieren | on / off | |||
| 02 - Program Tag | ||||
| 01 - Uhrenthermostat Tag | on / off | |||
| 02 - Start 1 Tag | Uhrzeit | |||
| 03 - Stop 1 Tag | Uhrzeit | |||
| 04 - Start 2 Tag | Uhrzeit | |||
| 05 - Stop 2 Tag | Uhrzeit | |||
| 03 - ProgramWoche | ||||
| 01 - UhrenthermostatWoche | on / off | |||
| 02 - Start 1 Tag | Uhrzeit | |||
| 03 - Stop 1 Tag | Uhrzeit | |||
| 04 - Montag Prog 1 | on / off | |||
| 05 - Dienstag Prog 1 | on / off | |||
| 06 - Mittwoch Prog 1 | on / off | |||
| 07 - Donnerstag Prog 1 | on / off | |||
| 08 - Freitag Prog 1 | on / off | |||
| 09 - Samstag Prog 1 | on / off | |||
| 10 - Sonntag Prog 1 | on / off | |||
| 11 - Start Prog 2 | Uhrzeit | |||
| 12 - Stop Prog 2 | Uhrzeit | |||
| 13 - Montag Prog 2 | on / off | |||
| 14 - Dienstag Prog 2 | on / off | |||
| 15 - Mittwoch Prog 2 | on / off | |||
| 16 - Donnerstag Prog 2 | on / off | |||
| 17 - Freitag Prog 2 | on / off | |||
| 18 - Samstag Prog 2 | on / off | |||
| 19 - Sonntag Prog 2 | on / off | |||
| 20 - Start Prog 3 | Uhrzeit | |||
| 21 - Stop Prog 3 | Uhrzeit | |||
| 22 - Montag Prog 3 | on / off | |||
| 23 - Dienstag Prog 3 | on / off | |||
| 24 - Mittwoch Prog 3 | on / off | |||
| 25 - Donnerstag Prog 3 | on / off | |||
| 26 - Freitag Prog 3 | on / off | |||
| 27 - Samstag Prog 3 | on / off | |||
| 28 - Sonntag Prog 3 | on / off | |||
| 29 - Start Prog 4 | Uhrzeit | |||
| 30 - Stop Prog 4 | Uhrzeit | |||
| 31 - Montag Prog 4 | on / off | |||
| 32 - Dienstag Prog 4 | on / off | |||
| 33 - Mittwoch Prog 4 | on / off | |||
| 34 - Donnerstag Prog 4 | on / off | |||
| 35 - Freitag Prog 4 | on / off | |||
| 36 - Samstag Prog 4 | on / off | |||
| 37 - Sonntag Prog 4 on / off | ||||
| 04 - Program Wochenende | ||||
| 01 - Uhrenthermostat Wochenden de on / off | ||||
| 02 - Start 1 | ||||
| 03 - Stop 1 | ||||
| 04 - Start 2 | ||||
| 05 - Stop 2 | ||||
| Ebene 1 Ebene 2 | Ebene 3 | Ebene 4 | Wert | |
| 04 - Sprache wahren | ||||
| 01 - Italienisch Set | ||||
| 02 - Französisch | Set | |||
| 03 - Englisch | Set | |||
| 04 - Deutsch | Set | |||
| 05 - Standbybetrieb | on / off | |||
| 06 - Summer | on / off | |||
| 07 - Erste Pelletfüllung | Set | |||
| 08 - Betriebszustand des Ofens | - | |||
4.6.1 Menu 01 - Lüfter regeln
Die Drehzahl der Lüfterräder ist automatisch und hängt von der eingestellen Leistung ab. Wenn der Zustrom von Warmluft eingeschränkt werden soll, kann die max. Drehzahl mit der Option von Menu 01 von Hand auf einen Wert zwischen 1 und 5 eingestellt werden: wird zum Beispiel der Wert 3 eingestellt, erhöhen die Lüfter automatisch die Drehzahl, ohne jeder die eingestellte Drehzahlstufe 3 zu übersteigen.
In der kanalisierbaren Ausführung wird der elektrische Anschluss durch Aufleuchten der zwei LED-Segmente [B] angezeigt.
4.6.2 Menu 02-Uhr einstellen
Die elektronische Regelung ist mit einer 3-Volt-Lithiumbatterie Typ CR2032 ausgestattet, dank der die interne Uhr eine Autonomie besitzen; falls die Uhr bei ausgeschalteten Ofen die Uhrzeit nicht gespeichert hält oder wenn bei Wiedereinschalten eine Reihe von Nullen angezeigt wird, muss die Batterie vom Kundendienst ausgewechselt werden.
4.6.3 Menu 03 - Uhrenthermostat aktivieren
Dient zur Aktivierung und Deaktivierung aller Funktionen des Uhrenthermostats; bei Wahl auf ON wird die Funktion aktiviert und das entsprechende LED-Segment [D] leuchtet auf.
Bei Eingabe der Tagesprogrammierung G,
Wochenprogrammierung S bzw. Wochenendprogrammierung W leuchtet im oberen Displayabschnitt rechts das jeweilige LED-Segment [C] auf.
Was die Auswahl der Optionen und die Eingabe der Uhrzeiten betrifft, müssen die sechs Tasten gemäß den Anleitungen in der Tabelle von Absatz 4.2 betätig werden.
Bei Öffnen des Untermenüs: PROGRAM TAG konnen die täglich programmierten Funktionen des Uhrenthermostats aktiviert, deaktiviert und eingestellt werden.
Es konnen zwei Betriebsphasen eingestellt werden, die von den gemäß nachstehender Tabelle eingestillten Uhrzeiten begrenzt werden. Die Einstellung OFF bedeutet, dass die Uhr den Befehl ignorieren soll.

| Bedeutung Auswahl | Mögliche Werte | |
| START 1 | Aktivierungsuhrzeit | ora - OFF |
| STOP 1 | Deaktivierungsuhrzeit | ora - OFF |
| START 2 | Aktivierungsuhrzeit | ora - OFF |
| STOP 2 | Deaktivierungsuhrzeit | ora - OFF |
Bei Offnen des Untermenus: PROGRAM WOCHE konnen die wochentlich programmierten Funktionen des Uhrenthermostats aktiviert, deaktiviert und eingestellt werden.
Das Wochenprogramm verfügt über 4 unabhängige Programme, deren Endeffekt aus der Kombination der 4 Programmierungen besteht.
Das Wochenprogramm kann aktiviert oder deaktiviert werden.
Durch Eingabe von OFF in das Feld mit den Stunden wird der entsprechende Befehl ignoriert.

Die Programmierung muss mit größter Sorgfalt durchgeführt werden. Darauf achten, dass sich die Aktivierungs- und/oder Deaktivierungszteiten nicht am Selben Tag in verschiedene Programmen überlagern.
| PROGRAMM 1 | |||
| Mentiebene Auswahr | Bedeutung | Mögliche Werte | |
| 03-03-02 | START PROG 1 | Aktivierungsrhzeit | ora - OFF |
| 03-03-03 | STOP PROG 1 | Deaktivierungsrhzeit | ora - OFF |
| 03-03-04 | LUNEDI PROG 1 | Bezugstag | on/off |
| 03-03-05 | MARTEDI PROG 1 | on/off | |
| 03-03-06 | MERCOLEDI PROG 1 | on/off | |
| 03-03-07 | GIOVEDI PROG 1 | on/off | |
| 03-03-08 | VENERDI PROG 1 | on/off | |
| 03-03-09 | SABATO PROG 1 | on/off | |
| 03-03-10 | DOMENICA PROG 1 | on/off | |
| PROGRAMM 2 | |||
| Mentiebene Auswahr | Bedeutung | Mögliche Werte | |
| 03-03-11 | START PROG 2 | Aktivierungsrhzeit | ora - OFF |
| 03-03-12 | STOP PROG 2 | Deaktivierungsrhzeit | ora - OFF |
| 03-03-13 | LUNEDI PROG 2 | Bezugstag | on/off |
| 03-03-14 | MARTEDI PROG 2 | on/off | |
| 03-03-15 | MERCOLEDI PROG 2 | on/off | |
| 03-03-16 | GIOVEDI PROG 2 | on/off | |
| 03-03-17 | VENERDI PROG 2 | on/off | |
| 03-03-18 | SABATO PROG 2 | on/off | |
| 03-03-19 | DOMENICA PROG 2 | on/off | |
| PROGRAMM 3 | |||
| Mentiebene Auswahr | Bedeutung | Mögliche Werte | |
| 03-03-20 | START PROG 3 | Aktivierungsrhzeit | ora - OFF |
| 03-03-21 | STOP PROG 3 | Deaktivierungsrhzeit | ora - OFF |
| 03-03-22 | LUNEDI PROG 3 | Bezugstag | on/off |
| 03-03-23 | MARTEDI PROG 3 | on/off | |
| 03-03-24 | MERCOLEDI PROG 3 | on/off | |
| 03-03-25 | GIOVEDI PROG 3 | on/off | |
| 03-03-26 | VENERDI PROG 3 | on/off | |
| 03-03-27 | SABATO PROG 3 | on/off | |
| 03-03-28 | DOMENICA PROG 3 | on/off | |

| PROGRAMM 4 | |||
| Menüebene | Auswahl | Bedeutung | Möliche Werte |
| 03-03-29 | START PROG 4 | Aktivierungssuhrzeit | ora - OFF |
| 03-03-30 | STOP PROG 4 | Deaktivierungssuhrzeit | ora - OFF |
| 03-03-31 | LUNEDI PROG 4 | Rezugänge | on/off |
| 03-03-32 | MARTEDI PROG 4 | on/off | |
| 03-03-33 | MERCOLEDI PROG 4 | on/off | |
| 03-03-34 | GIOVEDI PROG 4 | on/off | |
| 03-03-35 | VENERDI PROG 4 | on/off | |
| 03-03-36 | SABATO PROG 4 | on/off | |
| 03-03-37 | DOMENICA PROG 4 | on/off | |
Bei Öffnen des Untermenüs: PROGRAM WOCHENENDE können die Funktionen des Uhrenthermostats am Wochenende aktiviert, deaktiviert und eingestellt werden (Wochenende: Samstag - Sonntag).

Die Programmierung WOCHENENDE nur nach Deaktivierung der Wochenprogrammierung aktivieren. Um ein unbeabsichtigtes Ein- und Abschalten zu vermeiden, jeweils immer nur ein Programm aktivieren. Das Tagesprogramm deaktivieren, wenn das Wochenprogramm verwendet werden soll; mit dieser Einstellung empfeht es sich, das Wochenendprogramm zu deaktivieren.
4.6.4 Menu 04 - Sprache wahlen
Mit dieser Option kann die gewünschte Dialogsprache unter den im Menu verfügbarbaren Sprachen gewählt werden, und darüber:
ITALIENISCH
FRANZÖSISCH
ENGLISH
- DEUTSCH
4.6.5 Menu 05 - Standbybetrieb


Bei Wahl des Standbybetriebs wird der Ofen automatisch abgeschalte, nach dem die Raumtemperatur für eine vorgegebene Zeit über dem Sollwert geblieben ist.
Daraufhin kann der Ofen erst dann wieder automatisch eingeschaltet werden, wenn die Raumtemperatur unter den in der Parametertabelle angegebenen Wert sinkt (Voreinstellung 2 °C).
Manuelle Steuerungen vom Bedienpanel oder von der Fernbedienung haben Vorrang vor der Programmierung.
4.6.6 Menu 06 - Summer
Mit dieser Option kann der Signalon des Ofens aktiviert oder deaktiviert werden.
4.6.7 Menu 07 - Erste Pelletfüllung
Die Einstellung ERSTE PELLETFULLUNG gestattet, bei ausgeschalteten oder kaltem Ofen für die Dauer von 90 Sek. eine erstige Pelletfllung durchzufahren. Die Füllung wird mit der Taste P1 gestartet und mit der Taste P4 abgebrochen.

4.6.8 Menu 08 - Betriebszustand des Ofens
Mit dieser Option kann der aktuelle Betriebszustand des Ofens aufgerufen und der Status der verschiedeneen, davon angeschlossenen Vorrichtungen angezeigt werden; für die Überwachung stehen mehrere aufeinander folgende Seiten zur Verfügung.
4.6.9 Menu 09 - Vom Techniker vorgenommene Einstellungen
These Option ist ausschließlich dem vom Kundendienst COLA befugten Techniker vorbehalten.

Die technischen Parameter im Menu 09 dürfen nur von hierzu befugtem Fachpersonal geändert werden; etwaige willkürliche Änderungen können ernste Schäden verursachen und entbinden die Firma COLA von jeder Haftung.
4.7 Fernbedienung
Die Fernbedienung Funktioniert mit den am Bedienpanel vorgenommen Einstellungen und dient zum Ein/Ausschalten des Ofens sowie zur Regelung der Leistung und der gewünschten Temperatur. Da sie an eine Infrarotdiode sendet, muss sie zum Empfänger im Bedienpanel gerichtet werden.
Die Fernbedienung gestattet folgende Vorgänge:

L: Die LED leuchtet bei jedem Tastendruck auf
Taste P1+P6: Ofen ein-/ausschalten
Taste P1: Baumtemperatur erhöhen
Taste P6: Leistungsstufe erhöhen
Taste P5: Leistungsstufe verringern
Taste P2: Raumtemperatur verringn

4.7.1 Batterie wechseln
Die Fernbedienung wird ohne Batterie geleifert, sie Funktioniert mit einer Batterie, die an der Unterseite des Geräts eingesetzt wird. Zum Einsetzen und eventuellen Wechseln der Batterie folgendermaßen vorgehen:
- Abdeckung an der Rückseite der Fernbedienung öffnen;
- Batterie Modell p23ga 12V einlagen, damit auf die korrekte Polung achten;
Fernbedienung schreiben; - Kontrollieren, ob die Fernbedienung korrekt Funktioniert.

- Die Fernbedienung fern von direkten Wärmequellen und Wasser halten.
- Die Batterie der Fernbedienung muss safer und unter Befolgung der ortlichen Vorschriften ausgewechselt und entsorgt werden.

4.8 Thermostat - externer Uhrenthermostat
Serienmäßig regelt das Gerät die Raumtemperatur mit einem Digitalthermometer, der die Temperatur über einen Temperaturfuhler misst und bei Erreichen der eingestellten Temperatur die Leistung verringgert.
Wenn ein externer Thermostat verwendet werden soll, wenden Sie sichitte an einen befugten Techniker, der die folgenden Anleitungen befolgen muss:
- Gerät mit dem Hauptschalter an der Rückseite ausschalten und Netzkabel trennen.
- Die seitliche Verkleidung abnehmen, um die elektronische Regelung freizulegen.
- Unter Bezugnahme auf den elektrischen Schaltplan die zwei Kabel des Thermostats an die Klemmen TERM der Platine anschließen.
- Alles wieder einbauen und den korrekten Betrieb kontrollieren.
Wie folgt konfigurieren:
- Externer Thermostat: Einen Temperatur-Sollwert von 7^ einstehen;
- Externer Uhrenthermostat: Einen Temperatur-Sollwert von 7^ einstellen und vom Menu 03-01 die Uhrenthermostat-Funktionen deaktivieren.
Bei jeder Einstellungändern sich die anderen Funktionen des Menüs nicht und die Anzeige des Anschlusses erfolgt durch Aufleuchten der LED-Segmentanzeige an der Statusleiste auf dem Display.

4.9 Außerbetriebnahme (Ende der Heizperiode)
Wird der Ofen für langere Zeit nicht benutzt, folgendermaßen vorgehen
- Den Pelletbehälter vollständig ausleeren.
- Die Stromzufahr trennen und das Kabel vom Schalter entfernen;
- Gründlich säubern und bei Bedarf alle beschädigten Teile von Fachpersonal ersetzen halten.
- Den Ofen abdecken, umihn vor Staub zu schützen.
- An einem trockenen, witterungsgeschützten Ort unterstellen.
5 REINIGUNG DES OFENS
Der Ofen muss unbedingt regelmäßig gereinigt werden, um einen korrekten Betrieb zu garantieren und zu vermeiden, dass das Glas verrußt, eine schlechte Verbrennung auftreten kann, sich Asche und unverbrannte Teile im Brenntopf ansammeln, die Heizleistung abnimmt.
Der Ofenarf nur mit geschlossener Feuerraumtur betrieben werden.
Die Dichtungen der Feuerraumtür sind regelmäßig zu prufen, um das Eindringen von Luft zu vermeiden; die Brennkammer und die Pelletrohrleitung arbeiten)nach mit Unterdruck, der Rauchabzug dagegen mit leichtem Druck.
Die ordentliche Reinigung wird normalerweise vom Kunden unter Befolgung der im Benutzerhandbuch enthaltenen
Anleitungen vorgenommen, während die außerordentliche Wartung mindestens 1 Mal pro Jahr vom
Vertragskundendienst durchgeführt werden muss.

- Zur Reinigung aller Teile muss der Ofen kalt und vom Stromnetz getrennt sein.
- Die Reinigungsrückstände gemäß den geltenden ortlichen Vorschriften entsorgen.
- Der Ofen darauf auf keinen Fall ohne Außenverkleidungen in Betrieb gesetzt werden.
- Wahlend des Zündvorgangs und/oder beim normalen Betrieb die Bildung von Rauch und unverbrannten Stoffen vermeiden.
Nachstehend werden die Kontroll- und/oder Wartungsarbeiten zusammengefasst, die für den korrekten Gebrauch und Betrieb des Ofens erforderlich sind.
| Teile / IntervallArt der Reinigung | 1 TagordentlicheReinigung | 2-3 TageordentlicheReinigung | 1 MonatordentlicheReinigung | 2 - 3MonateordentlicheReinigung | 1 JahraußerordentlicheReinigung: wird vomtechnischen Kundendienstdurchgeführt |
| Brennschale | ■ | ||||
| Aschefach/-kasten | ■ | ||||
| Glasscheibe | ■ | ||||
| Rauchgaswärmetauscher -Abweiser | ■ | ■ | |||
| Sammelleitung -Saugzuggebäse | ■ | ■ | |||
| Dichtung Tür - Glasscheibe | ■ | ||||
| Schornsteinrohr - Rauchrohr | ■ |
5.1 Reinigung der Brennschale
Den Brenntopf Herausnehmen und eventuelle Rückstände, die sich in der Brennkammer und im Brenntopflalter abgelagert haben, beseitigen. A tale scopo può essere utilizzato un idoneo aspiratore. Diese Arbeit muss tãglich vorgenommen werden, vor allem, wenn sich unverbrannten Material ingsammelt hat, damit eine optimale Verbrennung gewährleistet ist, da durch die LÖcher des Brenntopfes die für die Verbrennung erforderliche Luft dringen muss.

Brenntopf verschmutzt

Brenntopf sauber

Brenntopfhalter sauber

Der Brenntopf muss bündig und luftdicht auf dem Brenntopfhalter aufliegen, und darüber auf der gesamten Umrandung.
5.2 Reinigung des Aschenbehtlers
Nach der Reinigung muss die Tur geschlossen werden, Die Reinigung des Aschebehters muss je nach Ofengebrauch alle 2-3 Tage durchgefuhrt werden.
5.3 Reinigung des Glases und der Luftschlitze
Das Glas kann mit einem feuchten Tuch und einem Spezialreiniger ohne Scheuermittel gereinigt werden.
Zwischen Glas, Glashalter und Feuerraumtur am unteren und oberen Teil sind Schlitze für die Luftzirkulation und die Innenreinigung der Glasscheibe angebracht. Diese Schlitze unbedingt von Aschen- und Staubresten freihalten. Den gesamtten inneren Glasrand davon regelmäßig reinigen.
5.4 Reinigung des Saugzuggebläses und der Brennkammer
Mindestens einmal jährlich muss die Brennkammer gereinigt und alle Verbrennungsrückstände von den inneren Abweisern und von der Abgasführung enternt werden. Hierfür die Abdeckung und die obere Frontblende des Ofens entfernen. Den Wärmetauscher aus Gusseisen durch Lösen der Befestigungsschraube ausbauen. Die Abweiser und die Kammer reinigen.
Außer dem muss unbedingt das unter der Kammer befindliche Saugzuggeblase gereinigt werden, zu dem man nach Entfernen des Aschekastens Zugang hat.
Alle 3-4 Monate die (isolierenden-feuerfesten) Innewände der Brennkammer mit geeigneten Utensilien (PinseIn) reinigen und gegebenenfalls ersetzen, da sie als Verschleibmaterial gelten.
Alle 1800 Betriebsstunden fordert der Ofen mit der Meldung SERVICE FALLG' eine (nicht von Garantie gedeckte) außerordentliche Wartung durch Fachpersonal an, das eine vollständige Reinigung und die Rücksetzung der Meldung vornimmt.

Durch Stöße oder gewaltsames Vorgehen kann das Saugzuggeblase beschädigt und dessen lauter Betrieb verursacht werden, deshalb sollen mit diesen Vorgang unbedingt qualifiziertes Fachpersonal betraut werden.
5.5 Verbrennungsluft-Ansaugrohr
Im Ansaugrohr kann sich Staub ansammeln, der mit der Zeit den Durchgang der Luft einschränken kann: regelmäßig, d.h. alle 4 - 6 Betriebsmonate,innen mit zweckmäßigen Hilfsmitteln (Druckluftstrahl oder geeignete Pinsel) reinigen.
5.6 Reinigung der Keramikteile (Keramikofenmodelle)
Die Kacheln sind in Handwerksarbeit hergestellt und können daher gingfugige Oberflächen-Unregelmäßigkeiten wie Mikroporen oder Farbabweichungen aufweisen. Für ihre Reinigung ein weiches, trockenes Tuch verwenden; durch die Verwendung von Reinigungsmitteln konnten eventuelle Fehler betont werden.
5.7 Reinigung des Rauchrohrs - Schornsteinrohrs
Das Rauchrohr muss mindestens einmal jährlich oder bei Bedarf, je nach Gebrauch und Installationsart des Ofens.
Die Reinigung umfasst das Absaugen und Entfernen der Rückstände in allen senkrechten und waagerechten Rohrabschnitten sowie in den Rohrkrummern vom Gerat zum Schornsteinrohr.
Einmal im Jahr sollene auch das Schornsteinrohr gereinigt werden, um eine korrekte und sichere Rauchabführung saferzustellen.

Für jeder Art von Wartung und für die Reinigung am Ende der Heizperiode empfeht die Firma COLA, sich an den Vertragskundendienst zu wenden, der den Ofen nicht nur reinigt sondern auch den Verschleibzustand der inneren Bauteile des Ofens kontrolliert.
6 WARTUNG
6.1 Vorwort
Die Eingriffe an Innenkomponenten des Ofens müssen von autorisiertem Fachpersonal durchgefuhrt werden - wenden Sie sich hierfüritte an den nachstgelegenen Kundenservice.

Vor jedem Eingriff am Ofen muss sichergestellt werden, dass der Netzstecker gezogen und der Ofen kalt ist.
6.2 Ausbau der Verkleidung

Zeichenerklarung:
1 - Top
2 - Untere Frontblende aus lackiertem Stahl
3 - Rückwandverkleidung
4 - Schutzabdeckung des Getriebemotors
5 - Seitliche Blechverkleidung rechts / links
6 - Untere top
7 - Tür des Pelletsbehälters
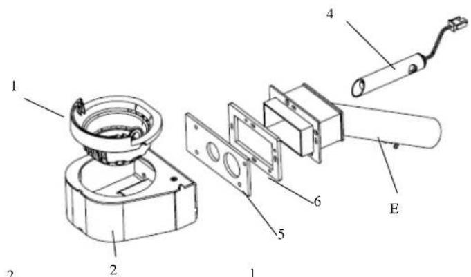
6.3 Innere Ofenkomponenten

Explosionszeichnung der Brennkammer und der damit verbundenen Teile, Ofen SABINA
Zeichenerklarung:
1-Brennkammer
2 - Supporti dx-sx SABINA
3 - Scambiatore in ghisa
4 - Seitenwände aus Vermiculit
5 - Oberer Abweiser aus Vermiculit
6 - Rückwand aus Vermiculit
Explosionszeichnungen von:
1-Baugruppe Brenntopf
2-Baugruppe Saugzuggeblase
3-Baugruppe Fordschnecke



6.4 Elektrische Bauteile Zeichenerklarung:
1-Elektronikplatine
2-Kontroll- und Sicherheits- Unterdruckwachter
3 - Sicherheitsthermostat
4 - EIN/AUS-Schalter mit Schmelzssicherungen
5 - Serielle Schnittstelle
6 - Raumtemperaturfuhler
7 - Rechter Tangentialventilator
8 - Linker Tangentialventilator
9 - Hinterer Tangentialventilator
10 -Getriebemotor
11-Bedienpanel Mod. ECO-T

Zeichenerklarung:
1-Brennschale
2-Brennschalenhalter
3-Baugruppe Verbrennungsluft-Ansaugrohr
4-Elektr.Widerstand
5 - Hintere Dichtung des Brenntopfhalters
6 - Vordere Dichtung der Ansaug-Baugruppe
Zeichenerklarung:
1 - Spirale des Saugzugebläses
2-Wärmedichtung
3 - Saugzuggeblasemotor
4 - Rauchabzugsrohr
Zeichenerklarung:
1 - Dichtung Behälter / Forderer
2 - Flansch f. Getriebemotor
3-Getriebemotor
4-Schnecke
5 - Dichtung für Rutsche
6 - Pelletsrutsche
7 - Dichtung Kammer / Forderer
8-Pelletsforderer

7 FEHLERSUCHE
7.1 Verwaltung der Alarmeldungen
Ein Alarm wird durch ein akustisches Signal (sofern aktiviert) und eine Meldung am Bedienpanel angezeigt Bei Auftreten eines Alarms den Ofen abschalten, Alarmursache beheben und erst dann den Ofen wie im vorliegenden Handbuch beschrieben wieder einschalten.
Nachstehend sind die eventuell am Bedienpanel angezeigten Alarme mit Ursache und Abhilfe aufgefuhrt:
| ALARME - MELDUNGEN | |||
| Anzeige Betriebsstörung Mögliche Ursachen Abhilfen | |||
| AL 1 STROMAUSFALL | - Der Ofen schaltet nicht ein. | - Keine Stromversorgung während des Zündvorgangs. | - Den Ofen durch Drücken der Taste P4 auf OFF stellen und den Einsatzvorgang wiederholen. - Andere Vorgänge zur Wiederherstellung des Ofenbetriebs müssen von einer autorisierten Kundendienstelle durchgeführt werden. |
| AL 2 ABGASFÜHLER | - Wird ausgelöst bei Defekt des Abgastemperaturführers. - Der Abschaltvorgang wird aktiviert. | - Der Führer ist defekt - Der Führer ist nicht an der Platine angeschlossen. | - Die Vorgänge zur Wiederherstellung des Ofenbetriebs müssen von einer autorisierten Kundendienstelle durchgeführt werden. |
| AL 3 HOT ABGASE | - Wird ausgelöst, wenn der Abgastemperaturführer eine Abgastemperatur über 280 °C misst. - Der Abschaltvorgang wird aktiviert. | - Der Tangentialventilator ist defekt. - Der Tangentialventilator wird nicht mit Strom versorgt. - Übermäßige Pelletfüllung. | - Pelletzuführung einstellen. - Andere Vorgänge zur Wiederherstellung des Ofenbetriebs.mustn von einer autorisierten Kundendienstelle durchgeführt werden. |
| AL 4 SAUGZUGGEBLASE-DEFEKT | - Wird ausgelöst, wenn das Saugzugeblase defekt ist. - Der Abschaltvorgang wird aktiviert. | - Das Saugzugeblase ist blockiert. - Der Drehzahl sensor ist defekt. - Das Saugzugeblase wird nicht mit Strom versorgt. | - Die Vorgänge zur Wiederherstellung des Ofenbetriebs必不可少 von einer autorisierten Kundendienstelle durchshaftert werden. |
| AL 5 ZUNDUNG FEHLGESCHLAGEN | - Während des Zündvorgangs wird die Flamine nicht gezündet. - Der Abschaltvorgang wird aktiviert. | - Der Pelletbehälter ist leer. - Der Heizwiderstand ist defekt, verschutzt oder nicht in der korrekter Position eingebaut. - Falsche Einstellung der Pelletbeschickung. | - Kontrollieren, ob der Behälter Pellets enthalt. - Die Einsatzvorgänge kontrollieren. - Andere Vorgänge zur Wiederherstellung des Ofenbetriebs必不可少 von einer autorisierten Kundendienstelle durchshaftert werden. |
| AL 6 KEINE PELLETS VORHANDEN | - Der Brenntopf wird nicht mit Pellets versorgt. | - Der Pelletbehälter ist leer. - Der Getriebemotor der Pelletbeschickung muss sich einlaufen - Der Getriebemotor führt keine Pellets zu. | - Kontrollieren, ob der Behälter Pellets enthalt. - Pelletzuführung einstellen. - Andere Vorgänge zur Wiederherstellung des Ofenbetriebs必不可少 von einer autorisierten Kundendienstelle durchshaftert werden. |
| AL 7 THERMOSICHERUNG | - Dieser Alarm wird ausgelöst, wenn der Sicherheitsthermostat der Schneckenkanal-Temperatur anspricht. - Das System wird gestoppt. | - Der Sicherheitsthermostat hat eine Temperatur über dem Schwellenwert für die Überhitzung des unteren Behälterabschnitts gemessen und unterricht den Betrieb des Getriebemotors. | - Nach der Ursache für die Überhitzung suchen. - Den Betrieb des Thermostats durch Drucken der Reset-Taste wieder herstellen. |
| Anzeige Betriebsstörung Möglich Ursachen Abhilfen | |||
| AL 8KEIN UNDERDRUCK | - Während der Betriebsphase liegt der vom Ofen gemessene Druck unter der Ansprechschwelle des Unterdruckwächters.- Das System wird gestoppt. | - Die Brennkammer ist verschutzt.- Das Rauchabzugsrohr ist verstopft.- Die Feuerraumtür ist nicht geschlossen.- Die Berstschutzventile sind offen/verklemmt.- Der Unterdruckwächter ist defekt. | - Kontrollieren, ob Rauchabzugsrohr und Brennkammer sauer sind.- Kontrollieren, ob die Tür dicht verschussen ist.- Kontrollieren, ob die Berstschutzventile geschlossen sind.- Andere Vorgänge zur Wiederherstellung des Ofenbetriebs,müssen von einer autorisierten Kundendienstelle durchgeführt werden. |
| AL 9UNGENÜGENDER ZUG | - Wird ausgelöst, wenn die Verbrennungsluftzufahr unter einem bestimmten Schwellenwert liegt. | - Die Brennkammer ist verschutzt.- Das Rauchabzugsrohr ist verstopft.- Die Feuerraumtür ist nicht geschlossen.- Die Berstschutzventile sind offen/verklemmt.- Der Luftmassenmesser ist defekt. | - Kontrollieren, ob Rauchabzugsrohr und Brennkammer sauer sind.- Kontrollieren, ob die Tür dicht verschussen ist.- Kontrollieren, ob die Berstschutzventile geschlossen sind.- Andere Vorgänge zur Wiederherstellung des Ofenbetriebs,müssen von einer autorisierten Kundendienstelle durchgeführt werden. |
| AL bFEHLER TRIACSCHNECKE | - Wird ausgelöst, wenn der Getriebemotor in Dauerbetrieb und länger als 60 Sek. lauft.- Das System wird gestoppt. | - Die Regelung hat festgestellt, dass das Steuerrelais des Getriebemotors defekt ist (Kontakte verklebt). | - Die Vorgänge zur Wiederherstellung des Ofenbetriebs,müssen von einer autorisierten Kundendienstelle durchgeführt werden. |
| ABKÜHLEN, BITTEWARTEN | - Wird ausgelöst, wenn der Ofen sofort nach dem Ausschalten wieder eingeschaltet wird. | - Entstörversuch während des Abschaltvorgangs mit noch warmem Ofen in Abkühlphase. | - Der Alarm kann erst zurückgesetzt werden, nachdem der Ofen vollständig abgeschalteurd. |
| DEFEKTLUFTMASSENMESSER | - Wird ausgelöst, wenn der Luftmassenmesser getrennt wird. | - Die Regelung kann die Menge der Verbrennungsluft nicht messen, schaltet jedoch den Ofen nicht ab sondern schließt nur die Funktionen des Luftmassenmessers aus. | - Die Vorgänge zur Wiederherstellung des Ofenbetriebs,müssen von einer autorisierten Kundendienstelle durchgeführt werden. |
| SERVICESTunden | - Wird ausgelöst, wenn der Ofen seit der letzten Wartung 1800 Stunden in Betrieb war. | - Anforderung der außerordentlichen Wartung. | - Die Arbeiteten für außerordentliche Reinigung, Wartung und Rücksetzung,müssen vom Vertragskundendienst durchgeführt werden. |
Der Hersteller behält sich jederzeitige Änderungen hinsichtlich technischer Ausführung oder Design ohne Vorankündigung vor. Alle Abbildungen, Maße, Übersichtszeichnungen sowie ähnliche sonstigen Angaben in dieser Druckschrift dienen nur zur Veranschaulichung und sind nicht verbindlich.
8 ANLAGEN
INFORMATIONEN ZUR CE-KENNZEICHNUNG CE MARKING INFORMATION
COLA
CE 13
TÜV Rheiland Energie und Umwelt GmbH
Nennwert - Reduzierter wert / Nominal output and Reduced output
* Der Verbrauch kann je nach Pelletart entsprechlich sein/Pellet consumption can vary according to the type of pellets used.

COLA s.r.l. - Viaie del Lavoro 7/9 - 37040 Arcole (VR) Italy - Tel: 045.7635780 - 045.614043
Cod. Fac. PNA e Iacr. Reg. Impr. 02990180230 - Capitale Socioe Euro 52.000.00 Iw, R.E.A.VR-301021 - Socio Unipol
Fax: Anninisicola 045.6100317 - Fax: Comminatale 045.7639032 - Fax: Assistaion 045.7639030 - Fax: Logistica 045.614488 email: info@annimcogolia.com-on-line: www.coatingsfa.com
TÜV Rheiland Energie und Umwelt GmbH
EinfachAnleitung