90902H - Hotte PKM - Notice d'utilisation et mode d'emploi gratuit
Retrouvez gratuitement la notice de l'appareil 90902H PKM au format PDF.
| Caractéristiques | Détails |
|---|---|
| Type de hotte | Hotte aspirante |
| Dimensions | Largeur : 90 cm |
| Débit d'air | Jusqu'à 700 m³/h |
| Niveaux de puissance | 3 niveaux de puissance |
| Éclairage | LED intégré |
| Filtre à graisse | Filtre métallique, lavable au lave-vaisselle |
| Installation | Installation murale |
| Consommation énergétique | Classe énergétique : A |
| Niveau sonore | Max 65 dB |
| Sécurité | Protection contre la surchauffe |
| Maintenance | Filtres à nettoyer régulièrement, entretien facile |
| Garantie | 2 ans |
FOIRE AUX QUESTIONS - 90902H PKM
Questions des utilisateurs sur 90902H PKM
0 question sur cet appareil. Repondez a celles que vous connaissez ou posez la votre.
Poser une nouvelle question sur cet appareil
Téléchargez la notice de votre Hotte au format PDF gratuitement ! Retrouvez votre notice 90902H - PKM et reprennez votre appareil électronique en main. Sur cette page sont publiés tous les documents nécessaires à l'utilisation de votre appareil 90902H de la marque PKM.
MODE D'EMPLOI 90902H PKM
Cher client! Nous tenons à vous remercier pour l'achat d'un produit de notre vaste gamme d'appareils électroménagers. Veuillez lire le mode d'emploi en entier avant d'utiliser l'appareil pour la première fois. Conservez le présent mode d'emploi dans un lieu sûr pour référence ultérieure. Si vous transmettez l'appareil à un tiers, remettez-lui aussi ce mode d'emploi.
Répertoire
- Consignes de sécurité 32
- Installation 35
- Panneau de commande 39 4. Nettoyage/Entretien 40
- Instructions de dépannage 41
- Données techniques 43
- Gestion de déchets 44
A. Dessin technique 45
UE - déclaration de conformité
Les produits, décrits dans ce mode d'emploi, sont conformes aux réglementations harmonisées. Les documents pertinents peuvent être demandés auprès du détaillant par les autorités compétentes.
Les chiffres figurant dans le présent mode d'emploi peuvent différer dans certains détails de la conception actuelle de votre appareil. Néanmoins, dans un tel cas, veuillez suivre les instructions. Le fabricant se réserve le droit d'apporter toute modification qui n'a pas d'influence sur les fonctions de l'appareil. Veuillez éliminer l'emballage conformément aux réglementations locales et municipales en vigueur. L'appareil que vous avez acheté peut être une version améliorée de l'unité pour lequel le présent mode d'emploi a été imprimé. Néanmoins, les fonctions et les conditions d'utilisation sont identiques. Ce mode d'emploi est donc toujours valable. Les modifications techniques ainsi que les fautes d'impression demeurent sous réserve.
1. Consignes de sécurité
Lisez les instructions de sécurité avant d'utiliser l'appareil pour la première fois. Toute information apparaissant sur ces pages sert à protéger l'utilisateur. Si vous ignorez les consignes de sécurité, vous mettez votre santé et votre vie en danger.
DANGER! signale une situation à risque qui, si elle est ignorée, entraînera la mort ou des blessures graves.
MISE EN GARDE! signale une situation à risque qui, si elle n'est pas évitée, peut entraîner des blessures corporelles légères.
ATTENTION! signale une situation à risque qui, si elle est ignorée, peut entraîner la mort ou des blessures graves.
AVIS! signale des dommages possibles sur l'appareil.
Conservez le présent mode d'emploi dans un lieu sûr afin que vous puissiez le consulter à chaque fois que cela est nécessaire. Suivez attentivement les instructions afin d'éviter tout accident ou endommagement de l'appareil. Veuillez vérifier la périphérie technique de l'appareil! Est-ce que tous les fils et les connexions avec l'appareil fonctionnent bien? Ou sont-ils usés par le temps et ne correspondent pas aux exigences techniques de l'appareil? Un contrôle des connexions existantes et récemment créées doit être effectué par un professionnel/agréé. Toutes les connexions et les composants électriques (y compris les fils dans un mur) doivent être vérifiés par un professionnel qualifié. Toutes les modifications apportées au réseau électrique permettant l'installation de l'appareil doivent être effectuées par un professionnel qualifié. L'article est destiné uniquement à usage privé. L'appareil est conçu pour l'extraction/recirculation des vapeurs de cuisson uniquement dans une habitation privée. L'article est conçu uniquement pour un usage à l'intérieur. L'appareil n'est pas prévu pour être utilisé à des fins commerciales, pendant le camping et dans les transports publics. Veuillez utiliser l'appareil conformément uniquement à son usage prévu. Ne laissez pas quelqu'un qui ne connaît pas bien le précédent mode d'emploi utiliser l'appareil.
DANGER
- Ne pas utiliser l'appareil quand il ne fonctionne pas correctement, est és.
- Le cordon d'alimentation doit être remplacé uniquement par un professionnel qualifié.
- Ne jamais réparer l'appareil vous-même.
- Ne pas utiliser des cheminées dépendantes de l'air ambiant lors de l'utilisation de l'appareil; sinon, les gaz nocifs descendront de la cheminée dans votre maison. Chaque fois que la hotte fonctionne avec une cheminée ventilée (par ex. le four à charbon), veuillez assurer à ce qu'il y ait suffisamment de l'air dans la pièce où l'appareil est installé. Consultez toujours votre ramoneur local qualifié. Lorsque vous utilisez l'appareil en mode de recirculation, vous pouvez mettre en route simultanément des cheminées dépendantes de l'air ambiant.
5. Si le gaz se répand dans votre maison:
a. Ouvrez toutes les fenêtres. b. Ne débranchez pas l'appareil et n'utilisez pas le panneau de commande. c. Ne touchez pas l'appareil avant que le gaz se disperse. d. Autrement, les étincelles peuvent se former, ce qui enflammera le gaz.
Attention!
- Chaque fois que vous utilisez les hottes aspirantes en combinaison avec des appareils sans contrôle électrique (les appareils à gaz et à mazout), la pression négative de la pièce concernée ne doit pas être supérieure à 4 Pa (4*10^-5 bar).
- Une alimentation électrique de 220-240 V AC/50 Hz est nécessaire. Ne pas utiliser une bande d'alimentation ou une prise multiple ou une rallonge lorsque vous utiliserez l'apparil avec 220-240 V/50 Hz (AC). Toutes les connexions ELECTRIQUES qui peuvent être endommagées doivent être réparées par un professionnel qualifié.
- Branchez l'appareil uniquement à une prise spécifique et correctement mise à la terre.
- L'appareil doit être mis à la terre. Utilisez uniquement une prise de sécurité appropriée pour minimiser le risque de choc électrique. Les données techniques de votre approvisionnement en énergie doivent répondre aux données sur la plaque signalétique.
- Notre circuit interne doit être équipé d'un disjoncteur automatique.
- Veuillez respecter strictement la distance minimale entre la hotte et la table de cuisson:
La distance minimale de la hotte à
| Anneaux en verre céramique/plaques de cuisson | 65 cm |
| Cuisinière à gaz | 75 cm |
| Cuisinière charbon / mazout / bois | 85 cm |
- Ne pas cuire des plats à la flambée en dessous de la hotte. Les flammes peuvent endommager votre apparéil et/ou provoquer un incendie.
- Ne pas utiliser les jets de gaz d'une cuisinière à gaz sans casserole. Les flammes peuvent endommager leur appareil et/ou provoquer un incendie.
- Si vous faites frire, garder en permanence un œil sur l'huile, car elle peut prendre feu. Le risque d'auto-inflammation augmente lorsque l'huile est utilisée plusieurs fois.
- N'effectuer aucune des procédures sur la table de cuisson en utilisant l'ampoule nue ou le feu. Les flammes peuvent endommager leur appareil et/ou provoquer un incendie.
- Le tuyau d'échappement ne doit pas être fait de matériaux inflammables ou contenir des matériaux inflammables.
- L'air extrait ne doit pas être ramené par un tuyau d'échappement d'un appareil de chauffage ou des appareils similaires sans contrôle électrique.
- Veuillez utiliser l'appareil uniquement avec les filtres à graissé insérés. Sinon, la graissé transportée par la recirculation formera des couches de graissé dans l'appareil et le système d'échappement. RISQUE D'INCENDIE! Nettoyez ou remplacez les filtres régulièrement.
- Débranchez l'appareil du réseau électrique avant le nettoyage et l'entretien.
- Lors du déballage, les matériaux d'emballage (sacs en polyéthylene, des morceaux de polystyrene, etc.) doivent être tenus hors de portec des enfants. RISQUE D'ETOUFFEMENT!
- Cet appareil peut être utilisé par des enfants âgés de 8 ans et plus, ainsi que par des personnes ayant des capacités physiques, sensorielles et mentales réduites ou le manque d'expérience et de connaissances si elles sont surveillées ou ont reçu des instructions concernant l'utilisation sécurité de l'appareil et comprennent les risques encourus. Les enfants ne doivent pas jouer avec l'appareil. Le nettoyage et l'entretien quotidien ne doit pas être effectué par les enfants, à moins qu'ils soient surveillés.
- Surveillance toujours les enfants afin qu'ils ne jouent pas avec l'appareil.
Mise en GARDE!
- Les parties accessibles de la hotte peuvent venir chaudes pendant la cuisson.
- Veillez à ce qu’au moins deux personnes effectuent l’installation de l’appareil. Risque d’endommagement. RISQUE DE BLESSURES!
- L'appareil doit être transporté et installé par au moins deux personnes.
- Déballez les pièces de la cheminée très délicatement ; sinon vous risquez d'endommager la cheminée.
- Retirez complètement les matériaux d'emballage avant la mise en service. L'appareil peut être équipé d'un verrou de transport. Retirez complètement le
verrou de transport. Soyez très prudent lorsque vous le retirez. Ne pas utiliser de détergents agressifs pour enlever les résidus du verrou de transport.
- Nettoyez et entretenez régulièrement l'article pour permettre son bon fonctionnement et des performances optimales.
- Prenez les pièces jointes de l'emballage et ses composants en polystyrène.
- Vérifiez que le cordon d'alimentation et l'appareil ne sont pas endommagés avant la connexion électrique.
2. Installation
- Le diamètre du tuyau d'évacuation doit respecter le diamètre de la bague de raccordement.
- Si votre appareil est équipê d'un filtre à charbon, retirez le filtre à charbon avant d'utiliser l'appareil en mode d'extraction. Le filtre à charbon devrait être utilisé uniquement dans le mode de recirculation.
- Le conduit d'évacuation doit être aussi court et droit que possible. Le diamètre du tuyau d'échappement doit être d'au moins 120 / 150 mm (cf. le chapitre DONNÉES TECHNIQUES). Sinon, vous devez vous attendre à une augmentation du bruit et une diminution des performances de votre appareil.
- L'angle de flexion maximale approprié est vers l'extérieur.
- Utiliser des tubes lisses ou tuyaux d'échappement flexibles, uniquement non-inflammables.
- Lorsque le conduit d'évacuation est connecté horizontalement, une descente minimale de 1 cm/m ou une inclinaison de est nécessaire. Sinon, la condensation entrera dans le moteur de la hotte.
- Quand un conduit d'évacuation est utilisé, la fin du tuyau d'évacuation doit être orientée dans le sens de l'écoulement.
- Si le conduit d'évacuation traverse des zones froides (par ex. un grenier), un gradient de température peut se produire dans les différentes parties du conduit d'échappement, ce qui génère de la condensation. Une bonne isolation des parties correspondantes de la conduite d'échappement est alors nécessaire. Si nécessaire, équippez un tel conduit d'échappement d'un piège de condensation.
- Selon le modèle, la hotte est équipée d'une (supérieure) ou deux (supérieure, de derrière) sorties d'air.
- Lorsqu'en état de repos, la sortie est recouverte par un capuchon en plastique. Vous pouvez enlever ce capuchon en le tournant dans le sens inverse des aiguilles d'une montre. Utilisez le capuchon pour couvrir la sortie et la mettre en état de repos.

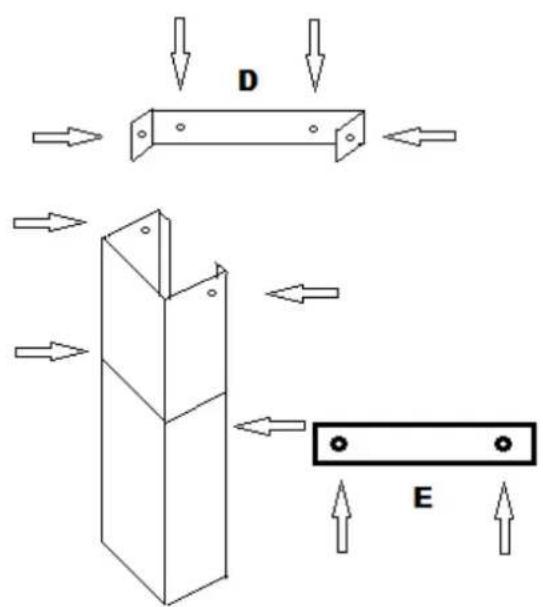
Composants principaux


A Hotte B Base de la cheminée C Cheminée télescopique D Rail de montage E Barre plate F Table de cuisson

Étapes d'installation
ATTENTION! Toute omission d'installer les vis ou de fixer le dispositif conformément aux présentes instructions peut entraîner des risques d'électrocution.
ATTENTION! N'endommagez pas le câblage dans le mur pendant le perçage.
Les vis pour le montage sur le mur Accrocher la cheminée a

1 Support d'installation 2 pcs. 4*40
Étapes d'installation
- Installez les deux clapets de vanne semi-circulaires (a/b) dans l'ouverture de sortie d'air de l'appareil. Insérez les axes des clapets de vanne dans les ouvertures correspondantes (1b) en les pliant soigneusement (1a). Les deux clapets de vanne doivent s'ouvrir vers l'extérieur (2).



- Raccordez le tuyau d'échappement à l'ouverture de sortie d'air de la hotte. Placez l'extrémité élargie du tuyau d'échappement sur la sortie d'air. Commencez à l'arrière de la sortie d'air, puis procédez à l'intérieur du tuyau d'évacuation en l'instrument (utilisez vos pouces) sur la sortie d'air.

- Placez le dispositif de suspension sur le mur. Sélectionnez la position en rapport avec les dimensions de l'appareil tout entier. Avant de commencer, marquez les perçages avec un crayon.

- Percez les trous et fixez le dispositif de suspension avec les vis et chevilles.
- Accrochez la hotte sur le dispositif de suspension fixé.

- Installez la barre plate d'abord sur la cheminée inférieure, puis sur le mur. Vous pouvez effectuer cette étape provisoirement pour marquer les perçages de montage sur le mur etencer les trous pertinents.

- Placez la cheminée supérieure et inférieure sur la hotte et accrochez la cheminée supérieure à elle (voir le dessin comment raccarder la cheminée à la hotte).
- Fixez le support d'installation de la cheminée en-dessous du plafond sur le mur à l'aide des vis et des chevilles.



- Posez le tuyau d'échappement à la prise murale. Fixez le tuyau d'échappement avec un attaché-cable (1) sur la prise murale.

- Accrochez la cheminée supérieure au support d'installation (voir aussi l'objet 8).
- Insérez les filtres à graisse et connectez l'appareil au réseau électrique.5
Vérifiez la bonne position de la hotte de devant et de côté. Sinon l'appareil ne fonctionnera pas correctement.

Filtre à charbon

1 ouvert
Débranchez l'appareil avant d'instruire le filtre à charbon
Uniquement pour le mode de recirculation.
2 fermé
3. Panneau de commande

1 Arrêt 2 Vitesse basse. 3 Vitesse moyenne. 4 Vitesse haute. 5 Lumière allumée/clignotante
AVIS! Allumez la lumière uniquement pendant que l'appareil est utilisé. N'allumez pas la lumière pour éclairer la pièce.
Attention!
Débranchez l'appareil du réseau électrique avant de le nettoyer ou de l'entretenir. Le non-respect des consignes de nettoyage et d'entretien augmentera le risque d'incendie.
Enlevez toute bague et tout bracelet avant de nettoyer ou entretenir l'appareil; sinon, vous endommagerez la surface de l'appareil. 1. Nettoyez le boîtier de l'appareil avec un détergent approprié. Utilisez un tel produit avec soin et économie. 2. Ne pas nettoyer le panneau de commande avec un détergent. Utilisez un chiffon humide. Sinon, vous risquez d'endommager les composants électroniques du système de commande. 3. Ne jamais utiliser les détergents contenant de l'alcool pour nettoyer les appareils points en noir mat, car ces détergents provoquent les changements de couleur. 4. Nettoyez les panneaux en verre uniquement avec un détergent approprié. 5. Lorsque vous nettoyez ou remplacez les filtres àGRAISSE ou les filtres à charbon, veuillez nettoyer aussi tous les composants visibles sur le fond de l'appareil avec un détergent doux, non acide et dégraissant. 6. Ne pas endommager la grille de filtres àGRAISSE fabriqués en métal. La couleur de la surface métallique peut changer en raison des nettoyages fréquents ainsi que de l'utilisation de détergents agressifs. 7. De tels changements n'influence pas la capacité de l'article et ne peuvent pas être une raison de déposer une réclamation. 8. Ne pas utiliser un nettoyeur à vapeur. RISQUE DE CHOC ÉLECTRIQUE! 9. Ne pas utiliser de détergents abrasifs.

Filtre en aluminium
Vous n'avez pas besoin de remplacer les filtres en aluminium. Nettoyez-les une fois par mois soignement à la main ou dans le lave-vaisselle (30°). Ne pas utiliser de détergents abrasifs ou corrosifs. Ne pas utiliser de détergents abrasifs! Ne pas utiliser de détergents alcalins pour lave-vaisselle! (ph supérieur à 7). Ne pas mettre le filtre dans le lave-vaisselle ensemble avec la vaisselle. Pour les filtres qui sont bloqués par les restes de la nourriture la garantie n'est pas applicable. Sèchez les filtres
proprement avant de les réinstaller.

Changement de l'ampoule
Ne touchez pas l'ampoule avec vos mains. La sueur sur vos mains réduira le temps d'utilisation de votre nouvelle ampoule. Utilisez un tissu fin ou un gant fin.
- ATTENTION! Déconnectez l'appareil du réseau électrique.
- Avant de la changer, laissez l'ampoule se refroidir.
- Enlevez l'ancienne ampoule.
- Changez-la par une nouvelle de la même puissance.

Filtres à charbon
Le charbon conventionnel et les filtres à charbon actif ne peuvent pas être nettoyés. La capacité de ces filtres est limitée. Vous pouvez utiliser ces filtres pour environ 3-6 mois. Changez un filtre usé. Veuillez partager plus d'informations sur l'emballage du filtre.
L'appareil ne fonctionne pas du tout.
La fiche d'alimentation de l'appareil n'est pas branchée dans la prise. La fiche d'alimentation est desserrée.
La prise n'est pas alimentée de l'énergie. Le fusible est désactivé.
Vérifier la prise appropriée en la connectant avec un autre appareil. Vérifier le fusible. Le voltage est trop bas. Comparez les données sur la plaque signalétique avec les données de votre fournisseur d'énergie.
La lumière fonctionne, mais pas le moteur.
le clapet de ventilation bloqué. le moteur de montage défectueux.
débloquez-le. changez le moteur.
Les odeurs de moteurs anormales.
le moteur défectueux
Changez le moteur.
Tache d'huiile
la vanne à sens unique fuit
Réparez la vanne
la connexion entre la base de la cheminée et la cheminée téléscopique fuit
Réparez la connexion avec un matériel approprié
L'appareil vibre.
Le moteur n'est pas correctement fixé
Fixez le moteur correctement.
La hotte n'est pas correctement fixée
fixez la hotte correctement.
L'insuffisante capacité d'extraction.
trop de distance entre la hotte et la table de cuisson
descendez la hotte
trop de courant d'air à cause de la porte et/ou les fenêtres ouvertes
Fermez la porte/les fenêtres
L'appareil est instable.
les rails de montage ne sont pas fixés fermement
Fixez les rails de montage correctement
les vis ne sont pas fixées fermement
serrez les vis
Si la hotte ne fonctionne pas correctement et/ou vous pouvez entendre le bruit de fonctionnement augmenter, vérifiez la liste de contrôle ci-dessus:
Les dimensions incorrectes du tuyau d'échappement. Une obstruction dans le tuyau d'échappement. Le diamètre du tuyau d'échappement depuis la hotte jusqu'à la boîte murale incluse devrait être de 120 mm; sinon, la capacité du moteur peut être réduite. Si vous avez installé une moustiquaire sur la boîte murale, l'évent d'aération peut être obstrué. Vérifiez-le en enlevant la moustiquaire. Si le panneau protecteur du boîtier mural est équipée de solides lamelles obliques, l'évent d'aération peut être obstrué. Vérifiez-le en enlevant le panneau protecteur. Installez un panneau protecteur à lamelles mobiles, qui n'entravent pas l'évent d'aération. Vérifiez l'état et la propreté des filtres. Vérifiez si l'air qui est extrait par la hotte est remplacé pour éviter une pression négative. Lorsque vous mettez en route votre appareil en mode de recirculation, vérifiez si le filtre à charbon a été remplacé à temps (minimum tous les 3-6 mois).
Si l'appareil a un dysfonctionnement qui ne figure pas sur la liste de contrôle ou si vous avez vérifié tous les éléments sur la liste alors que le problème persiste, nous vous prions de pouvoir bien contacter le magasin où vous avez acheté l'appareil.
6. Données techniques
| Modèle | Hotte de cuisson |
| Matériel | Acier inoxydable |
| Largeur d'installation en cm | 90.00 |
| Boutons poussoirs | 5 |
| Mode de recirculation/extraction * | ✓ |
| Consommation annuelle d'énergic (CAEhotte) | 28.4 kW/h |
| Catégorie d'efficacité d'énergie | B |
| Efficacité dynamique fluide (EDFhotte) | 14.9 |
| Catégorie d'efficacité dynamique fluide | D |
| Efficacité de l'éclairage (EEhotte) | 24,4 luxe/W |
| Catégorie d'efficacité de l'éclairage | B |
| Séparation de graisse | 77.3 % |
| Catégorie de la séparation de graisse | C |
| Consommation d'énergie arrêt (Po) | 0.00 W |
| Consommation d'énergie veille (Ps) | 0.00 W |
| Consommation d'énergie système de l'éclairage (Wi) | 1 x 2,5 W LED |
| Puisance connectée | 67,5 W |
| Voltage/frquence | AC 220-240V/50Hz |
| Filtre à graisse/matériel/lavable au lave-vaisselle | 3 aluminum |
| Filtre à charbon ** | 2*CF 130 |
| Tuyau d'échévement | ✓ |
| Installation du matériel | ✓ |
| Mode d'emploi | ✓ |
| Cheminée téléscopique extractible du-à | 40.00-78.00 cm |
| Dimensions de l'appareil H/W/D en cm | 70.00-108.00*90.00*50.00 |
| Poids net / brut en kg | 12.50/14.00 |
- Le mode d'extraction : l'installation avec un conduit de ventilation ou un tuyau d'air uniquement extérieur, la détéraction dans le mur = 150 mm, percer environ 160 mm. ** L'équipement en option.
7. Gestion de déchets
- Lors du déballage, les matériaux d'emballage (sacs en polyéthylène, des morceaux de polystyrène, etc.) doivent être tenus hors de la portée des enfants. RISQUE D'ÉTOUFFEMENT!
- Les anciens appareils et les appareils non-utilisés doivent être envoyés pour être éliminés dans un centre responsable de recyclage. Ne jamais exposer aux flammèches nues.
- Avant de jeter un ancien appareil, rendez-le inutilisable. Débranchez l'appareil et coupez complètement le cordon d'alimentation. Jetez immédiatement le cordon et la fiche d'alimentation.
- Éliminez le papier et le carton dans les conteneurs réservés.
- Débarrassez-vous des matières plastiques dans les conteneurs réservés.
- Si des contenants appropriés ne sont pas disponibles dans votre zone d'habitation, jetez ces matériaux dans un centre de collecte de votre commune chargé du recyclage des déchets.
- Veuillez obtenir des informations plus détaillées auprès de votre revendeur ou des institutions de votre municipalité.

Les matériaux marqués par le présent symbole sont recyclables.

Pour obtenir plus d'informations, veuillez contacter les autorités locales.

Veuillez contacter le magasin où vous avez acheté l'appareil
Sous réserve de modification
Stand
11.12..2014
Updated
12/11/2014
Mis à jour
12/11/2014
Notice Facile