90902H - Dunstabzugshaube PKM - Kostenlose Bedienungsanleitung
Finden Sie kostenlos die Bedienungsanleitung des Geräts 90902H PKM als PDF.
Laden Sie die Anleitung für Ihr Dunstabzugshaube kostenlos im PDF-Format! Finden Sie Ihr Handbuch 90902H - PKM und nehmen Sie Ihr elektronisches Gerät wieder in die Hand. Auf dieser Seite sind alle Dokumente veröffentlicht, die für die Verwendung Ihres Geräts notwendig sind. 90902H von der Marke PKM.
BEDIENUNGSANLEITUNG 90902H PKM
Schr geCHRter Kunde! Sehr geCHRte Kundin! Wir mochten Ihnen herzlich danken, dass Sie sich zum Erwerb eines Produkts aus unserem reichhaltigen Angebott entschieden haben. Lesen Sie die gesamte Bedienungsanleitung, bevor Sie das Gerät zum ersten Mal benutzen. Verwahren Sie diese Bedienungsanleitung zur zukünftigen Verwendung an einem sicheren Ort. Falls Sie das Gerät weitergeben, müssen Sie diese Bedienungsanleitung ebenfalls mit übergeben.
Inhalt
- Sicherheitshinweise 3
- Installation 6
- Bedienfeld 10
- Reinigung/Pflege 11
5.Problembehandlung. 12 - Technische Daten 14
- Entsorgung 15
8.Garantiebedingungen 16
A. Technische Zeichnung 45
Die in dieser Bedienungsanleitung enthaltenen Abbildungen konnen in einigen Details von dem tatsächlichen Design Ihrcs Gcrats abweichen. Folgen Sie in einem solchen Fall dennoch den beschriebenen Sachverhalten.
i Der Hersteller besteht sich das Recht vor, solche Änderungen vorzunehmen, die keinen Einfluss auf die Funktionseiste des Geräts haben.
Entsorgen Sie das Verpackungsmaterial entsprechend den örtlichen Vorschriften Ihres Wohnorts.
Das von Ohnen gekaufte Gerät wurde möglicherweise inzwischen verbessert und weist damit weiterecht Unterschiede zur Bedienungsanleitung auf. Dennoch sind die Funktionen und Betriebsbedingungen identisch, sodass Sie die Bedienungsanleitung im vollen Umfang nutzen können.
i Technische Änderungen bzw. Druckfehler bleiben vorbehalten.
EG - Konformitätserklung
Die in dieser Bedienungsanleitung beschrieben Produkte entsprechen samtlichen harmonisierten Anforderungen.
Die relevanten Unterlagen konnen durch die zuständigen Behörden über den Produktverkäfer angefordsert werden.
i Lesen Sie vor der ersten Benutzung des Geräts die gesamten Sicherheitshinweise gründlich durch. Die darin enthaltenen Informationen dieren dem Schutz Ihrer Gesundheit. Die Nichtbeachtung der Sicherheitshinweise kann zu schweren Beeinträchtigungen Ihrer Gesundheit und im schlimmsten Fall zum Tod führen.
GEFAHR! verweist auf eine
Gefahrensituation, die, wenn sie nicht abgewendt wird, cine unmittelbare Gefährung fur Leben und Gesundheit zur Folge hat.
VORSICHT! verweist auf eine Gefahrensituuation, die, wenn sie nicht abgewendet wird, zu mittelschweren oder klincren Verletzungen führen kann.
WARNING! verweist auf eine Gefahrensituation, die, wenn sie nicht abgewendet wird, eine mögliche bevorstehende Gefährung für Leben und Gesundheit zur Folge hat.
HINWEIS! verweist auf eine Gefahrensituation, die, wenn sie nicht abgewendet wird, eine mögliche Benschädigung des Gerats zur Folge hat.
i Bewahren SieDICsbc Bedicnungsanlcitung so auf, dass sie bei Bedarf jederzeit griffbereit ist. Befolgen Sie sorgfaltig alle Hinweise, um Unfälle oder eine Beschadigung des Gerats zu vermeiden.
i Prufen Sie auf jeder Fall auch das technische Umfeld des Gerats! Sind alle Kabel oder Leitungen, die zu ihrem Gerät führen, in Ordnung? Oder sind sie veralt et und halten der Gerateleistung nicht mehr Stand? Daher muss durch eine qualifizierte Fachkraft (Elektrotechniker/-in) eine Überprüfung bereits vorhandener wie auch neuer Anschlüsse erfolgen. Sämtliche Arbeiten, die zum Anschluss des Gerats an die Stromversorgung notwendig sind, dürfen nur von einer qualifizierten Fachkraft (Elektrotechniker/-in) durchgeführt werden.
Das Gerät ist ausschließlich zur privaten Nutzung bestimmt.
Das Gerät ist ausschließlich zum Abführren von Kuchendämpfen in einem Privathaushalt bestimmt.
Das Gerät ist ausschließlich zum Betrieb innerhalb geschlossener Räume bestimmt.
i Dieses Gerätarf nicht fur gewerbliche Zwecke,beim Camping und in öffentlichen Verkehrsmitteln betrieben werden.
Betreiben Sie das Gerät ausschließlich im Sinne seiner bestimmungsgemäßen Verwendung.
Erlauben Si nicemand, der mit der Bedienungsanleitung nicht vertraut ist, das Gerät zu benutzen.
GEFAHR!
- Benutzen Sie das Gerät nicht, wenn es nicht ordnungsgemäß arbeitet, sightbar beschädigt oder heruntergefallen ist oder das Netzkabel oder der Netzstecker beschädigt sind.
- Das Netzanschlusskabelarf nur durch eine qualifizierte Fachkraft (Elektrotechniker/-in) ausgetaucht werden.
- Versuchen Sie niemals, das Gerät alleine zu reparieren.
- Achten Sie vor dem Einsatzen des Geräts daraufuf, dass kein offenes Kaminfeuer brennt. Andernfalls konnen giftingige Verbrennungsgase aus dem Kamin oder Abzugsschacht der Feuerstelle in die Wohrnäume gezogen werden. Sorgen Sie bei Abluftbetrieb der Dunstabzugshaube und dem Betrieb von schornsteinabhängigen Feucrungen (z.B. Kohlcofen) für cinc ausreichende Frischluftzufuhr im Aufstellraum. Befragen Sie hierzu auf jeder Fall ihren zuständigen Kaminkehrmeister. Wenn Sie die Dunstabzugshaube im Umluftbetrieb benutzen, ist der gleichzeitige Betrieb einer raumluftabhängigen Feuerstände unbedenklich.
- Falls es in Ihrer Wohnung zum Austritt eines brennbaren Gases kommt sollte:
Offnen Sie alle Fenster zur Beluftung.
Ziehen Sie nicht den Stecker aus der Steckdose und benutzen Sie nicht das Bedienfeld bzw. die Schalter.
Berühren Sie nicht das Gerät, bisSAMTliches Gas abgezogen ist.
Bei Missachtung dieser Anweisungen konnen Funken entstehen, die das Gas entflammen.
△WARNUNG!
- Wenn Sie die Abzugshaube zusammen mit anderen nicht durch elektrische Energie versorgten Geräten (Gas- und Ölverbrennungsgeräte) betreiben, daß der Unterdruck in dem entsprechenden Raum einen Wert von 4Pa (4*10^5 bar) nicht überschreiben.
- Betreiben Sie das Gerät nur mit 220 240V / 50Hz Wechselspannung Verwenden Sie bei 220 240V / 50Hz Netzbetrieb keine Steckdosenleisten, Mehrfachsteckdosen oder Verlängerungskabel. Alle Netzanschlussleitungen, die Beschädigungen aufweisen, müssen von einer qualifizierten Fachkraft (Elektrotechniker/-in) ausgewechselt werden.
- Das Gerätarf ausschließlich an einer ordnungsgemäß geerdeten Steckdose angeschlossen werden.
-
Das Gerät muss geerdet sein. Verwenden Sie nur eine entsprechende Sicherheitssteckdose, um die Gefahr eines Stromschlags zu minimieren. Die technischen Daten Ihrer elektrischen Versorgung müssen den auf dem Typenschild angegebenen Werten entsprechen.
-
Ihr Hausstrom muss mit einem Sicherungsautomaten zur Notabschaltung des Geräts ausgestellt sein.
- Halten Sie beim Aufbau des Geräts die Mindestabstände zwischen der Abzugshaube und dem Kochfeld bereits ein.
Mindestabstand Unterkante Haubenkörper zu
| Glaskramik- und Gusskochplatten | 65 cm |
| Gaskochfeld | 75 cm |
| Kohle- / Öl- / Holzfeuerung | 85 cm |
- Bereiten Sie niemals flambierte Gerichte unter der Dunstabzugshaube zu. Die offenen Flammen konnen das Gerät zerstören und einen Brand verursachen.
- Benutzen Sie die Brenner von Gasherden nicht ohne ein Kochgeschirr. Die offenen Flammen können das Gerät zerstören und einen Brand verursichen.
- Wenn Sie Speisen frittieren, beaufsichtigen Sie durchgehend den Frittiervorgang, da das Öl Feuer fangen kann. Bei mehrfach verwendeten Frittierölen steigt das Risiko einer Selfstentzündung.
- Führer Sie auch keine anderen Tätigkeiten mit offenen Flammen durch. Die offenen Flammen können das Gerät zerstören und einen Brand verursichen.
- Der Abluftschlaucharf nicht aus brennbarem Material bestehen und keine brennbaren Materialien enthalten.
- Die von dem Gerrat angesaugte Luft darf nicht über das Abluftrohr einer Heizung oder anderer, nicht elektrisch betriebener Geräte abgeführt werden.
- Das Gerätarf ausschließlich mit eingesetzten Fettfiltern betrieben werden, das sich ansonsten durch den Dunst transportiertes Fett in der Haube und im Abluftsystem ablagert. BRANDGEFAHR! Reinigen oder ersetzen Sie die Filter regelmäßig.
- Trennen Sie das Gerät vor allen Wartungs- und Reinigungsrab儿子 von der Stromversorgung.
- Achten Sie beim Entpacken unbedingt darauf, dass die Bcstandteile der Verpackung (Polyathylentuten, Polystyrenstücke) nicht in die Reichweite von Kindern gelangen. ERSTICKUNGSGEFAHR!
- Dieses Gerät kann von Kindern ab 8 Jahren und darüber sowie von Personen mit verringerten physischen, sensorischen oder mentalen Fähigkeiten oder Mangel an Erfahrung und Wissen benutzt werden, wenn sie beaufsichtigt oder bezüglich des sicheren Gebrauchs des Gerätes unterwiesen wurden und die darauf resultierenden Gefahren verstehen. Kinder dürfen nicht mit dem Gerät speilen. Reinigung und Benutzer-Wartung dürfen nicht von Kindern ohne Beaufsichtigung durchgeführt werden.
- Beaufsichtigen Sie Kinder immer, damit diese nicht mit dem Gerät speiten.
VORSICHT!
- Zugängliche und berühbare Teile der Haube können bereits werden, wenn die Haube zusammen mit einer Kochvorrichtung benutzt wird.
- Führn Sie den Einbau des Gera's mit mindestens zwei Personen durch, weil Sie ansonsten das Gcrt beschadigen oder der Person, die an dem Gcrt arbeitet, Schaden zufugen.
HINWEIS!
- Das Gerät muss von mindestens zwei Personen transportiert und angeschlossen werden.
- Packen Sie die Kaminteile außerst vorsichtig aus; ansonsten beschädigten Sie die Kamintcile!
- Entfernen Sie s amtliches Verpackungsmaterial, bevor Sie das Gerät benutzen Das Gerät ist für den Transport möglicherweise mit Transportsicherungen geschützt. Entfernen Sie diese komplett. Gehen Sie damit vorsichtig vor. Benutzen Sie keine aggressiven Reinigungsmittel, um Reste von Transportsicherungen zu entfern.
- Eine konstante Pflege und Wartung gewährleistet einen einwandfrei Betrieb und die optimale Leistung Ihres Geräts.
- Entnehmen Sie der Verpackung und den Styropor-Komponenten unbedingt alle Zubehörteile!
- Überprüfen Sie vor dem Anschluss des Geräts, ob das Netzkabel oder das Gerät selbst keine Beschädigungen aufweisen.
2. Installation
- Der Durchmesser des Abluftschlauchs muss mit dem Durchmesser des Verbindungsgrings übereinstimmen.
- Sollte Ihr Gerät werkseitig mit einem Kohlefilter ausgerüstet sein und Sie Ihr Gerät im Abluftbetrieb verwenden wollen, müssen Sie den Kohlefilter entfernen. Ein Kohlefilter ist nur für den Umluftbetrieb sinnyoll putzbar.
- Die Abluftleitung solle möglichst kurz und geradlinig sein. Der Durchmesser der Abluftleitung muss mindestens 120 / 150mm (siehe Kapitel TECHNISCH- DATEN) betragen, da ansonsten mit erhöhten Laufgeräuschen und vermindertes Absauglcistung zu rechnen ist.
-
Achten Sie darauf, den Radius zu erhalten, wenn sie Bögen verwenden oder formen, da ansonsten die Leistung des Geräts vermindert wird. Die maximal zulässige Biegung nach außen beträgt 120^ .
-
Verwenden Sie nur glatte Rohre oder flexible Abluftschläuche aus nicht brennbarem Material.
- Halten Sie bei waagerechter Verlegung der Abluftleitung ein Mindestgebung von 1cm / m oder einen Neigungswinkel von 2^0 ein. Ansonsten lauft Kondenswasser in den Motor der Abzugshaube.
- Wenn die Abluft in einen Abluftschacht geführt wird, muss das Ende des Einführungsstutzens in Strömungsrichtung ausgerichtet werden.
- Wenn die Abluftleitung durch kühle Räume (z.B. Dachboden) geführt wird, kann innerhalb der einzelnen Leitungsbereiche ein starkes Temperaturgefalle entstehen. In thisem Fall wird in den betroffenen Bereichen Kondenswasser entstehen, was eine Isolierung der betroffenen Bereiche zwingend notwendig macht. Statten Sie eine solche Abluftleitung darüber der Isolierung gegebenenfalls auch mit einer Kondenswassersperre aus.
- Je nach Modell kann ihre Abzugshaube mit einer (oben) oder zwei (oben und halten) Abzugsoffnungen ausgestellt sein.
- Die nicht benötigte Öffnung ist mit einem Kunststoffdeckel verschen, der durch Drehen gegen den Uhrzeitigersinn entfernt und auf die nicht benötigte Öffnung gesetzt werden kann.
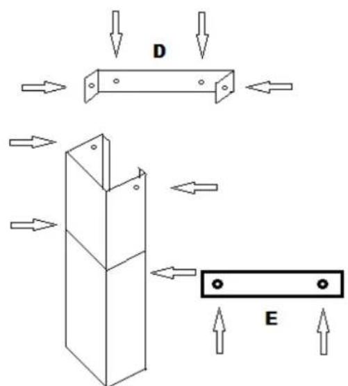
Gerätekomponenten


| A | Haube |
| B | Basisschacht |
| C | Telescopschacht |
| D | Montageleiste |
| E | Flachiscen |
| F | Kochfeld |
Installationsschritte
WARNING! Eine Nichtbeachrung der Installationsanweisungen für die Schrauben oder Befestigungsvorrichtungen kann zu einem Stromschlag führen!
WARNUNG! Beschädigen Sie beim Bohren keine elektrischen Leitungen in den Wänden.
Schrauben fur Wandbefestigung
Befestigung des Kamins an


1 Montagebügel für Kamin 2 St.. 4^*40
4 Montagebügel 2 St. 4^*8
2 Flacheisen 2 St.. 4^*30
5 Flacheisen 2 St. 4^*8
3 Aufhängevorrichtung 3 St. 4^*40
6 Haube 2 St.. 4^*8
- Bringen Sie die beiden halbkreisfornigen Kunststoff-Ventilklappen(a/b) in der Luftauslassoffnung des Gerats an. Bringen Sie die Achsen der Ventilklappen durch vorsichtiges Biegen der Ventilklappen (1a) in die entsprechenden Locherein (1b). Beide Ventilklappen müssen sich anschließend nach außen offen (2).



- SchlieBen Sie nun den Abluftschlauch am damit vorgesehenen Ausgang der Haube an. Stulpen Sie den Abluftschlauch mit dem verbreiteten Rand über die Abluftöffnung des Geräts. Dabei sollen den Sie den Abluftschlauch halten an der Abluftöffnung ansetzen und dann vom Innerend des Abluftschlauchs aus den Schlauch vorsichtig mit den Daumen um die Abluftöffnung herum

anbringcn.
- Halten Sie die Aufhängevorrichtung für die Haube an die Wand. Achten Sie hierbei darauf, eine Position zu wahren, die den Abmessungen des Abluftkamins entspricht. Markieren Sie die Bohrungen mit einem Bleistift.

-
Bohren Sie nun die Locher und befestigen Sie die Aufhangevorrichtung mit den Dübeln und Schrauben.
-
Hängen Sie die Haube auf die festgeschraubte Aufhängevorrichtung.

- Bringen Sie das Flacheisen zuerst am unteren Kamin und dann an der Wand an. Sie konnen diesen Schritt zuerst provisorisch vornehmen, um die Licher für die Wandmontage des Flacheisens anzuzeichnen und die entsprechenden Bohrungen in der Wand vorzunehmen.

- Setzen Sie den Kamin damit Teleskopstück auf die Haube und befestigen Sieihn an der Haube an den darauf vorgesehenen Punkten.
- Befestigen Sie den Montagebügel für den Abluftkamin unterhalb der Decke mit den Dubeln und Schrauben an der Wand.



- Verlegen Sie nun den Abluftschauch zum vorgesehenen Ausgang. Befestigen Sie den Abluftschauch mit dem Kabelbinder (1) am Abluftausgang in der Wand.

- Befestigen Sie den oberen Kamin am Montagebügel für den Abluftkamin (vergl. Schritt 8).
- Setzen Sie die Fettfilter ein und schlieben Sie das Netzkabel am Stromnetz an.
Überprüfen Sie, ob Ihr Gerät aus der Front-und Seitenperspektive gerade und waagerecht an der Wand angebracht ist, da das Gerät ansonsten nicht ordnungsgemäß arbeitet.

Kohlefilter

1 auf
Vor Montage Netzsteckerziehen!
Nur im Umluftbetrieb verwenden.
2 zu
3. Bedienfeld

1 Aus
2 Niedrigste Einstellung
3 Mittlere Einstellung
4 Hochste Einstellung
5 Licht cin/aus
HINWEIS! Benutzen Sie alle Beleuchtungseinheiten nur, wenn das Gerät in Betrieb ist. Benutzen Sie die Beleuchtungseinheiten nicht zur Raumbeleuchting.
WARNING!
Trennen Sie das Gerät vor allen Wartungs- und Reinigungsrarbeiten von der Stromversorgung.
Eine Nichtbeachtung der Reinigungs- und Pflegeanleitungen führt zu einem erhöhten Brandrisiko aufgrund von Fettablagerungen.
HINWEIS!
Legen Sie vor allen Reinigungs- und Wartungsarbeiten alle Ringe an ihren Fingern sowie allen Armsschmuck ab; ansonsten beschädigen Sie die Oberflächen des Geräts.
- Behandeln Sie das Gehäuse mit einem weichen Tuch und einem geeigneten Reinigungsmittel.
- Reinigen Sie das Bedienfeld / die Bedienelemente niemals mit einem Reinigungsmittel. Verwenden Sie stattdessen ein leicht feuchtes Tuch, da ansonsten Wasser in das Bedienfeld cindringt und die Elektronik beschädigt.
- Verwenden Sie bei mattschwarz lackierten Geräten niemals alkoholhaltige Reinigungsmittel, weil diese Verfährbungen verursichen.
- Reinigen Sie gläscrne Bestandteile2 nur mit einem geeigneten Glasreiniger.
- Reinigen Sie bei jedem Fettfilter- oder Kohlefilteraustausch bzw. bei einer Reinigung des Filters alle frei einsehbaren unteren Komponenten Ihres Geräts mit einem milden, nicht atzenden und fettlosendem Reinigungsmittel.
- Beschädigen Sie beim Reinigen von Metallfiltern nicht das Gitter. Durch häufiges Reinigen können Farbveränderungen der Metalloberfläche entstehen.
- Solche Veränderungen haben kein einfluss auf die Leistung der Filter und sind kein Reklamationsgrund.
- Benutzen Sie keine Scheuermittel.
- Benutzen Sie niemals einen Dampfreiniger. STROMSCHLAGGEFAHR!

Fettfilter
Aluminiumfilter
Aluminiumfüssen nicht ersetzt werden. Einmal pro Monat von Hand oder in der Spülmaschine (30^) reinigen. Verwenden Sie keine aggressiven Reinigungsmittel. Bcnutzen Sie keine Schcucrmittel! Bcnutzen Sie keine alkalischen Spülmaschinenreiniger (ph große 7). Filter nicht zusammen mit verschmutzten Geschirr in den Geschirspüler stellen. Von Essensresten verstopfte Filter fallen nicht unter die Garantie. Lassen Sie den Filter gründlich trocknen, bevor Sieihn wieder vorsichtig einsetzen.

Austausch des Leuchtmittels
Berühren Sie das neue Leuchtmittel nicht mit bloßen Händen. Der Fingerschweß reduziert dir Haltbarkeit des Leuchtmittels. Verwenden Sie ein dūnnes Tuch oder)dūnne Stoffhandschuhe.
- WARNUNG! Trennen Sie das Gerät von der Stromversorgung.
- Lassen Sie das Leuchtmittel abkühlen, bevor Sie es austauschen.
- Entnehmen Sie das verbrauchte Leuchtmittel.
- Ersetzen Sie es durch ein Leuchtmittel von gleicher Bauart und Leistung.

Kohlefilter
Herkömmliche Kohlefilter konnen nicht gereinigt werden. Diese Filter haben eine begrenzte Aufnahmefähigkeit und sind in der Regel nach 3-6 Monaten verbraucht. Ersetzen Sie einen verbrauchten Filter. Detaillierte Informationen vom Hersteller dazu finden Sié auf der Verpackung der Filter.
5. Problembehandlung
| FEHLER MÖGLICHE URSACHE MASSNAHMITEN | |
| Gerät arbeitet überhaupt nicht. | |
| Das Gerät ist mit dem Stromstecker nicht an der Steckdose angeschlossen. | Überprüfen Sie die fragliche Steckdose, indem Sie ein anderes Gerät ebenda anschlieben. |
| Der Stromstecker ist locker. | Überprüfen Sie die Sicherung. |
| Die Steckdose wird nicht mit Strom versorgt. | Die Stromspannung ist zu niedrig. Vergleichen Sie die Angaben auf dem Typenschild mit den Angaben Ihres Stromanbieters. |
| Die entsprechende Sicherung ist ausgeschaltct. | |
| Beleuchtung leuchtet, aber der Motor lauft nicht. | |
| Liftungsklappe blockiert. | Blockierung beheben. |
| Motorlager defckt. | Motor ersetzen. |
| Der Motor riecht verdächtig. | |
| Motor defekt. | Motor ersetzen. |
| Ölspuren. | |
| Einwegventil undicht. | Einwegventil abdichten. |
| Übergang Basischacht- | Übergang mit geeignetem Mittel |
| Telcskopschacht undicht. | abdichen. |
| Gerät vibriert. | |
| Motor nicht fest montiert. | Motor richtig befestigen. |
| Haube nicht richtig befestigt. | Haube richtig befestigen. |
| Ungenügende Abzugsleistung. | |
| Abstand Haube-Kochfeld zu groß. | Haube tiefer hängen. |
| Zu viel Zugluft aufgrund geöffneter Türen und/oder Fenster schreiben. | TÜren und/oder Fenster schreiben. |
| Türen und/oder Fenster. | |
| Gerät ist instabil. | |
| Befestigungsbügel/-schrauben nicht fert st montiert. | Befestigungsbügel/-schrauben richtig montieren |
Wenn die Leistung der Haube unzureichend ist und/oder erhöhte Betriebsgeräusaue zuhoren sind, konnen damit die folgenden Ursachen vorliegen:
unzureichende Gröbe der Abluftleitung.
eine Verstopfung in der Abluftleitung.
der Durchmesser der Abluftleitung von der Haube bis zum Mauerkasten inklusive sollte 120 / 150~mm betragen (siehe TECHNISCHE DATEN), da ansonsten die Leistung des Motors beeinträchtigt werden kann.
falls Sie am Mauerkasten ein Fliegengitter angebracht haben, kann dadurch der Luftstrom beccinträchtigt werden. Entfern den Sie zum Überprüfen das Gitter.
falls an der Abdeckplatte des Mauerkastens feste und sehr schrag stehende Lamellen sind, kann dadurch der Luftstrom beeinträchtigt werden. Entfernen Sie zum Überprüfen die Abdeckplatte.
Bringen Sie eine Abdeckplatte mit beweglichen Lamellen an, die den Luftstrom am wichtigen hemmen.
Überprüfen Sie den Zustand und die Sauberkeit der Filter.
Überprüfen Sie, ob die durch die Haube der Kuche entnommene Luft ersetzt wird, damit kein Unterdruck entsteht.
falls Sie die Haube im Umluftbetrieb verwenden, überprüfen Sie, ob die Kohlefilterrechtzeitig gewechselt wurden (mindestens alle 3-6 Monate).
Sollte das Gerät Störungen abweichend von den oben beschriebenen aufweisen, oder falls Sie alle Punkte der Liste überprüft haben, das Problem aber nicht behoben werden konnte, kontaktieren Sie das Geschäft, in dem Sie das Gerät gekauft haben.
6. Technische Daten
| Geräteart | Dunstabzugshaube | |
| Material | Edelstahl | |
| Einbaubreite in cm | 90,00 | |
| Drucktasten | 5 | |
| Umluftbetrieb/Abluftbetrieb* | ✓ | ✓ |
| Jährlicher Energieverbrauch (AECood) | 28,4 kW/h | |
| Energieeffizienzklasse | B | |
| Fluidodynamische Effizienz (FDEood) | 14,9 | |
| Fluidodynamische Effizienzklasse | D | |
| Beleuchtungseffizienz (LEood) | 24,4 lux/W | |
| Beleuchtungseffizienzklasse | B | |
| Fettabschidegrad | 77,3 % | |
| Fettabscheidegradklasse | C | |
| Leistungsaufnahme ausgeschaltet (Po) | 0,00 W | |
| Leistungsaufnahme Bereitschaft (Ps) | 0,00 W | |
| Leistungsaufnahme Lichtsystem (Wi) | 1 x 2,5 W LED | |
| Anschlusswert | 67,5 W | |
| Stromspannung/Frequency | AC 220-240V/50Hz | |
| Fettfilter/Material/spülmaschinenfest | 3 | Aluminium✓ |
| Kohlefilter ** | 2*CF 130 | |
| Abluftschlauch | ✓ | |
| Befestigungsmaterial | ✓ | |
| Bedienungsanleitung | ✓ | |
| Tclskopkamin aussichbar von-bis | 40,00-78,00 cm | |
| Abmessungen Gerät H*B*T in cm | 70,00-108,00*90,00*50,00 | |
| Gewicht netto/brutto in kg | 12,50/14,00 | |
- Abluftbetrieb: bei Anschluss an einen Entlüftungskamin bzw. Abluft ins Freie (Mauerdurchführung = 150mm Ø / Bohrung ca. 160mm Ø)
** Ausstattung abhängig vom Modell.
7. Entsorgung
- Achten Sie beim Entpacken unbedingt darauf, dass die Bestandteile der Verpackung (Polyathylentüten, Polystyrenstücke) nicht in die Reichweite von Kindern gelangen. ERSTICKUNGSGEFAHR!
- Nicht mehr benutzte und alte Geräte müssen der zuständigen Wiederverwertungsstelle zugeführten werden. Keinesfalls offen den Flammenaussetzen.
- Bevor Sie ein beliebiges Altgerät entsorgen, machen Sie diesen vorher unbedingt Funktionsentüchtig! Das bedeutet, immer den Netzsteckerziehen und danach das Stromanschlusskabel am Gerät abschneiden und direkt mit dem Netzstecker entfernen und entsorgen! Entsorgen Sie Papier und Kartonagen in den darauf vorgesehenen Behältern.
- Entsorgen Sie Kunststoffe in den darauf vorgesehenen Behältern.
- Falls es in Ihr dem Wohnumfeld keine geeigneten Entsorgungsbehälter gibt, bringen Sie diese Materialien zu einer geeigneten communalen Sammelstelle.
- Nähere Informationen erhalten Sie von Ihr Frem Fachhändler oder bei ihren entsprechenden communalen Entsorgungseinrichtungen.

Alle mit diesen Symbol gekennzichneten Materialien wiederverwertbar.

Alle verfügbarbaren Informationen zur sind Mülltrennung erhalten Sie bei Thren örtlichen Behörden.
fur Elektro-GroBgerate der PKM GmbH & Co. KG, Neuer Wall 2, 47441 Moers
Der Hersteller leistet dem Verbraucher für die Dauer von 24 Monaten, gerechnet vom Tag des Kaufes Garantie für einwandfreies Material und fehlerfrei Fertigung. Dem Verbraucher stehen darüber den Rechten aus der Garantie die gesetzlichen Gewährleistungsrechte zu, die der Verbraucher gegen den Verkauf hat, bei dem er das Gerät erworben hat. Diese werden durch die Garantie nicht eingeschrankt. Der Garantieanspruch ist vom Käufer durch Vorlage des Kaufbelegs mit Kauf-und/oder Lieferdatum nachzuweisen und unverzüglich nach Feststellung und innerhalb von 24 Monaten nach Lieferung an den Erstendabnehmer zu melden. Die Garantie begründet keine Ansprüche auf Rücktritt vom Kaufvertrag oder Minderung (Herabsetzung des Kaufpreises). Ersetzte Teile oder ausgetauschte Geräte gehen in unser Eigentum über.
Der Garantieanspruch erstreckt sich nicht auf:
- zerbrechliche Teile wie z.B. Kunststoff oder Glas bzw. Gluhlampen;
- gingfugige Abweichungen der PKM-Produkte von der Soll-Beschaffenheit, die auf den Gebrauchswert des Produkts keinen Einfluss haben;
- Schäden infolge Betriebs- und Bedienungsfehler,
- Schaden durch aggressive Umgebungseinflüsse, Chemikalien, Reinigungsmittel;
- Schaden am Produkt, die durch nicht fachgerechte Installation oder Transport verursacht wurden;
- Schäden infolge nicht haushaltsüblicher Nutzung;
- Schaden, die außerhalb des Geräts durch ein PKM-Produkt entstanden sind - soweit eine Haftung nicht zwingend gesetzlich angeordnet ist.
Die Gültigkeit der Garantie endet bei:
- Nichtbcachten der Aufstell- und Bedienungsanleitung;
- Reparatur durch nicht fachkundige Personen;
- Schäden, verursacht durch den Verkäufer, Installateur oder dritte Personen;
- unsachgemäß Installation oder Inbetriebnahme;
- mangelnde oder fehlerhafte Wartung;
- Geräten, die nicht ihrem vorgesehenen Zweck entsprechend verwendet werden;
- Schaden durch höhere Gewalt oder Naturkatastrophen, insbesondere, aber nicht abschlussend bei Brand oder Explosion.
Garantieleistungen bewirken weder eine Veränderung der Garantiefrist noch setzen sie eine neue Garantiefrist in Lauf. Der räumliche Geltungsbereich der Garantie erstreckt sich auf in Deutschland, Österreich, Belgien, Luxemburg und in den Niederlanden gekaufte und verwendete Geräte.
Wenden Sie sichitte an das Geschäft, in dem Sie das Gerät erworben haben.
© PKM GmbH & Co. KG, Neuer Wall 2, 47441 Moers
EinfachAnleitung