90902H - Basket PKM - Free user manual and instructions
Find the device manual for free 90902H PKM in PDF.
User questions about 90902H PKM
0 question about this device. Answer the ones you know or ask your own.
Ask a new question about this device
Download the instructions for your Basket in PDF format for free! Find your manual 90902H - PKM and take your electronic device back in hand. On this page are published all the documents necessary for the use of your device. 90902H by PKM.
USER MANUAL 90902H PKM
Dear customer! We would like to thank you for purchasing a product from our wide range of domestic appliances. Read the complete instruction manual before you operate the appliance for the first time. Retain this instruction manual in a safe place for future reference. If you transfer the appliance to a third party, also hand over this instruction manual.
Index
- Safety instructions.. 18
2.Installation 21 - Control panel. 24
- Cleaning/maintenance 25
- Trouble shooting 26
- Technical data 28
7.Waste management. 29
8.Guarantee conditions 30
A. Technical drawing 45
EU - Declaration of Conformity
The products, which are described in this instruction manual, comply with the harmonized regulations.
The relevant documents can be requested from the final retailer by the competent authorities.
The figures in this instruction manual may differ in some details from the current design of your appliance. Nevertheless follow the instructions in such a case.
Any modifications, which do not influence the functions of the appliance, shall remain reserved by the manufacturer. Please dispose of the packing with respect to your current local and municipal regulations.
The appliance you have purchased may be an enhanced version of the unit this manual was printed for. Nevertheless, the functions and operating conditions are identical. This manual is therefore still valid.
Technical modifications as well as misprints shall remain reserved.
1. Safety instructions
Read the safety instructions carefully before you operate the appliance for the first time. All information included in those pages serve for the protection of the operator. If you ignore the safety instructions, you will endanger your health and life.
DANGER! Indicates a hazardous situation which, if ignored, will result in death or serious injury.
CAUTION! Indicates a hazardous situation which, if not avoided, may result in minor or moderate injury.
WARNING! Indicates a hazardous situation which, if ignored, could result in death or serious injury.
NOTICE! Indicates possible damage to the appliance.
Store this manual in a safe place so you can use it whenever it is needed. Strictly observe the instructions to avoid damage to persons and property.
Check the technical periphery of the appliance! Do all wires and connections to the appliance work properly? Or are they time-worn and do not match the technical requirements of the appliance? A check-up of existing and newly-made connections must be done by an authorized professional. All connections and energy-leading components (incl. wires inside a wall) must be checked by a qualified professional. All modifications to the electrical mains to enable the installation of the appliance must be performed by a qualified professional.
The appliance is intended for private use only.
The appliance is intended for extracting/recirculating cooking vapours in a private household only.
The appliance is intended for indoor-use only.
The appliance is not intended to be operated for commercial purposes, during camping and in public transport.
Operate the appliance in accordance with its intended use only.
Do not allow anybody who is not familiar with this instruction manual to operate the appliance.
DANGER
- Do not operate the appliance when it does not work properly, is visibly damaged, has dropped down or the power cord/plug are damaged.
- The power cord must be replaced by a qualified professional only.
- Never repair the appliance yourself.
- Do not operate any room-air dependent fireplaces while operating the appliance; otherwise harmful gases will get from the fireplace into your home. Whenever the hood is operated together with chimney-vented fireplaces (e.g. coal furnace), ensure there is sufficient air supply in the room where the
appliance is installed in. Always consult your local chimney-sweep master. When you operate the appliance in recirculating mode, you can simultaneously run room-air dependent fireplaces.
- If gas is set free in your home:
Open all windows.
Do not unplug the appliance and do not use the control panel.
Do not touch the appliance until the gas has gone.
Otherwise sparks can be generated which will ignite the gas.
WARNING!
- Whenever you use extractor hoods in combination with non electrically-operated appliances (gas and oil-fired appliances), the negative pressure of the corresponding room must not be more than 4Pa (4*10^5bar)
- An electrical supply of 220 - 240V AC / 50Hz is required. Do not use a socket board or a multi socket or an extension cord when operating the appliance with 220 - 240V / 50Hz (AC). All electrical connections which may be damaged must be repaired by a qualified professional.
- Only connect the appliance to a properly grounded and dedicated socket.
- The appliance must be grounded. Only use a proper safety socket to minimize risk of electric shock. The technical data of your energy supply must meet the data on the rating label.
- Your domestic circuit must be equipped with an automatic circuit breaker.
- Strictly observe the minimum distance between hood and hob:
| Minimum distance hood to | |
| Ceramic-glass rings/hotplates | 65 cm |
| Gas cooker | 75 cm |
| Coal / oil / stove wood firing | 85 cm |
- Do not cook a la flambe dishes below the extractor hood. The flames may damage your appliance and/or cause fire.
- Do not operate the gas jets of a gas hob without cookware. The flames may damage your appliance and/or cause fire.
- If you fry, permanently keep an eye on the oil as it can catch fire. The risk of auto-ignition rises when using the oil many times.
- Do not carry out any procedures on the hob using naked light or fire. The flames may damage your appliance and/or cause fire.
- The exhaust hose must not be made of flammable materials or contain any flammable materials.
- The extracted air must not be conducted by an exhaust pipe of a heater or similar, not electrically-operated appliances.
- Operate the appliance with inserted grease filters only. Otherwise recirculating-transported fat will deposit in the appliance and the exhaust system. RISK OF
FIRE! Clean or replace the filters regularly.
-
Disconnect the appliance from the mains before cleaning and maintenance.
-
While unpacking, the packaging materials (polythene bags, polystyrene pieces, etc.) should be kept away from children. CHOKING HAZARD!
-
This appliance may be operated by children aged from 8 years and above as well as by persons with reduced physical, sensory and mental capabilities or lack of experience and knowledge if they are supervised or have been instructed concerning the safe use of the appliance and do comprehend the hazards involved. Children must not play with the appliance. Cleaning and user-maintenance must not be carried out by children unless they are supervised.
-
Always supervise children so they will not play with the appliance.
CAUTION!
-
Accessible parts of the hood may become hot while cooking.
-
Carry out the installation of the appliance with at least two persons. Risk of damage. RISK OF INJURY!
NOTICE!
-
The appliance must be transported and installed by at least two persons.
-
Unpack the parts of the chimney very carefully; otherwise you will damage the chimney
-
Remove the complete packaging materials before initial operation. The appliance may be equipped with a transportation lock. Remove the transportation lock completely. When removing be very careful. Do not use any aggressive detergents to remove residues of the transportation lock.
-
Clean and maintain the appliance regularly to enable its proper operation and optimal performance.
-
Take the enclosed parts from the packaging and its polystyrene-components.
-
Check that the power cord and the appliance are not damaged before electrical connection.
2. Installation
- The diameter of the exhaust hose must meet the diameter of the connecting ring.
- If your appliance is equipped with a carbon filter, remove the carbon filter before you operate the appliance in the extraction mode. The carbon filter should be used in the recirculating mode only.
- The exhaust duct should be as short and straight as possible. The diameter of the exhaust hose should be at least 120 / 150mm (look at chapter TECHNICAL DATA). Otherwise you have to expect increased noise and decreased performance of your appliance.
- The proper maximum bending angle outwards is 120^ .
- Use smooth tubes or flexible, non-inflammable exhaust hoses only.
- When the exhaust duct is connected horizontally, a minimum falling gradient of 1cm / m or an inclination of 2^ is required. Otherwise condensate will get into the motor of the hood.
- When an exhaust duct is used, the ending of the exhaust hose must be adjusted into the direction of flow.
- If the exhaust duct passes through cool areas (e.g. an attic), a temperature gradient may occur in the different parts of the exhaust duct so condensate will be generated. Proper insulation of the corresponding parts of the exhaust duct will then be needed. Equip such an exhaust duct with a condensate trap if need be.
- Depending on the model the hood is equipped with one (top) or two (top, back) outlets.
- The idle outlet is covered by a plastic cap. You can remove this cap by turning it anticlockwise. Use the cap to cover the idle outlet.

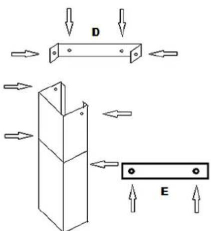
Main components


A Hood
| B | Base chimney |
| C | Telescopic chimney |
| D | Mounting rail |
| E | Flat bar |
| F | Hob |

Installation steps
WARNING! Failure to install the screws or fixing device in accordance with these instructions may result in electrical hazards.
WARNING! Do not damage the wiring in the wall while drilling
Screws for wall mounting
Fixing the chimney to


1 Installation bracket 2 pcs. 4^40
2 Flat bar 2 pcs. 4^30
3 Suspension device 3 pcs. 4^40
4 Installation bracket 2 pcs. 4^8
5 Flat bar 2 pcs. 4^8
6 Hood 2 pcs. 4^8
Installation steps
- Install the 2 semi-circular valve flaps (a/b) into the air-outlet-opening of the appliance. Insert the axles of the valve flaps into the relevant openings (1b) by bending them carefully (1a). Both valve flaps shall open outwards (2).



- Now connect the exhaust hose to the air-outlet opening of the hood. Put the widened end of the exhaust hose over the air-outlet. Start at the back of the air-outlet then proceed from inside the exhaust hose by installing it (use your thumbs on the air-outlet.

- Place the suspension device on the wall. Select the position relevant to the dimensions of the entire appliance. Mark the drillings with a pencil before.

-
Drill the holes and fix the suspension device with the screws and dowels.
-
Hang the hood on the fixed suspension device.

- Install the flat bar on the bottom chimney first, then on the wall. You can carry out this step provisionally to mark the drillings of the wall mounting and drill the relevant holes.

-
Place the top and bottom chimney on the hood and fix the bottom one on it (look at the drawing connect chimney to hood).
-
Fix the chimney-installation bracket below the ceiling on the wall using the screws and dowels.
Screw chimney bracket

Screw chimney bracket
- Lay the exhaust hose to the wall outlet. Fix the exhaust hose with the cable tie (1) on the wall-outlet.

-
Fix the top chimney on the installation bracket (look also on step 8).
-
Insert the grease filters and connect the appliance to the mains3.
Check the correct position of the hood from front and side perspective. Otherwise the appliance will not work properly.

Carbon filter

1
open
Unplug the appliance before installing the carbon filter.
For recirculating mode only.
2
close
3. Control panel

1 Off
2 Lowest setting
3 Medium setting
4 Highest setting
5 Light on/off
NOTICE! Only switch on the lights while the appliance is operating. Do not switch on the lights to lighten the room.
4. Cleaning/maintenance
WARNING!
Disconnect the appliance from the mains before you clean or maintain it.
- Ignoring the cleaning and maintenance instructions will cause an increased risk of fire.
NOTICE!
Take off all rings and bracelets before cleaning or maintaining the appliance; otherwise you will damage the surface of the appliance.
- Clean the housing of the appliance with a suitable detergent. Use such a product carefully and economically.
- Do not clean the control panel with a detergent. Use a damp cloth. Otherwise you may damage the electronic components of the controls.
- Never use any alcohol-containing detergents to clean matt black painted appliances as these detergents cause colour-changes.
- Clean the glass panels with a suitable detergent only.
- When you clean or replace the grease filters or the carbon filters also clean all visible components on the bottom of the appliance with a mild, non-acid and fat-dissolving detergent.
- Do not damage the grid of metal-made grease filters. The colour of the metal surface may change due to frequent cleaning as well as the use of aggressive detergents.
- Such changes do not influence the capacity of the appliance and are no reason for complaint.
- Do not use a steam cleaner. RISK OF ELECTRIC SHOCK!
- Do not use any abrasive detergents.

Grease filter
Aluminium filter
You do not need to replace aluminium filters. Clean them once a month by hand or in a dishwasher (30^0) . Do not use any acrid or corrosive detergents. Do not use any abrasive detergents! Do not use any alkaline dishwasher-detergents! (ph more than
7). Do not put the filter in the dishwasher together with tableware Filters which are blocked with food debris do not carry a guarantee. Dry the filters properly before you reinstall them.

Replacing of the illuminant
Do not touch the illuminant with your hands. The sweat on your fingers will reduce the operating time of your new illuminant. Use a thin cloth or a thin glove.
- WARNING! Disconnect the appliance from the energy supply.
- The illuminant should have cooled down before you remove it.
- Remove the old illuminant.
- Replace it by a new one of the same kind and power.

Carbon filters
Conventional carbon filters cannot be cleaned. The capacity of these filters is limited. You can use such filters for about 3-6 months. Replace a depleted filter. Find further information on the filter packaging.
5. Trouble shooting
MALFUNCTION POSSIBLE CAUSE MEASURE
The appliance does not work at all.
The plug of the appliance is not connected to the socket.
Check the corresponding socket by connecting it with another appliance.
The plug has become loose.
Check the fuse.
The socket is not supplied with energy.
The voltage is too low. Compare the data on the model plate with the data of your energy supplier.
The fuse is switched off.
Light is on but motor does not work.
ventilation damper blocked.
remove blockage.
motor mounting defective.
replace motor.
Abnormal motor-smells.
motor defective
replace motor
Smear of oil.
one-way valve is leaky
seal the valve
connection base chimney-telescopic seal the connection with a suitable
| chimney is leaky | material |
| Appliance vibrates. | |
| motor not properly fixed | fix motor properly |
| hood not properly fixed | fix hood properly |
| Insufficient extracting capacity. | |
| too much distance hood-hob | lower position of hood |
| too much draught because of open doors and/or windows | close the doors/windows |
| Appliance is unstable. | |
| mounting rail is not firmly fixed | fix mounting rail properly |
| screws are not firmly tightened | tighten the screws |
If the hood does not work properly and/or you can hear increased operating noise, check the schedule below:
Incorrect dimension of the air duct.
Obstruction in the air duct.
The diameter of the air duct from hood to wall-box inclusive should be 120 mm; otherwise the capacity of the motor may be decreased.
If you have installed a fly screen on the wall-box, the air vent may be obstructed. Check by removing the fly screen.
If the cover panel of the wall box is equipped with firm and slanted slats, the air vent may be obstructed. Check by removing the cover panel.
Install a cover panel with moveable slats, which do not obstruct the air vent.
Check condition and cleanliness of the filters.
Check if the air which is extracted by the hood is replaced to avoid negative pressure.
- When you run your appliance in recirculating mode, check if the carbon filter has been replaced on time (min. every 3-6 months).
If the appliance has a malfunction not noted on the schedule or if you have checked all items on the schedule but the problem still exists, please contact the shop you purchased the appliance at.
6. Technical data
| Type | Cooker hood |
| Material | Stainless steel |
| Installation-width in cm | 90.00 |
| Push buttons | 5 |
| Recirculation/extraction mode* | ✓ |
| Annual energy consumption (AEChood) | 28.4 kW/h |
| Energy efficiency category | B |
| Fluid dynamical efficiency (FDEhood) | 14.9 |
| Fluid dynamical efficiency category | D |
| Lighting efficiency (LEhood) | 24,4 lux/W |
| Lighting efficiency category | B |
| Grease separation | 77.3 % |
| Grease separation category | C |
| Power consumption off (Po) | 0.00 W |
| Power consumption standby (Ps) | 0.00 W |
| Power consumption lighting system (Wi) | 1 x 2,5 W LED |
| Connected load | 67,5 W |
| Voltage/frequency | AC 220-240V/50Hz |
| Grecase filter/material/dishwasher-proof | 3 aluminum |
| Carbon filter** | 2*CF 130 |
| Exhaust hose | ✓ |
| Installation material | ✓ |
| Instruction manual | ✓ |
| Telescopic chimney extractable from-to | 40.00-78.00 cm |
| Dimensions appliance H*W*D in cm | 70.00-108.00*90.00*50.00 |
| Weight net/gross in kg | 12.50/14.00 |
- Extraction mode: installation with ventilation stack or air duct outwards only, wall penetration = Ø 150 mm, drilling about Ø ca. 160 mm.
** Optional equipment.
7. Waste management
- While unpacking, the packaging materials (polythene bags, polystyrene pieces, etc.) should be kept away from children, CHOKING HAZARD!
- Old and unused appliances must be send for disposal to the responsible recycling centre. Never expose to open flames.
- Before you dispose of an old appliance, render it inoperative. Unplug the appliance and cut off the entire power cord. Dispose of the power cord and the plug immediately.
- Dispose of any paper and cardboard into the corresponding containers.
- Dispose of any plastics into the corresponding containers.
- If suitable containers are not available at your residential area, dispose of these materials at a suitable municipal collection point for waste-recycling.
- Receive more detailed information from your retailer or your municipal facilities.

Materials marked with this symbol are recyclable.

Please contact your local authorities to receive further information.
for large electric appliances; PKM GmbH & Co. KG, Neuer Wall 2, 47441 Moers
This appliance includes a 24-month guarantee for the consumer given by the manufacturer, dated from the day of purchase, referring to its flawless material-components and its faultless fabrication. The consumer is accredited with both the ducs of the guarantee given by the manufacturer and the vendor's guarantees. These are not restricted to the manufacturer's guarantee.
Any guarantee claim has to be made immediately after the detection and within 24 months after the delivery to the first ultimate vendee. The guarantee claim has to be verified by the vendee by submitting a proof of purchase including the date of purchase and/or the date of delivery.
The guarantee does not establish any entitlement to withdraw from the purchase contract or for a price reduction. Replaced components or exchanged appliances demise to us as our property.
The guarantee claim does not cover:
- fragile components as plastic, glass or bulbs;
- minor modifications of the PKM-products concerning their authorized condition if they do not influence the utility value of the product;
- damage caused by handling errors or false operation;
- damage caused by aggressive environmental conditions, chemicals, detergents;
- damage caused by non-professional installation and haulage;
- damage caused by non common household use;
- damages which have been caused outside the appliance by a PKM-product unless a liability is forced by legal regulations.
The validity of the guarantee will be terminated if:
- the prescriptions of the installation and operation of the appliance are not observed.
- the appliance is repaired by a non-professional.
- the appliance is damaged by the vendor, the installer or a third party.
- the installation or the start-up is performed inappropriately.
- the maintenance is inadequately or incorrectly performed.
- the appliance is not used for its intended purpose.
- the appliance is damaged by force majeur or natural disasters, including, but with not being limited to fires or explosions.
The guarantee claims neither extend the guarantee period nor initiate a new guarantee period. The geographical scope of the guarantee is limited with respect to appliances, which are purchased and used in Germany, Austria, Belgium, Luxembourg and the Netherlands.
4 Support dinstallation 2 pcs. 4^*8
2 Barre plate 2 pcs. 4^*30
5 Barre plate 2 pcs. 4^*8
3 Dispositif dc suspension 3 pcs. 4^*40
6 Hottc 2 pcs. 4^*8
DYSFONCTIONNEMENT CAUSE POSSIBLE MESURE
Please contact the shop you purchased the appliance at.
EasyManual