CBGMD36 - Plaque de grill Vollrath - Notice d'utilisation et mode d'emploi gratuit
Retrouvez gratuitement la notice de l'appareil CBGMD36 Vollrath au format PDF.
| Caractéristiques techniques | Plaque de grill Vollrath CBGMD36, surface de cuisson en acier inoxydable, dimensions : 36 pouces, puissance : 36 000 BTU, alimentation : gaz naturel ou propane. |
|---|---|
| Utilisation | Idéale pour la cuisson de viandes, légumes et autres aliments, adaptée pour les cuisines commerciales et les restaurants. |
| Maintenance et réparation | Nettoyage régulier recommandé après chaque utilisation, vérification des brûleurs et des connexions de gaz pour assurer un fonctionnement optimal. |
| Sécurité | Équipée de dispositifs de sécurité pour éviter les fuites de gaz, suivre les instructions du fabricant pour l'installation et l'utilisation. |
| Informations générales | Produit conçu pour un usage commercial, garantie limitée, consulter le manuel d'utilisation pour des conseils spécifiques. |
FOIRE AUX QUESTIONS - CBGMD36 Vollrath
Questions des utilisateurs sur CBGMD36 Vollrath
0 question sur cet appareil. Repondez a celles que vous connaissez ou posez la votre.
Poser une nouvelle question sur cet appareil
Téléchargez la notice de votre Plaque de grill au format PDF gratuitement ! Retrouvez votre notice CBGMD36 - Vollrath et reprennez votre appareil électronique en main. Sur cette page sont publiés tous les documents nécessaires à l'utilisation de votre appareil CBGMD36 de la marque Vollrath.
MODE D'EMPLOI CBGMD36 Vollrath
Barbecues service moyen et service sévère
Avant d'utiliser cet appareil, lisez et familiarisez-vous avec le mode d'emploi et les consignes d'utilisation qui suiven. CONSERVEZ CES INSTRUCTIONS POUR RÉFERENCE ULTÉRIEURE. Conservez l'emballage et le carton d'origine. L'emballage devra être réutilisé pour expédier l'appareil si une réparation est nécessaire.
CONSIGNES DE SÉCURITÉ
Pour garantir un fonctionnement sûr, lisez les avertissements suivants et comprenez leur signification. Ce manuel contient des consignes de sécurité, présentées ci-dessous. Lisez-les attentivement.

AVERTISSEMENT
Un avertissement permet d'indiquer la présence d'un danger qui causera ou peut causer des blessures personnelles graves ou la mort.

ATTENTION
Une mise en garde indique la présence d'un danger qui causera ou pourra causer des blessures mineures ou majeures si elle est ignoré.
AVIS : Un avis met en évidence des informations qui sont importantes mais sans rapport avec un danger.
Pour réduire le risque de blessures et d'endommagement de l'appareil :
- Nettoyez l'appareil en suivant les instructions dans ce manuel.
- Ne stockez ou n'utilisez pas d'essence ou d'autres vapeurs ou liquides inflammables à proximité de cet appareil ou de tout autre appareil.
- Gardez la zone de l'appareil dégagée et à l'écart de matériaux combustibles.
- N'entravez pas la circulation d'air de combustion et de ventilation. Il doit y avoir un espace minimum de 6" (15 cm) sur tous les côtés de l'appareil.
- Utilisez un chiffon humecté d'eau savonneuse chaude pour nettoyer les commandes et les côtés de l'appareil.
AVIS : Ne pas nettoyer la surface de la plancha avec de l'eau savonneuse. L'eau savonneuse pourrait provoquer la corrosion de la surface de la plancha.
- Laissez refroidir l'appareil avant de le nettoyer ou de le déplacer.
- Utilisez l'appareil uniquement à l'horizontale sur une surface plane.
- N'utilisez pas l'appareil sans surveillance.


AVERTISSEMENT
Risque de départ de feu, blessures ou danger de mort Contactez un agent technique agréé pour tout réglage, toute maintenance ou toute réparation. Cet appareil n'est pas réparable par l'utilisateur.
FONCTION ET OBJET
Cet appareil permet de faire griller les aliments dans les opérations de restauration commerciales seulement. Il n'est pas prévu pour une utilisation ménagère, industrielle ou en laboratoire.

| Num. d'art. / Modèle Description | |
| CBGMD-12 | Service moyen, chaleur rayonnante/pierre de lave, 12" (30,5 cm) |
| CBGMD-24 | Service moyen, chaleur rayonnante/pierre de lave, 24" (61 cm) |
| CBGMD-36 | Service moyen, chaleur rayonnante/pierre de lave, 36" (91,4 cm) |
| CBGMD-48 | Service moyen, chaleur rayonnante/pierre de lave, 48" (121,9 cm) |
| CBGMD-60 | Service moyen, chaleur rayonnante/pierre de lave, 60" (152,4 cm) |
| CBGHD-18 | Service sévère, chaleur rayonnante/pierre de lave, 18" (45,7 cm) |
| CBGHD-24 | Service sévère, chaleur rayonnante/pierre de lave, 24" (61 cm) |
| CBGHD-36 | Service sévère, chaleur rayonnante/pierre de lave, 36" (91,4 cm) |
| CBGHD-48 | Service sévère, chaleur rayonnante/pierre de lave, 48" (121,9 cm) |
| CBGHD-60 | Service sévère, chaleur rayonnante/pierre de lave, 60" (152,4 cm) |
| CBGHD-72 | Service sévère, chaleur rayonnante/pierre de lave, 72" (182,9 cm) |
EXIGENCES EN MATIÈRE DE DÉGAGEMENT ET DE CONDITIONS AMBIANTES
- N'entravez pas la circulation d'air de combustion et de ventilation. Un dégagement d'au minimum 6" (15 cm) doit être prévu à l'arrière de l'appareil.
- Il est important de conserver un dégagement suffisant pour assurer une bonne ventilation et un entretien facile. Les pieds de 4" (10 cm) doivent être installés pour laisser l'air circuler.
Enregistrez votre produit sur Vollrath.com/registration et participer à un tirage au sort pouvant vous faire gagner une poêle Vollrath Tribute ^© 10" (25,4 cm)
INSTALLATION


AVERTISSEMENT
Risque de départ de feu, blessures ou danger de mort Cet appareil doit être installé par un installateur qualifié conformément à tous les codes locaux, provinciaux et nationaux. L'installation inadéquate de l'appareil peut causer des blessures, voire la mort.


AVERTISSEMENT
Risque d'incendie N'installez ou n'utilisez pas l'appareil sans les pieds de 4" (10 cm). L'utilisation de cet appareil sans les pieds peut causer sa surchauffe et un départ de feu.

ATTENTION
Toutes les particules de métal et autres salissures qu'on laisse entrer dans les conduites de gaz endommageront le robinet et nuiront à son fonctionnement. Lors de l'installation de cet appareil, toute la tuyauterie et les raccords doivent être dépourvus de contaminants intérieurs. Il est recommandé d'installer un piège à sédiments en ligne en amont du régulateur.


AVERTISSEMENT
L'installation, l'ajustement, l'altération, l'entretien ou la maintenance incorrecte de l'appareil peut causer des dégâts matériels, des blessures, ou la mort. L'installation, l'ajustement, l'altération, l'entretien ou la maintenance incorrecte de l'appareil peut causer des dégâts matériels, des blessures, ou la mort.
Codes et normes applicables États-Unis
Vollrath recommande que tous les équipements de cuisine commerciale soient fournis avec un système de ventilation conformément à NFPA96.
- Les équipements de cuisine qui utilisent ou produisent de la graisse (par ex. friteuse, plancha) doivent être fournis avec des hottes aspirantes conçues pour capturer la graisse et protéger du feu.
- Ils doivent être installés conformément aux exigences et à l'approbation de l'autorité ayant juridiction.
AVIS : Affichez les instructions à suivre en cas d'odeur de gaz. Consultez votre fournisseur de gaz local pour obtenir ces instructions et affichez-les à un endroit bien visible.
AVIS : L'installation de cet appareil doit être conforme aux codes locaux ou, en l'absence de codes locaux, au National Fuel Gas Code, à l'International Fuel Gas Code, à l'ANSI Z223.1/NFPA 54 ou au Natural Gas and Propane Installation Code, CSA B149.1, le cas échéant.
Installation des pieds et réglage pour caler l'appareil
Assurez-vous que l'appareil est à niveau dans toutes les directions. Commencez par bien serrer chaque pied. Ensuite, à chaque coin, tournez le pied réglable.
Tuyau de gaz
- Le diamètre du tuyau de gaz doit garantir une pression et un débit suffisants pour accepter l'appel de gaz maximal de l'appareil.
- Le raccordement à un réseau existant exige que ce dernier ait une capacité en excès supérieure ou égale à l'appel de gaz maximal de l'appareil.
- De la pâte à joints (pâte lubrifiante) devra être utilisée avec parcimonie et seulement sur les filets mâles des joints de tuyauterie. Ce produit devra être résistant à l'action des gaz de propane liquide (PL).
Détendeur
AVIS : Tout l'équipement de cuisson commercial doit être muni d'un détendeur sur la ligne de raccordement au réseau de gaz pour un fonctionnement sûr et efficace.
AVIS : Avant de raccorder le détendeur, vérifiez la pression de la ligne d'arrivée. Le détendeur résiste à une pression maximum de ½ PSI (14"/35,5 cm C.E.). Si la pression de ligne limite est dépassée, un détendeur abaisseur avant en amont du détendeur fourni sera requis.
AVIS : L'appareil et son robinet d'arrêt individuel doivent être déconnectés du réseau d'alimentation en gaz durant tout test de pression de ce système à des pressions d'essai supérieures à ½ psi (3,5 kPa).
AVIS : L'appareil doit être isolé du réseau d'alimentation en gaz en fermant son robinet d'arrêt manuel individuel durant tout test de pression du réseau d'alimentation en gaz à des pressions d'essai supérieures ou égales à ½ psi (3,5 kPa).
- La flèche forgée sous le corps du détendeur montre la direction d'écoulement du gaz et doit pointer vers l'aval, vers l'appareil.
- Le détendeur fourni avec cet appareil est configuré pour une utilisation avec du gaz naturel. Suivez les instructions du Kit de conversion au PL ; il peut être reconfiguré pour une utilisation avec du gaz PL.
- L'appareil est livré équipé d'un adaptateur mâle N.P.T ^3/4 (1,9 cm) pour raccordement au détendeur.
- Vérifiez la pression dans la ligne d'arrivée de gaz Le détendeur supporte une pression maximum de 14"/35,5 cm C.E. (½ PSI). Si la pression de ligne limite est dépassée, un détendeur abaisseur sera requis.
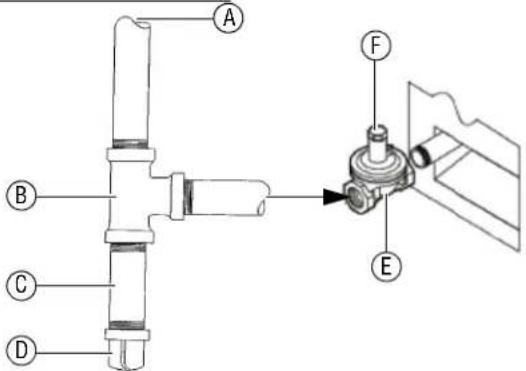
Raccordement du détendeur

A À l'arrivée de gaz avec l'installation de B, C et D dans une orientation verticale, comme illustré pour permettre la capture des débris.
B Raccord en T E Détendeur fourni
C Mamelon (longueur quelconque) F Évent
D Bouchon
Diamètre d'orifice
AVIS : Pour le diamètre d'orifice correct, référez-vous à l'International Fuel Gas Code.
- L'installateur est responsable de déterminer la taille d'orifice correcte.
- La taille de l'orifice est indiquée sur le raccord ou l'orifice.
• L'appareil est fabriqué pour un pouvoir calorifique de 1 035 BTU par pied cube de gaz naturel.
Conversion de gaz
- La conversion du gaz naturel au propane liquide (PL) ou vice versa doit être effectuée par un agent technique qualifié, conformément à l'International Fuel Gas Code.
- Référez-vous aux instructions du kit de conversion inclus avec cet appareil.
INSTALLATION (SUITE)
Robinet d'arrêt manuel
Un robinet d'arrêt manuel doit être installé à un endroit accessible à pas plus de 6 pi (1,8 m) de l'appareil.
Test de l'équipement
Contrôle de l'étanchéité
AVIS : Il ne faut pas utiliser d'allumettes, de flamme de bougie ou toute autre source potentielle d'inflammation pour le dépistage des fuites.
- Tournez le bouton du robinet de gaz du ou des brûleurs principaux sur position Arrêt.
- Enlevez le ou les boutons de robinet de gaz.
- À l'aide d'un tourne-écrou de 5/16", retirez les 4 vis de fixation du panneau avant. Enlevez le panneau avant pour accéder aux valves de régulation de la veilleuse.
- Situez la valve de régulation de veilleuse correspondant à chaque veilleuse et fermez-la en serrant la petite vis tournée vers l'avant dans le sens des aiguilles d'une montre.
- Raccordez l'appareil à l'arrivée de gaz.
- Appliquez de l'eau savonneuse sur chaque raccord.
- Ouvrez l'arrivée de gaz.
- Observez s'il y a des bulles aux raccords.
- Ajustez les raccords si nécessaire.
Allumage des veilleuses
- Attendez 5 minutes pour laisser tout le gaz se dissiper.
- Pour allumer les veilleuses, tenez une source de flamme au-dessus du brûleur souhaité tout en tournant doucement sa vis de régulation dans le sens inverse des aiguilles d'une montre, pour ajuster la flamme à l'intensité voulue. Reprenez pour toutes les veilleuses.
Test des brûleurs principaux
Après avoir allumé toutes les veilleuses, assurez-vous que chaque brûleur principal fonctionne correctement.
Une fois les veilleuses allumées, les brûleurs principaux peuvent être à leur tour allumés en poussant et tournant le bouton de commande de la position Arrêt (« off ») à la position du réglage désiré. Vérifiez par un contrôle visuel que la veilleuse allume bien le brûleur principal.
Les brûleurs principaux peuvent être éteints en remettant le bouton de commande en position Arrêt (« off »). Les veilleuses peuvent être éteintes en coupant l'alimentation en gaz avec le robinet d'arrêt qui se trouve sur la conduite de gaz.
FONCTIONS ET COMMANDES

text_image
A B D C F EA Grilles. L'angle est réglable.
B Bouton du robinet du brûleur au gaz. Permet d'ajuster la température de la surface du gril.
C Lèchefrite. Collecte la graisse et l'huile. Ce plateau peut s'enlever pour nettoyage. Il est recommandé d'avoir un peu d'eau dans la lèchefrite pour réduire les flammèches et la fumée tout en laissant un volume largement suffisant pour les coulures.
D Trou d'accès à la veilleuse. Donne accès à la veilleuse.
E Pied réglable. Permet d'ajuster le niveau de l'appareil et le caler.
F Pied. Soutient l'appareil.
AVANT LA PREMIÈRE UTILISATION
Configuration pour pierre de lave ou chaleur rayonnante

A Pierre de lave. Offre une chaleur uniforme à travers toute la surface et sert aussi à recueillir les coulures pour fournir un goût fumé aux aliments. Doit être remplacée lorsqu'elle n'est plus poreuse.
B Grille « gaufrier ». Utilisée avec la pierre de lave.
C Couvercle de pierre de lave. Utilisé avec la pierre de lave. AVIS : Utilisé pour des modèles service sévère uniquement pour remplacer les systèmes à chaleur rayonnante.
AVIS : Les kits pierre de lave sont vendus séparément comme accessoires.
D Couvercle à chaleur rayonnante. Utilisé seul dans la configuration chaleur rayonnante pour protéger les brûleurs et aider à mieux distribuer la chaleur qu'ils dégagent.
AVIS : Peut être laissé en place pour les modèles à usage moyen.
Conversion à la chaleur rayonnante
- Enlevez la pierre de lave et mettez-la de côté pour une utilisation future.
- Enlevez la grille « gaufrier » et mettez-la de côté pour une réutilisation future si elle est toujours suffisamment poreuse ; sinon, jetez-la.
- Enlevez le couvercle de pierre de lave et mettez-le de côté pour une utilisation future.
- Mettez les couvercles à chaleur rayonnante pardessus les tubes de brûleur.
Conversion à la pierre de lave
- Enlevez les couvercles à chaleur rayonnante et mettez-les de côté pour une utilisation future.
- Mettez les couvercles de pierre de lave pardessus les tubes de brûleur.
- Mettez la grille « gaufrier » en place.
- Placez la pierre de lave sur la grille et étalez-la uniformément.
Rodage de l'appareil
- Tournez le bouton du robinet du brûleur au gaz au réglage maximum.
-
Laissez chauffer le barbecue et attendez que les produits résiduels de fabrication se consument (30 minutes environ).
AVIS : Durant cette période de « rodage », il est possible que vous remarquiez une légère odeur. Ceci est normal. -
Tournez les boutons de robinet de brûleur au gaz à la position Arrêt.
Conditionnement des grilles
- Laissez le barbecue refroidir ou chauffer à une température d'environ 200 °F (93 °C).
- Appliquez de l'huile alimentaire, de la graisse végétale solide, du suif de bœuf ou un produit similaire sur les grilles du barbecue en frottant avec un chiffon propre.
- Faites chauffer le barbecue jusqu'à chaleur moyenne à élevée et laissez fonctionner pendant 30 minutes environ.
- Tournez le cadran du brûleur au réglage le plus bas et laissez refroidir le barbecue et se stabiliser à basse température.
- Enlevez l'excédent de matière grasse et essuyez.
- Répétez la procédure ; huilez, faites chauffer pendant 30 minutes, laissez refroidir et essuyez.
MODE D'EMPLOI


AVERTISSEMENT
Risque d'incendie mortel Si vous sentez le gaz, suivez les instructions du fournisseur de gaz. Ne touchez pas d'interrupteur électrique ; n'essayez pas d'allumer le brûleur ; n'utilisez pas de téléphone à proximité


ATTENTION
Risque de brûlure Les surfaces et aliments chauds peuvent causer des brûlures. Laissez refroidir les surfaces chaudes avant manipulation. Ne faites pas tomber d'eau sur la surface de cuisson sous peine de projections de graisse.
ASTUCE : inclinez les grilles. Ceci permettra aux liquides de s'écouler sur les grilles jusque dans la lèchefrite, ce qui réduira les flammèches.
- Vérifiez si la lèchefrite est en place. Ajoutez de l'eau dans la lèchefrite. La vapeur d'eau qui montera de la lèchefrite à travers la chambre de combustion permettra de réduire les flammes.
- Huilez légèrement et essuyez les grilles pour enlever tous les contaminants qui ont pu s'accumuler ou remonter à la surface et/ou du périmètre depuis la dernière utilisation et pour vous assurer d'avoir une surface de cuisson propre et anti-adhésive.
- Tournez le bouton du robinet de gaz pour allumer le ou les brûleurs principaux. Ajustez le réglage au niveau de chaleur souhaité.
- Préchauffez les grilles pendant 15 minutes.
- Faites cuire les aliments.
- Videz périodiquement la lèchefrite pour vous assurer qu'elle ne déborde pas. Contrôlez souvent la lèchefrite et ajoutez-y de l'eau au besoin.
- Ne laissez pas d'huile ou de graisse s'accumuler sur les grilles. Essuyez les grilles pour éviter les dépôts carbonisés susceptibles de nuire à la performance du gril.
Réglage de la veilleuse
De temps en temps, il peut être nécessaire de régler l'intensité de la veilleuse pour allumer les brûleurs principaux.
- Pour cela, et alors que la veilleuse est allumée, utilisez un tournevis à lame plate pour tourner la vis en cuivre fendue apparente. Tournez la vis dans le sens horaire pour diminuer l'intensité et dans le sens anti-horaire pour augmenter l'intensité.
- Déterminez l'intensité nécessaire pour allumer les flammes des brûleurs. La veilleuse doit pouvoir allumer les brûleurs en moins de 4 secondes.
NETTOYAGE

ATTENTION
Risque de brûlure
Les surfaces et aliments chauds peuvent causer des brûlures. Laissez refroidir les surfaces chaudes avant manipulation. Ne faites pas tomber d'eau sur la surface de cuisson sous peine de projections de graisser.
Pour éviter les flammèches et maintenir l'apparence et augmenter la durée de service, nettoyez chaque jour l'appareil.
AVIS : Ne nettoyez pas l'appareil à la laine d'acier.
AVIS : N'utilisez pas de produits chimiques nettoyants ou savons dans la mesure où ils peuvent être absorbés par la surface de cuisson et compromettre le goût des aliments. Si nécessaire, utilisez seulement de l'eau claire, de l'huile et/ou un dégraissant alimentaire pour nettoyer.
AVIS : Pour empêcher la corrosion, ne laissez pas les grilles sans conditionnement ou mince pellicule d'huile alimentaire.
Une fois par jour
- Frottez les grilles brûlantes (300 °F/148 °C) avec une brosse de grill ou une brique pour les nettoyer.
- Inspectez les grilles et déterminez si elles doivent être reconditionnées. Si les grilles n'ont pas besoin d'être reconditionnées, appliquez une pellicule d'huile alimentaire sur les grilles pour empêcher leur corrosion.
- Laissez refroidir le barbecue.
- Enlevez, videz et nettoyez la lèchefrite.
- Nettoyez l'extérieur de l'appareil.
Une fois par semaine ou plus souvent si nécessaire Barres à chaleur rayonnante
- Déposez les barres à chaleur rayonnante.
- Inspectez l'usure. Si les barres sont usées, commandez des barres de rechange.
AVIS : N'utilisez pas le barbecue avec des barres à chaleur rayonnante usées. Ceci réduira la performance du barbecue et risque de causer des flammèches. - Lavez les barres à chaleur rayonnante dans de l'eau savonneuse chaude.
- Essuyez bien les barres à chaleur rayonnante.
- Placez les barres à chaleur rayonnante dans le barbecue..
Pierre de lave
- Retournez les pierres de lave. Ceci permet à la graisse qui s'est accumulée sur le dessus des pierres de brûler.
- Inspectez l'usure de la grille « gaufrier ». Si la grille est usée, commandez une grille de rechange.
AVIS : N'utilisez pas le barbecue avec une grille usée. Ceci réduira la performance du barbecue et risque de causer des flammèches. - Inspectez l'usure des pierres. Vollrath recommande le remplacement des pierres lorsque la surface n'est plus poreuse. De la cendre et des contaminants finiront par boucher les orifices et la pierre de lave ne pourra plus capturer les coulures et les convertir en fumée. À la place, les coulures s'écouleront directement et poseront un risque de flammèches.
ENTRETIEN PRÉVENTIF

AVERTISSEMENT
Risque de départ de feu, blessures ou danger de mort Contactez un agent technique agréé pour tout réglage, toute maintenance ou toute réparation. Cet appareil n'est pas réparable par l'utilisateur.
Une fois par an, un technicien qualifié devra vérifier le fonctionnement sûr et efficace de l'appareil. Pour une maintenance ou une réparation, contactez l'usine ou le SAV local.
DÉPANNAGE
| Problème Cause possible Mesure corrective | ||
| Odeur de gaz. Cause inconnue. | Fermez le robinet d'arrivée de gaz, aérez les lieux et appelez un agent de maintenance qualifié. | |
| Le brûleur ne s'allume pas. Veilleuse | éteinte. | Attendez 5 minutes pour permettre la dissipation du gaz, puis allumez la veilleuse. |
| La surface de cuisson fume excessivement. | Surface de cuisson sale. | Laissez refroidir la surface de cuisson et nettoyez-la pendant qu'elle est encore chaude, ensuite, conditionnez le dessus. |
| La surface de cuisson est trop chaude. | Ventilation insuffisante. | Assurez-vous qu'il y a un espace d'au moins 6" (15 cm) à l'arrière de l'appareil. |
| Chauffage irrégulier de la surface de cuisson. | Ventilation insuffisante. | Assurez-vous qu'il y a un espace de 6" (15 cm) minimum à l'arrière de l'appareil. |
| Le réglage du volet d'air n'est pas correct. | Contactez le support technique Vollrath. | |
| Le brûleur ne fonctionne pas correctement. | Orifice colmaté. | Contactez un agent de maintenance qualifié pour faire réparer le brûleur. |
| Le réglage du volet d'air n'est pas correct. | Contactez le support technique Vollrath. | |
RÉPARATIONS
Des pièces détachées sont disponibles sur Vollrath.com.
Pour éviter toute blessure grave ou tout dommage sévère, n'essayez jamais de réparer l'appareil ou de remplacer vous-même un cordon d'alimentation endommagé. N'envoyez aucun appareil directement à la Vollrath Company LLC. Pour des instructions, contactez les services techniques de Vollrath.
Lorsque vous contacterez les services techniques de Vollrath, tenez-vous prêt à fournir le numéro d'article, le numéro de modèle (s'il y a lieu), le numéro de série et le justificatif d'achat indiquant la date d'achat de l'appareil.
GARANTIE DE THE VOLLRATH CO. L.L.C.
Cette garantie ne s'applique pas aux produits achetés pour un usage personnel, familial ou ménager, et The Vollrath Company LLC ne propose aucune garantie écrite aux acheteurs pour de telles utilisations.
The Vollrath Company L.L.C. garantit que les produits qu'elle fabrique et distribue seront dépourvus de vices de matériaux et de malfaçons, comme indiqué dans notre déclaration complète de garantie. Dans tous les cas, la garantie entre en vigueur à la date d'achat par l'utilisateur initial indiquée sur le reçu. Tous les dommages subis lors d'une utilisation impropre ou abusive, ou résultant d'une modification ou d'un emballage inadapté lors d'un renvoi du produit pour une réparation sous garantie ne seront pas couverts par la garantie.
Pour des informations complètes sur la garantie, l'enregistrement des produits et l'annonce de nouveaux produits, consultez www.vollrath.com.

Notice Facile