Rowan 83759 - Éclairage ELAN - Notice d'utilisation et mode d'emploi gratuit
Retrouvez gratuitement la notice de l'appareil Rowan 83759 ELAN au format PDF.
| Caractéristiques techniques | Éclairage LED, puissance 10W, température de couleur 3000K, flux lumineux 800 lumens |
|---|---|
| Utilisation | Idéal pour l'éclairage intérieur, notamment dans les salons, cuisines et bureaux |
| Maintenance et réparation | Remplacement de l'ampoule LED recommandé tous les 25 000 heures d'utilisation |
| Sécurité | Conforme aux normes CE, protection contre les surcharges électriques |
| Informations générales | Garantie de 2 ans, installation facile, compatible avec variateurs de lumière |
FOIRE AUX QUESTIONS - Rowan 83759 ELAN
Questions des utilisateurs sur Rowan 83759 ELAN
0 question sur cet appareil. Repondez a celles que vous connaissez ou posez la votre.
Poser une nouvelle question sur cet appareil
Téléchargez la notice de votre Éclairage au format PDF gratuitement ! Retrouvez votre notice Rowan 83759 - ELAN et reprennez votre appareil électronique en main. Sur cette page sont publiés tous les documents nécessaires à l'utilisation de votre appareil Rowan 83759 de la marque ELAN.
MODE D'EMPLOI Rowan 83759 ELAN
Nombre de série Date d'achat

Des questions, des problèmes, des pieces manquantes? Avant de returner l'article au détaillant, appelez notre service à la clientèle au 1 855 226-7169, entre 8 h et 16 h (HNE), du lundi au vendredi.

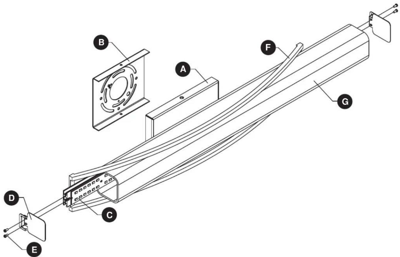
| PIÈCE | DESCRIPTION | QTÉ |
| A Pavillon | 1 | |
| B | Support de fixation | 1 |
| C | Ensemble DEL | 1 |
| D | Embout | 2 |
| PIÈCE | DESCRIPTION | QTÉ |
| E | Vis de l'embout | 4 |
| F | Support d'abat-jour | 2 |
| G | Abat-jour | 1 |


Capuchon de connexion Qte : 3


Vis à
métaux
courte
Qte : 2


Vis du pavillon Qte:2

CONSIGNES DE SECURITÉ
Veuillez vous assurer de dire et de comprendre l'intégrality duprésent guide avant d'assembler, d'utiliser ou d'instructor ce produit.

AVERTISSEMENT
- IMPORTANT: Ne faites JAMAIS de travail sans couper l'électricité.
- Rendez-vous au coffre de fusibles principal ou au disjoncteur de votre demeure. Placez l'interrupteur principal en position d'arrêt (« OFF ») et dévissez le(s)fusele(s), ou placez en position d'arrêt (« OFF ») l'(les) interrupteur(s) des disjoncteurs qui alimentent le luminaire ou la piece dans laquelle vous travailliez.
- Placez l'interrupteur mural en position d'arrêt (« OFF »). Si le luminaire à remplaçer est doté d'un interrupteur ou à chaîne, placez-le en position d'arrêt « OFF ».
- Ne touchez pas de DEL chaude.
- Le rendement lumineux de la DEL est assez fort pour blesser les yeux. Il faut prendre des précautions pour éviter de regarder directement les DEL sans protéger les yeux pendant plus de quelques secondes.
- AVERTISSEMENT: En vertu de la proposition 65 de la Californie: Ce luminaire contient des produits chimiques reconnus par l'Etat de la Californie comme étant la cause de cancers, d'anomalies congenitales et d'autres problèmes liés aux fonctions reproductrices. Lavez-vous les mains après l'avoir manipulé.
MISE EN GARDE
- Prenez soit de dire et de comprendre toutes les instructions et illustrations avant de commencer l'assemblage et l'installation de ce luminaire.
- Si vous avez des doutes à propos de l'installation, ou si le luminaire ne fonctionne pas correctement, veuillez communiquer avec un électricien qualifié.
- Toutes les pieces doivent être utilisées tel qu'il est indiqué dans ces instructions. Ne remplacez pas les pieces, n'en laissez pas de côte et ne les utilisez pas si elles sont usées ou brises. Le non-respect de ces instructions peut annuler l'homologation UL, la certification CSA et/ou l'homologation ETL de ce luminaire.
- Ce luminaire est pour une installation conformément au Code national de l'électricité (CNE) et toutes les specifications locales du code.
- Ce luminaire est réservé à une utilisation interieure.
PREPARATION
Avant de commencer l'assemblage du produit, assurez-vous d'avoir toutes les pieces. Comparez les pieces dans l'emballage avec la liste du contenu. S'il y a des pieces manquantes ou endommagées, ne tentez pas d'assembler le produit.
Temps d'assemblage approximatif : de 30 à 60 minutes
Outilis requis pour l'assemblage (non fournis): tournevis cruciforme, tournevis à tete plate, pinces à dénuder, ruban isolant, échelle, lunettes de sécurité.
INSTRUCTIONS POUR L'ASSEMBLAGE
- Orientez le support de fixation (B) de sorte que les bras soient diriges à l'opposé de la boîte de sortie (non fournie). Fixez le support de fixation (B) à la boîte de sortie à l'aide des vis à métaux courtes (BB).
Quincaillerie utilise

Vis à metaux courte

X2
- Glissez l'abat-jour (G) au-dessus de l'ensemble DEL (C) en le faisant passer à travers le support d'abat-jour (F). Placez les embouts (D) contre l'abat-jour (G) et l'ensemble DEL (C) et fixez à l'aide des vis pour embouts (E).



3. Guide de raccordement électrique
Fil de mise à la terre :
Pour une installation aux États-Unis :
enroulez le fil de mise à la terre provenant de la boîte de sortie autour de la vis de mise à la terre située sur le support de fixation (B), à au moins 5,08 cm de l'extrémité du fil. Serrez la vis de mise à la terre. Si le luminaire est fourni avec un fil de mise à la terre, raccordez-le au fil de mise à la terre de la boîte de sortie à l'aide d'un connecteur de fils (AA).
Pour une installation au Canada: si le luminaire est fourni avec un fil de mise à la terre, enroulez-le autour de la vis de mise à la terre située sur le support de fixation (B). Serrez la vis de mise à la terre. Connecter à la terre de luminaire le fil de mise à la terre le fil provenant de la boîte de sortie à l'aide d'un connecteur de fils (AA).
Fils d'alimentation :
- Connectez le fil neutre d'alimentation (blanc) provenant de la boîte de sortie au fil neutre du luminaire (fil blanc ou fil parallele en forme de « D » et rainuré).
- Connectez le fil d'alimentation chargé (noir) provenant de la boîte de sortie au fil du luminaire (fil noir ou fil parallele, rond et lisse).
Quincaillerie utilise
Capuchon
de connexion

X3
- Placez le pavillon (A) sur les bras sortant du support de fixation (B) et fixez-le à l'aide des vis du pavillon (CC).
Quincaillerie utilise

Vis du
pavillon

X2

REMARQUE :
Les fils du luminaire peuvent etre :
- noir et blanc;
- cordon parallele de type SPT-1 muni d'un fil rond et lisse et d'un fil rainuré en forme de « D »


- Vérifiez toujours que le courant est coupé avant de nettoyer le luminaire.
- Utilisez un linge doux et humide ainsi qu'un savon non abrasif. N'utilisez jamais de nettoyants pour vitres; vous risqueriez d'endommager le fini métallique du luminaire.
- Les abat-jour en verre peuvent etre nettoyes dans un evier couvert de serviettes, a I'aide d'eau tiede et de savon doux. Ne nettoyez pas les abat-jour dans un lave-vaiselle.
DéPANNAGE
| PROBLÈME | CAUSE POSSIBLE MESURE CORRECTIVE | |
| Le luminaire ne s'allume pas. | 1. Le luminaire est mal branché. | 1. Vérifiez si le luminaire est bien branché. |
GARANTIE
el'an Lighting garantit que ses produits seront libres de tout vice de fabrication ou defaut materiel pendant trois (3) an a compter de la date d'achat par l'acheteur initial.
Rails à DEL, lanternes à DEL. Les appliques à DEL, les suspensions à DEL et les lustres à DEL utilisés dans une résidence familiale unique sont garantis pendant trois (3) an en ce qui concerne le moteur lumière et tous les autres composants électriques.
Pour remplaçer un produit porteur d'un défaut couvert par la garantie, l'acheteur initial doit returner tout produit ou piece supposés défectueux au distributeur elan agree ou le produit a été acheté avec une PREUVE D'ACHAT, le nom de l'acheteur initial, l'adresse de retard et une description du défaut constaté sur le produit.
Si elan juge, à sa seule discrétion, qu'un des produits garantis est défectueux, ledit produit, au seul choix de elan et à ses frais, sera remplaced, réparé ou remboursé moins une retenue correspondant à l'utilisation antérieure du produit par l'acheteur original. elan returnera le produit réparé ou remplace en port prépayé. Cette garantie ne couvre pas la main d'oeuvre ni les coûts et dépenses associés au retrait ou à l'installation d'un produit défectueux, réparé ou remplace.
Les parties aux presents acceptent que le seul et unique recours de l'acheteur initial à l'encontre de élan se limite à la réparation, au remplacement ou au remboursement des produits défectueux tel qu'ici prévu. Cette garantie s'applique uniquement lorsque le produit est la propriété de l'acheteur initial ; elle n'est pas transférable aux héritiers, aux propriétaires subséquents ou de toute autre manière ; elle est nulle si l'acheteur original cette d'être le propriété du produit.
Cette garantie ne s'applique pas aux produits qui ont ete soumis a un usage abusif, une manipulation inadeteque, un usage impropre, qui ont ete connectes a un voltage de plus de 5 % supieur au voltage nord amercain, qui ont subi un usage inhabituel (y compris mais sans s'y limiter un usage dans un environnement ou la tempereature ambiente moyenne annuelle est inférieure a 27 ^ F [-2,8 ^ C] ou superieure a 95~^ F [35 ^ C] ), la négligence (y compris mais sans s'y limiter un mauvais entreten), un accident, des catastrophes naturelles telles que des vents violents, une installation ou un entretien inappropriés, le non suivi des instructions ecrites d'utilisation normale et d'entretien du produit, une modification (y compris mais sans s'y limiter l'utilisation de pieces ou d'accessoires non autorises), ou encore un reglage ou une réparation. L'exposition significative du produit a des produits chimiques, des nettoyants agressifs, I'eau salée ou I'air salé annulera toutes garanties portant sur les finis extérieurs. Cette garantie ne s'applique qu'aux composants, y compris les transformateursurs, qui ont ete fournis par elan. La substitution par des produits ou composants provenant d'un autre fabricant rendra la garantie complètement nulle.
CETTE GARANTIE VOUS PROCURE DES DROITS LÉGAUX SPECIFIQUES. VOUS POUVEZ ÉGÀLEMENT DETENIR D'AUTRES DROITS QUI VARIENT SELON LES ETATS. CERTAINS ÉTATS N'AUTORISENT AUCUNE LIMITATION DE DURée D'une GARANTIE IMPLICITE, NI L'EXCLUSION OU LA LIMITATION DES DOMMAGES ACCESSOIRES OU CONSECUTIFS, IL EST DONC POSSIBLE QUE LES LIMITATIONS ET EXCLUSIONS ENONCEES CI-DESSUS NE S'APPLICUENT PAS À VOUS.
LA GARANTIE SUSMENTIONNEE PREVAUT SUR TOUTE AUTRE GARANTIE, QU'ELLE SOIT EXPRESSE OU IMPLICITE, Y COMPRIS Toute GARANTIE DE QUALITE MARCHANDE, D'ADEQUATION À UN USAGE PARTICULIER OU DE NON-CONTREFAÇON. L'ACHETEUR INITIAL NE POT EN AUCUN CAS PRÉTENDRE À INDEMNISATION POUR, ET KICHLER LIGHTING NE POT ÉTRÉ TENU RESPONSABLE DES DOMMAGES INDIRECTS, PARTICULIERS, ACCESSOIRES OU CONSECUTIFS DE Toute NATURE, Y COMPRIS MAIS SANS S'Y LIMITER LA PERTE DE PROFIT, LES DÉPENSES PROMOTIONNELLES ET/OU LES CHARGES DE FABRICATION, LES FRAIS GÉNÉRAUX, L'ATTEINTE À LA RÉPUTATION ET/OU LA PERTE DE CLIENTÉLE.
LISTE DES PIECES DE RECHANGE
Pour obtenir des pieces de rechange, appelez notre service à la clientèle au 1 855 226-7169, entre 8 h et 16 h (HNE), du lundi au vendredi.
| PIÈCE | DESCRIPTION | No DE PIECE |
| B | Support de fixation XBAR83758 | |
| D | Embout | |
| E | Vis de l'embout ECS83758 | |
| AA | Capuchon de connexion WC001 | |
| BB | Vis à métaux courte SCR832X050 | |
| CC | Vis du pavillon CS83758 |
EC83758












Imprimé en Chine
Notice Facile