Rowan 83759 - Lighting ELAN - Free user manual and instructions
Find the device manual for free Rowan 83759 ELAN in PDF.
User questions about Rowan 83759 ELAN
0 question about this device. Answer the ones you know or ask your own.
Ask a new question about this device
Download the instructions for your Lighting in PDF format for free! Find your manual Rowan 83759 - ELAN and take your electronic device back in hand. On this page are published all the documents necessary for the use of your device. Rowan 83759 by ELAN.
USER MANUAL Rowan 83759 ELAN
Serial Number Purchase Date


Questions, problems, missing parts? Before returning to your retailer, call our customer service department at 1-855-226-7169, 8 a.m. - 4 p.m., EST, Monday - Friday.

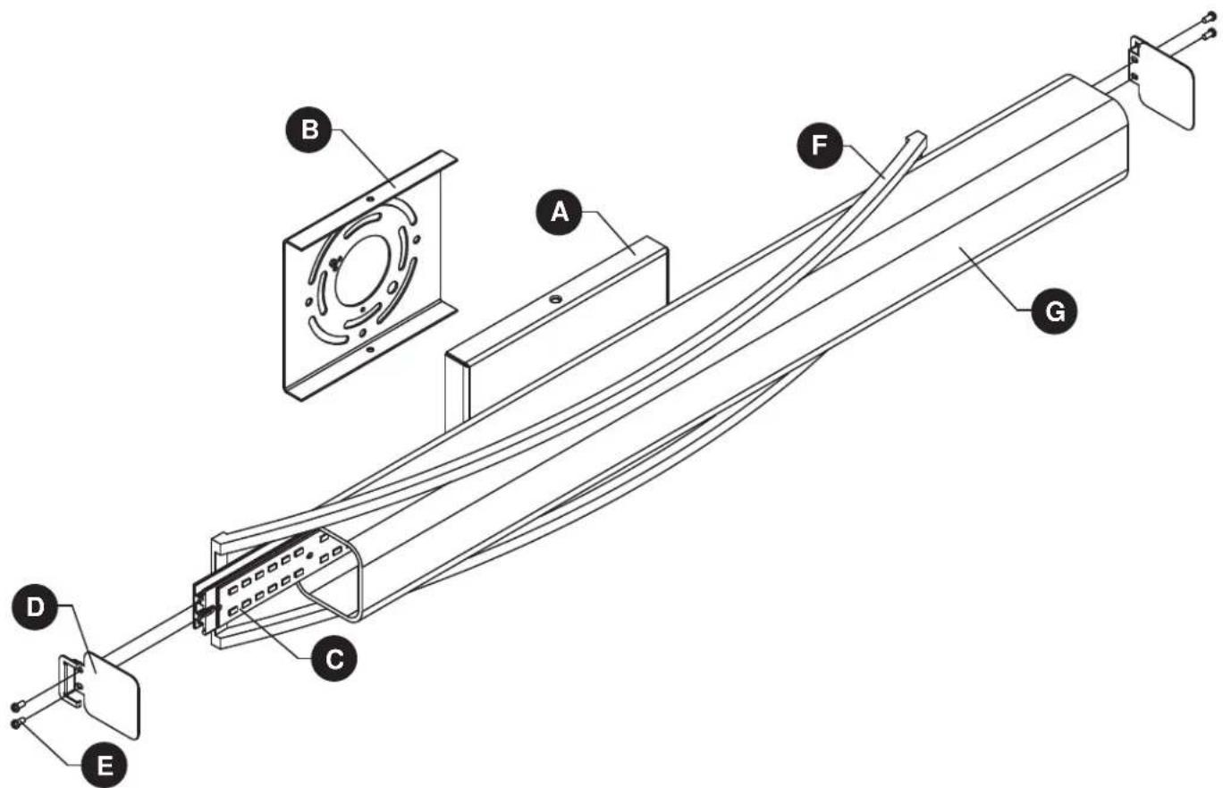
| PART | DESCRIPTION | QTY. |
| A | Canopy | 1 |
| B | Mounting Bracket | 1 |
| C | LED Assembly | 1 |
| D | End Cap | 2 |
| PART | DESCRIPTION | QTY. |
| E | End Cap Screw | 4 |
| F | Shade Holder | 2 |
| G | Shade | 1 |


Wire
Connector Qty:3


Short Machine Screw


Canopy Screw Qty:2

SAFETY INFORMATION
Please read and understand this entire manual before attempting to assemble, operate or install the product.

WARNING
- IMPORTANT: NEVER attempt any work without shutting off the electricity.
- Go to the main fuse box, or circuit breaker, in your home. Place the main power switch in the "OFF" position and unscrew the fuse(s), or switch "OFF" the circuit breaker switch(es), that control the power to the fixture or room that you are working on.
- Place the wall switch in the "OFF" position. If the fixture to be replaced has a switch or pull chain, place those in the "OFF" position.
- Do not touch hot LED.
- The LED light output is strong enough to injure human eyes. Precautions must be taken to prevent looking directly at the LEDs with unaided eyes for more than a few seconds.
- WARNING: California Prop 65: This lighting fixture contains chemicals known to the state of California to cause cancer, birth defects, and/or other reproductive harm. Wash hands after use.
CAUTION
- Read and understand all instructions and illustrations completely before proceeding with assembly and installation of this fixture.
- If you have any doubts about how to install this lighting fixture, or if the fixture fails to operate completely, please contact a qualified licensed electrical contractor.
- All parts must be used as indicated in these instructions. Do not substitute any parts, leave parts out, or use any parts that are worn out or broken. Failure to obey this instruction could invalidate the UL listing, C.S.A. certification, and/or ETL listing of this fixture.
- This fixture is intended for installation in accordance with the National Electric Code (NEC) and all local code specifications.
- This fixture is for indoor use only.
Before beginning assembly of product, make sure all parts are present. Compare parts with package contents list. If any part is missing or damaged, do not attempt to assemble the product.
Estimated assembly time: 30 minutes to 1 hour
Tools Required for Assembly (not included): Phillips screwdriver, flathead screwdriver, wire strippers, electrical tape, ladder, safety glasses.
ASSEMBLY INSTRUCTIONS
- Orient the mounting bracket (B) so that the arms are facing away from the outlet box (not included). Connect the mounting bracket (B) to the outlet box with short machine screws (BB).
Hardware Used

Short Machine
Screw

X2
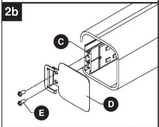
- Pass shade (G) over the LED assembly (C) and through the shade holder (F). Place the end caps (D) against the shade (G) and LED assembly (C) and secure with end cap screws (E).



- Wire connection guide:
Ground wire:
- For installation in the United States: Wrap ground wire from outlet box around ground screw preassembled on mounting bracket (B) no less than 2 in. from wire end. Tighten ground screw. If fixture is supplied with a ground wire, connect to outlet ground wire with a wire connector (AA).
- For installation in Canada: If fixture is supplied with ground wire, wrap ground wire around ground screw on mounting bracket (B). Tighten ground screw. Connect fixture ground wire to outlet ground wire with a wire connector (AA).
Supply wires:
- Connect the Neutral (White) supply wire from the outlet box to the Neutral fixture wire (White or Parallel Cord "D" shaped and ribbed).
- Connect the Hot (Black) supply wire from the outlet box to the Hot fixture wire (Black or Parallel Cord round and smooth).
Hardware Used



NOTE:
Fixture wires will either be:
- Black and White.
- Parallel Cord SPT-1 lamp wire with one round smooth wire and one "D" shaped ribbed wire.
x 3Wire Connector
- Pass canopy (A) over the arms protruding from mounting bracket (B) and secure with canopy screws (CC).
Hardware Used

Canopy
Screw

X2


- Always be certain that electric current is turned off before cleaning this item.
- Use a soft, moist cloth with mild non-abrasive soap to clean fixture. Never use glass cleaner on fixture, as it will damage the metal finish.
- All glass shades may be washed in a towel-lined sink with warm water and mild soap. Do not wash shades in an automatic dishwasher.
TROUBLESHOOTING
| PROBLEM | POSSIBLE CAUSE CORRECTIVE ACTION | |
| Fixture does not light. | 1. Fixture may be wired incorrectly. 1. Check wiring. | |
WARRANTY
elan Lighting warrants that its products will be free from defects in material and workmanship for three (3) year from the date of purchase by the Original Purchaser.
LED Rail, LED Lanterns. LED Wall Sconces, LED Pendants and LED Chandelierers for single family residences are warranted for three (3) year on the Light Engine and all other electrical components.
To replace a product that has a warranted defect, the Original Purchaser shall return any allegedly defective parts or products to the authorized elan distributor that the product was purchased from with PROOF OF PURCHASE, Original Purchaser's name and return address and a description of the claimed product defect.
If any of the warranted products are found by elan, in its sole discretion, to be defective, such products will, at elan's sole option and cost, be replaced, repaired or refunded less an amount directly attributable to Original Purchaser's prior use of the product. elan will return the repaired or replaced product prepaid freight. This warranty does not cover labor or other costs or expenses to remove or install any defective, repaired or replaced product.
The parties hereto expressly agree that Original Purchaser's sole and exclusive remedy against elan shall be for the repair, replacement or refund of defective products as provided herein. This warranty extends only to product ownership by the Original Purchaser; is not transferable whether to heirs, subsequent owners, or otherwise; and is void if the Original Purchaser ceases to own the product.
This warranty does not apply to any products that have been subjected to misuse, mishandling, misapplication, connected to voltage at more than 5% above standard North American voltage, unusual use (including but not limited to use in an environment where the annual average ambient operating temperature is below 27 or above 95 degrees Fahrenheit), neglect (including but not limited to improper maintenance), accident, acts of god such as high winds, improper installation or care, failure to follow the Product's written instructions for normal use and care, improper packaging of products returned to elan, modification (including but not limited to use of unauthorized parts or attachments), or adjustment or repair. Significant product exposure to chemicals, harsh cleaners, salt water or salt air will void any and all warranties on exterior finishes. This warranty only applies when all components, including transformers, have been provided by elan. Substituting another manufacturer's product and/or components will render the warranty completely void.
THIS WARRANTY GIVES YOU SPECIFIC LEGAL RIGHTS. YOU MAY ALSO HAVE OTHER RIGHTS, WHICH VARY FROM STATE TO STATE. SOME STATES DO NOT ALLOW LIMITATIONS ON HOW LONG AN IMPLIED WARRANTY LASTS OR THE EXCLUSION OR LIMITATION OF INCIDENTAL OR CONSEQUENTIAL DAMAGES SO THE ABOVE LIMITATIONS OR EXCLUSIONS MAY NOT APPLY TO YOU.
THE FOREGOING WARRANTY IS IN LIEU OF ALL OTHER WARRANTYES, EXPRESS OR IMPLIED, INCLUDING THOSE OF MERCHANTABILITY, FITNESS FOR ANY PARTICULAR PURPOSE OR INFRINGEMENT. ORIGINAL PURCHASER SHALL IN NO EVENT BE ENTITLED TO, AND ELAN LIGHTING SHALL NOT BE LIABLE FOR, INDIRECT, SPECIAL, INCIDENTAL OR CONSEQUENTIAL DAMAGES OF ANY NATURE, INCLUDING, BUT NOT LIMITED TO LOSS OF PROFIT, PROMOTIONAL AND/OR MANUFACTURING EXPENSES, OVERHEAD, INJURY TO REPUTATION AND/OR LOSS OF CUSTOMERS.
REPLACEMENT PARTS LIST
For replacement parts, call our customer service department at 1-855-226-7169, 8 a.m. - 4 p.m., EST, Monday - Friday.
| PART | DESCRIPTION | PART # | |
| B | Mounting Bracket | XB83758 | |
| D | End Cap EC83758 | ||
| E | End Cap Screw ECS83758 | ||
| AA | Wire Connector | WC01 | |
| BB | Short Machine Screw SCR832X050 | ||
| CC | Canopy Screw | CS83758 | |

B

D

E

AA

BB

CC

MEUBLE-LAVABOÀDEL
MODELE #83758

JOIGNEZ VOTRE REÇU ICI

EasyManual