WAGL4T500 - Machine à laver ELECTROLUX - Notice d'utilisation et mode d'emploi gratuit
Retrouvez gratuitement la notice de l'appareil WAGL4T500 ELECTROLUX au format PDF.
| Caractéristiques | Détails |
|---|---|
| Type de produit | Machine à laver |
| Capacité de lavage | 8 kg |
| Vitesse d'essorage | 1400 tr/min |
| Classe énergétique | A+++ |
| Programmes de lavage | 15 programmes, y compris éco, rapide, délicat |
| Dimensions (HxLxP) | 85 x 60 x 55 cm |
| Poids | 70 kg |
| Consommation d'eau | 49 L par cycle |
| Fonctionnalités supplémentaires | Départ différé, affichage LED, contrôle de la mousse |
| Maintenance | Filtres à nettoyer régulièrement, entretien du tambour |
| Sécurité | Protection contre les débordements, verrouillage enfant |
| Garantie | 2 ans |
FOIRE AUX QUESTIONS - WAGL4T500 ELECTROLUX
Téléchargez la notice de votre Machine à laver au format PDF gratuitement ! Retrouvez votre notice WAGL4T500 - ELECTROLUX et reprennez votre appareil électronique en main. Sur cette page sont publiés tous les documents nécessaires à l'utilisation de votre appareil WAGL4T500 de la marque ELECTROLUX.
MODE D'EMPLOI WAGL4T500 ELECTROLUX
FR Notice d'utilisation | Lave-linge 33

Dans un souci de durabilité, nous réduisons les supports papier et proposons les manuels d'utilisation complets en ligne. Accédez à votre manuel d'utilisation complet sur electrolux. com/manuals

Obtenir des conseils d'utilisation, des brochures, des dépannages, des informations sur le service et les réparations sur electrolux. com/support

Achetez des accessoires, des consommables et des pièces de rechange d'origine pour votre appareil sur electrolux. com/shop
Sous réserve de modifications.
TABLE des matières
- INFORMATIONS DE SÉCURITÉ 33
- CONSIGNES DE SÉCURITÉ 35
- INSTALLATION 37 4. DESCRIPTION DU PRODUIT 41 5. CARACTÉRISTIQUES TECHNIQUES 42 6. BANDEAU DE COMMANDE 43 7 OPTIONS 45
- TABLEAU DES PROGRAMMES 48
- CONFIGURATIONS 52
- UTILISATION QUOTIDIENNE 53 11. ENTRETIENETNETTOYAGE 56
- VALEURS DE CONSOMMATION 60
- GUIDE D'UTILISATION RAPIDE 61 14. GARANTIE 65
- CONSIDERATIONS ENVIRONNEMENTALES 66
1. Informations de sécurité

Avant de commencer à installer et à utiliser cet appareil, soignezment les instructions fournies.
Le fabricant ne pourra pas être tenu responsable des blessures et dégâts résultant d'une mauvaise installation ou utilisation. Conservez toujours les instructions dans un lieu sûr et accessible pour vous y référer ultérieurement.
1.1 Sécurité des enfants et des personnes vulnérables
Veillez à ce que les enfants ne jouent pas avec l'appareil. - Ne laissez pas les emballages à la portée des enfants et jetez-les convenablement. - Ne laissez pas les détergents à la portée des enfants. - Tenez les enfants et les animaux éloignés de l'appareil lorsque la porte est ouverte. - Le nettoyage et l'entretien par l'usage ne doit pas être effectués par des enfants sans surveillance.
1.2 Sécurité générale
- Cet appareil est destiné au lavage du linge domestique, utilisable en machine uniquement.
- Cet appareil est conçu pour un usage domestique ménager, dans un environnement intérieur.
- Cet appareil peut être utilisé dans les bureaux, les chambres d'hôtel, les chambres d'hôtes, les gîtes ruraux et d'autres hébergements similaires lorsque cette utilisation ne dépasse pas le niveau (moyen) de l'utilisation domestique.
- Ne modifiez pas les spécifications de cet appareil.
- La charge maximale de l'appareil est de 7 kg. Ne dépassez pas la charge maximale de chaque programme (reportez-vous au chapitre « Programmes »).
- La pression d'eau de service au point d'entrée d'eau du raccord de sortie doit être comprise entre 0,5 bar (0,05 MPa) et 10 bar (1,0 MPa).
- Les orifices d'aération situés à la base ne doivent pas être obstrués par de la moquette, un tapis, ou tout type de revêtement de sol.
- L'appareil doit être raccordé à l'arrivée d'eau à l'aide des tuyaux neufs fournis, ou d'autres tuyaux neufs fournis par le service après-vente agréé.
- Les anciens ensembles de tuyaux ne doivent pas être réutilisés.
- Si le cable d'alimentation secteur est endommagé, son remplacement doit être confié exclusivement au fabricant, à son service après-vente ou à toute autre personne qualifiée afin d'éviter tout danger électrique.
- Avant toute opération d'entretien, mettez l'appareil à l'arrêt et débranchez-le de l'alimentation électrique.
- N'pulvérisez pas d'eau ni de vapeur à haute pression pour nettoyer l'appareil.
- Nettoyez l'appareil avec un chiffon humide. Utilisez uniquement des produits de lavage neutres. N'utilisez pas de produits abrasifs, de tampons à recycler, de solvants ou d'objets métalliques.
2.1 Instructions d'installation
L'installation doit être conforme aux réglementations nationales en vigueur.
- Retirez l'intégralité de l'emballage et les boulons de transport, y compris le joint en caoutchouc et l'entretoise en plastique.
- Conservez les boulons de transport en lieu sûr. Si l'appareil doit être de nouveau déplacé, les boulons doivent être réutilisés pour maintenir le tambour en place et éviter tout dégât interne.
- Soyez toujours vigilants lorsque vous déplacez l'appareil car il est lourd. Utilisez toujours des gants de sécurité et des chaussures fermées.
- Suivez scrupuleusement les instructions d'installation fournies avec l'appareil.
- N'installez pas et ne branchez pas un appareil endommagé.
- N'installez pas l'appareil ou ne l'utilisez pas dans un endroit où la température ambiante est inférieure à 0°C ou dans un endroit exposé aux intempéries.
- L'appareil doit être installé sur un sol plat, stable, résistant à la chaleur et propre. Assurez-vous que de l'air circule entre l'appareil et le sol.
- Une fois l'appareil installé à son emplacement permanent, vérifie qu'il est
bien de niveau à l'aide d'un niveau à bulle. S'il n'est pas de niveau, réglez les pieds jusqu'à ce qu'il le soit.
- N'installez pas l'appareil directement au-dessus d'une évacuation dans le sol.
- Ne vaporisez pas d'eau sur l'appareil et ne l'exposez pas à une humidité excessive.
- N'installez pas l'appareil dans un endroit où il ne pourrait pas être complètement ouvert.
- Ne placez aucun récipient fermé sous l'appareil pour récupérer tout écoulement eventuel. Contactez le service après-vente agréé pour connaître les accessoires disponibles.

Avertissement!
Risque d'incendie ou d'électrocution.
- AVERTISSEMENT: Cet appare ètres figurant sur la plaque signalétique correspondent aux données électriques nominale de l'alimentation secteur.
- N'utilisez pas d'adaptateurs multiprise et de rallonges. Veillez à ne pas endommager la fiche secteur ni le câble d'alimentation. Le remplacement du câble d'alimentation de l'appareil doit être effectué par notre service après-vente agréé.
- Ne branchez la fiche secteur dans la prise secteur qu'à la fin de l'installation. Assurez-vous que la prise secteur est accessible après l'installation.
- Ne touchez jamais le câble d'alimentation ni la fiche avec des mains mouillées.
- Ne tirez pas sur le câble secteur pour débrancher l'appareil. Tirez toujours sur la fiche de la prise secteur.
2.3 Raccordement à l'arrivée d'eau
L'arrivée d'eau ne doit pas dépasser 25°C. Veillez à ne pas endommager les tuyaux de circulation d'eau. - Avant d'installer des tuyaux neufs, des tuyaux n'ayant pas servi depuis longtemps, lorsqu'une réparation a été effectuée ou qu'un nouveau dispositif a été installé (compteurs d'eau, etc.), laissez l'eau s'écouler jusqu'à ce qu'elle soit parfaitement propre et claire. - Pendant et après la première utilisation de l'appareil, vérifiez qu'aucune fuite n'est visible. - N'utilisez pas de rallonge si les tuyaux d'arrivée d'eau sont trop courts. Contactez le service après-vente/agréé pour remplacer le tuyau d'alimentation. - Lors du déballage de l'appareil, il est possible de voir de l'eau s'écouler du tuyau d'évacuation. Cette eau provient des tests effectués sur l'appareil en usine. - Vous pouvez rallonger le tuyau de vidange jusqu'à 400 cm maximum. Contactez le service après-vente/agréé pour l'autre tuyau de vidange et l'extension. Assurez-vous que le robinet est accessible une fois l'appareil installé.

Avertissement!
Risque de blessure, de choc électrique, d'incendie, de brûlures ou de dommage matériel à l'appareil.
- Suivez les consignes de sécurité figurant sur l'emballage du produit de lavage.
- Ne placez pas de produits inflammables ou d'éléments imbibés de produits inflammables à l'intérieur, à proximité ou au-dessus de l'appareil.
- Ne lavez pas les textiles très tachés par de l'huile, de la graisse ou une autre substance grasse. Cela peut endommager les pièces en caoutchouc de l'appareil. Prélavez de tels articles à la main avant de les introduire dans l'appareil.
- N'utilisez pas de perfums de lessive pour éviter d'endommager les pièces en plastique et en caoutchouc de l'appareil. Veillez à retirer tout objet métallique du linge.
2.5 Service
- Pour réparer l'appareil, contactez le service après-vente/agréé. Utilisez uniquement des pièces de rechange d'origine.
- Veuillez noter qu'une autoréparation ou une réparation non professionnelle peuvent avoir des conséquences sur la sécurité et annuler la garantie.
- Les pièces de rechange suivantes sont disponibles pendant au moins 10 ans après l'arrêt du modèle : moteur et balais de moteur, transmission entre le moteur et le tambour, pompes, amortisseurs et ressorts, tambour de lavage, support de tambour et roulements à billes correspondants, résistances, dont thermopompes, canalisations et équipements correspondants dont tuyaux, valves, filtres et électrovannes (aquastops), cartes de circuits imprimés, affichages électroniques, pressostats, thermostats et capteurs, logiciel et firmware dont logiciel de réinitialisation, porte, charnière et joints de porte, autres joints, ensemble de verrouillage de porte, périphériques en plastique tels que distributeurs de détergent. La durée peut
être plus longue dans certains pays. Pour plus d'informations, rendez-vous sur notre site Internet.
- Veuillez noter que certaines de ces pièces détachées ne sont disponibles qu’auprès de réparateurs professionnels et que toutes les pièces détachées ne sont pas adaptées à tous les modèles.
- Concernant la/les lampe(s) à l'intérieur de ce produit et les lampes de rechange vendues séparément : Ces lampes sont conçues pour résister à des conditions physiques extrêmes dans les appareils électroménagers, telles que la température, les vibrations, l'humidité, ou sont conçues pour signaler des informations sur le statut opérationnel de l'appareil. Elles ne sont pas destinées à être utilisées dans d'autres applications et ne conviennent pas à l'éclairage des pièces d'un logement.

Avertissement!
Risque de blessure ou d'asphyxie.
- Débranchez l'appareil de l'alimentation électrique et de l'arrivée d'eau.
- Coupez le câble d'alimentation au ras de l'appareil et mettez-le au rebut.
- Retirez le dispositif de verrouillage du hublot pour empêcher les enfants et les animaux de s'enfermer dans le tambour.
- Jetez l'appareil en vous conformant aux exigences locales relatives à la mise au rebut des Déchets d'équipements électriques et électroniques (DEEE).

Avertissement!
Reportez-vous aux chapitres concernant la sécurité.
3.1 Déballage et positionnement


3.4.


Positionnez correctement l'appareil pour éviter les vibrations, le bruit et les mouvements de l'appareil lorsqu'il fonctionne.

Avertissement!
Ne placez pas de carton, de bois ou de matériel équivalent sous les pieds de l'appareil pour régler le niveau.

Veillez à ce que les tapis n’empêchent pas la circulation de l'air sous l'appareil. Veillez à ce que l'appareil ne soit pas en contact avec le mur ou avec d'autres appareils.
Nous vous recommendons de conserver l'emballage et les boulons de transport en vue d'un éventuel déplacement de l'appareil.
3.2 Tuyau d'arrivée d'eau

Les accessoires fournis avec l'appareil peuvent varier selon le modèle.

Vérifiez que les tuyaux ne sont pas endommagés et que les raccords ne fuient pas. N'utilisez pas de rallonge si les tuyaux d'arrivée d'eau sont trop courts. Contactez le centre de maintenance pour obtenir des informations sur le remplacement du tuyau d'arrivée d'eau.
Certains modèles peuvent contenir un tuyau d'entrée avec dispositif d'arrêt d'eau. Il permet d'empêcher toute fuite dans le tuyau en raison de son vieillissement naturel.
Le secteur dans la fenêtre affiche ce défaut. Dans ce cas, fermez le robinet d'arrivée d'eau et contactez le service après-vente/agree pour faire replacer le tuyau.
Sous réserve de modification des pièces de rechange sans préavis. Acheter des accessoires auprès d'un fournisseur/agree.
3.3 Vidange de l'eau


Sujet à modification sans préavis.
Le tuyau de vidange doit être installé à une hauteur du sol comprise entre 600 et 1 000 mm. Vous pouvez rallonger le tuyau de vidange jusqu'à 4 000 mm au maximum. Contactez le service après-vente/agréé pour l'autre tuyau de vidange et l'extension.
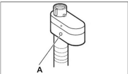
3.4 Dispositif d'arrêt de l'eau
Le tuyau d'arrivée d'eau est équipé d'un dispositif d'arrêt. Cet appareil empêche les fuites d'eau dans le tuyau en raison de son vieillissement naturel.
Le secteur rouge dans la fenêtre « A » indique ce défaut.

Si cela se produit, fermez le robinet d'eau et contactez le centre de service agréé pour obtenir des informations sur le remplacement du tuyau d'entrée.
3.5 Branchement électrique
À la fin de l'installation, vous pourrez brancher la fiche d'alimentation à la prise de courant.
La plaque signalétique et le chapitre « Données techniques » indiquent les valeurs
électriques nominales nécessaires. Assurez-vous qu'elles sont compatibles avec l'alimentation secteur.
Vérifiez que votre installation électrique domestique supporte la charge maximale requise, en tenant également compte des autres appareils qui peuvent être utilisés.
Branchez l'appareil à une prise de courant avec mise à la terre.

Une fois l'appareil installé, assurez-vous que le câble d'alimentation est facilement accessible.
Si une intervention électrique est nécessaire pour installer cet appareil, contactez notre service après-vente/agréé.
Le fabricant décline toute responsabilité en cas de dommages ou blessures résultant du non-respect des consignes de sécurité mentionnées ci-dessus.
4.1 Vue d'ensemble de l'appareil

1 Bandeau de commande 2 Couvercle 3 Poignée d'ouverture du couvercle 4 Filtre de la pompe de vidange 5 Levier de déplacement du lave-linge 6 Pieds pour la mise de niveau de l'appareil Tuyau d'arrivée d'eau
8 Tuyau de vidange 9 Câble d'alimentation électrique 10 Boulons de transport Support du tuyau 12 Plaque signalétique
Informations pour l'enregistrement du produit.
La plaque signalétique indique le nom du modèle (A), le numéro de produit (B), les valeurs électriques nominales (C) et le numéro de série (D).

L'étiquette d'informations indique le nom du modèle (A), le numéro de produit (B) et le numéro de série (C).

5. Caractéristiques techniques
| Dimensions | Largeur / Hauteur / Profondeur totale | 39,7 cm /90,3 cm /59,9 cm |
| Branchement électrique | Tension | 230 V |
| Puisance globale | 2100 W | |
| Fusible | 10 A | |
| Fréquence | 50 Hz | |
| Le niveau de protection contre l'infiltration de particules solides et d'humidité est assure par le couvercle de protection, sauf si l'équipement basse tension ne dis-pose d'aucune protection contre l'humidité | IPX4 | |
| Pression de l'arrivée d'eau | Minimale | 0,5 bar (0,05 MPa) |
| Maximale | 10 bar (1,0 MPa) | |
| Alimentation en eau 1) | Eau froide | |
| Charge maximale | Coton | 7 kg |
1) Raccordez le tuyau d'arrivée d'eau à un robinet d'eau muni d'un 3/4" filetage.
6.1 Description du bandeau de commande

1 Ein/Aus - Marche/Arrêt Touche 2 Sélecteur de programme 3 Affichage 4 Touche tactile Zeitvorwahl - Départ Différé 5 Zeit Sparen - Gain de Temps Touche tactile 6 Spülen - Rincage Touche tactile
- Extra Spülen - Rinçage Plus Option Annuler la phase de lavage - Nur Spülen - Rinçage
7 Start/Pause - Départ/Pause Touchetactile 8 Flecken/Vorw. - Taches/Prélav. Touche tactile
| 10.0.0.0 MAX | Levoyant signote durant l'estimation de la charge de linge |
| - | Voyant de charge maximale Il clignote lors que la charge de linge dépasse la charge maximale prévue pour le programme sélectionné. |
| -0 | Voyant Couvercle verrouillé. |
| # | Voyant Départ différé. |
| 000 | L'indicateur digital peut afficher : •Durée du programme (par ex. )240 •Départ différé (par ex., )2h •Fin du cycle ()0 •Code d'alarme ()E20 •Indication des heures de fonctionnement totales de l'appareil. Pour plus de détails, reportez-vous au chapitre « Compteur d'heures de fonctionnement » du paragraphe « Configuration». |
| II | Voyant de phase de lavage. Il clignote au cours des phases de prélavage et de lavage. |
| # | Voyant Phase de rinceage. Il clignote durant la phase de rinceage. |
| + | Option Soft Plus. Levoyant apparaît lors- que l'options activée. |
| 6 | Voyant des phases d'essorage et de vidan- ge. Il clignote au cours des phases d'essora- ge et de vidange. |
| W | Voyant de phase Vapeur. |
| T | Voyant de phase anti-froissage. Lisez le pa- ragraphe Plus Dampf - Vapeur Plus pour plus de détails. |
| G | Voyant Sécurité enfants. |
| B | Voyant de température. Levoyant *appa- raît lorsque vous sélectionnez un lavage à froid. |
| 1888 | Voyant de vitesse d'essorage. |
| - - - | Voyant de vitesse d'essorage désactivé. La phase d'essorage est désactivée, l'appareil effectue uniquement une phase de vidange. |
| □ | Voyant Arrêt cuve pleine. |
| dB | Voyant Silencieux. |
| ◇ | Voyant Gain de temps. |
7.1 Introduction
Les options/fonctions ne sont pas compatibles avec tous les programmes de lavage. Vérifiez la compatibilité entre les options/fonctions et les programmes de lavage dans le « Tableau des programmes ». Une option/fonction peut en exclure une autre. Dans ce cas, l'appareil ne vous permet pas de sélectionner les options/fonctions incompatibles.
Veillez à ce que l'écran et les touches soient toujours propres et secs.
Appuyez sur cette touche pendant quelques secondes pour allumer et éteindre l'appareil. Deux signaux sonores différents retentissent lorsque vous mettez en fonctionnement ou à l'arrêt l'appareil.
La fonction Veille met à l'arrêt automatiquement l'appareil pour réduire la consommation d'énergie. Par conséquent, dans certains cas, il se peut que vous deviez le mettre de nouveau en fonctionnement.
Le programme sélectionné par défaut, à la mise sous tension de la machine, est toujours le programme Eco 40-60.
Pour des précisions, reportez-vous au paragraphe « Veille » du chapitre « Utilisation quotidienne ».
Sélectionnez cette option avec le programme Coton blanc. Lorsque l'option est sélectionnée, vous ne pouvez modifier ni la température, ni la durée du cycle. Les options Zeit Sparen - Gain de Temps et Extra silencieux ne sont pas disponibles.
L'évoyant correspondant au-dessus de la touche tactile s'allume.
Grâce à la phase de lavage associée à la vapeur, cette option élimine plus de 99,99% des bactéries et des virus en maintenant la température au-dessus de 60°C tout au long de la phase de lavage ; avec une action supplémentaire sur les fibres grâce à une phase de vapeur, une phase de rinçage améliorée qui garantit une élimination parfaite des résidus de détergent et de micro-organismes. Cette option garantit également une réduction efficace des pollens et autres allergènes.
Testé pour le staphylocoque doré, les enterococcus faecium, le candida albicans, le bacille pyocyanique et les bacteriophages MS-2 par l'institut indépendant Swissatest Testmaterialien AG en 2021 (Rapport de test n° 202120117).
Cette option vous permet de diminuer la durée d'un programme.
- Si votre linge est normalement ou légèrement sale, il est préférable de réduire la durée du programme de lavage. Appuyez une fois sur cette touche pour diminuer la durée.
- Si la charge est petite, appuyez deux fois sur cette touche pour sélectionner un programme extra court.
L'indicateur s'allume.
Cette option peut également être utilisée pour diminuer la durée du programme Vapeur.
7.5 Temp.
Lorsque vous sélectionnez un programme de lavage, l'appareil propose automatiquement une température par défaut.
Sélectionnez cette option pour modifier la température par défaut.
Le voyant -eau froide de la température sélectionnée s'affiche (l'appareil ne chauffe pas l'eau).
Lorsque vous sélectionnez un programme, l'appareil règle automatiquement la vitesse d'essorage maximale. Seules les vitesses disponibles pour le programme sélectionné s'affichent.
Appuyez à plusieurs reprises sur cette touche pour :
- Diminuer la vitesse d'essorage.
- Activer l'option Arrêt cuve pleine.
L'eau du dernier rinçage n'est pas évacuée afin d'éviter le froissage du linge. Le programme de lavage se termine avec de l'eau dans le tambour, et l'essorage final n'est pas effectué.
L'indicateur s'allume.
Le couvercle reste verrouillé. Le tambour tourne régulièrement pour éviter que le linge ne se froisse. Vous devez vidanger l'eau pour pouvoir ouvrir le couvercle.
Appuyez sur la touche Start/Pause - Départ/Pause : l'appareil effectue une phase d'essorage et vidange l'eau.
- Activer l'option Extra Silence.
Toutes les phases d’essorage (essorages intermédiaire et final) sont supprimées et le programme se termine avec de l’eau dans le tambour. Cela réduit le froissage du linge.
Ce programme étant très silencieux, il peut être utilisé de façon optimale la nuit, aux heures creuses, lorsque les tarifs de l'électricité sont plus bas. Certains programmes utilisent plus d'eau lors du rinçage.
L'indicateur dB s'allume.
Le couvercle reste verrouillé. Le tambour tourne régulièrement pour éviter que le linge ne se froisse. Vous devez vidanger l'eau pour pouvoir ouvrir le couvercle.
Appuyez sur la touche Start/Pause - Départ/Pause : l'appareil effectue uniquement une phase de vidange.

L'appareil vidange l'eau automatiquement au bout d'environ 18 heures.
- Activez l'option Abpumpen - Vidange (Élimine les phases de lavage, de rincage et d'essorage).
L'appareil effectue uniquement la phase de vidange du programme de lavage sélectionné.
L'indicateur - (froid), l'indicateur
(sans essorage) et l'indicateur ⑥ apparaisent.
- Activez l'option Schleudern - Essorage (Élimine les phases de lavage et de rincage).
L'appareil effectue uniquement la phase d'essorage du programme de lavage sélectionné.
L'indicateur (froid), l'indicateur de phase et la vitesse d'essorage s'affichent.

Si vous devez réduire la vitesse d'essorage, sélectionnez un programme ayant par défaut une vitesse d'essorage basse.
Appuyez à plusieurs reprises sur la touche pour activer une des deux options.
Flecken - Taches
Sélectionnez cette option pour ajouter une phase anti-taches à un programme afin de traiter le linge très sale ou taché avec un détachant.
Versez le détachant dans le compartiment U. Le détachant sera ajouté dans la phase prévue du programme de lavage.

Cette option peut augmenter la durée du programme et n'est pas disponible avec des températures de lavage inférieures à 40°C.
Utilisez cette option pour ajouter une phase de prélavage à 30°C avant la phase de lavage.
Cette option est recommandée pour le linge très sale, tout particulièrement s'il contient du sable, de la poussière, de la boue ou d'autres particules solides.

Cette option peut rallonger la durée du programme.
L'indicateur correspondant s'allume au-dessus de la touche.
Avec cette touche, vous pouvez sélectionner l'une des options suivantes :
- Extra Spülen - Rincage Plus option
- Cette option permet d'ajouter quelques rincages en fonction du programme de lavage sélectionné.
Utilisez cette option pour les personnes allergiques aux résidus de produits de lavage et dans les régions où l'eau est douce.

Cette option rallonge légèrement la durée du programme.
Annuler la phase de lavage - option Nur Spuilen - Rincage L'appareil effectue uniquement les phases de rincage, d'essorage et de vidange du programme sélectionné.
Le voyant correspondant s'allume au-dessus de la touche.
Cette option ajoute une phase de vapeur suivie d'une courte phase anti-froissage à la fin du programme de lavage. La phase Vapeur réduit les plis sur le linge et facilite le repassage des tissus.
L'indicateur signale sur l'affichage durant la phase vapeur.
Le tambour effectue des mouvements doux pendant environ 30 minutes. La durée de la
phase vapeur change en fonction de la sélection. Lorsque l'option Plus Dampf - Vapeur Plus est sélectionnée, le programme se termine par une phase antifroissage lors de laquelle le tambour tourne de temps en temps pour éviter les plis.
L'affichage indique que le voyant est fixe et le voyant commence à clignoter. Le bouton Start/Pause - Départ/Pause est également allumé. À la fin de la phase anti-froissage, le tambour s'arrête définitivement, le voyant s'éteint et la porte se déverrouille. L'utilisateur peut à tout instant mettre fin à la phase anti-froissage :
- en appuyant sur la touche Ein/Aus - Marche/Arrêt pendant quelques secondes pour mettre en fonctionnement ou à l'arrêt l'appareil;
- en tournant le sélecteur sur une autre position.

Une petite quantité de linge aide à obtenir plusieurs résultats.
Cette option vous permet de différer le départ du programme à un moment qui vous convient.
Appuyez à plusieurs reprises sur la touche pour sélectionner le délai souhaité. Le temps augmente par paliers de 30 minutes jusqu'à 90 minutes, puis de 2 heures à 20 heures.
Après avoir appuyé sur la touche Départ/Pause
- Départ/Pause, l'indicateur et le délambda sélectionné s'affichent, et l'appareil commence son décompte.
Appuyez sur la touche Start/Pause - Départ/Pause pour démarrer l'appareil, le mettre en pause ou interrompre un programme en cours.
8. Tableau des programmes
Programmes de lavage
| Programme Description du programme | |
| Eco 40-60 | Coton blanc et coton grand teint. Articles normalement sales. La consomma-tion d'énergie diminue et la durée du programme de lavage est prolongée, pour garantir debons résultats de lavage. |
| Coton | Coton blanc et couleurs. Vêtements normalement, légèrement et très sales. |
| Synthétiques | Articles en textiles synthétiques ou mélangés. Articles normalement sales. |
| Délicats | Textiles délicats tels que l'acrylique, la viscose et les tissus mélangés né-cessitant un lavage en douceur. Vêtements normalement et légèrement sa-les. |
| Laine/Soie | Lainages lavables en machine, laine livable à la main et autres textiles portant le symbole « Lavage à la main »1). |
| Vapeur | Programme vapeur pour les articles en coton et textiles synthétiques. La vapeur peut être utilisée pour le linge sec2) Linge propre ou porté une seule fois. Ce programme réduit les plis et les odeurs3) et détend les fibres. Lorsque le programme est terminé, retirezrapidement le linge du tambour. ÀpRES un pro-gramme Vapeur, le repassage est facilité. N'utilise aucun produit de lavage. En cas de besoin, nettoyez les taches en effectuant un cycle de lavage ou à l'aide d'un produit détachant à application locale. Les programmes Vapeur n'effec-tuent pas de cycle de lavage hygiénique. Ne sélectionnez pas le programme Vapeur pour ces types d'article :Linge non adapté au sèche-linge.Tous les articles contenant des pieces en plastique, métal, bois ou équiva-lent. |
| 20 min.-3 kg | Articles en coton et synthétiques légèrement sales ou portés une seule fois. |
Programme description du programme
| Outdoor | i N'utilisez pas d'adoucissant et assurez-vous que le distribu- teur de produit de lavage ne contient pas de résidus d'adou- cissant. |
| Vêtements d'extérieur, de travail, de sport, imperméables et tissus per- méables à l'air, vestes à molleton ou doublure isolante amovibles.La char- ge de linge recommendée est de 2 kg. Ce programme peut également être utilis- se comme cycle de restauration de l'imperméabilité. Il est spécialement conçu pour Traitser les vêtems dotés d'un revêtement hydrophobique. Pour effectuer un cycle de restauration de l'imperméabilité, procédez comme suit : • Versez le produit de lavage dans le compartment . | |
| • Versez un produit de restauration spécial pour vêtems imperméables dans le compartment pour l'adoucissant ® | |
| • Réduisez la charge de linge à 1 kg. Pour améliorer l'action du produit de restauration de l'imperméabilité, faites sé- cher le linge dans un lave-linge, en scélectionnant le programme de séchage Outdoor (si disponible et si l'étiquette d'entretien du vêtement indique que le sé- chage en machine est autorisé). | |
| Duvet | Une couverture synthétique, des vêtems rembourse, des couettes, des vestes et des articles similaires. |
| Jeans | Des articles en jean ou en jersey. Normalement sale. Ce programme effectue une phase de rincege en douceur idéale pour les articles en jean, qui réduit le délavage et empêche les résidus de dessive en poudre de s'accrocher aux fi- bres. |
1) Pendant ce cycle, le tambour tourne doucement pour garantir un lavage en douceur. Le tambour peut donner l'impression de ne pas tourner ou de ne pas tourner correctement, mais ce fonctionnement est normal pour ce programme. 2) Si vous sélectionnez un programme Vapeur avec du linge sec, il sera humide à la fin du cycle. Étendez le linge pour le faire sécher pendant environ 10 minutes. 3) Le programme Vapeur n'élimine pas particulièrement les odeurs intenses.
| Programme Température par dé-fautPlage de températe-res | Vitesse d'essorage de référencePlage de vitesses d'es-sorage | Charge maxi-male | |
| Eco 40-6040 °C 1) | 1300 tr/min1300 - 400 tr/min | 7 kg | |
| Coton40 °C95 °C - Froid | 1300 tr/min1300 - 400 tr/min | 7 kg | |
| Synthétiques40 °C60 °C - Froid | 1200 tr/min1200- 400 tr/min | 3 kg | |
| Délicans30 °C40 °C - Froid | 1200 tr/min1200 - 400 tr/min | 2 kg | |
| Programme Température par dé-faut Plage de températe-sures | Vitesse d'essorage de référation Plage de vitesses d'es-sorage | Charge maxi-male | |
| Laine/Soie | 40 °C | 1200 tr/min | 1,5 kg |
| 40 °C - Froid | 1200- 400 tr/min | ||
| Vapeur | -- 1 kg | ||
| 20 min. - 3 kg | 30 °C | 1200 tr/min | 3 kg |
| 40 °C - 30 °C | 1200 - 400 tr/min | ||
| Outdoor | 30 °C | 1200 tr/min | 2 kg2) |
| 40 °C - Froid | 1200 - 400 tr/min | 1 kg3) | |
| Duvet | 40 °C | 800 tr/min | 2 kg |
| 60 °C - Froid | 800 - 400 tr/min | ||
| Jeans | 40 °C | 1200 tr/min | 3 kg |
| 60 °C - Froid | 1200- 400 tr/min | ||
Conformément au règlement de la Commission française UE 2019/2023, ce programme à 40°C peut nettoyer du linge en coton normalement sale déclaré lavable à 40°C ou 60°C, dans le même cycle.

Pour la température atteinte dans le linge, la durée du programme et d'autres données, veuillez consulter le chapitre « Valeurs de consommation ». Les programmes les plus efficaces en matière de consommation énergétique sont généralement ceux qui fonctionnent à des températures plus basses et pendant une durée plus longue.
2) Programme de lavage.
3) Programme de lavage et phase d'imperméabilisation.
Compatibilité des options de programme
| Options | Programme Eco 40-60 Coton Synthétiques Délicats Laine/Soi Vapeur 20 min. -3 kg Outdoor Duvet Jeans |
| Schleudern - Essorage | |
| Arrêt cuve pleine | |
| Silencieux dB | |
| Abpumpen - Vidange | |
| Schleudern - Essorage | |
| Flecken - Taches1) | |
| Vorwäsche - Préavage | |
| Extra Spülen - Rinçage Plus | |
| Nur Spülen - Rinçage | |
| Anti-Allergie - Anti-Allergies | |
| Zeit Sparen - Gain de Temps2) | |
| Zeitvorwahl - Départ Différé | |
| Plus Dampf - Vapeur Plus1) | |
| Soft Plus | |
1) Cette option n'est pas disponible avec des températures de lavage inférieures à 40°C. 2) Si vous sélectionnez la durée la plus courte, nous vous recommandons de réduire la charge de linge. Il est possible de charger entièrement le lave-linge, mais les résultats du lavage seront alors moins bons.
Produits de lavage adaptés aux programmes de lavage
| Programme | Poudre univer-selle1) | Produit lessi-viel liquide universal | Produit lessi-viel liquide pour couleurs | Laine délica-te | Program-mes spé-ciaux |
| Eco 40-60 | ▲ | ▲ | ▲ | -- | -- |
| Coton | ▲ | ▲ | ▲ | -- | -- |
| Synthétiques | ▲ | ▲ | ▲ | -- | -- |
| Délicats | -- | -- | -- | ▲ | ▲ |
| Laine/Soie | -- | -- | -- | ▲ | ▲ |
| 20 min. - 3 kg | -- | ▲ | ▲ | -- | -- |
| Outdoor | -- | -- | -- | ▲ | ▲ |
| Duvet | -- | -- | -- | ▲ | ▲ |
| Jeans | -- | -- | -- | ▲ | ▲ |
À une température supérieure à 60°C, l'utilisation de détergent en poudre est recommandée.

Le cycle de lavage de la laine de cet appareil a été testé et approuvé par The Woolmark Company pour le lavage des vêtements en laine portant une étiquette « lavage à la main », à condition que les produits soient lavés conformément aux instructions figurant sur l'étiquette du vêtement et à celles émises par le fabricant de cette machine à laver. M1145
9.1 Signaux sonores
Pour désactiver les signaux sonores lorsque le programme est terminé, appuyez simultanément sur les touches Anti-Allergie - Anti-Allergies et Flecken/Vorw. - Taches/Prélav. pendant environ 3 secondes.

Les signaux sonores continuent de retentir lorsque l'appareil rencontre une anomalie.
9.2 Sécurité enfants
Avec cette option, vous pouvez empêcher les enfants de jouer avec le bandeau de commande.
Pour activer/désactiver cette option, appuyez simultanément sur les touches Schleudern - Essorage et Flecken/Vorw. - Taches/Prélav. jusqu'à ce que l'évoyant s'allume/s'éteigne sur l'affichage. Vous pouvez activer cette option : - Après avoir appuyé sur la touche Start/ Pause - Départ/Pause : toutes les touches et le sélecteur de programme sont désactivés (à l'exception de la touche Ein/Aus - Marche/Arrêt). - Avant d'appuyer sur la touche Start/Pause - Départ/Pause : l'appareil ne peut pas démarrer.
Après avoir éteint l'appareil, cette option reste sélectionnée.
9.3 Permanent soft plus
Sélectionnez l'option Soft Plus pour optimiser la distribution d'assouplissant et rendre le linge plus doux.
Elle est suggérée lorsque vous utilisez un assouplissant.

Cette option rallonge légèrement la durée du programme.
Pour activer/désactiver cette option, appuyez sur le bouton Temp. et le bouton Schleudern - Essorage simultanément jusqu'à ce que le + voyant s'allume/ s'éteigne au-dessus du voyant.
9.4 Rinçage plus permanent
Cette fonction vous permet de maintenir la fonction Rincage Plus en permanence lorsque vous sélectionnez un nouveau programme.
- Pour activer/désactiver cette option, appuyez simultanément sur les touches Flecken/Vorw. - Taches/Prélav. et Spülen - Rincage jusqu'à ce que l'évoyant Extra Spülen - Rincage Plus s'allume/s'éteigne.
9.5 Compteur des heures de fonctionnement
Il est possible de visualiser la durée totale de fonctionnement de l'appareil en heures, à partir de la première mise sous tension. Cette valeur calcule la durée de fonctionnement des cycles (n'inclut pas les pauses et le démarrage différé). Pour visualiser cette valeur, procédez comme suit :
- Mettez en fonctionnement l'appareil en appuyant sur la touche Ein/Aus - Marche/Arrêt.
- Tournez le sélecteur de programme sur le programme Eco 40-60 (1ère position vers la droite).
- Maintenez la touche Anti-Allergie - Anti-Allergies et Flecken/Vorw. - Taches/ Prélav. enfoncée pendant quelques secondes (dans les 10 secondes après avoir mis en fonctionnement). Avec ces 10 secondes, la combinaison de touches active et désactive les signaux sonores.
- Au bout de 3 secondes, le nombre total d'heures de fonctionnement de l'appareil s'affiche : par exemple pour 1276 heures, le texte Hr s'affiche pendant 2 secondes, 12 (milliers et centaines) pendant 2 secondes et 76 (dizaines et unités).

Si la procédure ne fonctionne pas (en raison d'un début échoué, d'une mauvaise position du sélecteur de programme ou d'une combinaison de touches erronée), mettez à l'arrêt l'appareil et repésez la procédure depuis le début.
9.6 Réinitialisation usine
Cette fonction permet de restaurer les options d'usine par défaut. Pour activer cette option, suivez les étapes ci-dessous:
- Mettez en fonctionnement l'appareil en appuyant sur la touche Ein/Aus - Marche/Arrêt.
- Tournez le sélecteur de programme sur le programme Synthétiques (3e position vers la droite).
- Maintenez la touche Anti-Allergie - Anti-Allergies et Flecken/Vorw. - Taches/ Prélav. enfoncée pendant quelques secondes (dans les 10 secondes après avoir mis en fonctionnement). Avec ces 10 secondes, la combinaison de touches active et désactive les signaux sonores.
- L'affichage indique pendant environ 5 secondes.

Si la procédure ne fonctionne pas (en raison d'un début échoué, d'une mauvaise position du sélecteur de programme ou d'une combinaison de touches erronée), mettez à l'arrêt l'appareil et reprenez la procédure depuis le début.

Avertissement!
Reportez-vous aux chapitres concernant la sécurité.
10.1 Activation de l'appareil
- Branchez la fiche secteur sur la prise de courant.
- Ouvrez le robinet d'arrivée d'eau.
- Appuyez sur la touche Ein/Aus - Marche/ Arrêt pour mettre l'appareil en fonctionnement.
Un bref signal sonore retentit.
L'écran affiche le programme par défaut, la durée du cycle Eco 40-60., la charge maximale (uniquement pendant quelques secondes), la vitesse d'essorage par défaut et les voyants des phases composant le programme.
10.2 Chargement du linge
- Ouvrez le couvercle de l'appareil.
- Appuyez sur la touche A.

Le tambour s'ouvre automatiquement. 3. Placez les articles un à un dans le tambour. 4. Dépliez-les le plus possible avant de les placer dans l'appareil. 5. Fermez le tambour et le couvercle.

Attention!
- Veillez à ne pas trop surcharger le tambour.
- Veillez à ce qu'aucun linge ne reste entre le joint et l'appareil et à fermer correctement le tambour.
- Laver des articles très tachés par de l'huile ou de la graisse ou utiliser du parfum pourrait endommager les pièces en caoutchouc de l'appareil.
10.3 Boîte à produits. utilisation du produit de lavage et des additifs
- Dosez les produits de lavage et l'assouplissant.
- Mettez le produit de lavage et l'assouplissant dans les compartiments réservés.

Respectez les instructions figurant sur l'emballage des lessives.


Compartiment pour la phase de prélavage. Les repères MAX sont les niveaux maximaux de la quantité de produit de lavage (en poudre ou liquide).
Lorsque vous sélectionnez un programme avec une phase de détachage, ajoutez du produit de lavage (en poudre ou liquide).

Compartment pour la phase de lavage. Les repères MAX sont les niveaux maximaux de la quantité de produit de lavage (en poudre ou liquide).

Compartiment réservé aux additifs liquides (assouplissant textile, amidon).
Le repère est le niveau maximal pour les additifs liquides.

Volet pour produit de lavage en poudre ou liquide.




- Position A pour la lessive en poudre (réglage d'usine).
- Position B pour la lessive liquide.
En cas d'utilisation de lessive liquide :
- N'utilise pas de lessives liquides gélatineuses ou épaisSES.
- Le niveau de lessive liquide ne doit pas dépasser le niveau maximum.
- Ne sélectionnez pas la fonction Départ différé.
10.5 Réglage d'un programme
- Tournez le sélecteur de programmes. L'évoyant correspondant au programme s'allume.
Le voyant de la touche Start/Pause - Départ/ Pause clignote en rouge. L'afficheur indique la température par défaut, la vitesse d'essorage et les barres de voyants vides des fonctions disponibles. 2. Pour modifier la température et/ou la vitesse d'essorage, appuyez sur les touches correspondantes. 3. Sélectionnez les fonctions compatibles.
Détection de la charge prosense system
Le ProSense ajuste automatiquement la durée du programme en fonction de la charge de linge dans le tambour pour obtenir des résultats de lavage parfaits, en un minimum de temps. À la fin de la détection de charge, en cas de surcharge du tambour, le voyageant
MAX clignote sur l'affichage. Vous pouvez mettre l'appareil en pause et retarder le linge en excédent. Si vous ne le faites pas, le programme de lavage démarre quand même.
Réglage d'un programme
Tournez le sélecteur de programme. Le voyant du programme s'allume. L'affichage indique la température par défaut, la vitesse d'essorage et les fonctions disponibles. Appuyez sur la touche Start/Pause - Départ/Pause pour lancer le programme. Le couvercle est verrouillé et le voyant apparaît sur l'affichage.
Démarrer un programme avec démarrage différé
- Appuyez sur le bouton Zeitvorwahl - Départ Différé à plusieurs reprises jusqu'à ce que le département différé souhaite s'affiche.
- Appuyez sur le bouton Start/Pause - Départ/Pause. Le hublot se verrouille et l'appareil démarre le décompte du départ différé. Le programme démarre automatiquement lorsque le décompte est terminé.
Interruption d'un programme et modification des options.
- Lorsque le programme est en cours, vous ne pouvez changer que quelques options. Appuyez sur le bouton Start/Pause - Départ/Pause. 2. Modifiez les options. Les informations données sur l'affichage changent en conséquence.
- Appuyez à nouveau sur Start/Pause - Départ/Pause. Le programme de lavage continue.
Annulation d'un programme en cours
- Appuyez sur le bouton Ein/Aus - Marche/ Arrêt pour annuler le programme et mettre l'appareil à l'arrêt. Appuyez à nouveau pour mettre l'appareil en fonctionnement.
Ouverture du capot
Si la température et le niveau de l'eau dans le tambour sont trop élevés, le voyant reste allumé et vous ne pouvez pas ouvrir le couvercle.
Pour ouvrir le couvercle
- Appuyez sur le bouton Ein/Aus - Marche/Arrêt.
- Attendez quelques minutes, puis ouvrez doucement le couvercle. Vous pouvez notamment ajouter du linge.
- Fermez le couvercle et appuyez sur Start/Pause - Départ/Pause pour poursuivre le programme de lavage.
Vidange de l'eau après la fin du cycle Le programme de lavage est terminé, mais il y a de l'eau dans le tambour. Le tambour tourne à intervalles réguliers pour éviter les pris dans le linge. Le voyant de verrouillage du couvercle est illuminé. Vous devez vidanger l'eau pour ouvrir le couvercle :
Appuyez sur le bouton Schleudern - Essorage pour diminuer la vitesse d'essorage proposée par l'appareil. Appuyez sur Start/Pause - Départ/Pause. Une fois le programme terminé et le
voyant de verrouillage du couvercle éteint, vous pouvez ouvrir la porte et le couvercle.

- Appuyez sur Ein/Aus - Marche/Arrêt pour permettre l'appareil à l'arrêt.
Fonction veille
La fonction Veille met automatiquement l'appareil à l'arrêt pour réduire la consommation d'énergie.

Avertissement!
Reportez-vous aux chapitres concernant la sécurité.
Le nettoyage périodique permet de prolonger la durée de vie de votre appareil.
À la fin de chaque cycle, afin d'éviter l'apparition de moisissure et d'odeurs, maintenez la porte du tambour et le distributeur de détergent entrouverts pour permettre la circulation de l'air et éliminer l'humidité à l'intérieur de l'appareil.
Si l'appareil n'est pas utilisé pendant une durée prolongée : fermez le robinet d'eau et débranchez l'appareil.
Calendrier indicatif de nettoyage périodique:
Déterrage Deux fois par an
Lavage d'entretien Une fois par mois
Nettoyer le joint du cou Tous les deux mois véricle
Nettoyez le tambour Tous les deux mois
Nettoyez le distributeur Tous les deux mois de détergent
Nettoyez le filtre de la pompe de vidange
Deux fois par an
Nettoyez le tuyau d'arrivée d'eau et du filtre de la vanne
Deux fois par an
Les paragraphes suivants expliquent comment vous devez nettoyer chaque partie.
11.2 Enlèvement des objets étrangers

Assurez-vous que les poches sont vides et que tous les éléments libres sont attachés avant de lancer votre cycle.
Enlevez les objets étrangers (tels que les attaches métalliques, les boutons, les pièces, etc.) pouvant se coucher dans les filtres et le tambour. Consultez les paragraphes « Nettoyage du tambour », « Nettoyage de la pompe de vidange » et « Nettoyage du tuyau d'arrivée d'eau et du filtre de la vanne ». Traitez les rideaux avec précautions. Retirez les crochets et placez les rideaux dans un sac de lavage ou une taie d'oreiller. Si nécessaire, contactez le service après-vente/agréé.
11.3 Nettoyage externe
Nettoyez uniquement l'appareil à l'eau chaude avec un savon doux. Séchez complètement toutes les surfaces. N'utilisez pas de tampons à récurer ni de matières pouvant causer des rayures.

Attention!
N'utilisez pas d'alcool, de solvants ni de produits chimiques.

Attention!
Ne nettoyez pas les surfaces métalliques avec un détergent à base de chlore.
11.4 Détartrage de l'appareil

Si, dans votre région, la dureté de l'eau est élevée ou modérée, il est recommandé d'utiliser un produit de détartrage de l'eau pour lave-linge.
Examinez régulièrement le tambour à la recherche de tartre.
Les produits de lavage habituels contiennent déjà des agents adoucisseurs d'eau, mais nous vous recommandons d'effectuer occasionnellement un cycle de lavage, tambour vide, avec un produit de détartrage.

Respectez toujours les instructions figurant sur l'emballage du produit.
11.5 Lavage d'entretien
Avec les programmes à basse température, il est possible que certains produits de lavage restent dans le tambour. Effectuez régulièrement un lavage d'entretien. Pour ce faire :
- Retirez le linge du tambour.
- Sélectionnez le programme pour le coton à température maximale avec une petite quantité de détergent.
11.6 Joint du capot
Examinez régulièrement le joint et enlevez tous les objets situés à l'intérieur. Si nécessaire, nettoyez-le en utilisant un agent nettoyant à l'ammoniaque et sans érafler la surface du joint.

Respectez toujours les instructions figurant sur l'emballage du produit.
11.7 Nettoyage du tambour
Examinez régulièrement le tambour pour éviter le dépôt de particules de rouille.
Pour un nettoyage complet :
- Nettoyez le tambour à l'aide d'un produit spécial pour l'acier inoxydable.
Respectez toujours les instructions figurant sur l'emballage du produit.
- Sélectionnez le programme pour le coton à température maximale ou, s'il est proposé, utilisez le programme Lavage tambour. Versez une petite quantité de lessive en poudre dans le tambour vide afin de rincer les évventuels résidus.
11.8 Nettoyage du distributeur de lessive
Pour éviter des dépôts de lessive séchée ou d'assouplissant coagulé et/ou la formation de moisissures dans le distributeur de lessive, effectuez tous les deux mois la procédure de nettoyage suivante comme expliqué dans les schémas suivants :



11.9 Nettoyage du filtre de la pompe de vidange
Vérifiez régulièrement le filtre de la pompe de vidange et assurez-vous qu'il est propre.
- Débranche la fiche d'alimentation de la prise de courant.
- Ne nettoyez pas la pompe si l'eau de l'appareil est chaude. Attendez que l'eau refroidisse.
- Ne retirez pas le filtre pendant que l'appareil fonctionne.
- Dévissez lentement et doucement le filtre jusqu'à ce que l'eau cesse de s'écouler. Une fois l'eau vidangée, le filtre peut être complètement dévissé.
Nettoyez la pompe de vidange si :
L'appareil ne vidange pas l'eau. - Le tambour ne tourne pas. L'appareil fait un bruit inhabituel en raison de l'obstruction de la pompe de vidange. Le code d'alarme s'affiche.
Procédez comme décrit dans les schémas suivants pour nettoyer le filtre de la pompe :





Gardez toujours un chiffon à portée de main pour essuyer l'eau qui peut s'écouler lorsque vous retirez le contrôle.
11.10 Nettoyage du tuyau d'arrivée d'eau et du filtre de la vanne
Il est recommandé de nettoyer les deux filtres du tuyau d'arrivée d'eau et de la vanne deux fois par an, pour éliminer les dépôts accumulés avec le temps. Procédez comme décrit dans les schémas suivants pour nettoyer les filtres :




11.11 Vidange d'urgence
Si l'appareil ne peut pas vidanger l'eau, effectuez la même procédure décrite dans le paragraphe « Nettoyage de la pompe de vidange ». Si nécessaire, nettoyez la pompe.
Lorsque vous vidangez l'eau avec la vidange d'urgence, vous devez réactiver le système de vidange :
- Versez 2 litres d'eau dans le distributeur de produit de lavage pour le lavage principal.
- Démarrez le programme pour vidanger l'eau.
11.12 Précautions contre le gel
Si l'appareil est installé dans un local où la température peut être négative, évacuez toute l'eau restante dans le tuyau d'alimentation et la pompe de vidange.
- Débranche l'appareil de la prise de courant.
- Fermez le robinet d'eau.
- Placez les deux extrémités du tuyau d'alimentation dans un récipient et laissez l'eau s'écouler du tuyau.
- Videz la pompe de vidange. Reportez-vous à la procédure de vidange d'urgence.
- Une fois que la pompe de vidange est vide, réinstallez le tuyau d'alimentation.
Assurez-vous que la température est supérieure à 0°C avant d'utiliser à nouveau l'appareil.
Le fabricant ne pourra être tenu pour responsable en cas de dommages dus aux basses températures.
12.1 Commentaire
Conformément au règlement de la Commission UE 2019/2023
| Eco 40-60 pro- gramme | kg kWh Litres | hh:mm | % 1) | °C | tr/min2) |
| Pleine charge 7 | 0.824 | 53.0 3:25 | 53.00 46 1251 | ||
| Demi-charge 3,5 | 0.222 | 44.0 2:40 | 53.00 25 1251 | ||
| Quart de charge 2 | 0.134 | 36.0 2:40 | 55.00 23 1251 |
1) Humidité résiduelle au terme de la phase d'essorage. Plus la vitesse d'essorage est élevée, plus le bruit est important et moins il reste d'humidité. 2) Vitesse d'essorage maximale
Programmes courants

Ces valeurs sont uniquement indicatives.
| Programme | kg kWh Litres hh:mm | % 1) | °C | tr/min2) |
| Coton3) | 7 2.50 90.0 4:10 53.00 85 1300 | |||
| 95 °C | ||||
| Coton | ||||
| 60 °C | 7 1.65 90.0 3:50 53.00 55 1300 | |||
| Coton4)20 °C | 7 0.30 90.0 2:50 53.00 20 1300 | |||
| Synthétiques40 °C | 3 0.55 50.0 2:10 35.00 40 1200 | |||
| Délicats5)30 °C | 2 0.35 50.0 1:00 35.00 30 1200 | |||
| Laine/Soie30 °C | 1,5 0.20 45.0 1:10 30.00 30 1200 |
1) Humidité résiduelle au terme de la phase d'essorage. Plus la vitesse d'essorage est élevée, plus le bruit est important et moins il reste d'humidité. 2) Indicateur de référence de la vitesse d'essorage. 3) Convient au lavage de textiles très sales. 4) Convient pour laver les articles en coton peu sales, synthétiques et mixtes. 5) Il fonctionne également comme un cycle de lavage rapide pour le linge légèrement sale.
Consommation d'énergie pour différents modes
La durée en mode Arrêt/Veille est de 15 minutes au maximum.
13.1 Utilisation quotidienne

Branchez la fiche secteur sur la prise de courant.
Ouvrez le robinet d'arrivée d'eau.
Chargez le linge.
- Appuyez sur la touche Ein/Aus - Marche/ Arrêt pour allumer l'appareil. Tournez le sélecteur pour régler le programme de lavage souhaité.
- Sélectionnez les options souhaitées (1) en utilisant les touches correspondantes.
Pour démarrer le programme, appuyez sur la touche Start/Pause - Départ/Pause (2).
- L'appareil démarre.
Appuyez sur le bouton Ein/Aus - Marche/
Arrêt pour éteindre l'appareil.
13.2 Entretien et nettoyage
Le nettoyage périodique permet de prolonger la durée de vie de votre appareil.
À la fin de chaque cycle, afin d'éviter l'apparition de moisissure et d'odeurs, maintenez la porte du tambour entrouverte pour permettre la circulation de l'air et éliminer l'humidité à l'intérieur de l'appareil.
Si l'appareil n'est pas utilisé pendant une durée prolongée : fermez le robinet d'eau et débranchez l'appareil.
| Détartrage Deux fois par an | |
| Lavage d'entretienUne fois par mois | |
| Nettoyer le joint du cou-vergence | Tous les deux mois |
| Nettoyez le tambour Tous les deux mois | |
| Nettoyez le distributeur de détermagent | Tous les deux mois |
| Nettoyez le filtré de la pompe de vidange | Deux fois par an |
Nettoyez le tuyau d'arriéré. Deux fois par an, nettoyez le tuyau d'eau et du filtre de la vanne.
Gardez les pièces en plastique à l'écart, en particulier près de la zone du tiroir à détergent, retirez l'excédent de déversement.
Les paragraphes suivants expliquent comment vous devez nettoyer chaque partie.
Enlèvement des objets étrangers
Assurez-vous que les poches sont vides et que tous les éléments libres sont attachés avant de lancer votre cycle.
Enlevez les objets étrangers (tels que les attaches métalliques, les boutons, les pièces, etc.) pouvant se coucher dans les filtres et le tambour. Si nécessaire, contactez le service après-vente/agréé.
Nettoyage du filtre de la pompe de vidange
Nettoyez régulièrement le filtre, tout particulièrement si le code d'alarme é20 s'affiche.

13.3 Programmes
| Programmes Charge Description du produit | |
| Eco 40-601) | 7 kg Coton blanc et de couleur Vêtements normalement sales. |
| Coton | 7 kg Coton blanc et couleurs. |
| Synthétiques | 3 kg Articles en textiles synthétiques ou mélangés. |
Programmes Charge Description du produit
| Délicats | 2 kg | Articles en textiles délicats tels que l'acrylique, la viscose ou le polyester. |
| Laine/Soié | 1,5 kg | Laine lavable en machine, la laine lavable à la main et textiles délicats. |
| Vapeur | 1 kg | Programme vapeur pour les articles en coton, les textiles synthétiques et délicats. |
| 20 min. - 3 kg | 3 kg | Articles en coton et synthétiques légèrement sales ou portés une seule fois. |
| Outdoor | 2 kg2) | Vêtements de sport d'extérieur modernes. |
| 1 kg3) | ||
| Duvet | 2 kg | Des couvre-lits synthétiques ou en plumes, des vêtements rembourse, des cuettes. |
| Jeans | 3 kg Des articles en jean ou en jersey. | |
Conformément au règlement de la Commission européenne UE 2019/2023, ce programme à 40°C peut nettoyer du linge en coton normalement sale déclaré lavable à 40°C ou 60°C, dans le même cycle.

Pour la température atteinte dans le linge, la durée du programme et d'autres données, veuillez consulter le chapitre « Valeurs de consommation ». Les programmes les plus efficaces en matière de consommation énergétique sont généralement ceux qui fonctionnent à des températures plus basses et pendant une durée plus longue.
2) Programme de lavage.
3) Programme de lavage et phase d'imperméabilisation.
Charger l'appareil à la capacité maximale indiquée pour chaque programme permet
de réduire la consommation d'énergie et d'eau.
Déttergents adaptés aux programmes de lavage
| Programme | Poudre univer-selle1) | Produit lessi-viel liquide universal | Produit lessi-viel liquide pour couleurs | Laine délica-te | Program-mes spé-ciaux |
| Eco 40-60 ▲ ▲ ▲ - - - | |||||
| Coton | ▲ ▲ ▲ - - - | ||||
| Synthétiques | ▲ ▲ ▲ - - - | ||||
| Délicats | - - - - ▲ ▲ | ||||
| Laine/Soie | - - - - ▲ ▲ | ||||
| 20 min. - 3 kg | - ▲ ▲ - - - | ||||
| Outdoor | - - - - ▲ ▲ | ||||
| Duvet | - - - - ▲ ▲ | ||||
| Jeans | - - - - ▲ ▲ |
À une température supérieure à 60°C, l'utilisation de détergent en poudre est recommandée.
-- = non recommandé
13.4 Type et quantité de détergent.
Utilisez uniquement des produits de lavage et autres traitements spécialement conçus pour les lave-linge. Suivez d'abord ces règles générales :
- également des détergents à dose unique), de préférence pour les programmes de lavage à basse température (60 °C max.) pour tous les types de textiles, ou lessives spéciales pour les lainages uniquement.
- Ne mélangez pas différents types de détergents. Utilisez moins de lessive si :
- vous lavez une petite charge,
- le linge est légèrement sale,
- d'importantes quantités de mousse se forment pendant le lavage.
Une quantité insuffisante de déd tangent peut causer :
- résultats de lavage insatisfaisants,
- charge de lavage grise, vêtements graisseux, moisissure dans l'appareil.
Une quantité excessive de dédétangent peut causer :
- abondance de mousse, efficacité de lavage réduite,
- rincage non ajusté,
- un impact accru pour l'environnement.
13.5 Codes d'alarme et défaillances possibles
L'appareil ne démarre pas ou se met à l'arrêt en cours de programme. Dans un premier temps, essayez de trouver une solution au problème (reportez-vous aux tableaux).

Avertissement!
Mettez à l'arrêt l'appareil avant de procéder à la vérification.
Problème Solution possible
| E10 L'appareil ne se remplit pas d'eau correctement. | ·Assurez-vous que l'accidée d'eau est ouverte. ·Assurez-vous que la pression de l'alimentation d'eau est suffisante. Pour cela, contactez les autorités locales en charge de l'eau. ·Assurez-vous que l'accidée d'eau n'est pas bouchée. ·Assurez-vous que le tuyau de raccordement ne présente pas d'enchevêtements, de dommages ni de pris. ·Assurez-vous que le raccordement du tuyau d'accidée d'eau est correct. ·Assurez-vous que le filtré du tuyau d'accidée d'eau et le filtré de la vanne ne sont pas obtrués. |
| E20 La machine ne vidange pas l'eau. | ·Assurez-vous que le siphon n'est pas bouché. ·Assurez-vous que le tuyau de vidange n'est pas tordu ni pié. ·Assurez-vous que le filtré de vidange n'est pas obstrué. Nettoyez le filtré si nécessaire. ·Assurez-vous que le tuyau de vidange est correctement raccordé. ·Sélectionnez le programme de vidange si vous sélectionnez un programme sans phase de vidange. ·Sélectionnez le programme de vidange si vous sélectionnez une option se terminant avec de l'eau dans la cuve. |
| E91 Panne interne. Il n'y a aucune communication entre les composants électroniques de l'appareil. | ·Le programme ne s'est pas terminé correctement ou l'appareil s'est mis à l'ar-ret trop tôt. Mettez à l'arrêt l'appareil et remettez-le en fonctionnement. ·Si le code d'alarme s'affiche à nouveau, contactez le service après-vente agréé. |
| EH0 L'alimentation électrique est instable. | ·Attendez que l'alimentation électrique se stabilise. |
| EFO Le dispositif anti-inondation est activé. | ·Débranchez l'appareil et fermez le robinet d'accidée d'eau. Veuillez contacter le service après-vente agréé. |
| Si le problème persististe, contactez le service après-vente agréé. Les informations nécessaires au service après-vente figurent sur la plaque signalétique. | |
| *Certains codes d'alarme peuvent ne pas se déclencher. Sujet à modification sans préavis. | |
14. CH garantie
service-clientèle
| Points de Service | ||
| Industriestrasse 105506 Mägenwil | Le Trési 61028 Préverenges | Via Violino11 6928 Manno |
Points de service
Morgenstrasse 131 3018 Bern
Langgasse 10 9008 St. Gallen
Am Mattenhof 4a/b 6010 Kriens
Garantie Nous octroyons sur chaque produit 2 ans de garantie à partir de la date de livraison ou de la mise en service au consommateur (documenté au moyen d'une facture, d'un bon de garantie ou d'un)
justificatif d'achat). Notre garantie couvre les frais de main-d'œuvre et de déplacement, ainsi que les pièces de rechange. Les conditions de garantie ne sont pas valables en cas d'intervention d'un tiers non autorisé, de l'emploi de pièces de rechange non originales, d'erreurs de maniement ou d'installation dues à l'inobservation du mode d'emploi, et pour des dommages causés par des influences extérieures ou de force majeure.
15. Considerations environnementales
Recyclez les matériaux portant le symbole. Placez l'emballage dans les conteneurs appropriés pour le recycler. Contribuez à la protection de l'environnement et de la santé humaine en recyclant les déchets des appareils électriques et électroniques. Ne jetez pas les appareils marqués du symbole.
avec les déchets ménagers. Rapportez ce produit à votre centre de recyclage local ou renseignez-vous auprès de votre mairie.

Pour la Suisse : Où aller avec les appareils usagés ? Partout où des appareils neufs sont vendus, mais aussi dans un centre de collecte ou une entreprise de récupération officiels SENS. La liste des centres de collecte officiels SENS est disponible sous www.erecycling.ch

Concerne la France uniquement :



Points de collecte sur www. quefairededesdechets.fr Privilégiez la réparation ou le don de votre appareil !
Notice Facile