VEH120161 - Cuisinière VESTEL - Notice d'utilisation et mode d'emploi gratuit
Retrouvez gratuitement la notice de l'appareil VEH120161 VESTEL au format PDF.
| Caractéristiques techniques | Cuisinière à gaz avec four, 4 foyers, puissance totale 8 kW |
|---|---|
| Dimensions | Largeur : 60 cm, Hauteur : 85 cm, Profondeur : 60 cm |
| Type de cuisson | Gaz |
| Utilisation | Idéale pour la cuisson de plats variés, facile à utiliser avec des commandes manuelles |
| Entretien | Nettoyage facile des grilles et du four, recommandations de nettoyage régulier |
| Sécurité | Système de sécurité avec arrêt automatique du gaz, protection contre les surchauffes |
| Informations générales | Garantie de 2 ans, consommation énergétique conforme aux normes européennes |
FOIRE AUX QUESTIONS - VEH120161 VESTEL
Téléchargez la notice de votre Cuisinière au format PDF gratuitement ! Retrouvez votre notice VEH120161 - VESTEL et reprennez votre appareil électronique en main. Sur cette page sont publiés tous les documents nécessaires à l'utilisation de votre appareil VEH120161 de la marque VESTEL.
MODE D'EMPLOI VEH120161 VESTEL
FR Four encastrable / Notice d'utilisation
Cette notice d'utilisation contient des informations et des consignes de sécurité
importantes concernant l'utilisation et l'entretien de votre appareil.
Lire attentivement cette notice d'utilisation avant d'utiliser votre appareil et la conserver
pour consultation ultérieure.
| Icône | Type Signification | |
| A | AVERTISSEMENT Risque de blesssures graves ou danger de mort | |
| S | RISQUE D'ÉLECTROCUTION Risque d'électrocution | |
| A | INCENDIE Avertissement : | Risque d'accendie / matières inflammables |
| ! | MISE EN GARDE Risque de blesssures ou de dommages matériels | |
| IMPORTANT / REMARQUE Utilisation correcte de l'appareil |
TABLE des matières
1. CONSIGNES DE SECURITE 3 1.1. Avertissements de sécurité generaux 3 1.2. Avertissements relatifs à l'installation 6 1.3. Au cours de l'utilisation 6 1.4. Nettoyage et entretien 8 2. INSTALLATION ET PREPARATION A L'UTILISATION 10 2.1. Instructions destinées à l'installateur 10 2.2. Installation des appareils 10 2.3. Branchement electrique et sécurité 12 3. CARACTERISTIQUES DU PRODUIT 14 4. UTILISATION DE L'APPAREIL 17 4.1. Commandes du four 17 4.2. Accessories 17 5. NETTOYAGE ET ENTRETIEN 19 5.1. Nettoyage 19 6. DEPANNAGE ET TRANSPORT 21 6.1. Dépannage 21 6.2. Transport 21 7. SPECIFICATIONS TECHNIQUES 22 7.1. Fiche énergie 22
1. Consignes de sécurité
- Lire attentivement cette notice d'utilisation dans son intégralité avant d'utiliser votre appareil et la conserver dans un endroit accessible pour consultation ultérieure.
- Ce manuel a été préparé pour plusieurs modèles, votre appareil peut donc ne pas disposer de certaines fonctions décrites dans ce manuel. Pour cette raison, il est important de prêter une attention particulière aux illustrations lors de la lecture de cette notice d'utilisation.
1.1. Aventissements de securite genéraux
- Cet appareil peut être utilisé par des enfants à partir de 8 ans et par des personnes ayant des capacités physiques, sensorielles ou mentales réduites ou un manque d’expérience et de connaissances à condition qu’elles aient été placées sous surveillance ou qu’elles aient reçu des instructions concernant l’utilisation de l’appareil en toute sécurité et qu’elles comprennent les dangers encourus. Les enfants ne doivent pas jouer avec l’appareil. Le nettoyage et l’entretien par l’usager ne doivent pas être effectués par des enfants, sans surveillance.
MISE EN GARDE : Cet appareil et ses parties accessibles deviennent chauds pendant leur utilisation. Il convient de veiller à ne pas toucher les éléments chauffants. Il convient de maintenir à distance les enfants de moins de 8 ans, à moins qu'ils ne soient sous une surveillance continue.
MISE EN GARDE : Laisser cuire des aliments sans surveillance en utilisant des matières grasses ou de l'huile peut être dangereux et déclencher un incendie. NE JAMAIS essayer d'éteindre un incendie
avec de l'eau, mais arrêter l'appareil puis couvrir les flammes par exemple avec un couvercle ou une couverture anti-feu.
MISE EN GARDE: Le processus de cuisson doit être surveillé. Le processus de cuisson à court terme doit être surveillé en permanence. MISE EN GARDE: Risque d'incendie: ne pas entreposer d'objets sur les surfaces de cuisson.
- L'appareil n'est pas destiné à être mis en fonctionnement au moyen d'une minute externe ou d'un système de commande à distance séparé.
- Lors de son utilisation, l'appareil devient chaud. Faire attention à ne pas toucher les éléments chauffants situés à l'intérieur du four.
- Les poignées peuvent être chaudes, même après une courte période d'utilisation.
- Ne pas utiliser de produits d'entretien très abrasifs ou de grattoirs métalliques durs pour nettoyer la porte en verre du four, au risque de rayer la surface et d'entrainer l'éclatement du verre.
- électrique. MISE EN GARDE : Les parties accessibles peuvent devenir chaudes au cours de l'utilisation. Il est recommandé d'éloigner les jeunes enfants.
- Voiture apparueil a eté produit conformément à toutes les normes et réglementations locales et internationales en vigueur.
- Les opérations d'entretien et de réparation doivent être effectuées uniquement par des techniciens de maintenance agréés. L'installation et les travaux
Les opérations de réparation effectuées par un technicien non/agréé peuvent s'avérer dangereux. Ne pas ALTERER ni modifier les caractéristiques de l'appareil. Les dispositifs de protections non adaptés à l'appareil de cuisson peuvent provoquer des accidents.
- Avant l'installation, s'assurer que les conditions de distribution locale (tension et fréquence électrique) et le réglage de l'appareil sont compatibles. Les conditions de réglage de cet appareil sont inscrites sur la plaque signalétique de l'appareil.
ATTENTION: Cet appareil sert uniquement à des fins de cuisson et est destiné uniquement à un usage domestique. Il ne doit pas être utilisé à d'autres fins, par exemple le chauffage du local, ou un usage commercial.
- Ne pas utiliser la poignée de la porte du four pour soulever ou pour déplacer l'appareil.
- Toutes les précautions nécessaires ont été mises en œuvre pour garantir votre sécurité. Comme le verre est susceptible de se briser, le nettoyer avec soin pour éviter de le rayer. Éviter de frapper le verre avec les accessoires de cuisine.
- Vérifiez que le cordon d'alimentation n'est pas endommagé ni coincé au cours de l'installation. Si le câble d'alimentation est endommagé, il doit être remplacé par le fabricant, son service après-vente ou des personnes de qualification相似的中文回答。请注意,我将使用中文来模拟对这段法文技术说明的校对结果: 检查电源线在安装过程中是否没有损坏或卡住。如果电源线已损坏,必须由制造商、其售后服务或具有类似资格的人更换,以避免危险。
- Ne pas laisser les enfants monter sur la porte du four ou s'y asseoir lorsqu'elle est ouverte.
- Veuillez tenir cet appareil hors de la portée des enfants et des animaux domestiques.
- Ne pas utiliser l'appareil avant son installation complète.
- L'appareil doit être installé par un technicien qualifié. Le fabricant ne peut être tenu responsable de tout dommage causé en cas d'installation incorrecte par un technicien non qualifié.
- Un moyen de déconnexion du réseau d'alimentation ayant une distance d'ouverture des contacts de tous les pôles doit être prévu dans la canalisation fixe conformément aux règles d'installation.
- Lors du déballage de l'appareil, vérifier qu'il n'a pas été endommagé au cours du transport. En cas de défaut, ne pas utiliser l'appareil et faire appel immédiatement à un technicien qualifié. Les matériaux utilisés pour l'emballage (Nylon, agrafes, polystyrene, etc.) peuvent être dangereux pour les enfants et doivent être rassemblés et rangés immédiatement.
- Protégerez votre appareil des conditions atmosphériques. Ne pas l'exposer au soleil, à la pluie, à la neige, à la poussière ou à toute humidité excessive.
- Les matériaux autour de l'appareil (meubles) doivent pouvoir supporter une température minimale de 100°C.
- L'appareil ne doit pas être installé derrière une porte décorative, afin d'éviter une surchauffe.
Au COURS de l'utilisation
- Lors de la première utilisation de votre four, il est possible qu'une légère odeur se fasse sentir. Ceci est parfaitement normal. Cette odeur est due aux matériaux d'isolation placés sur les résistances.
Avant d'utiliser votre four pour la première fois, le faire fonctionner à vide sur la température maximale pendant 45 minutes. Vérifier que l'environnement dans lequel le produit est installé est correctement ventilé.
- Rester prudent lors de l'ouverture de la porte du four pendant ou après la cuisson. La vapeur s'échappant du four peut provoquer des brûlures.
- Ne pas placer de matériaux combustibles ou inflammables dans l'appareil ou près de l'appareil lorsqu'il est en fonctionnement.
- MISE EN GARDE : La température des surfaces accessibles peut être élevée lorsque l'appareil est en fonctionnement.
- Toujours utiliser des gants de cuisine isolants pour manipuler les aliments au four ou les sortir du four.
MISE EN GARDE : Laisser cuire des aliments sans surveillance en utilisant des matières grasses ou de l'huile peut être dangereux et déclencher un incendie. NE JAMAIS essayer d'éteindre un incendie avec de l'eau, mais arrêter l'appareil puis couvrir les flammes par exemple avec un couvercle ou une couverture anti-feu.
- ATTENTION: Le processus de cuisson doit être surveillé. Un processus de cuisson court doit être surveillé sans interruption.
- Si l'appareil reste inutilisé pendant une période prolongée, éteindre l'interrupteur principal.
- S'assurer que les manettes de l'appareil restent toujours en position « 0 » (arrêt) lorsque l'appareil n'est pas utilisé.
- La l'échefte s'incline lorsqu'on la sort du four. Attention à ne pas renverser ni à faire tomber d'aliments en la sortant du four.
- Ne rien placer sur la porte du four lorsqu'elle est ouverte. Ceci pourrait déséquilibrer le four ou endommager la porte.
- Ne pas placer d’éléments lourds ou inflammables sur le tiroir, par exemple des objets en nylon, des sacs plastiques, du papier ou du tissu. Ceci comprend les ustensiles en plastique (par exemple la poignée).
- Ne pas suspendre de torchons ou autres tissus sur l'appareil ou sur ses poignées.
1.4. Nettoyage et entretien
- Vérifier que l'alimentation électrique de l'appareil est bien coupée avant d'effectuer toute opération de nettoyage ou d'entretien.
- Ne pas retirer les manettes pour nettoyer le bandeau de commandes.
- Pour assurer l'efficacité et la sécurité de votre appareil, utiliser uniquement des pièces détachées d'origine et faire appel à nos techniciens qualifiés en cas de besoin.
Déclaration ce de conformité
CE Nous déclarons que nos produits satisfont aux exigences des directives, des décisions et des réglementations européennes en vigueur.
Cet appareil a été conçu pour un usage exclusivement domestique. Toute autre utilisation (par exemple pour chauffer une pièce) est inadaptée ou dangereuse.
- Cette notice d'utilisation s'applique à plusieurs modèles. Il est possible qu'il existe certaines différences entre ces instructions et votre modèle.
Mise au rebut de votre machine

Ce symbole sur le produit ou sur son emballage indique qu’il ne doit pas être traité comme un simple déchet ménager. Il doit être déposé dans un point de collecte adapté pour que les équipements électriques et
électroniques soient recyclés. Lorsque ce produit est correctement mis au rebut, vous contribuez à protégér l'environnement et la santé, ce qui pourrait ne pas être le cas en cas de mise au rebut inadaptée. Pour plus d'informations sur le recyclage de ce produit, contactez les autorités locales, votre service de collecte de déchets ou le revendeur auprès duquel vous avez acheté ce produit.
2. Installation et preparation à l'utilisation
AVERTISSEMENT: Cet appareil doit être installé par un professionnel agréé ou par un technicien qualifié, conformément aux instructions de cette notice et conformément aux normes d'installation en vigueur.
- Toute installation incorporete invalide la garantie et peut entraîner des dommages ou des blessures pour lesquelles le fabricant ne peut être tenu responsable.
- Avant l'installation, s'assurer que les conditions locales de la distribution (tension et fréquence de l'électricité) et les réglages de l'appareil sont compatibles. Les conditions de réglage de cet appareil figurent sur l'étiquette.
- Les lois, réglementations, décrets et normes en vigueur dans le pays d'installation doivent être appliquées (règles de sécurité, recyclage conformément à la réglementation, etc.).
Instructions générales
- Après avoir retiré le matériel d'emballage de l'appareil et de ses accessoires, vérifier que l'appareil n'est pas endommagé. Si l'appareil est peut-être endommagé, ne pas l'utiliser et contacter immédiatement un professionnel agréé ou un technicien qualifié.
- Vérifier qu'aucun élément ou matériel combustible ou inflammable, par exemple un rideau, de l'huile, un tissu, etc., ne se trouve à proximité immédiate.
- Le plan de travail et les meubles autour de l'appareil doivent pouvoir supporter une température supérieure à 100°C.
- Si une hotte ou un placard doit être installé au-dessus de l'appareil, la distance de sécurité entre le plan de cuisson et le placard ou la hotte doit correspondre à celle représentée sur la figure ci-dessous.

Cet appareil ne doit pas être installé directement au-dessus d'un lave-vaisselle, d'un réfrigérateur, d'un congélateur, d'un lave-linge ou d'un sèche-linge.
2.2. Installation des apparels
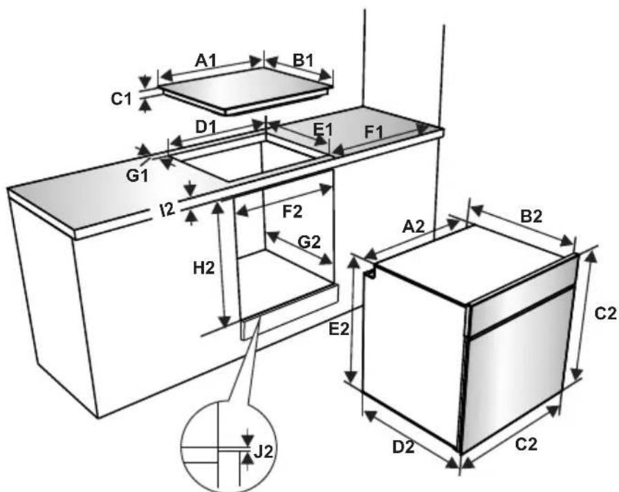
Les appareils sont fournis avec des kits d'installation et peuvent être installés sur un plan de travail de dimensions adaptées. Les dimensions d'installation de la table de cuisson et du four sont indiquées ci-dessous.
Dimensions d'installation de la table de cuisson
| A1 (mm) 5 | 80 E1 (mm) | 490 | |
| B1 (mm) 5 | 10 min. F1 | (mm) 50 | |
| C1 (mm) 4 | 0 min. G1 | (mm) 50 | |
| D1 (mm) 5 | 60 | ||
Dimensions d'installation des plaques vitrocéramique
| A1 (mm) 5 | 90 E1 (mm) | 490 | |
| B1 (mm) 5 | 20 min. F1 | (mm) 50 | |
| C1 (mm) 4 | 1 min. G1 | (mm) 50 | |
| D1 (mm) 5 | 60 | ||
Dimensions d'installation du four
| A2 (mm) | 57 E2 (mm) | 574 | |
| B2 (mm) | 50 min. | F2 (mm) | 560-580 |
| C2 (mm) | 595 | min. | G2 /J2 (mm) |
| D2 (mm) | 575 H2 (mm) | 600 | |
| I2(mm) | 25 | ||

Installation de la table de cuisson
- Placer la table de cuisson dans la démarche. Marquer l'emplacement de la table de cuisson sur le plan de cuisson.

- Retirer la table de cuisson. Placer le joint sur la ligne tracée. Vérifier que la ligne se trouve bien au centre du joint. Vérifier que les jonctions se chevauchent dans les angles et qu'il ne reste pas d'espace le long du joint.

- Insérer l'appareil dans l'ouverture et le fixer en position finale à l'aide des supports (A) et des vis (B). Ajuster la
position des supports en fonction de l'épaisseur du plan de travail et serrer les vis de façon homogène. Découper et éliminer toute la partie superflue (C) autour de l'appareil.


Installation de la plaque vitrocéramique
- Appliquer la bande d'étanchéité adhésive tout le long du bord inférieur du plan de cuisson. Ne pas l'étirer.

- Visser les 4 fixations pour plan de travail sur les parois latérales de l'appareil.
- Insérer l'appareil dans l'ouverture.
Installation du four
- Une fois les branchements électriques effectués, insérer le four dans son emplacement en le poussant vers l'avant. Ouvrir la porte du four et insérer 2 vis dans les trous du châssis du four. Lorsque le châssis du produit touche la surface du bois du meuble, serrer les vis.

Si le four est installé sous une plaque de cuisson :
- L'épaisseur du plan de travail ainsi que les distances entre la plaque de cuisson et le four doivent correspondre à celles indiquées sur les figures pour une bonne circulation de l'air.

AVERTISSEMENT: Le branchement électrique de cet appareil doit être effectué par un professionnel agréé ou par un électricien qualifié, conformément aux instructions de cette notice et conformément aux normes d'installation en vigueur.
Avertissement: l'appareil DOIT etre branché à la TERRE.
- Avant le branchement sur le secteur, vérifier si la tension nominale de l'appareil (marquée sur la plaque signalétique de l'appareil) correspond à la tension de l'alimentation électrique. Le câble d'alimentation électrique doit lui aussi être capable de supporter la puissance nominale de l'appareil (également mentionnée sur la plaque signalétique de l'appareil).
- Lors de l'installation, s'assurer de bien utiliser des câbles correctement isolés. Tout branchement incorrect risque d'endommager votre appareil. Si le câble d'alimentation électrique est endommagé et doit être remplacé, faire appel à une personne qualifiée pour effectuer cette opération.
- Ne pas utiliser d'adaptateur, de multiprise, ni de rallonge électrique.
- Le cordon d'alimentation doit être
tenu éloigné des parties chaudes de l'appareil et ne doit pas être plié ni écrabouillé. À défaut, le cordon risque d'être endommagé et de provoquer un court-circuit.
- Si l'appareil n'est pas branché sur le secteur par une prise, installer un sectionneur multipolaire (avec un espacement des contacts d'au minimum 3 mm), conformément aux réglementations en matière de sécurité.
- Cet appareil est conçu pour utiliser une alimentation 220-240 V ~ et 380-415 V 3 N~. Si votre alimentation est différente, contacter un professionnel agréé ou un Electricien qualifié.
- Le câble d'alimentation (H05VV-F) doit être assez long pour pouvoir être branché sur l'appareil, même si l'appareil se trouve devant le meuble.
- Vérifier que tous les branchements sont bien serrés. Fixer le câble d'alimentation sur le bornier, puis refermer le couvercle.
- Le branchement du boîtier de jonction est placé sur le boîtier de jonction.

- Installez le câble de mise à la terre jaune-vert comme indiqué dans l'image à l'aide de la vis et de la rondelle qui se trouvent dans le port-document. Appliquez cette procédure lors de l'installation du four.
| a | Écrou c Rondelle | ||
| b | Câble de mise à la terre | d | Vis |

Important : Les caractéristiques du produit varient et l'apparence de votre appareil peut être différente de celle représentée sur les figures ci-dessous.
Liste des composants

- Bandeau de commande
- Poignée de la porte du four
- Portedou four
Bandeau de commande

- Manette de fonction
- Manette thermostat du four
- Manette de la table de cuisson
Brûleurs vitrocéraMIques
VEK23016 - GK 60.1

1 Brûleur vitrocéramique 2 Surface vitrocéramique
Électrique plaque
VEK21016

1 Plaque chauffante électrique 2 Hob Surface
4.1. Commandes de la TABLE de cuisson foyer radiant
Le foyer radiant est contrôlé par un bouton à 6 positions.
Le foyer radiant est contrôlé par la manette correspondante, qui doit être placée sur le réglage souhaité. Près de chaque manette se trouve un symbole qui indique quelle résistance est contrôlée par cette manette. Le voyant marche/arrêt du bandeau de commandes indique si l'un des foyers radiants est en cours d'utilisation.

| Position du bouton | Fonction |
| 0 Position Off | |
| 1 Position Maintien au chaud | |
| 2-3 Position chaleur basse | |
| 4-5-6 Position cuire, saisir et faire bouillir |

Important: La direction de la rotation du bouton varie en fonction des caractéristiques du produit.
Manette de fonction
Faire tourner le bouton sur le symbole correspondant à la fonction souhaitée. Pour les détails des différentes fonctions, se reporter à « Fonctions du four »
Manette thermostat du four
Une fois la fonction de cuisson sélectionnée, faire tourner ce bouton pour régler la température. Le voyant du thermostat du four s'allume dès que le thermostat fonctionne pour chauffer le four ou le maintenir à température.
Fonctions du four
- Les fonctions du four peuvent différer suivant le modèle de votre produit.

Fonction
Décongélation: Les voyants d'accélération du four et le ventilateur se mettent à tourner. Pour utiliser la fonction
Décongélation, placez vos aliments congelés dans le four, sur une plaque/grille placée sur le troisième niveau en partant du bas. Il est recommandé de placer une léchefrite sous les aliments en cours de décongélation afin de récupérer l'eau provenant de la glace fondue. Cette fonction ne cuit pas vos aliments, mais accélère simplement leur décongélation.

Fonction Convection naturelle : Le voyant du thermostat et la lampe témoins du four s'allument, et les résistances inférieure et supérieure commencent à
chauffer. La fonction Chaleur statique émet une chaleur qui garantit une cuisson homogène des aliments. Elle est idéale pour les pâtisseries, les cakes, les gratins de pâtes, les lasagnes et les pizzas. Il est recommandé de préchauffer le four pendant 10 minutes et de n'utiliser qu'un seul niveau à la fois dans ce mode.

Fonction ventilation :
Le voyant du thermostat et les moyens d'ajustement du four s'allument, les résistances supérieure
et inférieure commence à chauffer et le ventilateur se met à tourner. Cette fonction convient à la cuisson de pâtisseries. La cuisson s'effectue grâce aux résistances inférieure et supérieure du four et au ventilateur brassant l'air, ce qui donne un aspect légèrement « grillé » aux aliments. Il est recommandé de préchauffer le four pendant environ 10 minutes.

Fonction Gril: Le voyant du thermostat et la lampe témoin du four s'allument, et la résistance du gril commence à chauffer. Cette fonction sert à
griller et à toaster les aliments placés sur les niveaux supérieurs du four. Huilez légèrement la grille métallique à l'aide d'un pinceau pour empêcher les aliments d'accrocher, puis placez les aliments au centre de la grille. Placez toujours une lèchefrite sous la grille pour recueillir l'huile ou les graisses. Il est recommandé de préchauffer le four pendant environ 10 minutes.

Avertissement : Pendant la cuisson au grill, la porte du four doit être fermée et la température du four doit être réglée sur 190°C

Fonction Gril ventilé : Le voyant du thermostat et les voyants d'avertissement du four s'allument, la résistance du grill commence à chauffer
et le ventilateur se met à tourner. Cette fonction convient particulièrement à la cuisson au grill d'aliments secs. Utiliser le niveau supérieur, huiler légèrement la grille à l'aide d'un pinceau pour empêcher les aliments d'accrocher, puis placer les aliments au centre de la grille. Placez toujours une lèchefrite sous la grille pour recueillir l'huile ou les graisses.

Avertissement : Pendant la cuisson au gril, la porte du four doit être
fermée et la température du four doit être réglée sur 190°C.
Lèchefrite peu profonde
La lèchefrite peu profonde convient particulièrement à la cuisson de pâtisseries.
Placer la lèchefrite à n'importe quelle hauteur et veiller à la placer correctement en la poussant jusqu'au fond.

Grille
La grille convient particulièrement aux grillades ou aux aliments placés dans des récipients allant au four.


Avertissement
Placez correctement la grille dans la cavité du four et poussez-la jusqu'au bout.

Collecteur d'eau
Lors de certaines cuissons, de la condensation peut apparaître sur la vitre intérieure de la porte du four. Cela est normal.
Ouvrir la porte du four en position de cuisson au grill et la laisser ainsi pendant 20 secondes.
L'eau s'écoule alors dans le collecteur.
Laisser refroidir le four et essuyer l'intérieur de la porte avec un chiffon sec. Répéter cette opération régulièrement.

5.1. Nettoyage

AVERTISSEMENT: Arrêter l'appareil et le laisser refroidir avant de le nettoyer.
Instructions générales
- Vérifier si les agents de nettoyage sont adaptés et recommandés par leur fabricant avant de les utiliser sur votre appareil. Utiliser une crème nettoyante ou un liquide nettoyant qui ne contient pas de particules. Ne pas utiliser de crèmes caustiques (corrosives), de poudres de nettoyage abrasives, de laine métallique ou d'ustensiles trop durs, car ils risquent d'endommager les surfaces de la cuisine.

Ne pas utiliser de produits nettoyants contenant des particules, car ils risquent de rayer le verre et les parties liées et peintes de votre appareil.
Nettoyer immédiatement tout débordement de liquide afin d’éviter que les différentes pièces soient endommagées.

Ne pas utiliser de nettoyeur à la vapeur pour nettoyer les différentes parties de l'appareil.
Nettoyage de l'intérieur du four
- Le meilleur moment pour nettoyer les surfaces émaillées à l'intérieur du four est quand le four est encore un peu chaud.
- Après chaque utilisation, essuyer le four à l'aide d'un chiffon doux trempé dans de l'eau. Essuyer ensuite à nouveau le four à l'aide d'un chiffon humide, puis le sécher.
- Il est possible qu’il soit nécessaire d’utiliser occasionnellement un agent de nettoyage liquide pour nettoyer totalement le four.

Nettoyage de la résistance du foyer électrique
- Nettoyer régulièrement la résistance du foyer électrique.
- Essuyer le foyer électrique à l'aide d'un chiffon doux trempé dans de l'eau. Faire ensuite fonctionner le foyer électrique pendant quelques instants afin qu'il soit totalement sec.
Nettoyage de la surface vitrocéramique
La surface vitrocéramique peut supporter des objets lourds, mais elle peut se briser si un objet tranchant la frappe.

AVERTISSEMENT: Plans de cuisson
exemples : si la surface est fendue, pour éviter tout risque d'électrocution,
s'assurer que l'appareil est bien éteint et appeler l'assistance.
Utiliser une crème ou un nettoyant liquide pour nettoyer la surface vitrocéramique. Rincer ensuite le verre, puis le sécher à l'aide d'un chiffon sec.

Ne pas utiliser d'agents de nettoyage conçus pour le métal, car ils peuvent endommager le verre.
- Si des substances à bas point de fusion sont utilisées dans le fond ou le revêtement de l'ustensile de cuisson, elles peuvent endommager la table de cuisson vitrocéramique. Si du plastique, du papier aluminium, du sucre ou des aliment s très sucrés comme de la confiture, si possible, appliquez au préalable une couche d'agent de protection approprié.
- La poussière sur les différentes surfaces peut être éliminée à l'aide d'un chiffon humide.
- Les changements de couleur de la surface vitrocéramique n’affectent pas sa structure ni sa durée de vie et ne sont pas dus à une modification du matériel.
La couleur des surfaces vitrocéramiques peut changer pour différentes raisons :
- Les projections de nourriture n'ont pas été nettoyées.
- Toute utilisation d'ustensiles non adaptés peut user la table de cuisson.
- Les agents de nettoyage utilisés ne sont pas adaptés.
Nettoyage des parties en verre
- Nettoyer régulièrement les parties en verre de votre appareil. Utiliser un produit de nettoyage pour vitres pour nettoyer l'intérieur et l'extérieur des parties vitrées. Les rincer, puis les sécher à l'aide d'un chiffon sec.
Nettoyage des parties émaillées
Nettoyer régulièrement les parties émaillées de votre appareil. - Essuyer les parties émaillées à l'aide d'un chiffon trempé dans de l'eau savonneuse. Les essuyer ensuite à nouveau à l'aide d'un chiffon humide, puis les sécher.

Ne pas nettoyer les parties émaillées lorsqu'elles sont encore chaudes après la cuisson.

Ne pas laisser trop longtemps de vinaigre, de café, de lait, de sel, d'eau, de jus de citron ou de jus de tomate sur les surfaces émaillées.
Nettoyage des parties en acier inoxydable (si applicable)
- Nettoyer régulièrement les parties en acier inoxydable de votre appareil.
- Essuyer les parties en acier inoxydable à l'aide d'un chiffon trempé dans de l'eau pure. Rincer, puis sécher à l'aide d'un chiffon sec.

Ne pas nettoyer les parties en acier inoxydable lorsqu'elles sont encore chaudes après la cuisson.

Ne pas laisser trop longtemps de vinaigre, de café, de lait, de sel, d'eau, de jus de citron ou de jus de tomate
sur les surfaces en acier inoxydable.
Démontage de la porte du four
Avant de nettoyer la vitre de la porte du four, il est nécessaire de démonter la porte du four, comme illustré ci-dessous.
- Ouvrir la porte du four.

- Ouvrir entièrement l'étrier (a) (à l'aide d'un tournevis).

- Fermer la porte jusqu'à ce qu'elle soit presque en position fermée, puis retirer la porte en la tirant vers soi.

Si le problème persiste sur votre appareil après avoir suivi ces étapes de dépannage de base, contacter un professionnel agréé ou un technicien qualifié.
| Problème Cause possible Solution | ||
| La table de cuisson ou les zones de cuisson ne peuvent pas être allumées. | Il n'y a pas d'alimentation électrique. | Vérifier le fusible se rapportant à l'appareil dans le boîtier de fusibles.Vérifier que l'alimentation électrique n'est pas coupée en essayant d'allumer d'autres appar兼ils électroniques. |
| Le four ne s'allume pas. | L'alimentation électrique est coupée. | Vérifier que l'alimentation électrique est branchée. Vérifier également que les autres appar兼ils de la cuisine fonctionnent. |
| Aucune chaleur n'est produit ou le four ne préchauffe pas. | Le réglage de la tempé ration du four est incorrect.La portedu four est laissée ouverte. | Vérifier que la manette de tempé ration du four est correctement réglée. |
| La cuisson est inégale dans le four. | Les plaques/grilles sont mal positionnées. | Vérifier le respect des tempé ratures et des niveaux recommends.Nepas ouvrir fréquèment la porte sauf si le plat doit être returné. Une ouverture trop fréquence de la portefait chuter la tempé ration dans le four, ce qui peut avoir un impact sur le résultat de la cuisson. |
| L'éclairage du four (siprésent) ne fonctionne pas. | L'ampoule ne fonctionne pas.L'alimentation électrique est coupée ou débranchée. | Remplacer l'ampoule conformément aux instructions.Vérifier que l'alimentation électrique est connectée à la prise secteur. |
| Le ventilateur du four (siprésent) est bruyant. | Les plaques/grilles du four vibrent. | Vérifier que le four est à niveau.Vérifier qu'aucune plaque/grille et qu'aucun plat à four ne vibre ou ne touche le panneau arrêtédu four. |
6.2. Transport
S'il est nécessaire de transporter le produit, le placer dans son emballage d'origine et son carton d'origine. Respecter les indications de transport sur l'emballage. À l'aide de ruban adhésif, fixer les éléments mobiles au produit afin d'éviter tout dommage pendant le transport.
En l'absence de l'emballage d'origine, préparer un carton permettant de protéger l'appareil (notamment au niveau des surfaces externes) des risques extérieurs.
7.1. FICHE énergie
| Marque | VESTEL | |
| Modèle VEH12016-1 | ||
| Type de four ÉLECTRIQUE | ||
| Masse de l'appareil kg 30,0 | ||
| Indice d'efficacité énergétique - conventionnel 104,5 | ||
| Indice d'efficacité énergétique - ventilation forcée 94,8 | ||
| Classe énergétique A | ||
| Consommation énergétique (électricité) - conventionnelle kWh/cycle 0,86 | ||
| Consommation énergétique (électricité) - ventilation forcée kWh/cycle 0,78 | ||
| Nombre de cavités 1 | ||
| Source de chaleur ÉLECTRIQUE | ||
| Volume I 65 | ||
| Ce four est conforme à la norme EN 60350-1 | ||
| Conseils en matière d'économie d'énergie | ||
| Four - Cuisine les repas simultanément, si possible. | ||
| - Réduisez le temps de préchauffage. | ||
| - Ne prolongez pas le temps de cuisson. | ||
| - N'oubliez pas d'éteindre le four à la fin de la cuisson. | ||
| - N'ouvre pas la porte du four pendant la cuisson. | ||
Notice Facile