VEH120161 - Cooker VESTEL - Free user manual and instructions
Find the device manual for free VEH120161 VESTEL in PDF.
Download the instructions for your Cooker in PDF format for free! Find your manual VEH120161 - VESTEL and take your electronic device back in hand. On this page are published all the documents necessary for the use of your device. VEH120161 by VESTEL.
USER MANUAL VEH120161 VESTEL
3. CARACTERISTIQUES DU PRODUIT

Thank you for choosing this product.
This User Manual contains important safety information and instructions on the operation and maintenance of your appliance.
Please take the time to read this User Manual before using your appliance and keep this book for future reference.
| Icon Type Meaning | |
| ▲ | WARNING Serious injury or death risk |
| ▲ | RISK OF ELECTRIC SHOCK Dangerous voltage risk |
| ▲ | FIRE Warning; Risk of fire / flammable materials |
| ▲ | CAUTION Injury or property damage risk |
| ● | IMPORTANT / NOTE Operating the system correctly |
CONTENTS
1.SAFETYINSTRUCTIONS 3
1.1 General SafetyWarnings 3
1.2 InstallationWarnings 5
1.3 During Use 6
1.4 During Cleaning and Maintenance 7
2. INSTALLATION AND PREPARATION FOR USE 9
2.1 Instructions for the Installer 9
2.2 Installation of the appliances 9
2.3 Electrical Connection and Safety 11
3.PRODUCT FEATURES. 13
4. USE OF PRODUCT 15
4.1 Hob controls 15
4.2 Oven Controls 15
4.3 Accessories 16
5.CLEANING AND MAINTENANCE 17
5.1 Cleaning 17
6.TROUBLESHOOTING&TRANSPORT 19
6.1 Troubleshooting 19
6.2 Transport 19
7. TECHNICAL SPECIFICATIONS 20
7.1 Energy Fiche 20
1. SAFETY INSTRUCTIONS
- Carefully read all instructions before using your appliance and keep them in a convenient place for reference when necessary.
- This manual has been prepared for more than one model therefore your appliance may not have some of the features described within. For this reason, it is important to pay particular attention to any figures whilst reading the operating manual.
1.1 GENERAL SAFETY WARNINGS
- This appliance can be used by children aged from 8 years and above and by persons with reduced physical, sensory or mental capabilities or lack of experience and knowledge if they have been given supervision or instruction concerning use of the appliance in a safe way and understand the hazards involved. Children should not play with the appliance. Cleaning and user maintenance should not be made by children without supervision.
WARNING: The appliance and its accessible parts become hot during use. Care should be taken to avoid touching heating elements. Keep children less than 8 years of age away unless they are continually supervised.
WARNING: Unattended cooking on a hob with fat or oil can be dangerous and may result in fire. NEVER try to extinguish such a fire with water, but switch off the appliance and cover the flame with a lid or a fire blanket.
CAUTION: The cooking process has to be supervised. A short term cooking process has to be supervised continuously
WARNING: Danger of fire: Do not store items on the cooking surfaces.
WARNING: If the surface is cracked, switch off the appliance to avoid the possibility of electric shock.
- For models which incorporate a hob lid, clean any spillages off the lid before use and allow the cooker to cool before closing the lid.
- Do not operate the appliance with an external timer or separate remote-control system.
- During use the appliance will get hot. Care should be taken to avoid touching heating elements inside the oven.
- Handles may get hot after a short period during use.
- Do not use harsh abrasive cleaners or scourers to clean oven surfaces. They can scratch the surface which may result in shattering of the door glass or damage to the surfaces.
- Do not use steam cleaners for cleaning the appliance.
WARNING: To avoid the possibility of electric shocks, make sure that the appliance is switched off before replacing the lamp.
CAUTION: Accessible parts may be hot when cooking or grilling. Keep young children away from the appliance when it is in use. - Your appliance is produced in accordance with all applicable local and international standards and regulations.
- Maintenance and repair work should only be carried out by authorised service technicians. Installation and repair work that is carried out by unauthorised technicians may be dangerous. Do not alter or
modify the specifications of the appliance in any way. Inappropriate hob guards can cause accidents.
- Before connecting your appliance, make sure that the local distribution conditions (nature of the gas and gas pressure or electricity voltage and frequency) and the specifications of the appliance are compatible. The specifications for this appliance are stated on the label.
CAUTION: This appliance is designed only for cooking food and is intended for indoor domestic household use only. It should not be used for any other purpose or in any other application, such as for non-domestic use, in a commercial environment or for heating a room.
- Do not use the oven door handles to lift or move the appliance.
- All possible measures have been taken to ensure your safety. Since the glass may break, care should be taken while cleaning to avoid scratching. Avoid hitting or knocking the glass with accessories.
- Make sure that the supply cord is not trapped or damaged during installation. If the supply cord is damaged, it must be replaced by the manufacturer, its service agent or similarly qualified persons in order to prevent a hazard.
- Do not let children climb on the oven door or sit on it while it is open.
- Please keep children and animals away from this appliance.
1.2 INSTALLATION WARNINGS
- Do not operate the appliance before it is fully installed.
- The appliance must be installed by an authorised
technician. The manufacturer is not responsible for any damage that might be caused by defective placement and installation by unauthorised people.
- When the appliance is unpacked, make sure that it is not been damaged during transportation. In the case of a defect do not use the appliance and contact a qualified service agent immediately. The materials used for packaging (nylon, staplers, Styrofoam, etc.) may be harmful to children and they should be collected and removed immediately.
- Protect your appliance against atmospheric effects. Do not expose it to effects such as sun, rain, snow, dust or excessive humidity.
- Materials around the appliance (i.e. cabinets) must be able to withstand a minimum temperature of 100^ .
- The appliance must not be installed behind a decorative door, in order to avoid overheating.
1.3 DURING USE
- When you first use your oven, you may notice a slight smell. This is perfectly normal and is caused by the insulation materials on the heater elements. We suggest that, before using your oven for the first time, you leave it empty and set it at maximum temperature for 45 minutes. Make sure that the environment in which the product is installed is well ventilated.
- Take care when opening the oven door during or after cooking. The hot steam from the oven may cause burns.
- Do not put flammable or combustible materials in or near the appliance when it is operating.
- Always use oven gloves to remove and replace food
in the oven.
Do not leave the cooker unattended while cooking with solid or liquid oils. They may catch fire under extreme heating conditions. Never pour water on to flames that are caused by oil, instead switch the cooker off and cover the pan with its lid or a fire blanket.
- Always position pans over the centre of the cooking zone, and turn the handles to a safe position so they cannot be knocked or grabbed.
- If the product will not be used for a long period of time, turn the main control switch off. Turn the gas valve off when a gas appliance is not in use.
- Make sure the appliance control knobs are always in the "0" (stop) position when the appliance is not in use.
- The trays incline when pulled out. Take care not to spill or drop hot food while removing it from the oven.
- Do not place anything on the oven door when it is open. This could unbalance the oven or damage the door.
- Do not place heavy or flammable items (e.g. nylon, plastic bag, paper, cloth, etc.) into the drawer. This includes cookware with plastic accessories (e.g. handles).
- Do not hang towels, dishcloths or clothes from the appliance or its handles.
1.4 DURING CLEANING AND MAINTENANCE
- Make sure that your appliance is turned off at the mains before carrying out any cleaning or maintenance.
- Do not remove the control knobs to clean the control
panel.
- To maintain the efficiency and safety of your appliance, we recommend you always use original spare parts and to call our authorised service agents in case of need.
CE Declaration of conformity
We declare that our products meet the applicable European Directives, Decisions and Regulations and the requirements listed in the standards referenced.
This appliance has been designed to be used only for home cooking. Any other use (such as heating a room) is improper and dangerous.
The operating instructions apply to several models. You may notice differences between these instructions and your model.
Disposal of your old machine

This symbol on the product or on its packaging indicates that this product should not be treated as household waste. Instead it should be handed over to the applicable collection point for the recycling of electrical and
electronic equipment. By ensuring this product is disposed of correctly, you will help prevent potential negative consequences for the environment and human health, which could otherwise be caused by inappropriate waste handling of this product. For more detailed information about recycling of this product, please contact your local city office, your household waste disposal service or the retailer who you purchased this product from.
2. INSTALLATION AND PREPARATION FOR USE
WARNING : This appliance must be installed by an authorised service person or qualified technician, according to the instructions in this guide and in compliance with the current local regulations.
- Incorrect installation may cause harm and damage, for which the manufacturer accepts no responsibility and the warranty will not be valid.
- Prior to installation, ensure that the local distribution conditions (electricity voltage and frequency) and the adjustments of the appliance are compatible. The adjustment conditions for this appliance are stated on the label.
- The laws, ordinances, directives and standards in force in the country of use are to be followed (safety regulations, proper recycling in accordance with the regulations, etc.).
2.1 INSTRUCTIONS FOR THE INSTALLER General instructions
- After removing the packaging material from the appliance and its accessories, ensure that the appliance is not damaged. If you suspect any damage, do not use it and contact an authorised service person or qualified technician immediately.
- Make sure that there are no flammable or combustible materials in the close vicinity, such as curtains, oil, cloth etc. which may catch fire.
- The worktop and furniture surrounding the appliance must be made of materials resistant to temperatures above 100^ .
- If a cooker hood or cupboard is to be installed above the appliance, the safety distance between cooktop and any cupboard/cooker hood should be as shown below.

The appliance should not be installed directly above a dishwasher, fridge, freezer, washing machine or clothes dryer.
2.2 INSTALLATION OF THE APPLIANCES
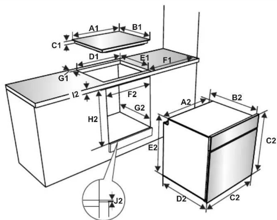
The appliances are supplied with installation kits and can be installed in a worktop with the appropriate dimensions. The dimensions for hob and oven installation are given below.
Installation dimensions for hotplate hob
| A1 (mm) 5 | 80 E1 (mm) | 490 | |
| B1 (mm) 5 | 10 min. F1 | (mm) 50 | |
| C1 (mm) 4 | 0 min. G1 | (mm) 50 | |
| D1 (mm) 5 | 60 | ||
Installation dimensions for vitroceramic hob
| A1 (mm) 5 | 90 E1 (mm) | 490 | |
| B1 (mm) 5 | 20 min. F1 | (mm) 50 | |
| C1 (mm) 4 | 1 min. G1 | (mm) 50 | |
| D1 (mm) 5 | 60 | ||
Installation dimensions for oven
| A2 (mm) | 557 E2 (mm) | 574 | |
| B2 (mm) | 50 min. | F2 (mm) | 560-580 |
| C2 (mm) | 595 | min. G2 /J2 (mm) | |
| D2 (mm) | 575 H2 (mm) | 600 | |
| I2(mm) | 25 | ||

Installation of the Hotplate Hob
- Place the hob in the cut out. Mark the location of the hob on the cooktop.
screws evenly. Carefully trim away any excess sealing material (C) from around the appliance.

- Remove the hob. Place the gasket on the line you marked. Make sure that the line centres the gasket. Ensure that the junctions overlap at the corners and no gap is left along the sealing material.





Installation of the Vitroceramic Hob
-
Apply the supplied one-sided self-adhesive sealing tape all the way around the lower edge of the cooktop. Do not stretch it.
-
Insert the appliance into the aperture and fix in position using the brackets (A) and screws (B). Adjust the position of the brackets depending on the thickness of the worktop and tighten the

- Screw the 4 worktop mounting brackets on to the side walls of the appliance.
- Insert the appliance into the aperture.
Installation of the oven
After making the electrical connections, insert the oven into the cabinet by pushing it forward. Open the oven door and insert 2 screws in the holes located on the oven frame. While the product frame touches the wooden surface of the cabinet, tighten the screws.

If the oven is installed under a hob:
- The thickness of the worktop, the distances between the hob and the oven must be as shown in the figures for air circulation.

WARNING: The electrical connection of this appliance should be carried out by an authorised service person or qualified electrician, according to the instructions in this guide and in compliance with the current local regulations.
WARNING: THE APPLIANCE MUST BE EARTHED.
- Before connecting the appliance to the power supply, the voltage rating of the appliance (stamped on the appliance identification plate) must be checked for correspondence to the available mains supply voltage, and the mains electric wiring should be capable of handling the appliance's power rating (also indicated on the identification plate).
- During installation, please ensure that isolated cables are used. An incorrect connection could damage your appliance. If the mains cable is damaged and needs to be replaced this should be done by a qualified person.
- Do not use adaptors, multiple sockets and/or extension leads.
- The supply cord should be kept away from hot parts of the appliance and must not be bent or compressed. Otherwise the cord may be damaged, causing a short circuit.
- If the appliance is not connected to the mains with a plug, a all-pole disconnector switch (with at least 3mm contact spacing) must be used in order to meet the safety regulations.
- The appliance is designed for a power supply of 220-240V ~ and 380-415V 3N~. If your supply is different, contact the authorised service person or a qualified electrician.
- The power cable (H05VV-F) must be long enough to be connected to the appliance, even if the appliance stands on the front of its cabinet.
-
Ensure all connections are adequately tightened.
Fix the supply cable in the cable clamp and then close the cover. -
The terminal box connection is placed on the terminal box.

- Installation of the yellow-green grounding cable should be done as shown in the picture using the screw and washer located in the document bag. This procedure should be applied when the oven is installed.
| a | Nut c Washer | ||
| b | Grounding cable d Screw |

3.PRODUCT FEATURES

Important: Specifications for the product vary and the appearance of your appliance may differ from that shown in the figures below.
List of Components

- Control Panel
- Oven Door Handle
- Oven Door
Control Panel

- Oven Function Control Knob
- Oven Thermostat Knob
- Hob Control Knob
Vitroceramic hob
VEK23016 - GK 60.1

1 Vitroceramic Heater
2 Vitroceramic glass surface
Hotplate hob
VEK21016

1 Electrical hotplate
2 Hob Surface
4. USE OF PRODUCT
4.1 HOB CONTROLS
Ceramic Heater
The ceramic heater is controlled by a 6 position knob.
The ceramic heater is operated by turning the control knob to the required setting. Near each control knob is a symbol which indicates the heater that is controlled by that knob. The on/off light on the control panel will show if any of the ceramic heaters are in use.

| Knob Position Function |
| 0 Off position |
| 1 Keep warm position |
| 2-3 Heating position at low heat |
| 4-5-6 Cooking, roasting and boiling position |

Important: The knob rotation direction may differ according to the product specification.
4.2 OVEN CONTROLS
Oven function control knob
Turn the knob to the corresponding symbol of the desired cooking function. For the details of different functions see 'Oven Functions'.
Oven thermostat knob
After selecting a cooking function, turn this knob to set the desired temperature. The oven thermostat light will illuminate whenever the thermostat is in operation
to heat up the oven or maintain the temperature.Oven Functions
- The functions of your oven may be different due to the model of your product.

Defrost Function: The oven's warning lights will switch on and the fan will start to operate. To use the defrost function, place your frozen food in the oven
on a shelf in the third slot from the bottom. It is recommended that you place an oven tray under the defrosting food to catch the water accumulated due to melting ice. This function will not cook or bake your food, it will only help to defrost it.

Static Cooking Function: The oven's thermostat and warning lights will switch on, and the lower and upper heating elements will start operating. The
static cooking function emits heat, ensuring even cooking of food. This is ideal for making pastries, cakes, baked pasta, lasagne and pizza. Preheating the oven for 10 minutes is recommended and it is best to use only one shelf at a time in this function.

Fan Function: The oven's thermostat and warning lights will switch on, and the upper and lower heating elements and fan will start operating.
This function is good for baking pastry. Cooking is carried out by the lower and upper heating elements within the oven and by the fan, which provides air circulation, giving a slightly grilled effect to the food. It is recommended that you preheat the oven for about 10 minutes.

Grilling Function: The oven's thermostat and warning lights will switch on, and the grill heating element will start operating. This function is used for
grilling and toasting foods on the upper shelves of the oven. Lightly brush the wire grid with oil to stop food sticking and place food in the centre of the grid. Always place a tray beneath the food to catch any drips
of oil or fat. It is recommended that you preheat the oven for about 10 minutes.
Warning: When grilling, the oven door must be closed and the oven temperature should be adjusted to 190^ .

Grill and Fan
Function: The oven's thermostat and warning lights will switch on, and the grill heating element and fan will start operating. This function is ideal
for grilling thicker food. Use the upper shelves of oven, lightly brush the wire grid with oil to stop food sticking and place food in the centre of the grid. Always place a tray beneath the food to catch any drips of oil or fat.

Warning: When grilling, the oven door must be closed and the oven
temperature should be adjusted to 190^
4.3 ACCESSORIES
The Shallow Tray
The shallow tray is best used for baking pastries.
Put the tray into any rack and push it to the end to make sure it is correctly placed.

The Wire Grid
The wire grid is best used for grilling or for processing food in oven-friendly containers.


WARNING
Place the grid to any corresponding rack in the oven cavity correctly and push it to the end.

The Water Collector
In some cases of cooking, condensation may appear on the inner glass of the oven door. This is not a product malfunction.
Open the oven door into the grilling position and leave it in this position for 20 seconds. Water will drip to the collector.
Cool the oven and wipe the inside of the door with a dry towel. This procedure must be applied regularly.

5. CLEANING AND MAINTENANCE
5.1 CLEANING

WARNING: Switch off the appliance and allow it to cool before cleaning is to be carried out.
General Instructions
- Check whether the cleaning materials are appropriate and recommended by the manufacturer before use on your appliance.
- Use cream cleaners or liquid cleaners which do not contain particles. Do not use caustic (corrosive) creams, abrasive cleaning powders, rough wire wool or hard tools as they may damage the cooker surfaces.

Do not use cleaners that contain particles, as they may scratch the glass, enamelled and/or painted parts or appliance.
- Should any liquids overflow, clean them immediately to avoid parts becoming damaged.

Do not use steam cleaners for cleaning any part of the appliance.
Cleaning the Inside of the Oven
- The inside of enamelled ovens are best cleaned while the oven is warm.
- Wipe the oven with a soft cloth soaked in soapy water after each use. Then, wipe the oven over again with a wet cloth and dry it.
- You may need to use a liquid cleaning material occasionally to completely clean the oven.

Cleaning the Hotplate Heater
-
Clean the hotplate heater on a regular basis.
-
Wipe the hotplate with a soft cloth soaked in only water. Then, run the hotplate for a short time to dry it completely.
Cleaning the Ceramic Glass
Ceramic glass can hold heavy utensils but may be broken if it is hit with a sharp object.

WARNING : Ceramic Cooktops - if the surface is cracked, to avoid the possibility of an electric shock, switch the appliance and call for service.
- Use a cream or liquid cleaner to clean the vitroceramic glass. Then, rinse and dry the glass thoroughly with a dry cloth.

Do not use cleaning materials meant for steel as they may damage the glass.
- If substances with a low melting point are used in the cookware's base or coatings, they can damage the glass-ceramic cooktop. If plastic, tin foil, sugar or sugary foods have fallen on the hot glass-ceramic cooktop, please scrape it off the hot surface as quickly and as safely as possible. If these substances melt, they can damage the glass-ceramic cooktop. When you cook very sugary items like jam, apply a layer of a suitable protective agent beforehand if it is possible.
- Dust on the surface must be cleaned with a wet cloth.
- Any changes in colour to the ceramic glass will not affect the structure or durability of the ceramic and is not due to a change in the material.
Colour changes to the ceramic glass may be for a number of reasons:
- Spilt food has not been cleaned off the surface.
- Using incorrect dishes on the hob will erode the surface.
- Using the wrong cleaning materials.
Cleaning the Glass Parts
- Clean the glass parts of your appliance on a regular basis.
- Use a glass cleaner to clean the inside and outside of the glass parts. Then, rinse and dry them thoroughly with a dry cloth.
Cleaning the Enamelled Parts
-
Clean the enamelled parts of your appliance on a regular basis.
-
Wipe the enamelled parts with a soft cloth soaked in soapy water. Then, wipe them over again with a wet cloth and dry them.

Do not clean the enamelled parts while they are still hot from cooking.

Do not leave vinegar, coffee, milk, salt, water, lemon or tomato juice on the enamel for a long time.
Cleaning the Stainless Steel Parts (if available)
-
Clean the stainless steel parts of your appliance on a regular basis.
-
Wipe the stainless steel parts with a soft cloth soaked in only water. Then, dry them thoroughly with a dry cloth.

Do not clean the stainless steel parts while they are still hot from cooking.

Do not leave vinegar, coffee, milk, salt, water, lemon or tomato juice on the stainless steel for a long time.
Removal of the Oven Door
Before cleaning the oven door glass, you must remove the oven door, as shown below.
- Open the oven door.

- Open the locking catch (a) (with the aid of a screwdriver) up to the end position.

- Close the door until it is almost in the fully closed position, and remove the door by
pulling it towards you.

6. TROUBLESHOOTING&TRANSPORT
6.1 TROUBLESHOOTING

If you still have a problem with your appliance after checking these basic troubleshooting steps, please contact an authorised service person or qualified technician.
| Problem Possible Cause Solution | ||
| The hob or cooking zones cannot be switched on. | There is no power supply. | Check the household fuse for the appliance. Check whether there is a power cut by trying other electronic appliances. |
| Oven does not switch on. Power is switched off. | Check whether there is power supplied. Also check that other kitchen appliances are working. | |
| No heat or oven does not warm up. | Oven temperature control is incorrectly set. Oven door has been left open. | Check that the oven temperature control knob is set correctly. |
| Cooking is uneven within the oven. | Oven shelves are incorrectly positioned. | Check that the recommended temperatures and shelf positions are being used. Do not frequently open the door unless you are cooking things that need to be turned. If you open the door often, the interior temperature will be lower and this may affect the results of your cooking. |
| Oven light (if available) does not operate. | Lamp has failed. Electrical supply is disconnected or switched off. | Replace lamp according to the instructions. Make sure the electrical supply is switched on at the wall socket outlet. |
| The oven fan (if available) is noisy. | Oven shelves are vibrating. | Check that the oven is level. Check that the shelves and any bake ware are not vibrating or in contact with the oven back panel. |
6.2 TRANSPORT
If you need to transport the product, use the original product packaging and carry it using its original case. Follow the transport signs on the packaging. Tape all independent parts to the product to prevent damaging the product during transport.
If you do not have the original packaging, prepare a carriage box so that the appliance, especially the external surfaces of the product, is protected against external threats.
7. TECHNICAL SPECIFICATIONS
7.1. ENERGY FICHE
| Brand | VESTEL | |
| Model VEH12016-1 | ||
| Type of Oven ELECTRIC | ||
| Mass kg 30,0 | ||
| Energy Efficiency Index - conventional 104,5 | ||
| Energy Efficiency Index - fan forced 94,8 | ||
| Energy Class A | ||
| Energy consumption (electricity) - conventional kWh/cycle 0,86 | ||
| Energy consumption (electricity) - fan forced kWh/cycle 0,78 | ||
| Number of cavities 1 | ||
| Heat Source ELECTRIC | ||
| Volume I 65 | ||
| This oven complies with EN 60350-1 | ||
| Energy Saving Tips Oven - Cook the meals together, if possible. - Keep the pre-heating time short. - Do not elongate cooking time. - Do not forget to turn-off the oven at the end of cooking. - Do not open oven door during cooking period. | ||
WAARSCHUWING: DIT TOESTEL MOET WORDEN GEAARD.
WAARSCHUWING: Keramische
6. PROBLEMOPLOSING EN TRANSPORT
6.1.PROBLEEMOPLOSING

ManualGo.com